魔法瓶技術の系統化調査

Systematic Survey on the Vacuum Flask Technology


吉田 正弘 Masahiro Yoshida

■要旨

 マイボトルの利用が我々の生活に定着し、プラスチックゴミの低減のみならず、ステンレス真空二重構造のマイボトル(魔法瓶)は保温、保冷の基本的な断熱性能から省エネにも大きく貢献している。さらに環境負荷軽減や資源の有効活用を図るべく魔法瓶企業が販売店や自治体とも連携し、給水・給茶スポットの提供や循環型モノづくりとして使用済ステンレスボトルの回収などで広がりを見せ、魔法瓶が改めて見直される時代に突入している。
 その魔法瓶の起源であるが、19 世紀の第二次産業革命の時代にイギリス人化学者が気体を冷却して保存するガラス製の真空二重瓶を発明した。断熱効果の高い真空二重瓶を保温目的で金属ケースの内部に収め、携帯用として発売したのが魔法瓶の始まりである。確かに優れた断熱効果を有する画期的な機能から魔法瓶と呼ぶのが定説と言われている。
 1904 年にドイツで販売された世界初の携帯用ガラス製魔法瓶は、極寒地に挑戦する探検家向けの特殊用途から始まった。この魔法瓶が日本で生産され、家庭用品として東南アジアへの輸出で生産規模を拡大させた。戦後の国内経済成長に伴う生活様式の変化もあり、 1980 年頃には一家に一台保有する卓上用魔法瓶として浸透した。
ガラス製魔法瓶の発展は真空二重瓶の自動化生産から始まったと言える。内・外のバルブ加工の機械化に加え、2 種類のバルブを一体化して、その空間に銀メッキを施し、真空の工程も自動化された。ガラス真空二重瓶として大量生産し、安定した供給と品質の確保が出来るようになった。ガラス製魔法瓶もその用途により形状が細分化され、特に卓上用ハンドポット、エアーポットは機能開発が進み、一般家庭で使用されるガラス製魔法瓶も 1981 年に約 2,000 万本と最高の販売数となった。
 中瓶の材質がガラスからステンレスに替わってからは各社独自の製法でステンレス真空二重瓶を開発し、金属プレス加工、排気条件、溶接形状、表面処理…などの研究は勿論、気密検査、温度検査などの信頼性の向上が図られた。さらには JIS に基づく用途開発も進み、特に携帯用ステンレス鋼製魔法瓶「マグボトル」は新たなニーズを創出した直飲み仕様で拡売の起爆剤となった。外出時には欠かせないマグボトルは 2015 年以降、一人一本保有する生活必需品となり、先人技術者達の知恵と工夫でその時代の変化に合わせた革新的な技術開発が大きな役割を果たしたと言える。
 本報告書は魔法瓶の開発にあたり、まずはガラス製魔法瓶の中瓶製造及び完成品としての必要な機能及び信頼性についての技術開発とその変遷を調査した。その後、新たな真空技術から登場するステンレス鋼製魔法瓶が安定的に生産できる体制になり、より小さく、より軽くする為の製造技術や魔法瓶としての用途開発、主要部品の進化・変遷過程を系統化し、調査した。またステンレス真空二重瓶の製造設備や真空断熱技術から展開する調理用品としての応用例や産業又は研究用として異業種との共同開発による用途事例などを紹介する。


■Abstract

The use of “My Bottle” has become a common practice part of in our daily life, not only helping to reduce reducing plastic waste, but also contributing greatly significantly to energy conservation through with its the basic heat-insulating performance of the stainless steel vacuum duplex construction (vacuum flask), which effectively retains heat and cold. In addition, vacuum flask companies are collaborating with retailers and local governments to reduce environmental impact and promote the make effective use of resources. These efforts include, providing water and tea supply spots and collecting used stainless steel bottles as part of an approach to recycling-oriented focused manufacturing.
The vacuum flask originated during the Second Industrial Revolution in the 19th century, as an invention by a Scottish chemist. This chemist invented a glass vacuum double-bottle to cool and preserve gases. This glass vacuum double-bottle, known for its excellent heat-insulating properties, was enclosed in a metal case to maintain its temperature, which made it a portable good for sale, and marked the beginning of vacuum flasks. It is widely believed that the term “vacuum flask” was coined due to its revolutionary ability to provide excellent heat insulation.
The world’s first portable glass vacuum flask was sold in Germany in 1904, initially designed for explorers challenging the extreme cold. These vacuum flasks were later produced in Japan and exported to Southeast Asia as household items, prompting an expansion in production. As Japan went through postwar economic growth and accompanying lifestyle changes, vacuum flasks became commonplace. By 1980, they were widely used as tabletop vacuum flasks and owned by every family.
The development of glass vacuum flasks began with the automation of vacuum double-bottle production. Along with the mechanization of the inner and outer valve processes, two types of valves were integrated and silver-plated in the space between them, while the vacuum process itself was also automated. This allowed for mass production of glass double bottles, ensuring a stable supply and consistent quality. Over time, glass vacuum flasks were designed in various shapes to suit different uses, with particular functional advancements made in tabletop and pneumatic tabletop vacuum flasks. By 1981, sales of glass vacuum flasks for general household use peaked at approximately 20 million units.
After the material of the inner bottle was changed from glass to stainless steel, each company developed its own method for manufacturing stainless steel vacuum double-layer bottles. They enhanced reliability through techniques such as metal press work, optimizing exhaust conditions, refining welding shapes, surface treatments, as well as conducting airtightness and temperature inspections. The development of applications based on JIS also progressed, and in particular, the portable stainless steel vacuum bottle “Mug Bottle” became a catalyst for sales growth with its direct-drinking design that created new needs. The Mug Bottle, an essential item for going out, has become a daily necessity for many since 2015. This success can be attributed to the innovative technological advancements made by pioneering engineers, adapting to the changing times with their ingenuity and know-how.
This report begins by examining the technological development and evolution of glass vacuum flasks, focusing on the essential functions and reliability required for the finished product. This study was expanded and systematized for the period after stainless steel vacuum flasks, born from the new vacuum technology, entered stable production, and examines the manufacturing technology for smaller and lighter vacuum flasks, the development of vacuum flask applications, and the evolution and transition process of the key components. This study also explores manufacturing facilities for stainless steel vacuum flasks, highlights examples of cooking utensils developed using vacuum insulation technology, and examines collaborative applications with other industries for industrial or research purposes.


■ Profile

吉田 正弘 Masahiro Yoshida
国立科学博物館産業技術史資料情報センター主任調査員

1977 年 姫路工業大学金属材料工学科卒業(現兵庫県立大学)

1977 年 象印マホービン株式会社入社 技術部に配属
ガラス魔法瓶の設計開発に従事

1997 年 商品第六開発部 主席研究員

1998 年 第四開発部長

2002 年 第三開発部長

2007 年 執行役員 商品開発部長

2008 年 象印ファクトリー・ジャパン株式会社 常務取締役

2010 年 象印ファクトリー・ジャパン株式会社 専務取締役

2012 年 象印ファクトリー・ジャパン株式会社 代表取締役社長

2013 年 象印マホービン株式会社 取締役
象印ファクトリー・ジャパン株式会社 代表取締役社長

2019 年 象印マホービン株式会社 退任
象印ファクトリー・ジャパン株式会社 代表取締役社長

2020 年 象印ファクトリー・ジャパン株式会社 退任

2024 年 国立科学博物館産業技術史資料情報センター主任調査員

■ Contents

 1. はじめに  2. ガラス製魔法瓶の誕生と国内生産  3. 中瓶(ガラス真空二重瓶)の構造  4. 中瓶の自動化とガラス製魔法瓶の用途開発  5. ガラス製大容量魔法瓶の機能開発  6. ステンレス鋼製魔法瓶の開発と製造  7. ステンレス鋼製魔法瓶の用途開発  8. ステンレス真空二重瓶の用途開発  9. 終わりに   系統図


 1 はじめに

近年、エコロジーでエコノミーと高評価のマイボトルはステンレス鋼で加工された真空二重構造の容器、すなわち「魔法瓶」である。そのルーツとも言える、ガラス製の魔法瓶は 19 世紀の第二次産業革命の時代にイギリス人により発明された。それをドイツ人が量産に成功し、主に南極やエベレストを目指す探検家に対して販売し、その高い断熱性能が評価され世界市場に浸透していった。日本にも輸入され、ガラス加工集積の大阪地区で初めてのガラス製魔法瓶の生産が始まり、東南アジアへの輸出で生産規模を拡大させていった。

戦後、ガラス製の真空二重瓶の生産がバルブから二重瓶加工、排気工程まで完全自動化され、その安定した品質、性能で携帯用、卓上用、弁当用と用途開発が進み、特に高度成長に伴う、日本人の食生活の変化もあり、テーブル上で使われる取手付きのハンドポットが大流行し、瞬く間に日本市場に拡がった。輸出重視の魔法瓶事業が国内へと変換し、卓上用も大容量のエアーポットへとアイテムを拡げ、家庭生活における必需品として浸透した。大きな変化があったのは 1980 年以降からで卓上用は電気ポットへと、携帯用、弁当用はステンレス鋼製魔法瓶へと、さらに機能向上した製品が開発され、魔法瓶はガラス製からステンレス鋼製へと需要がシフトしていく結果となっている。

ガラス製魔法瓶はバルブ加工及び真空二重加工まで中瓶専業企業が担い、その中瓶を樹脂成形、金属プレス設備を保有する組み立て企業へ供給する商流で、殆どが共通の中瓶を使用した開発形態であった。ステンレス鋼製は魔法瓶を生産し販売する企業が独自の金属加工、溶接、排気、表面処理などの製造技術を駆使して商品開発を行い、特に携帯用については市場規模として年間出荷数がガラス製当時の 5 倍の 2,000 万本に到達するまで付加価値を高めたと言える。さらにはステンレスの真空二重加工を応用した、調理器具や電気ポットの主要部品として展開させながら、産業用の断熱容器としても活用されている。その真空二重の加工技術の用途は無限にあると言って過言ではない。

本調査では日本におけるガラス製魔法瓶の主要部品である真空二重構造の中瓶が手吹きから自動化に進む過程、魔法瓶としての用途開発における技術動向をまとめ、その後登場するステンレス鋼製魔法瓶の真空二重容器の製造過程、用途開発、加えて新たなニーズを創出し市場を急拡大させた直飲み仕様の魔法瓶の技術開発経緯を系統化し本報告書にまとめた。

第 2 章ではガラス製魔法瓶の誕生の背景から携帯用として世界中に広まり、その後、大阪地区で手吹き中瓶の製造を完成させ、魔法瓶製造集積産業として発展、当時の中瓶の製造工程や手吹き瓶使用の魔法瓶を調査した。

第 3 章では中瓶の構造と断熱性能原理について簡単に紹介する。

第 4 章では中瓶バルブの自動生産、絞り瓶の真空二重瓶加工の自動化技術を調査し、安定した品質の中瓶を使用した携帯用、卓上用、弁当用魔法瓶の特徴や中栓構造の変遷、加えて JIS、SV 規格取得までの経緯をまとめた。

第 5 章では卓上用として急拡大したエアーポットの技術開発と新たな太瓶開発の製造工程を調査し、ガラス製魔法瓶として完成度を高めていく過程を記述した。

第 6 章ではステンレス鋼製魔法瓶の開発に伴う、金属製真空二重容器の製造方法の過程、特に排気方式、塑性加工、溶接、表面処理、など種々の金属加工を調査し、全数保証の安定した品質が確保できる検査体制まで記述した。

第 7 章では小型化、軽量化を目的とした排気条件の変更、金属加工の進化の過程をまとめた。また新たな付加価値として真空二重技術を活用した、保温調理鍋や電気ポット容器への展開とその進化の過程や新しい飲み方提案の保冷専用ボトル、保温保冷マグボトルの技術開発経緯を記述した。

第 8 章ではステンレス真空技術を利用した産業用断熱容器への展開事例を紹介する。


Contents に戻る



 2 ガラス製魔法瓶の誕生と国内生産

2.1 ガラス製魔法瓶の誕生

保温、保冷の効果を高めるためにはその容器が真空の層を持てばよいという考えで、 1880 年代にドイツの物理学者ヴァインホルト(Adolf Ferdinand Weinhold)1)が公開実験を行い、その原理が発明された。

1891 年に、イギリス人化学者ジェイムス・デュワー(James Dewar)2)(図 2.1)は液体酸素を保存する金属容器を研究しており、その容器は二重壁で両側の間を真空にし、熱の発散を防ぐことにあった。これが成功すると彼はさらにガラスの二重壁をつくり、内部に銀または他の金属のメッキを施し、鏡のように光らせて輻射による熱の損失を防ぐことを考案した。彼が熱伝導度の低い材料としてガラスを選択し、輻射熱を防ぐ金属反射を狭い空間に作りだすためにメッキを考案したと推定できる。これが今日の魔法瓶のはじまりであると言われている。デュワー卿の指示を受けて実際にガラス真空二重瓶を作製したときの詳細が、複数名の当時を知る関係者から『History of the Vacuum Flask』という同一のタイトルで英国ネイチャー誌にレポートされており、この真空二重容器(Double-Walled Vacuum Vessels)の発明が、その後の科学技術の発展の基盤となる重要な技術であったことを如実に物語っていると言える3)- 5)。ここでデュワー瓶の原形を図 2.2 に示す6)


図 2.1 ジェイムス・デュワー 2)

図 2.1 ジェイムス・デュワー2)



図 2.2 デュワー瓶の原形 6)

図 2.2 デュワー瓶の原形6)


この時代「真空瓶」はまだ実験用の容器としてのみ使用されていたが、「真空瓶」の持つ効果は熱い飲み物を熱いまま水筒のように持ち歩くことが出来ることから、デュワー卿の元でガラス容器を製造していたドイツ人のガラス職人ラインホルト・ブルガー(Reinhold Burger)7)(図 2.3)が二重ガラス容器を保護用の金属ケースで被うアイデアを考案し、世界初の「ガラス製魔法瓶」として特許をドイツで取得した。(図 2.4)


図 2.3 ラインホルト・ブルガー 7)

図 2.3 ラインホルト・ブルガー7)



図 2.4 ブルガーの特許申請図 8)

図 2.4 ブルガーの特許申請図8)


彼はベルリンにて 1904 年に THERMOS G.m.b.H(テルモス有限会社)を設立し、商品としてのガラス製魔法瓶の生産を開始した。

このブルガーの「テルモス瓶」はその性能ゆえに南極探検隊やエベレスト登山隊など極地をめざす人々にも使われ、この効用が広まっていった。断熱することにより超低温を保つためにつくられた容器が普通の生活においては保温用の容器として迎えられるようになった。

テルモス社(英語読みでサーモス社)はその後、イギリス、アメリカ、カナダでも工場を稼働させ世界中に輸出を始める。サーモス社の 1910 年頃のガラス製魔法瓶を図 2.5 に示す9)。当時のアメリカ工場で生産されたガラス製魔法瓶が現在のサーモス株式会社、新潟事業所で保存されていると伺った。


図 2.5 サーモス社製魔法瓶 9)

図 2.5 サーモス社製魔法瓶9)


2.2 国内への輸入

東京日本橋にあった「日本銃砲店」の東京朝日新聞に掲載された広告(図 2.6)が発見され日本へガラス製魔法瓶が初めて輸入されたのが 1907 年 9 月と判明した。当時ヨーロッパで発売され探検家などにその効用が認められ、寒い条件の下で猟をするハンターたちに重宝されるようになった魔法瓶が我が国にも伝わったもので「THERMOS」社製とわかる。


図 2.6 ガラス製魔法瓶の輸入

図 2.6 ガラス製魔法瓶の輸入

魔法瓶の広告は続々と現れ、サーモス社の広告(図 2.7 や、伊藤喜商店(現株式会社イトーキ)も日本での魔法瓶の普及を目指して図 2.8 に示す広告を掲載した。


図 2.7 サーモス社広告 1908 年 6 月 1 日 9)

図 2.7 サーモス社広告 1908 年 6 月 1 日9)

図 2.8 伊藤喜商店広告 1911 年 10)

図 2.8 伊藤喜商店広告 1911 年10)


2.3 国内魔法瓶製造の開始

世界的な発明であるガラス製魔法瓶の生産に挑戦した八木亭二郎(図 2.9)は電球製作における真空管の技術を応用して 1912 年に製法を完成させた。その成功のニュースが広がり、この魔法瓶製造に挑戦する企業も増加した。当時の大阪はガラス工業の中枢で世の中の現代化が要求するさまざまなガラス製品製造のメッカであった。例えば時計用ガラス、眼鏡レンズ、鏡、模造真珠、食器などが大阪でつくられ輸出品となりつつある時代背景があった。すなわち当時の魔法瓶は白熱電球の真空技術と模造真珠に必要な銀メッキ、ガラス手吹きなど、これらの技術を統合されて中瓶製作が可能になった。大正時代のガラス製魔法瓶を図 2.10 に携帯用魔法瓶(水筒)分解図を図 2.11 に示す。この分解図は当時の星印魔法瓶(現オルゴ株式会社)のカタログに掲載され、各部品の構成が良く理解できる。手吹き瓶の寸法バラツキを吸収するためにコイルバネを内蔵し、ケース内に中瓶を固定させ口金部のシールを兼ねていることが伺える。栓は天然コルクで直接中瓶に差し込み、栓を覆うコップは肩部とネジ嵌合されている。


図 2.9 八木亭二郎 2)

図 2.9 八木亭二郎2)


図 2.10 大正時代の魔法瓶 11)

図 2.10 大正時代の魔法瓶11)


図 2.11 大正 10 年星印魔法瓶の水筒分解図 12)

図 2.11 大正 10 年星印魔法瓶の水筒分解図12)


2.4 ガラス製魔法瓶の生産工程

昭和初期におけるガラス製魔法瓶の生産工程は製瓶(バルブ加工)、中瓶加工、ケース製造、組み立て、検査の 5 工程に分かれ、中瓶加工は二重瓶に組合せ、着色(メッキ)、乾燥及び排気の 4 工程に分かれる。

製瓶及び中瓶加工業者はいずれも独立した事業者による分業が特徴であった。魔法瓶製造業者は、これらの原材料、部品を集め、組み立て製品とした。生産工程を図 2.12 に示す13)


図 2.12 ガラス製魔法瓶の生産工程 13)

図 2.12 ガラス製魔法瓶の生産工程13)


工程の詳細を次に箇条書きする

製瓶の生地は石粉、ソーダ灰、石灰、硝石、ガラス屑などで、大気窯を使用する。製造には吹き工 2 人、生地巻き工 2 人、玉取工 2 人、型押し工 1 人、運搬工 2 人の計 9 人が 1 組となる。徐冷窯の温度は普通の瓶に比べて低く 500 ℃程度である。これはガラス生地が薄物で破損しやすいので低い温度での徐冷が必要である。その後 12 時間を経て、徐冷炉より取り出して中瓶に加工する。

中瓶加工は、まず内瓶外瓶を組み合わせるものとして、外瓶の底部を切り取り、内瓶をおさめる。内瓶の底部より少し上の三か所に石綿を詰め、内、外の間に 3 mm の隙間をつくり、バーナーで底部及び頭部を接合させ、外瓶の底部にガラス管を溶着し、内、外両瓶の間の空間に通気する。次に洗い場では加工場で溶着したガラス管より蒸留水を注入してソーダ灰により生ずるアルカリ分を洗い去り、さらにガラス管より甲・乙 2 液を注入して着色する(所謂、銀鏡反応で金属光沢面を作る)。甲液は硝酸銀をアンモニア水に溶解した主液で、酒石酸ナトリウムに少量の硝酸銀を混ぜ溶解したものが乙液である。

着色が終わればガラス管より余った溶液を抜き取る。硝酸銀にて着色された中瓶は乾燥室に入れ約 100 ℃の温度にて 3 時間放置し、水分を除去し排気場にて、内、外瓶の隙間を真空にする。排気装置はロータリー式真空ポンプを使用し、真空にした後にバーナーでガラス管を溶解して口を封じる。

中瓶の検査は摂氏 100 ℃の熱湯を注入し、24 時間放置して、温度 40 ℃以上保つものが合格品となる。不合格品は再度排気作業を行う。ガラス瓶の成型については後に詳細を記すこととする。

ケースは頭部及び底部を真鍮にニッケルメッキしたものが多く、ケースの製作は ①板を切りとる②プレス③切断④形状を作る⑤底部と胴部を接合⑥頭部と胴部とを接合の工程を経てプレスの完成品になる。

組み立ては、ケース内に中瓶を入れ、これを保持する為に石膏で瓶の底部側面と、ケースの内面とを接着固定するもの、その他針金で固定するもの、ブリキで固定するもの、ケースの底部にスプリングを付着させ、中瓶を固定する方法がある。このようにして組み立てを終えると製品(魔法瓶)となり、最終検査を行って出荷される。

*ガラス瓶成形方法

溶解窯で溶解されたガラス生地(バルブ)は、一般に人工吹き(手吹き)によって内瓶、外瓶に吹き分けられ徐冷された後、次のような方法で成形される。

1.

尻封じ

内瓶、外瓶を組み立てた後、外瓶の尻部で封じ加工を行うためこの俗称がある。

この方法は瓶口径の小さな瓶体の成形に用いられ、成形順序を図 2.13 に示す14)

成形順序は図中ⅠⅡの外瓶、内瓶をそれぞれ別に吹製し、次に内瓶は首部、外瓶は尻部、後で首部を切断する。次にⅢのように内外瓶を石綿で固定した後尻部を封じ、さらに首部を封じて成形する。

尻部には別に準備したチップ管(ガラス管)を溶着して成形を終える。

なお、大正、昭和の中瓶には内、外瓶の固定用で石綿を使用していたが、現在は鉱物の混合物が使用されている。


図 2.13 尻封じ図 14)

図 2.13 尻封じ図14)

2.

胴継ぎと口封じ

胴継ぎの工程は尻封じ瓶では底肉厚が薄くなり、外的な衝撃に弱いという欠点を改良する目的で、タイガー魔法瓶の創業者である菊池武範が昭和初期に導入された広口瓶をヒントに胴継ぎ瓶を発明した15)。この手法が後の中瓶自動化へと繋がっていったとも言われている。製造工程順序を図 2.14 に示す14)

成型順序は外瓶の胴部から切り離して内瓶を挿入、石綿で固定した後、外瓶の切断部を胴部に再度溶着させることを特長としている。外瓶の尻部肉厚が変化しないので強度向上が図られた。

広口ジャーに使用する口封じ瓶は手吹き瓶の肉厚そのままで首部を切断した後、外瓶に内瓶を収め口部を封じるものである(図 2.15)。

当時の手吹き瓶による製造風景、玉取工程を図 2.16、手吹き工程を図 2.17 に示す6)


図 2.14 胴継ぎ図 14)

図 2.14 胴継ぎ図14)



図 2.15 口封じ図 14)

図 2.15 口封じ図14)


図 2.16 ガラス生地の玉取工程の風景 6)

図 2.16 ガラス生地の玉取工程の風景6)

図 2.17 手吹きによるバルブの製造の風景 6)

図 2.17 手吹きによるバルブの製造の風景6)


2.5 ガラス製魔法瓶市場の拡大

国内生産が始まると、続々と魔法瓶製造会社が現れるが、その工程が複雑で製造原価も高く、売価も高かったので国内では簡単に売れなかった。初期の輸入品などは現在の価格に置き換えると 1 本 40 万円もした。さらに当時、お湯は常に「やかん」で沸かし、これを囲炉裏や火鉢で放置(保温)する生活様式があり、わざわざ魔法瓶に移し替える必要を感じなかった。実際に魔法瓶が売れたのは東南アジアであり、当時その多くの国々は英・仏の植民地であった。中国は植民地ではなかったが、他の国同様、欧州人が多数移住しており、彼らには東洋の水が合わず、必ず沸かして飲む習慣があった。また、コーヒー・紅茶の保温などにも使用された。暑い国も多く、氷の保存のためにもこれら魔法瓶は必需品であった。

1914 年にヨーロッパで第一次世界大戦が勃発し、スエズ運河も封鎖され、欧州製の魔法瓶は海上輸送が不可能になった。そこで東南アジアやインドから大量の注文が日本に舞い込んだことで魔法瓶の輸出が急激に伸び始めた。

その後、細口魔法瓶、広口魔法瓶の技術開発と、魔法瓶企業の海外進出によって市場の開拓を進めてきた結果、日本からの魔法瓶輸出量は最高で年間約 500 万本( 1937 年)を数えるまでになった。昭和初期の輸出向けのたる型魔法瓶を図 2.18 に広口魔法瓶を図 2.19 に示す16)


図 2.18 昭和初期の輸出向けたる型魔法瓶 16)

図 2.18 昭和初期の輸出向けたる型魔法瓶16)

図 2.19 昭和初期の広口魔法瓶 16)

図 2.19 昭和初期の広口魔法瓶16)


時代背景としては第一次世界大戦を契機として生産・輸出を大きく伸ばしたが、 1937 年の日中戦争以降、軍需生産優先となり製瓶業界は資材配給に致命的な打撃を受けた。 1941 年の太平洋戦争突入後は輸出も皆無になり、魔法瓶の製造は休止の状態に入り、大多数の魔法瓶関連企業が廃業、企業整備に追い詰められた。

戦後の 1947 年には民間貿易も再開可能となり、魔法瓶の生産も開始され、同年には年間 5 万本からスタートし徐々に生産数量を拡大させていった。 1953 年には全国魔法瓶協同組合も設立し、本格的な魔法瓶生産の体制が整った。戦後の代表的なガラス製魔法瓶では卓上用(図 2.20)が中心であるが、ご飯を保温する広口ジャー(図 2.21、)、アイスクリームを保冷する大容量アイスボックス(図 2.22 も生産された。


図 2.20 卓上用魔法瓶<br>(ナショナル魔法瓶製) 17)<br>(各社) 17)

図 2.20 卓上用魔法瓶
(象印マホービン製)17)

図 2.21 広口ジャー

図 2.21 広口ジャー
(ナショナル魔法瓶製)17)



図 2.22 業務用アイスボックス

図 2.22 業務用アイスボックス
(各社)17)


第 2 章 参考文献

1) https://www.tu-chemnitz.de/ub/projekte-und-sammlungen/sammlungen/digitale_sammlung/ (2024.10.1 閲覧)
2) 全国魔法瓶工業組合編,「日本の魔法瓶」,全国魔法瓶工業組合,pp.1-3, 1983.
3) Sir William Bragg, “History of the Vacuum Flask”, Nature, Vol. 145, pp.408‒410, 1940.
4) Rayleigh, “History of the Vacuum Flask”, Nature, Vol. 145, p. 625, 1940.
5) George H. Gabb, “History of the Vacuum Flask”, Nature, Vol. 145, pp.862-863, 1940.
6) 象印マホービン株式会社 写真提供
7) https://de.wikipedia.org/wiki/Reinhold_Burger# (2024.9.25 閲覧)
8) Reinhold Burger, German Patent DE170057C:
9) サーモス株式会社 写真提供
10) 株式会社イトーキ 写真提供
11) https://www.zojirushi.co.jp/corp/kinenkan/tebuki/ (2024.9.25 閲覧)
12) オルゴ株式会社 写真提供
13) 全国魔法瓶工業組合編,「日本の魔法瓶」,全国魔法瓶工業組合,p.13, 1983.
14) 全国魔法瓶工業組合編,「日本の魔法瓶」,全国魔法瓶工業組合,pp.78-79, 1983.
15) タイガー魔法瓶株式会社編,「タイガー魔法瓶 70 年のあゆみ: 1923-1993」,タイガー魔法瓶,p.73, 1993.
16) https://www.zojirushi.co.jp/corp/kinenkan/tebuki/ (2024.9.25 閲覧)
17) http://mahobin.org/episode.html (2024.9.25 閲覧)

コラム:魔法瓶メーカーの社名の由来


大正から昭和にかけて魔法瓶産業は活況を呈したが、輸出 90 %国内 10 %と国内需要は乏しく、その殆どが東南アジア、インドへの輸出であった。当時は魔法瓶メーカーが多数あり、輸出時には現地バイヤーに理解してもらう商標(マーク)が必要であり、そのマークを誰もが認知しているものにする必要があった。

元来、日本企業は創業者名を会社名にし、または比較的親しみ易い日本語名の社名企業が多かった。

ところが魔法瓶産業は日本語が通じない国でもシンボルマークが優先され、認知されることになるので、そのマークに社名変更する企業も続出した。そのシンボルマークの典型例が動物(象・虎・孔雀)である。

企業がその動物を選定した理由が公表されているので紹介する。


▶ 象印マホービン株式会社は「子供たちに人気が有り、寿命が長く家族愛も強い、東南アジアで神聖視されている」1)としている。

▶ タイガー魔法瓶株式会社は「アジアで最強の動物であり、ガラス中瓶が割れやすいというイメージを払拭するため、また創業者の生まれ年」2)としている。

▶ ピーコック魔法瓶工業株式会社は「アジアに生息する神聖な生き物をモチーフ」3)としている。


輸出当時商標 図1 象印マホービンの商標 4)

現在商標 図1 象印マホービンの商標 4)

図1 象印マホービンの商標4)

輸出当時商標 図1 タイガー魔法瓶の商標 4)

現在商標 図1 タイガー魔法瓶の商標 4)

図2 タイガー魔法瓶の商標5)

輸出当時商標 図1 タイガー魔法瓶の商標 4)

現在商標 図1 タイガー魔法瓶の商標 4)

図3 ピーコック魔法瓶の商標6)

参考文献

1) https://www.zojirushi-support.jp/presents/1065/ (2024.6.23 閲覧)
2) https://www.tiger-corporation.com/ja/jpn/newsroom/press-release/pr_231204_01/ (2024.9.25 閲覧)
3) ピーコック魔法瓶工業株式会社 広報・マーケティング部へのインタビューに基づく (2024.9.27)
4) 象印マホービン株式会社の商標登録である
5) タイガー魔法瓶株式会社の商標登録である
6) ピーコック魔法瓶工業株式会社の商標登録である




Contents に戻る



 3 中瓶(ガラス真空二重瓶)の構造

3.1 中瓶の構造

中瓶は、内瓶、外瓶、マット(スペーサー)、チップ管の 4 つの部品で構成されており、内瓶と外瓶の間に空間を設けた二重構造で、その空間を真空層として真空排気した後、チップ管を加熱封止することで、真空二重瓶化している。その構造を図 3.1 に示す1)


図 3.1 中瓶の構造 1)

図 3.1 中瓶の構造1)


また真空層内には、内瓶の外側と外瓶の内側全面に硝酸銀メッキを施している。マット(スペーサー)は、真空二重瓶へ加工する際に、内瓶と外瓶の空間を 3 箇所で保持する役目と、保温性能を保つための低熱伝導性、及び衝撃落下吸収性を併せ持っている。

3.2 高い断熱性の原理

魔法瓶が優れた断熱性能を有するためには、内容液(お湯)の内部熱量が、温度が低い外部へ向かって移動するのを抑制することが必要であり、その方策としては、熱移動の三要素「熱伝導」「対流」「輻射」に対する対策方法を組み合わせることで、魔法瓶は高い保温・保冷性能を確保している。三要素のイメージを図 3.2 に示す2)


図 3.2 熱移動 3 要素のイメージ図 2)

図 3.2 熱移動 3 要素のイメージ図2)


魔法瓶にとって重要なのは熱伝導と対流であり、その熱伝導と対流を抑制するために真空を利用している。内瓶と外瓶の間に空間を設けた二重構造とするだけでは、空間内には空気が存在しており、その空気の気体分子同士が衝突したときに熱エネルギーの高い分子から低い分子へ熱エネルギーが伝達される。これを熱伝導といい、熱伝導によりお湯の内部熱量が空気を伝って外瓶側に逃げるとこによって高い保温性能を確保することができない。また、加熱された空気は膨張し密度が低くなり、周囲よりも密度が低くなった部分は浮力作用により浮き上がる。浮き上がった部分は熱伝達されて周囲に熱を伝え、これを対流という。そこで、この熱伝導と対流を防ぐために、内瓶と外瓶の空間内にある空気を排除し、真空状態としている。

真空については、JIS 及び ISO にて次の様に定義されている。


通常の大気圧より低い圧力(分子密度)の気体で満たされた空間の状態

(JIS Z 8126-1:2021/ISO 3529-1:2019 より)


空気を排除し圧力を下げることで、空間にある気体分子の数を減らし分子密度が下がるため、外瓶側に逃げる内部熱量の速度を遅くすることができる。

また真空の圧力に応じて定義される領域として、表 3.1 のような領域がある。


表 3.1 真空の領域

低真空

大気圧(31~110 kPa)未満、100 Pa 以上の真空

中真空

圧力 100 Pa 未満、0.1 Pa 以上の真空

高真空

圧力 0.1 Pa 未満、1×10-6 Pa 以上の真空

超高真空

圧力 1×10-6 Pa 未満、1×10-9 Pa 以上の真空

極高真空

圧力 1×10-9 Pa 未満の真空


地上での大気圧は圧力の単位では、次のようにあらわされる。ここでの=は等しい、≒はほぼ等しいという意味である。「大気圧: 1 atm = 101,325 Pa ≒ 1,013 hPa ≒ 10 5 Pa = 100 kPa 」。大気圧は天候及び標高に依存するが、31 kPa(エベレストの山頂で気圧が低い場所)から 110 kPa(死海で気圧が高い場所)の範囲内にある。

さらに熱伝導としての防止策として、熱伝導率の低い材料を使うことや、ガラスの厚みを薄く加工することを行っている。魔法瓶の瓶上部の中栓内に存在する空気からも熱伝導と対流により内部熱量の逃げが発生する。対策のため、断熱性能の高い断熱材を中栓内部に配置するなどして、性能を確保している。

輻射(放射)も無視することはできない。輻射は熱エネルギーが電磁波に変換されて真空中でも伝達される現象である。一般にもよく知られているのは太陽である。真空の宇宙を通じて、太陽の熱エネルギーは地球まで到達している。魔法瓶では内瓶と外瓶の空間内にある空気を排除し真空状態として熱伝導、対流で熱が伝わるのを防いでいる。輻射を防ぐために、魔法瓶の真空の空間内壁に銀や銅メッキで鏡面とすることで、電磁波となった熱エネルギーを反射させて内瓶側にエネルギーを戻し、断熱性能が落ちないように工夫されている。

第 3 章 参考文献

1) 象印ファクトリー・ジャパン株式会社 構造図提供
2) 象印ファクトリー・ジャパン株式会社 イメージ図提供

Contents に戻る



 4 中瓶(バルブ及び真空二重瓶)の自動化とガラス製魔法瓶の用途開発

4.1 内、外バルブの自動生産

輸出拡大により大きな市場となった魔法瓶であるが、安定的な供給体制を確保しなければならず、特に手吹きのバルブ加工は肉厚のバラツキや容量の誤差など品質も不安定で、高温、高熱の過酷な製造現場からも労働者を解放する必要もあり、業界全体で自動化へと研究開発が進められた。

1962 年(昭和 37 年)、日本電気硝子株式会社は魔法瓶用に開発した H-12 ブローイングマシン(図 4.1)を大津工場に設置し、ソーダガラスで容量が 0.6 L の携帯用魔法瓶バルブの生産を開始した。


図 4.1 ロータリー式ブローイングマシンのイメージ図 1)

図 4.1 ロータリー式ブローイングマシンのイメージ図1)


このブローイングマシンは大量需要に応えるためにロータリー式になっており、広範囲な製品の形状、大きさ、肉厚、ガラス材質に適用でき操作性がよく、メンテナンスも容易である。また金型内面にガラスと金型とが直接接触しないようにコルク粉の膜を付けることにより、ガラスの持つ熱で水蒸気が発生し、これが回し吹きの潤滑剤となり光沢のある成型表面を作る。

その製造工程(図 4.2)を下に示す1)


図 4.2 バルブの製造工程 1)

図 4.2 バルブの製造工程1)


ブローイングマシンは溶解窯からその形状、肉厚に応じたガラス玉の重量を自動計測しながら切断した後、円盤状にプレスされる。それをブローイングマシンのヘッドに吸着させる。(工程を示す図 4.2①~③)。円盤状になったガラスは自重で垂れ下がると同時にブローノズルからエアーを吹き込んでパリソン(瓶の形に仕上げる前に予備成型したもの)成型を始める、その成型が完了すると左右に開いていた金型が閉じ始める。(同図④~⑥)。金型が閉じるとパリソンに二次エアーが吹き込まれワーキングテーブルが回転しながらバルブが成型される。(同図⑦)。

ワーキングテーブルには肉厚の均一化と安定した瓶形状を確保する為に必要な金型の数が配置させており、バルブ成型が完了すると金型が左右に開き、カッターによりマシンから切り離される。

ブローイングマシンで成型されたバルブは徐冷炉で歪を除去して完成する。

日本では卓上用魔法瓶も大きな市場となってきたので携帯用魔法瓶用のバルブ生産後には同工程である大型の卓上用魔法瓶用のバルブに着手した。

ブローイングマシンで生産される欧州の魔法瓶は 1 L 以下の容量であって、卓上用の 1 L 以上の大型バルブの量産化は世界で初めてのことであった。卓上用魔法瓶が国内で広く普及されるようになり、1 L から始まり、1.3 L、1.6 L、1.9 L まで拡大した。

ガラス溶解窯は準備に時間を要し、窯のメンテナンスも容易ではないので、一度生産が始まるとその年度に必要な数量まで休むことなく稼働する事になる。従って中瓶加工会社から注文を受けた瓶の種類(内、外瓶 2 種類分)を纏めて生産すると同時に加工会社もある程度の在庫を確保しなければならないという状況であった。

4.2 中瓶(真空二重瓶)の自動生産

開発初期の中瓶に加工する工程は、二重瓶に組合せ→銀メッキ→乾燥→排気の 4 工程を職人が分業で行っていた。各工程での不良や品質のバラツキ、安定した生産能力にも問題が多かった。そのため、バルブ生産と同時期に中瓶加工も完全自動化が検討され、 1963 年(昭和 38 年)万邦硝子株式会社[株式会社小倉硝子と象印マホービン株式会社の共同出資会社]は小容量携帯用中瓶の自動化を完成させた。

その後、日本硝子商事株式会社(現・ニプロ株式会社)が、携帯用魔法瓶の中瓶加工機を卓上用魔法瓶の中瓶加工機として大型機に修正、改良を行い、国内向け卓上用魔法瓶の中瓶加工機を完成させた。 1965 年(昭和 40 年)にダイヤモンド魔法瓶株式会社、象印マホービン、植村魔法瓶株式会社にその中瓶加工機が設備された。

現在でも中瓶加工機は改良とメンテナンスを加えながら象印マホービンの生産子会社である象印ファクトリー・ジャパン株式会社で当時からの繊細かつ熟達した加工技術を継承する形で稼働されている。主要な工程、内バルブ口部カット(図 4.3、)、口部封じ(図 4.4、)、銀メッキ(図 4.5、)、排気(図 4.6、)、温度検査(図 4.7)を現場の各工程の詳細を写真と共に以下に示す2)


図 4.3 内バルブ口部カット工程 2)

図 4.3 内バルブ口部カット工程2)



図 4.4 口部封じ工程 2)

図 4.4 口部封じ工程2)



図 4.5 銀メッキ工程 2)

図 4.5 銀メッキ工程2)



図 4.6 排気工程 2)

図 4.6 排気工程2)



図 4.7 温度検査工程 2)

図 4.7 温度検査工程2)


4.2.1 中瓶の自動生産工程

携帯用、卓上用中瓶は絞り瓶と称し、口部形成のために外バルブ上部を内バルブとの距離を確保しながら絞っていく工程(封じ)を必要とするもので、その模式図を(図 4.8 に示す2)


図 4.8 絞り瓶の生産工程 2)

図 4.8 絞り瓶の生産工程2)


工程の詳細を次に箇条書きする。

①  
内バルブは上部フレアをカットし、その底部にマットを三か所接着させる、外バルブは底部にチップ管(ガラス管)を溶着、貫通させる。マットは外瓶とのスペーサーとなり、その材質はケイ酸カルシウム、珪灰石、ガラス長繊維の混合物を使用する。
②  
マット付内バルブに外バルブを上から被せ、外バルブ口部をサイドから絞り込み、外バルブの上端部をカットした後に口部形状を金型で決め押しする。(外瓶、内瓶の空間が均一に確保でき、二重構造が形成させる)
③  
チップ管付きの二重瓶をアニール炉で徐冷する。(熱加工した硝子瓶の歪を除去する)
④  
チップ管から二重瓶の隙間に、ぶどう糖を還元剤としてアンモニア性硝酸銀水溶液を反応させ、銀を析出させる。(中瓶の内面には無電解メッキの一種である銀鏡反応で銀を析出させ、メッキを施している)具体的には二重瓶の間に数 ppm の塩化錫塩酸溶液を流し込み、洗浄を兼ねて前処理を行う。前処理液を排出した後、硝酸銀のアンモニア水溶液と、ぶどう糖水溶液を混合しながら注入する。ぶどう糖は還元剤としてはたらき、注入直後から反応が始まる。おおよそ 80 秒後に排液した後、前出の塩化錫塩酸溶液で後洗浄を行う。以上のメッキ工程は、全てをローラーコンベア上で回転させながら加工することで、約 2μm の均質なメッキ層を形成している。
化学反応式を下に示す
RCHO+2[Ag(NH3)2]++2OH
  →RCOONH4+2Ag+3NH3+H2O
⑤  
排気工程は回転するワークヘッドにチップ管を取り付け、加熱しながら排気ポンプで 10-1~10-2 Pa まで減圧を行い、最後にチップ管を切断する。

排気工程の詳細は他の設備と同様に大量・連続生産を前提とした設計になっている。排気工程を「連続」化させるために、回転移動するワークヘッドと固定された排気ポンプの間を、円環状のセンターバルブで仲介させている。センターバルブは上下 2 部品で構成されており、両者間はオイルシールされている。センターバルブ下には排気ポンプとして、14 機の単独のロータリーポンプと 6 セットの油拡散ポンプ(フォアポンプとしてのロータリーポンプとのセット)が接続されている。センターバルブ上は、40 セットのワークヘッドが接続され、ワークヘッドにパッキンで固定されたワークが、回転しながら工程を進む。中瓶は真空度を高めるために加熱されながら排気され、最終的には 10-1~10-2 Pa まで減圧される。

排気工程の模式図を図 4.9 に示す2)


図 4.9 排気工程の模式図 2)

図 4.9 排気工程の模式図2)


4.2.2 中瓶加工時の品質確認事項

一般的な工業製品と同様に中瓶の生産でも、工程検査、工程確認(部品仕様や加工条件の確認、加工部位の寸法確認等)を行っている。しかしながら短時間(絞り瓶のタクトタイムは 6 秒、胴継瓶では 7.2 秒)に 1,000 ℃を超える高温で加工するため、部材の取り扱いや作業環境面の問題で、一般的なものよりも不良が発生し易い。そのため生産工程の中に関所として、あるいは加工条件の最適化のために、外観検査の工程を設けている。具体的には、絞り瓶ではアニール後に、工程検査として外観検査を行うことで下流への不良品流出を防止している。さらにこの検査は、上流の封止工程の加工条件を調整するトリガーにもなっている。加工するバルブは、溶融したガラスをブロー成型したものであり、窯の温度や材料ロット等の諸条件により、軟化温度や肉厚が絶えず変動している。そのため中瓶の生産工程ではバルブの状態に合わせて、酸素やガス量を調整しなければならない。例えば、前出の外観検査で、絞り部分にシワ不良が多発し始めた情報が発せられると、封止工程の作業者は、軟化のための熱量が不足していると判断し、酸素とガス量を増やす。もちろん封止工程の作業者が目前の状況変化で条件調整することも多々あるが、この外観検査情報をトリガーとすることも少なくない。このような調整を繰り返し行うことで生産性を高めている。

また、中瓶加工技術者は毎日火力を調整しており、その目的としてガラス加工は金属や樹脂とは異なり、寸法を合わせるのが困難で、バルブの厚みも微妙に異なりガラスの状態や天候に合わせて正しく調整出来ないと形が歪になり破損したりするからである。「目でくびれの形を確認し、耳で異音を聞き取る」と言われるほど長年経験した加工職人の技を使いながら日々の生産に対応している3)

4.2.3 中瓶排気後の温度検査について

チップカットした後は排気後に中 2 日間を経過した後に温度検査を行う。チップカットは、チップ管を溶融して細く引き伸ばしながら封口する工程であるため、この部分には歪が残っているのが理由である。歪が著しいものは市場投入後にクラックが進行し、ときには使用中に真空が破壊されて不良品となる。それを回避するために排気完了(チップカット)後に暫く放置して、歪の著しいもののクラックを進行させた後の温度検査で、それらを温度不良品として除去する品質管理体制を採用している。

温度検査は口部を下にした中瓶を測定台に載せ、100 ℃以上に昇温した連続炉内を 11~15 分間かけて通過させる。その間の内部温度の上昇値を規格値と比較し、良否を判定する。自動温度検査機は、内部温度を測定する昇温炉と、その後に測定台を室温に戻す冷却ゾーンで構成されており、ループ状の形態となっている。自動温度検査が終了すると日常管理検査として抜き取りではあるが、実際に 95 ℃の熱湯を満量注入し、施栓状態で 24 時間放置した後の内容湯の温度を測定管理している。

4.3 ガラス製魔法瓶の用途開発

バルブ含め、中瓶生産の自動化により品質の安定した中瓶が供給できるので、魔法瓶製造会社は絞り小容量の携帯用魔法瓶から絞り中容量の卓上用魔法瓶、広口瓶の弁当用ジャーへと国内向け商品開発を行い、開発競争を激化させた。

当時の魔法瓶で大きな市場を形成した携帯用、卓上用、弁当箱について特徴、構造を記述する。

これらの魔法瓶に使用される材料は主に共通なのでまず、材料についてその選定理由を説明する。

4.3.1 魔法瓶に使用される材料

魔法瓶は主要部品である中瓶以外に中栓、肩(湯口)、胴、底の部品構成からなり、それぞれの目的に応じた材料を使用している。

中栓、肩、底部はプラスチックであり、主に食品衛生法に適合したポリプロピレンを使用し、特に中栓など常時熱湯に晒される部位は耐熱老化性の高いグレードを採用している。それでも熱と空気中の酸素の作用で時間が経過すると熱分解する性質がある為、長期間の使用には耐えられず交換部品として別途販売する必要がある。肩部は湯口と一体成型されているのが殆どで高光沢、高剛性のグレードを、底部に於いては落下衝撃に強いグレードを採用している。

胴部はデザイン絵柄がオフセット印刷された冷間圧延鋼板を使用している。その印刷鋼板を円筒状にロール加工し、カシメ後、腐食防止のため端部が外面に露出しないように上下プレス機にてその部分を内側に曲げた状態で使用する。

シール部材として使用しているパッキンは耐熱、耐水、耐スチーム、耐薬品に優れており、特に加熱条件下で圧縮、変形させて使うことが多いので他のゴムより圧縮永久歪が低いシリコーンゴムを使用している。復元性がある事が優れているゴムなのでシール部材として最適である。

4.3.2 携帯用魔法瓶

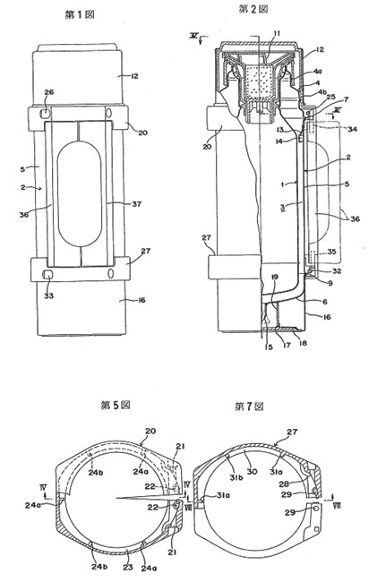
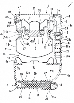
主として屋外で使用されるもので、外装にコップを取り付け、携帯用の下げ紐をつけたものを携帯用魔法瓶としている。その外観及び断面の構造を図 4.10、図 4.11 に示す4)


図 4.10 携帯用魔法瓶の外観(象印マホービン KN 型) 4)
図 4.10 携帯用魔法瓶の外観(象印マホービン KN 型) 4)

図 4.10 携帯用魔法瓶の外観(象印マホービン KN 型)4)

図 4.11 携帯用魔法瓶の断面構造 4)

図 4.11 携帯用魔法瓶の断面構造4)


携帯用魔法瓶のケース内部では中瓶が確実にケースの中に固定されなければならず、また給湯時やコップに注ぐ時にもケース内に水漏れが無いように配慮しなければならない。そのために湯口内面と中瓶の口部上面に口ゴムを配置させ底部に取り付けた樹脂製のネジ部材で締め上げる構造となっている。

中栓は湯口肩部とネジ嵌合による脱着となり、携帯時に内容湯が漏れないようにパッキンを取り付け、湯口内面をシールさせている。さらに内容湯の温度低下で負圧になって中栓を外す回転トルクが増えないように中栓部材は湯口のシール部分と摘まむ部分とが別部品の遊嵌合になっている。また中瓶からの熱放出を抑えるために内部には断熱材として発泡スチロールを充填している。

コップと肩部は少ない回転で外れるように二条ネジ(リードがピッチの 2 倍になる)で設計する場合が多い。特に携帯用魔法瓶は持ち運ぶ時に横倒しする場合が有るため、内容湯が外部に漏れる事は厳禁である。従って製品検査では横倒し時の漏れ確認に加え、蒸気圧が最大になる 2/3 容量の沸騰水を入れた状態で施栓し、上下に大きく 10 回振ることで製品内外に漏れない事を確認している。

携帯用魔法瓶の容量と保温性能を表 4.1 に示す。保温効力とは室温 20 ℃±٢ ℃において製品に熱湯を中栓下端まで満たし、縦置きにした状態で湯温が 95±1 ℃の時から 6 時間及び 24 時間放置した場合におけるその湯の温度である。


表 4.1 携帯用魔法瓶の保温効力

 

保温効力

容量

6 時間

24 時間

0.3 L

70 ℃以上

42 ℃以上

0.5 L

74 ℃以上

50 ℃以上

0.75 L

77 ℃以上

57 ℃以上

0.9 L

78 ℃以上

58 ℃以上


携帯用中瓶は 4 サイズあり、容量に対応して同じ胴径で全長を伸ばすと、製品自身の全高増となり、不安定になるので 0.75 L 以上は胴径を太くし安定性を確保している。但し小サイズと同じ口径で胴径を太くするとバルブ成型時に口部から胴に変化する肩部付近の変位量が大きく、ガラス肉厚が確保出来ない。従って胴径拡大に伴い口径も大きくしている。以上 4 サイズ展開する場合は高さだけでなく、径寸法も 2 種類になるので肩の外径寸法だけでなく、中栓口径も変わる。従ってプラスチック金型は小サイズと大サイズが必要で金型面数も倍増する。

4.3.3 卓上用魔法瓶

主として屋内で使用されるもので、通常外装にハンドル又は吊り手をつけたものを卓上用魔法瓶としている。その外観及び断面の構造を図 4.12、図 4.13 に示す4)


図 4.12 卓上用魔法瓶の

図 4.12 卓上用魔法瓶の外観(象印マホービン VN型)4)

図 4.13 卓上用魔法瓶の

図 4.13 卓上用魔法瓶の断面構造4)


提示した卓上用魔法瓶はハンドル上部のつまみ部を押さえ、蓋先端が開くと同時に傾けるだけで中栓が開き注ぐ事が出来る、当時では画期的な中栓構造の魔法瓶であった。

その機構を以下に箇条書きにする。

① ハンドル部に内蔵したつまみ部動作で蓋が 2 段階で開く構造となっている。つまみを押さえると 1 段目は蓋先端が開く。

② 中栓内部に収納されたスプリングの反発で中栓内断熱フロートを上昇させ、吐出可能となる。

③ 吐出が完了し、つまみ部を開放する(指を離す)と蓋が閉じながら断熱フロートが下がり、施栓状態に戻る。

給湯及び俳湯時にはつまみ部を押し下げると完全に蓋が開き、中栓の着脱が可能となる。2 段の開状態を閉じるには蓋を手で押して閉じる。

肩部は光沢のある高級感を出すために口金は冷間圧延ステンレス鋼帯、肩は冷間圧延鋼板のプレス部品にそれぞれクロムメッキを施している。

卓上用魔法瓶の中瓶固定方法も携帯用と同様であるが、この製品の底は二重構造で中底により中瓶を固定した後、回転体を取り付けた底ユニットで胴底部にネジ嵌合させて固定する。

さらにこの製品にはテーブル上でハンドルを持てば製品が自由に回転する構造となっている。底の回転機構であるが、底部に複数個の摺動性の良いポリアセタールを差し込み、その先端半球状の頭部分を回転体上の溝部に載せることで回転可能な構造としている。

回転式ポットは 1968 年にピーコック魔法瓶工業の当時の社長である山中雅文が考案した画期的なアイデアで、製品を持ち上げずに卓上でくるくると回転する機構である5)。卓上用魔法瓶のハンドルかボディを軽く押すと回転して使用する人の方へハンドルが向き、そのままの姿勢で手軽に使用できる。回転式の開発によって卓上用の魔法瓶が大型化に進み、後述するエアーポットへとその機構が踏襲されたのは勿論、ピーコック魔法瓶工業の寛大な配慮もあり、回転機構の技術が公開・許諾され、業界のほとんどの商品が回転式の底部になった。

卓上用魔法瓶の容量と保温性能を表 4.2 に示す。尚、卓上用魔法瓶は 24 時間に加え、使用状況から 10 時間後の温度表示をしている。


表 4.2 卓上用魔法瓶保温効力

 

保温効力

容量

10 時間

24 時間

1.0 L

68 ℃以上

50 ℃以上

1.3 L

72 ℃以上

55 ℃以上

1.6 L

74 ℃以上

58 ℃以上

1.9 L

76 ℃以上

61 ℃以上

4.3.4 弁当用ジャー

手吹き瓶による広口ジャーは米飯を保温する 1 L サイズからアイスクリームを保冷する 18 L まで幅広いサイズの中瓶構成であった。しかし生活様式の近代化に伴い、大容量サイズは電気による保温、保冷器具(電子ジャー、冷蔵庫)に置き換わったので機械生産による自動化は小容量サイズ(1 L~2 L)での製作となった。

このような背景で米飯保温用の広口瓶を利用した弁当箱(ランチジャー)が 1964 年、株式会社グロリア魔法瓶製作所より発売された6)、その外観を図 4.14 に示す。持ち運びに必要なベルトも装着されているため、屋外労働者に人気となり他社も商品開発を追随し魔法瓶弁当市場を形成した。


図 4.14 業界初の広口瓶利用の弁当箱(グロリア魔法瓶) 6)

図 4.14 業界初の広口瓶利用の弁当箱(グロリア魔法瓶)6)


この広口瓶を利用した弁当箱は主として屋外で使用されるもので、中瓶に保護器を付けて弁当用の米飯などを保温するものを弁当用ジャーとしている。一般的な弁当用ジャーの外観及び断面の構造を図 4.15、図 4.16 に示す4)


図 4.15 弁当用ジャーの外観

図 4.15 弁当用ジャーの外観
(象印マホービン LP 型)4)

図 4.16 弁当用ジャーの

図 4.16 弁当用ジャーの断面構造 4)


弁当用ジャーは保温するスペースに味噌汁を入れる「汁器」、米飯を入れる「飯器」が入り、肩角部に「はし箱」、肩上部にはおかずを入れる「菜入れ」を収納することを特長としている。

弁当用ジャーは広口の瓶生地内面に直接汁器、飯器を収納することが安全上推奨できないため、それらを保護する樹脂製の器が必要である。これを保護器と呼び、保護器は肩と一体で成形し、ケースとの保護器の間に緩衝用発泡スチロールと合わせて広口瓶を収める構造となっている。

弁当用ジャーのケースは衝撃に強いポリエチレンのブロー成形品を、食品を収める容器と蓋、肩はポリプロピレンで菜入れ容器の蓋は軟質ポリエチレンを採用している。

蓋はケースに取り付けたパッチン錠(ファスナー止め金具)で固定され、パッチン錠にはベルトをぶら下げる金具が装備され、携帯できる仕様となっている。

飯器容量は 0.27 L と 1.5 合入る容量となっており、米飯の保温と上部菜入れへの熱移動を避けるために飯器蓋には発泡スチロールの断熱材を充填している。

汁器はその蓋のパッキンで漏れないようにしているが、シールする径が大きく、冷めた時の負圧時でも蓋が開けられるように外気を吸い込む逆止弁を備えた構造としている。

弁当用ジャーの容量と保温性能を表 4.3 に示す。弁当用ジャーは保護器に飯器蓋の下端部まで沸騰水を入れ、湯の温度が 95±1 ℃になった時に飯器蓋及び菜入れを載せ、蓋をした時から 6 時間放置後の内容湯の温度を測定する。


表 4.3 6 時間後の弁当用ジャー保温効力

容量

保温効力

1.0 L

55 ℃以上

1.2 L

60 ℃以上

1.6 L

64 ℃以上

1.7 L

64 ℃以上

2.0 L

68 ℃以上


4.4 卓上用魔法瓶中栓の進化と変遷

ガラス製魔法瓶の中栓と言えば誕生当初はコルク(木栓)であった、瓶詰の栓がコルクであるからと推定出来るが、劣化が激しいので、布(巾着絞り)で覆うこともあった。戦後は樹脂フィルムを使用したが、 1955 年ポリエチレン製の栓が開発され、耐久性、臭いなど格段に性能が向上した。瓶口に差し込むにはポリエチレンの柔軟性が使いやすく、中の断熱材はコルクを入れていたが、その後発泡スチロールに置き換わった。

ハンドポットの進化の過程でオート栓のように内部に機構が入り始めると、寸法精度が要求されるのでポリエチレンからポリプロピレンに材料が変更された。さらに市場の広がりの中で、ハンドポットのデザインも肩、湯口が金属から樹脂に変更され、それと同時に差し込み中栓からネジ式の中栓へと変化した。

中栓の進化(コルク~ネジ栓)を外観(図 4.17) に示す7)


図 4.17 中栓の進化(外観) 7)

図 4.17 中栓の進化(外観)7)


コラム:携帯用ガラス製魔法瓶を凌駕した保温水筒( 1964 年~ 1979 年)


携帯用ガラス製魔法瓶は 1963 年から市場投入された。但し材質がソーダガラスであるのと機械化生産の中瓶が製造されたばかりで、衝撃に弱く割れやすいイメージが先行し、販売が進まなかった。

翌 1964 年にタイガー魔法瓶から発売された保温水筒は魔法瓶が真空二重瓶であるのにくらべ、一重構造の硝子瓶の表面にアルミを真空蒸着し、外装ケースとの間に硬質ウレタンフォームが充填されていた。ウレタンフォームの弾力を利用して外面衝撃から中瓶を保護し、アルミ蒸着で著しい保温効力の低下を防いだ水筒は当時、画期的であった。

発売当初の保温水筒の外観を図 1 に断面構造を図 2 に示す。


図1 保温水筒の外観(タイガー魔法瓶G3 型) 1)

図1 保温水筒の外観(タイガー魔法瓶G3 型)1)

図2 保温水筒の断面構造 2)

図2 保温水筒の断面構造2)

保温水筒は最小容量が 0.4 L の 6 時間後保温効力が 40 ℃で、ガラス製魔法瓶 0.31 L の 24 時間後保温効力 40 ℃以上と比較して魔法瓶の断熱性能より 1/4 に劣る。しかしウレタンフォームの弾力化効果で中瓶破損が殆どなくなり、子供用として旅行用として当時のレジャーブームにも乗り、販路を拡大させた。

当然、業界各メーカーも生産に着手し、瓶形状含め機能開発が加速し、元来、コップ付きのシンプルなデザインであったが、以下の付加価値で商品構成も広げることになった。


①  
デザインの自由度 中瓶が一重なので円筒形に拘る必要もなく、小判型の扁平タイプにして、その形状に合わせた外装ケースを使う。そのケースとの空間にウレタンフォームを充填することでデザインの自由度が広がる。
②  
残量が見える構造 中瓶のアルミ蒸着面を一部マスキングして、その部分を透明化する。中瓶とケースとの間に窓スペーサーを挟み、製品側からマジックレンズで残量が見えるようにする。
③  
下げ紐調整機能 製品底部にオートリール(ゼンマイ式の巻き取り機)を内蔵し、下げ紐長さを調整できるようする。

携帯ガラス製魔法瓶の発売当時は年間 200 万本の出荷であったが、この保温水筒は 15 年間でピーク年間 380 万本3)まで市場を拡大させることになった。その後、中瓶自動化に対応した加工技術が向上し、材質をホウケイ酸ガラスに変更したことにより、ガラス強度が増し、携帯ガラス製魔法瓶が再び消費者から見直され、 1982 年に保温水筒は完全に携帯ガラス製魔法瓶と入れ替わり、市場から姿を消した。

基本性能も重要であるが、その時代背景、顧客のニーズに合った商品開発の必要性を痛感する事例であった。


参考文献

1) タイガー魔法瓶株式会社 写真提供
2) 全国魔法瓶工業組合編,「日本の魔法瓶」,全国魔法瓶工業組合, p.102, 1983.
3) 全国魔法瓶工業組合編,「日本の魔法瓶」,全国魔法瓶工業組合, p.135, 1983.

4.4.1 ネジ式中栓の機能開発

中栓は肩部と樹脂ネジ嵌合で開栓、施栓を行う。施栓位置から半回転回すことで、下部断熱スペースの流水開口部を注ぐ方向に向け、給水しなければならない。給水が完了すると再度半回転させて施栓する。この給水時の回転動作を省略し、ワンタッチで給水可能となる機構が開発された。スライド栓、プッシュ栓、ハンドルプッシュ連動栓、と称しその機構をそれぞれ下に示す。

スライド栓

中栓上部のレバーを操作するだけで給水経路の開閉を行う機構である。レバーと栓内部の止水弁が連動し、レバーをスライドさせると止水弁が下がり給水可能となる、レバーを戻せば止水弁が上昇し給水経路を遮断する。外観を図 4.18 に示す8)


図 4.18 スライド栓ハンドポット
図 4.18 スライド栓ハンドポット

図 4.18 スライド栓ハンドポット
(タイガー魔法瓶 MP 型)8)


プッシュ栓

中栓上部のプッシュボタンを操作するだけで給水経路の開閉を行う機構である。これはノック式ボールペンと同構造で中栓内部に機構軸を設け、機構軸に載っている回転軸をプッシュボタンの押し下げで回転させるのが特徴で、回転軸が機構軸の谷に入り、下降することで止水弁が下がり、給水可能となる。もう一度プッシュボタンを押せば回転軸は回転しながら機構軸の山に載り、止水弁が上昇し、給水経路を遮断する。外観を図 4.19 に示す4)


図 4.19 プッシュ栓の開閉状態 4)

図 4.19 プッシュ栓の開閉状態4)


ハンドルプッシュ連動栓

ハンドルを握った状態でハンドル上部のプッシュボタンを操作することにより、栓内部の止水弁を上下させ、給水経路の開閉を行う機構である。

プッシュ栓の機構をハンドル上部に組み込み、その機構の外部にプッシュボタン、内部に横スライド軸を設ける。プッシュボタンの操作で肩部湯口後方からスライド軸を突出させることにより、その軸の動きで栓内部のスライド部と止水弁が連動し、給水と遮断が可能となる。止水弁の開閉はスライド栓と同構造になる。外観を図 4.20 に示す4)


図 4.20 ハンドルプッシュ栓 4)

図 4.20 ハンドルプッシュ栓4)


4.5 卓上用魔法瓶の肩部材料変更に伴う 湯口先端構造について

昭和 40 年代( 1965 年~ 1974 年)には一世を風靡した卓上用ハンドポットであるが、肩及び湯口部が鋼板やステンレス鋼のプレス部品を使用しており、中栓を固定する手段として、中瓶口部に中栓を差し込む方式を採用していた。当然中栓の上部にはそれを保護するヒンジ式の上蓋が装着されていた。(図 4.12、)、図 4.13 参照)その後、大胆にデザインが進化し、肩部は樹脂製に変更され、その肩部に成形されたネジ部に中栓をネジ嵌合して着脱する構造となった。従って従来の上蓋は不要となり、中栓が露出するデザインに変更された。そのデザインでは湯口先端が露出するので、衛生面で配慮されたフラップ(湯口先端カバー)付きの構造となった機種が開発された。その代表例としてフラップ可動の卓上用魔法瓶を 3 例紹介する。

1) 

湯口先端部分に自重で回転可動する樹脂製のフラップを設けた機種

肩部はハンドル一体成形の肩本体とフラップを挟みこむ肩カバーとの 2 部品で構成され、フラップ後方軸部には重りをインサートし、製品を注ぐ方向に傾けると軸部を中心に重りとのバランスでフラップが開く構造である。製品の外観を図 4.21 にフラップ作動(断面構造)及び部品構成を図 4.22 に示す。


図 4.21 オートフラップ付きハンドポットの外観
図 4.21 オートフラップ付きハンドポットの外観

図 4.21 オートフラップ付きハンドポットの外観
(象印マホービン SU 型)4)

図 4.22 フラップ作動の断面構造と部品構成<br>(実公昭 55-024990 より転載) 9)

図 4.22 フラップ作動の断面構造と部品構成
(実公昭 55-024990 より転載)9)


2) 

中栓の回動によりフラップが開閉する機種

樹脂製の肩部とネジ嵌合された中栓は着脱時、注水時には中栓を回転させなければならない。この中栓回転を利用してフラップが開閉する機構となっている。肩部と肩カバー先端との間にフラップ、バネ材及び上下に連動するピンを内蔵させ、中栓下端裏面外周部とピンが上下干渉する構造で、中栓が無い状態では常にピンが上昇してフラップが解放(開状態)されており、中栓を締めていくと中栓下端部がピンを押させ付け、フラップを閉じる。当然、注水時は中栓を回転させるので(中栓が上昇)ピンとの干渉が解かれ、フラップが起き上がり、湯道が出現する。製品の外観を図 4.23 にフラップ作動(断面構造)及び部品構成を図 4.24 に示す。


図 4.23 中栓連動フラップ付きハンドポットの外観
図 4.23 中栓連動フラップ付きハンドポットの外観

図 4.23 中栓連動フラップ付きハンドポットの外観
(象印マホービン SF 型)4)



図 4.24 フラップ作動の断面構造と部品構成<br>(実公昭 55-049713 より転載) 10)

図 4.24 フラップ作動の断面構造と部品構成
(実公昭 55-049713 より転載)10)


3) 

ステンレス鋼板製のフラップ搭載機種

最も簡素な部品構成で、肩部湯口先端に両側の溝部に収まるステンレス製の平板を肩カバーの間に挟み込んだ構造である。これはステンレス板両端の突出部を中心にしてステンレスの自重で回動する機構で、作動の確実さと組み立ての簡便さもあり、多種の機種に採用された。特に当時は中東向け輸出用の砂埃対策や日本国内ゴキブリ対策として利用された。製品の外観を図 4.25 に断面の構造を図 4.26 に示す。


図 4.25 輸出用ステンレスフラップ付きハンドポットの外観(象印マホービ SLE 型) 4)
図 4.25 輸出用ステンレスフラップ付きハンドポットの外観(象印マホービ SLE 型) 4)

図 4.25 輸出用ステンレスフラップ付きハンドポットの外観
(象印マホービ SLE 型)4)

図 4.26 フラップ周辺の断面構造

図 4.26 フラップ周辺の断面構造
(実公昭 63-029490 より転載)11)


4.6 JIS と SV 規格による信頼性、 安全性の保証

戦後における近代工業のめざましい発展によって、多品種の製品が市場で競争することになり、多様化した顧客のニーズに応えることになった。ここで問題となるのは、一見しただけでは寸法や形態、性能差などの違いがわからないことであった。

魔法瓶においても、使用者が安心して製品を購入できるように、製品の合理的な標準を定め、これを世間一般に普及して製品の品質を改善し、生産を合理化し、使いやすくするための標準化作業が行われた。

まず、輸出魔法瓶の等級標準として 1951 年 3 月 6 日に日本工業規格 JIS Z 5406:1951 が初めて制定・施行され、保温効力によって上級、普通級、低級と等級を分類し、ガラス真空二重瓶の性能標準として、規格温度に適合するのは上級と普通級のみとして設定された。

その 2 年後、 1953 年に全国魔法瓶協同組合が結成され、魔法瓶の JIS 改正・制定作業が行われた。

JIS S 2005:1953 輸出魔法ビンへの改正と JIS S 2006:1953 魔法ビンが制定され、初めて国内向けの規格が作成された。その後まほうびん用中びん JIS S 2005 や硝子製保温容器 JIS S 2017、ステンレス鋼製まほうびん JIS S 2053 等、様々な関連 JIS が制定されたが、 2016 年までにすべての JIS が統合され、現在では JIS S 2006:2024 のみが運用され、魔法瓶の性能、仕様、強度、食品衛生に関する標準が設定されている。

(JIS の表現が 1981 年、「魔法瓶」から「まほうびん」に変更された)

一方、 1965 年に全国魔法瓶協同組合から移行した全国魔法瓶工業組合では、競争の激化に伴う消費者問題と苦情対策が急務であった。特に中瓶は破損しやすいガラス製二重瓶であったため、JIS よりも高い品質規制の要求が高まっていた。それを受けて 1974 年に製品安全協会は組合に対し、SG マークa商品として自主規制するよう指示があり、また翌 1975 年には監督官庁の通産省日用品課より、自主規制とあわせて、事故処理規定の制定について指示があり、全国魔法瓶工業組合としてあらたな自主基準の作成に着手した。

1976 年 5 月 17 日に「まほうびんの安全性の確保に関する基準」(SV 規格)を制定し、この基準に従って第三者機関にて合格となった製品に SV マークを表示することで、製品の安全性が確保された商品であることを消費者にわかりやすく啓蒙することができるようになった。

この SV 規格は JIS S 2006 を基に作られているが、その違いは前述の事故処理規定があることや、ガラス中瓶の耐衝撃試験(シューター試験)の追加、中瓶破損時の湯漏れ試験追加、中瓶カバーの必須条項、底止めビスの必須条項など、より安全性に特化した項目が追加されており、ガラス製魔法瓶の性能と安全性を保証している。


a  
SG マークは、Safe Goods(安全な製品)の略号で(一財)製品安全協会が定めたもの。



第 4 章 参考文献

1) 日本電気硝子株式会社成型技術グループ「ガラス成型技術の概要」NEW GLASS Vol.13 No.2, pp.15-23, 1998.
2) 象印ファクトリー・ジャパン株式会社 写真、工程図提供
3) 国産ガラスマホービン、最後のとりで 象印の福町工場(日本経済新聞 2023 年 9 月 4 日)
4) 象印マホービン株式会社 写真提供
5) 全国魔法瓶工業組合編,「日本の魔法瓶」,全国魔法瓶工業組合, p.137, 1983.
6) http://mahobin.org/episode.html (2024.9.25 閲覧)
7) まほうびん記念館編,「まほうびんの歴史」象印マホービン株式会社,p.14, 2018.
8) タイガー魔法瓶株式会社 写真、簡略図提供
9) 実公昭 55-024990
10) 実公昭 55-049713
11) 実公昭 63-029490

コラム:特殊な中瓶形状を持つユニークな卓上用魔法瓶


19731980年にかけてガラス製魔法瓶市場はエアーポットの発売による市場拡大で各家庭では必需品となるほど浸透していった。但し、従来の魔法瓶は各社共通の中瓶を使用し、デザインや多少機能の違いはあるものの、あまり個性的な製品ではなかった。しかも大容量タイプが普及しているので個人使用の小容量パーソナルタイプの開発が急務となり、業界には無い特殊中瓶を開発し、その中瓶性能が製品の特長になるような小容量の卓上用魔法瓶が象印マホービンから発売された。


1)  
急須型ハンドポット 口径が 83 mm と従来の 45 mm に対して最大径の卓上用魔法瓶で容量は 1 L となっている。外観を図 1 に断面構造を図 2 に示す。
急須のイメージを優先させて敢えて大口径に拘り、開発スタートさせたものの魔法瓶としての最大の機能である保温性が従来品より劣るのは明白であり、発売当初は投資リスクを軽減するため旧式の手吹き瓶で発売する事となった。
保温性能は 10 時間 53 ℃で従来の 1 L 瓶に対して 10 ℃以上も劣っているが、パーソナルユースの短時間使用と覚悟して発売した結果、基本性能よりそのデザイン性に高い評価を受けた。しかも有田焼などの茶器セットでギフト仕様として販売し、爆発的にヒットしたため、手吹きでは中瓶生産が追い付かず、機械化させて対応することになった。
その後も高級感を出すために、ポリプロピレンの高剛性特殊グレードを使用して、成形後その表面に漆塗装と蒔絵をシルクスクリーン印刷し、さらにハンドルには籐素材を利用したアイテムを追加する(図 3)など、単品販売、セット販売と好調に推移した。まさに中瓶を変えてハンドポットのデザインを変え、成功した事例である。
図1 急須型ハンドポットの外観(象印マホービン VJ 型) 1)

図1 急須型ハンドポットの外観
(象印マホービン VJ 型)1)

図2 急須型ハンドポットの断面構造 2)

図2 急須型ハンドポットの断面構造2)

図3 漆塗装の急須ポット(象印マホービン VJU 型)

図3 漆塗装の急須ポット
(象印マホービン VJU 型)


2)  
ラーメンポット 口径が 28 mm と最小径の卓上用魔法瓶で容量は 1 L となっている。外観を図 4 に断面構造を図 5 に示す。
最高の保温性を持つ魔法瓶があれば受験生の夜食時でもカップラーメンの湯として利用できることからニーズは限定されるもののラーメンポットとして企画開発された。中瓶は最小口径で口部距離を延長させ 4 時間後でも 90 ℃以上あり、従来にはない高保温性能のハンドポットであった。発売当初はその高い保温性能でラーメン以外でも展開できると期待していたが、話題性だけが優先して拡売には繋がらなかった。
図 4 ラーメンポットの外観(象印マホービン AGL 型) 1)

図 4 ラーメンポットの外観
(象印マホービン AGL 型)1)

図 5 ラーメンポットの断面構造 2)

図 5 ラーメンポットの断面構造2)


参考文献

1)   象印マホービン株式会社 写真提供
2)   象印マホービン株式会社 断面構造図提供


Contents に戻る



 5 ガラス製大容量魔法瓶の機能開発

5.1 エアーポットの開発

卓上用魔法瓶として最大容量は 1.9 L であったが、満量入れると 4㎏を超え、ハンドルを持ちながら注ぐには使いにくい弱点があった。家族構成を考えても今後さらに大容量の卓上用が要求されるのは明白であり、そのような魔法瓶使用環境の中、ハンドルを持たなくても内容湯を出せる新吐出方式の魔法瓶が 1971 年タイガー魔法瓶株式会社より電動栓付き卓上ポットとして発売された。給湯方式は電池でモーターを動かし、プロペラでパイプを通じてくみ上げる機構になっており、電動栓のプッシュボタンを押すだけで楽に注ぐ事が出来た。但し、電池使用による給湯方式と言う事も有り、他社が類似商品を開発する機運までには至らなかった。しかし後の電気ポットの給湯方式に活用されたのは技術蓄積の成果と言える。

さらに翌年の 1972 年、ナショナル魔法瓶工業株式会社より空気圧を利用して給湯できる「エアーポット」として新しい卓上用魔法瓶が発売された(図 5.1)。

図 5.2 プッシュ式エアー

図 5.1 業界初のレバー式エアーポット
(ナショナル魔法瓶工業)1)

手軽に注げる利点から各社一斉に商品開発に注力し、レバー式、プッシュ式などの方式で容量も 2.2 L、 2.5 L までサイズ拡大を図り、ガラス製魔法瓶は空気圧利用の卓上用魔法瓶で市場をさらに拡大させることになった。

また JIS では卓上用魔法瓶空気圧利用式と一般式(ハンドルタイプ)とで種類別にしているが、一般的にはガラス製魔法瓶のエアーポット、ハンドポットと称し、製品として区分している。

5.2 エアーポットの構造

エアーポットは蓋に内蔵するポンプで中栓を通じて中瓶内の空気を圧縮させ、その圧縮させた空気が元に戻る力を利用して注水口(給水パイプ)から内容湯を吐出させる構造となっている。(図 5.2)


図 5.2 プッシュ式エアー

図 5.2 プッシュ式エアーポットの断面構造1)


1973 年に象印マホービンから発売されたプッシュ式エアーポットの外観を図 5.3 に示し、同年にピーコック魔法瓶工業から発売されたレバー式エアーポットの蓋の簡易断面及び外観を図 5.4 と図 5.5 に示す。


図 5.3 プッシュ式エアー

図 5.3 プッシュ式エアーポットの外観(象印マホービン)1)

図 5.4 レバー式エアーポッ

図 5.4 レバー式エアーポットの簡易断面2)

図 5.5 レバー式エアー

図 5.5 レバー式エアーポットの外観(ピーコック魔法瓶)2)


エアーポットの特長はプッシュボタンを押すだけで手軽に給湯できるので、爆発的に市場に浸透した。

当然、開発に於いては新機能製品であるために、安全面を考慮した設計と構造となっている。

新たな機構を下に記す。

①  
プッシュボタンの安全ロック:
不用意にプッシュボタンを押すと、熱湯が飛びだす恐れがあるので、プッシュ操作部には安全ロック機構を設けている。ロック部品はプッシュボタンと連動させ、そのロック部には「出」「止」をシール又は刻印で表示しており、ロックは「止」から「出」に作動させないとプッシュボタンを押せない。またレバー式ならば通常はレバーが収納され、給湯時にレバーを引き上げて使用する構造としている。
②  
外蓋固定:
外蓋は中栓を取りやすくするために、後部の肩とはロールピンによるヒンジ形式で固定されて、ヒンジ部を中心として回動する。外蓋先端部には開閉ボタンを備えたフックで肩部と嵌合させている。製品満量転倒時に外蓋が開くと中栓はもちろん、内容湯も流出するので外蓋フックと肩ツメ部との係り代は確保しなければならない。
③  
蒸気逃がし:
ポンプユニットの上面中央には内容湯の蒸気を逃がすための円形状の解放部を設けている。その上には吸気弁を配置させ、解放部と吸気弁との隙間を確保するようにしている。外蓋ロックが解除され、プッシュボタンを押すと、吸気弁が開放部をシールし、中栓を通じて液面に空気圧を与える。この蒸気逃がしは寸法管理が厳しく、部品間の組合せや成形不良で、この隙間が確保されなくなると内容湯の蒸気圧で給水パイプから自然吐出という PL 法(製造物責任法)の問題に繋がる。重要なので製品検査ではこの隙間を管理項目としている。
④  
転倒時の湯漏れ:
中栓内には自由に移動するセラミック又はステンレス鋼球の安全弁が内蔵している。その目的は製品転倒時に揚水パイプを通って給水パイプから内容湯の流出を最小限にすることで、転倒時に作動し中栓内の流水経路を遮断する。JIS による転倒試験では満量転倒時に 10 秒間で 50 mL 以内となっている。
⑤  
中栓の構造:
エアーポットの中栓には内容湯の吐出口である給水パイプ、安全弁が収納された断熱部分、内容湯をくみ上げる揚水パイプなど 3 つのユニットで構成されている。揚水パイプにはステンレスを使用し、その先端部には中瓶を保護するシリコーンゴムを装着している。ステンレス、ゴムを除く樹脂部品は耐熱老化性の高いポリプロピレンであるが、交換部品として販売している。

エアーポットも普及が広がりワンタッチで給湯できるよう、単一乾電池使用によりモーターが偏心軸を回転させ、ダイヤフラムの圧縮空気で水面を押す電動エアーポットが開発された。また同じ乾電池ではあるが軸流式プロペラをモーターで回転させ吸い上げる方式の電動式も開発された。

操作は簡便ではあるものの動力源である電池による短所(交換の手間と製品重量増)も有り、拡販には繋がらなかった。

5.3 太瓶の開発

空気圧式利用のエアーポット登場により、市場における商品の占有率が変化していった。テーブルポットとして人気があった中容量ハンドポットのニーズが激減し、家族で使用するのがエアーポットで個人は 1 L クラスのハンドポットと棲み分けが明確になった。

このように普及したエアーポットであるが、使用者の声としてテーブルに置くと、背が高くて相手の顔が見えない、またテレビが見えないなどの全高に対する不満や、注水口が高いので急須やコップをテーブルに置いて使えないなど改善するポイントがあった。そこで全高を低くするために、新形状の中瓶開発が急務となった。

このような背景でブローイングマシンや中瓶加工機の改良で製作できる最大径の中瓶が研究された結果、胴径が 165 mm の太瓶が開発された。保温性能は従来品と差が無いように口径は 45 mm に留めたが、口部から胴までの変化が大きいので従来の口絞りではなく、手吹き瓶時代の胴継方式で機械化することになった。両瓶ともに容量は 2.2 L であるが、太瓶は従来瓶(口絞り瓶)に比べ胴径で 30 mm 大きく、全高が 60 mm 低くなっている。両瓶とも業界共通瓶で魔法瓶製造会社は全て使用可能となっていた。

従来の細瓶と太瓶を図 5.6 に比較して示す1)


図 5.6 細瓶(VS 型) 太瓶(VAB 型) 1)

図 5.6 細瓶(VS 型) 太瓶(VAB 型)1)


その中瓶を使用したエアーポットの外観を図 5.7 に示す。右側が太瓶使用の改良型である。太瓶使用による外径や全高差も当然であるが、注目すべきは注水部分である。従来の上部注水口から、別体の注水パイプを連結させ、そのパイプを覆う注水口カバー(ロングノーズ)を取り付けたことを特長としている。この低位注水口が太瓶エアーポットのシンボルデザインとなった。


図 5.7 エアーポットの外観比較

図 5.7 エアーポットの外観比較
(象印マホービン VE 型、VAZ 型)1)


5.4 太瓶の生産方法

胴継ぎ瓶は絞り瓶と違って、外バルブを切断した後に再接合する。しかも切断された破断面は一品一品微妙に異なるので、同じ外バルブを使用するために墨付け工程を入れている。詳細の工程は墨汁を使った墨付け工程に示す。カット工程の前に墨付けし、内バルブをセットした後、手作業でテープ止めを行う。テープ止め以降は自動ラインに移送し、再度外バルブの上下を熱溶着した後、口封じ、アニール、メッキ、排気、チップカットして完成する。

太瓶の胴継ぎ生産工程を図 5.8 に示す3)


図 5.8 太瓶生産の工程 3)

図 5.8 太瓶生産の工程3)


墨汁を使った墨付け工程

墨付けは外胴カット後に再度カットした上下を揃えるために、必要な工程であり、自動生産の中で墨汁を使用した原始的なマーキング方法である。チップ付けからテープ貼り(手作業)までの工程を図 5.9 に示す。


図 5.9 チップ付けからテープ貼りまでの工程 3)

図 5.9 チップ付けからテープ貼りまでの工程3)


チップ付け後は、高温になった外バルブを、工場扇で冷却する。この工程の最後で、外バルブ外側面に、墨付けと呼んでいる縦線を描く。具体的な墨付け工程の拡大を図 5.10 に、墨付け後の外バルブを図 5.11 に示す3)


図 5.10 墨付け工程 3) 図 5.10 墨付け工程 3)

図 5.10 墨付け工程3)



図 5.11 墨付け後の外バルブ 3)

図 5.11 墨付け後の外バルブ3)


胴カットはチルカット(細いバーナーで熱した外バルブに冷たいカッターを接触させ、急激な温度変化でガラスを切断する手法)と呼ばれる方法で外バルブを切断している。まず、外バルブを回転させながら細いバーナーを当て、胴部側面に、円周状の細い熱の道を設ける。その直後に金属製のカッターを接触させると、温度差でクラックが進展し胴が切断される。カッターは先端が約 1 mm の薄いステンレス製の円盤であり、回転しながら水の供給を受けている。カッターに付着する水量はスポンジでコントロールされている。水には界面活性剤が添加されているためカッターの表面には常に薄い水膜が張った状態となっており、安定して熱衝撃が与えられるように工夫されている。

チルカット法による胴カット工程を図 5.12 にカッター部の拡大を図 5.13 に示す3)


図 5.12 胴カットの工程 3)

図 5.12 胴カットの工程3)



図 5.13 カッター部の拡大 3)

図 5.13 カッター部の拡大3)


クラックの伸展の詳細について

カッターが接触した部分から左右二本のクラックが進展する。それぞれ熱の道に沿って進展した後、対角で出合い、外バルブは上下に切断される。しかしながら細いバーナーを使用しても熱の道には幅があり、バルブの肉厚も均一ではない。また、前工程のチップ付けのバーナーの熱で歪が残っており、クラックでできた破面はきれいな平面とはならない。著しい場合は対角がうまく出会えず、部分的に欠ける場合もある。破面が著しく波打った場合や、出会い部が欠けたバルブは、後工程の胴継工程で穴が開く不良となる。クラック進展のイメージを図 5.14 に示す。


図 5.14 クラック進展のイメージ 3)

図 5.14 クラック進展のイメージ3)


カットされた外バルブは、上下セットでテープ貼り工程に供給される。テープ貼り作業者はまずは目視で墨付け線を合わせ、指先で上下の破面を合致させた後、セロハンテープを 2 か所に貼付する。数秒間で破面をピタリと合わせてテープを貼付する作業は熟練した職人の仕事である。

5.5 液晶付き水量表示エアーポットの開発

太瓶エアーポットが市場で高い評価を受け、各社機能開発の競争が始まった。

大容量エアーポットはハンドポットとは異なり、使用時に持ち運びしないので、テーブル上でその位置が固定されている。残量が知りたくなるのは自明であり、魔法瓶の水量が一目でわかる装置をつけ、 1982 年、象印マホービンから業界初の液晶付き水量表示エアーポットが発売された。

このエアーポットは中瓶内面に水量を読み取るセンサーを取り付け、その水量を LCD(液晶表示)で 4 段階に示すもので、0.5 L 以下になると自動的に点滅することを特長としている。外観を図 5.15 に断面構造を図 5.16 に示す1)


図 5.15 液晶表示付きエ

図 5.15 液晶表示付きエアーポットの外観(象印マホービン VAR 型)1)

図 5.16 液晶表示付きエ

図 5.16 液晶表示付きエアーポット断面構造 1)


上記図 5.17 は原理回路であるが、回路で A-B 間が開いているときは C 点の電圧は 0 V、A-B 間が閉じると C 点の電圧は 3 V になる。電圧が 3 V になるとフリップフロップ回路を通じて LCD 駆動部に電圧がかかり LCD が点灯する。


図 5.17 原理回路 1)

図 5.17 原理回路1)


実際の構成回路を図 5.18 に電極配線を図 5.19 に示す。図 5.17 の A が図 5.18 の COM(共通配線部分)にあたり、B が L1~L4 にあたる。図 5.19 のように COM と L1~L4 が配置されており、水がスイッチ弁の役割を果たす。


図 5.18 水量表示構成回路 1)

図 5.18 水量表示構成回路1)


L1 まで水位があれば COM‒L1 間に電圧がかかり LCD 表示(図 5.20)の「ニ」が点灯し、L2 まで水位があれば COM‒L1、COM‒L2 間に電圧がかかり「ニ」「ハ」が点灯する。同じように水位が L4 以上あれば「イ」~「ニ」と点灯する。


図 5.19 電極配線 1)

図 5.19 電極配線1)


図 5.20 LCD 表示 1)

図 5.20 LCD 表示1)


上記断面図の中に、水位検出のための電極:COM、L1、L2、L3、L4 を配備させている。

さらに翌 1983 年、タイガー魔法瓶から中瓶内にセンサー機能が露出していない同じ液晶表示のエアーポットが発売された。静電容量を検知して水位が分かる仕組みで中瓶外周部のアルミ箔を外部電極、中栓揚水パイプを内部電極として両電極間の静電容量を測定して水位を正面注水口カバーの液晶にて表示する構造となっている。外観および原理を図 5.21 に示す4)


図 5.21 静電容量検知方式のエアーポットの外観<br>(タイガー魔法瓶 POH 型) 4)
図 5.21 静電容量検知方式のエアーポットの外観<br>(タイガー魔法瓶 POH 型) 4)

図 5.21 静電容量検知方式のエアーポットの外観
(タイガー魔法瓶 POH 型)4)


両機種とも単三電池 2 本使用で残量が液晶で表示できる画期的な製品であった。但し前出の電動エアーポットと同じく、民生品として機能と売価とのバランスも重要であり、また非電気の製品に交換必要な乾電池使用と言うこともあり、共に後継機種の展開までには至らなかった。

5.6 両口瓶の開発

太瓶の開発により、エアーポットの外観は全高も下がり、安定感のあるシルエットになった。さらに注水口には別体のパイプを付けることで、注水口が一段と下がり、テーブル上で急須やコップを置いたままで注ぐ事が出来るようになった。エアーポットの登場から 7 年目で需要が細瓶から太瓶に切り替わり、エアーポットの市場はさらに拡大した。 1983 年当時、ガラス製魔法瓶は大容量太瓶エアーポット、パーソナルハンドポット、輸出用と合わせて、の総生産数が 2,900 万本とピークを迎えた。但し、この当時、 1980 年頃から大容量電気ポットが開発され、湯沸かしと保温が同時にできることから電気ポットにニーズが傾き始めた。

“商品開発はそこに市場がある限り、技術開発を継続する使命を持つ”大容量魔法瓶の空気圧式以外に吐出する方法としてキーパー式(タンクの下部から吐出)がある。中瓶底部に開口部を設ければ解決するので、新型瓶の開発がスタートした。これが成功すると下部開口部からパイプを連結すれば水位表示も可能になる。

中瓶は一般的に上部にだけ開口部があり、下部は閉じられている。新型瓶は上下 2 か所に開口部があるので両口瓶と呼んでいる。当然両方に口がある中瓶は従来品に比べ、保温効力や強度が劣る。

最初に両方の口の口径が同じものを試作した。但しそのためには内外バルブが計 4 個必要であり、コスト的に厳しく、熱衝撃にも弱い事が判明した。そこでチップ管の熱溶着の発想と断熱構造を考慮し、内バルブ、外バルブ底部に径の異なるパイプを熱溶着した。もちろん、この二つのパイプの空間には内外バルブ空間と同じ真空でメッキもされている。下部管の内径 11 mm 長さ 35 mm にすることで保温効力を従来太瓶と同性能にした。その断面構造を図 5.22 に示す1)


図 5.22 両口瓶の断面構造 1)

図 5.22 両口瓶の断面構造1)


5.7 両口瓶の生産方法

胴継ぎ用太瓶と同じ生産ラインであるが、内、外バルブ 2 つの下部管を底部中央に溶着し、チップ管はサイドに移動させた工程を追加した生産で、胴中央部をテープ止めした後に胴継ぎ、口封じ、下部管封じ、メッキ、排気、チップカットして完成させる。その工程を図 5.23 に示す3)


図 5.23 両口瓶の生産工程 3)

図 5.23 両口瓶の生産工程3)


5.8 落下式ポットの開発

両口瓶の特長を最大限に生かせる落下式ポットが 1983 年に象印マホービンから発売された。

中瓶を保護するケースの下部にコップが入るスペースの脚部がある、従来にはないデザインの落下式ポットである。中栓はネジ式密栓の着脱で、中瓶下部には L 字型シリコーンゴムでその先にはスプリング内蔵の吐出弁を配置させ、プッシュボタン操作で弁体がスライドし、吐出する機構である。

ワンタッチ操作の簡便性はあるものの、脚高さ故の全高でテーブル上には置きづらく、実際の販売も一般家庭用よりむしろ業務用として販売された。現在もレストラン、コーヒーショップでディスペンサーとして大きな需要が有り、ガラス製魔法瓶に留まらず、各企業がステンレス製真空二重瓶を内蔵させ、より大容量のディスペンサーとして生産販売している。その両口瓶利用の落下式ポット外観を図 5.24 に断面構造を図 5.25 に示す。


図 5.24 落下式ポット

図 5.24 落下式ポットの外観
(象印マホービンVYA 型)1)

図 5.25 落下式ポットの断面構造 実公昭 63-005645 より転載 5)

図 5.25 落下式ポットの断面構
造実公昭 63-005645 より転載5)


5.9 水量計付きエアーポット開発

象印マホービンでは両口瓶の開発と同時に落下式ポットに加え、既に発売している太瓶エアーポットの付加機能として、水量表示が出来るエアーポットが開発された。吐出口近傍に水位管を内蔵させたパネルを設け、中瓶内液面を水位管で表示する特長となっている。

水位表示のために、両口瓶下部管部と水位管、最後に肩部へと連結させる構造となっている。部品構成はパイプを形成する肩リング、下部管と水位管を連結させる樹脂部品、それぞれの間にはシリコーンゴムで結合させている。底部、胴部には連結用の切り欠き(空間)を設けている。水量表示付きエアーポットの外観を図 5.26 に製品及び水量計部分の断面を図 5.27 に示す1)


図 5.26 水量計付きエアーポットの外観<br>(象印マホービン VPZ 型) 1)

図 5.26 水量計付きエアーポットの外観
(象印マホービン VPZ 型)1)

図 5.27 製品及び水量計部分の断面構造 1)
図 5.27 製品及び水量計部分の断面構造 1)

図 5.27 製品及び水量計部分の断面構造1)


5.10 重量検知式水量計エアーポット

大容量エアーポットにおいて、必要な機能として残量表示がある。過去には水位センサーによる液晶残量表示や両口瓶利用の下部管からの水位表示の機能があった。これに加え 1984 年にタイガー魔法瓶から重量検知による水位表示エアーポットが発売された。(図 5.28)


図 5.28 重量検知式水量

図 5.28 重量検知式水量計エアーポットの外観(タイガー魔法瓶POL型)4)


重量検知の方法であるが、内容湯の液量に応じて中瓶が上下に変位する。その変位量を前面表示窓に設けた変位量表示部に表示させる方式となっている。具体的には構造上の特徴として中瓶自身を樹脂ケースで覆い、中瓶入りのケースが製品肩部に数か所スプリングを介してビス止めされ、中瓶自身が製品内で吊られた状態(弾性支持装置)になっている。中瓶内に注水すると注水重量分だけスプリングが延び、中瓶が下降する。中瓶ケース上部と前面表示窓で表示する変位量伝達装置が連結しているので、満水になれば中瓶は最下端になり、伝達装置は「満量」表示する。吐出を繰り返すと中瓶重量が軽減され、中瓶は上昇し、伝達装置がそれに連動する。全量分吐出が完了すれば伝達部は「空」状態となる。重量式エアーポットの断面を図 5.29 に示す6)。内容湯の量により中瓶が上下するので、それを吸収する口ゴム形状や底部形状となっている。


図 5.29 重量検知式エアー

図 5.29 重量検知式エアーポットの断面構造6)


5.11 太瓶エアーポットのコンパクト化

市場は安定感のあるデザイン、注水口を下げた太瓶エアーポットが主流になった。中瓶の胴径を拡大することで全高を下げることに寄与したのであるが、さらなるコンパクト化への開発が進められた。

この時代、モノ作りの流れは重厚長大から軽薄短小の時代に移行していたので 1985 年、象印マホービンから中瓶胴径を変えずに、従来の太瓶エアーポットからさらに 60 mm 低いコンパクトエアーポットが発売された。

製品の大部分を占める中瓶全長を低くすることは当然だが、エアーポットを構成している、外蓋部及び中栓部も高さを圧縮する必要がある。そこで部位ごとに各部品の構成を再設計した結果、細瓶から太瓶に変更した時と同じ寸法を圧縮することが可能となった。従来太瓶との製品比較外観を図 5.30 に、その断面構造を図 5.31 にそれぞれ示す1)


図 5.30 製品外観(象印マホービン

図 5.30 製品外観(象印マホービンVAM 型、コンパクト VZA 型)1)

図 5.31 コンパク

図 5.31 コンパクトエアーポット断面構造1)


部位ごとの新たな構造変更箇所を以下に記す。

①  
外蓋部:
従来はポンプ機構の上にプッシュボタンを載せていたが、ポンプ部径を拡大し、上部に凹部を設け、その部位にプッシュ部ボタンを収納することで蓋高さを圧縮させる。
②  
中栓:
中栓高さを低くするために、ポンプエアー吐出孔を後方に偏心させ、注水経路と並列に配置した。
さらに流水経路の断面を丸から長円に変更する。
③  
中瓶:
胴径、口径を維持しながら容量増を図るために、まず肩部、底部のフラット化に挑戦し、さらに外バルブ外径を維持したままで、内バルブの外径を 2.5 mm 拡大することにより中瓶高さを圧縮させる。
但し、バルブ隙間を少なくすると胴継ぎ位置高さ付近は熱溶着の影響を受けるので、従来の内、外バルブ間隔を確保できるように内バルブ熱溶着部分の形状を変更した。中瓶開発は底部のフラット化に挑戦したが試作後、落下強度や熱衝撃に問題があることが判明したので、底部球面形状を再考して解決した。

さらに同 1985 年、タイガー魔法瓶よりレバー式注湯のレディポットが発売された。このエアーポットは女性ソフト開発チームによる調査・研究活動の成果を製品に盛り込んだエアーポットでその外観を図 5.32 に従来品との簡易的な断面構造の比較を図 5.33 にそれぞれ示す4)


図 5.32 レバー式エアーポット外観

図 5.32 レバー式エアーポット外観
(タイガー魔法瓶 PNB 型)4)

図 5.33 断面構造比較(簡易図) 4)

図 5.33 断面構造比較(簡易図)4)


従来の太瓶は変更せず、外蓋からプッシュボタン及びポンプ部を取り除き、高さを圧縮して全高を低くしている。構造変更箇所を以下に、断面構造を図 5.34 に示す7)


図 5.34 レバー式エアーポットの断面構造
図 5.34 レバー式エアーポットの断面構造

図 5.34 レバー式エアーポットの断面構造
特許 平 02-033374 より転載 7)


①  
ポンプ部:
従来のベローズ(ポンプ部分)は円筒形で中栓の上部にあり、外蓋内部に収納されている。ベローズを大径ドーナツ状に形状を変え、肩内部、中瓶口外周部に収めることで、外蓋高さを圧縮し、全高を 60 mm 低くしている。
②  
レバー式注湯:
大径ドーナツ型ポンプを作動させるレバーを注水口側面に配置させ、「てこ」の原理で指一本の軽さでお湯が注げるようにしている。
注水口側面のレバーを下げると、内蔵された馬蹄形金属アームがドーナツベローズの下端 2 か所の吸気弁をシールしてベローズを押し上げ、蓋に内蔵された連結通路を経由して中栓上端部からエアーを吐出する構造となっている。当然、レバー部も容易に操作できないようにロックできる安全配慮がされている。
この製品は指に力をいれなくても座ったままでレバーを軽く押せば、お湯が注げるので女性の間で好評を博した。女性ソフト開発チームがレバー式注湯を発想するヒントが女性の指と爪であり、従来のプッシュ式であれば外蓋内にプッシュボタンが収納されているので、指先に力を入れてプッシュボタンを下方に押さなければならない。その場合、指の力が弱い人にとってはかなりの負担がかかり、それに爪を痛めることもある。レバー式は従来のプッシュボタンの押し動作が負担と言う声を反映した注湯方式であった。

5.12 中栓なしエアーポットの開発

1972 年のエアーポット発売以来、部品構成として断熱機能、注水経路である中栓を必要としていた。

当然、給水、拝水時には中栓を着脱しなければならない。この中栓機能が外蓋や肩部に収納されていれば使用性は各段に向上する。 1987 年象印マホービンから中栓なしエアーポットが発売された。中栓の着脱不要の中栓なし構造は業界にも拡がり、現在もステンレス製真空二重瓶のエアーポットにも踏襲されている。中栓なしエアーポット及び湯口開口部の外観を図 5.35 に、その断面構造を図 5.36 にそれぞれ示す。


図 5.35 中栓なしエアーポットと湯口開口部の外観

図 5.35 中栓なしエアーポットと湯口開口部の外観
(象印マホービン AAB 型)1)



図 5.36 中栓なしエアーポット断面構造<br>(象印マホービン AAB 型) 1)

図 5.36 中栓なしエアーポット断面構造
実公平 04-046707 より転載 8)


従来の中栓から断熱部分を分離させ、それを外蓋ポンプ側下板にビス止め固定した。肩口径部には注水口方向に円筒形の開口部を設け、その開口部に出し入れ可能な蛇腹式パッキン付きの揚水パイプを取り付けた構造である。転倒時流水防止の安全弁ユニットは注水経路の肩部に内蔵している。

通常使用で中瓶洗浄時には揚水パイプを着脱する。揚水パイプ装着には差し込み不十分でも外蓋下部取り付け断熱部が抵抗なく、揚水パイプを肩部内に押し込み、気密性が確保できる構造となっている。

1988 年以降、国内販売におけるエアーポット開発は電気ポットの市場拡大により、需要が激減したので積極的な機能開発は行われず、一部の機能改良やデザイン変更などに留まった。但し、エアーポット、ハンドポットも中近東への輸出需要があるので、現地向けの柄替えは積極的に今日でも実施されている。

5.13 ガラス製魔法瓶出荷数量推移

ガラス製魔法瓶は国内生産が始まった大正から昭和初期までは総出荷 90 %が輸出用であり、手吹き加工によるコストで高価な為、国内需要は厳しい状況にあった。戦後は中瓶の自動化とホウケイ酸ガラスへの材質変更もあり、安定供給に加え、品質も大幅な向上が図られた。加えて生活様式も変化したので、魔法瓶企業は多彩な機種展開と機能開発で国内向けの大きな市場を獲得し、 1960 年以降は逆に国内が総出荷の 90 %を占めるまでに成長した。

その後エアーポットも開発され、国内製品の輸出転用も加えて、総数や輸出比率も上昇し、 1983 年には国内輸出合わせて 2,900 万本のピークを迎えた。それ以降はガラス製魔法瓶から置き換わる商品群も開発され、総数は減少していき、 2023 年には輸出 70 万本、国内 30 万本の計 100 万本となった。

全国魔法瓶工業組合作成の数量推移データから作成した国内合計推移(図 5.37)から各商品群で傾向を考察する。さらに国内輸出合計(図 5.38) も記載する。


図 5.37 品種別出荷数量国内推移 9)

図 5.37 品種別出荷数量国内推移9)



図 5.38 品種別出荷数量(国内+輸出)推移 9)

図 5.38 品種別出荷数量(国内+輸出)推移9)


①  
卓上用魔法瓶
国内合計はダイニングテーブルでの食事が浸透していったので 1956 年から 1973 年まではハンドポットが飛躍的な伸びを示した。食卓に相応しい塩ビ鋼板を使い時代に合った花柄デザインが奏功したのと、差し込み栓から進化したオート栓などの新機能、及び 1.6 L や 1.9 L 大容量化も寄与した。
1973 年以降はエアーポットの登場で商品替えも有り、一時減少したものの、細瓶から太瓶へ、さらに太瓶エアーポットの機能も各社切磋琢磨して独自のアイデアを盛り込み、商品開発に励んだ結果 1981 年には 1,400 万本とピークを迎えた。当時の世帯数が約 3,500 万世帯なので買い替えサイクルを考えても各家庭、最低 1 本は卓上用魔法瓶を保有していたことになる、まさに必需品であった。
但し、 1980 年に湯沸かしと保温機能を持つ電気ポットが発売された以降は各家庭における商品入れ替えで極端に減少していった。1 L パーソナルユースのハンドポットの需要は残ったものの、これも少容量の電気ケトルに置き換わっていった。
時代と共に商品が変化するのは当然であり、大容量電気ポットに置き換わっても、魔法瓶構造を進化させたステンレス鋼製真空二重の「容器」や「ジャケット」は省エネに貢献し、その断熱技術が継承されている。
②  
携帯用魔法瓶
中瓶の自動化と共に携帯用が一気に普及し 1964 年には 200 万本まで市場が広がった。しかし当時は中瓶の材質がソーダガラスであり、熱衝撃や機械的強度に問題が多く、その年度に登場した保温水筒に市場を奪われることになった。保温水筒は一重瓶ながらウレタンフォームで瓶が保護されており、屋外での乱暴な扱いでも破損しない特長があったので、ガラス製魔法瓶に変わって市場を占有した。
1978 年からは機械化の技術的な進歩と中瓶材質をホウケイ酸ガラスに変更したことにより、確実に中瓶強度が増し、再度ガラス製魔法瓶が見直され 400 万本へと大幅に増加した。しかし同年に発売されたステンレス鋼製魔法瓶の性能差(衝撃に強い、コンパクト)が歴然とし、他社も追随、参入企業も増加したため、 2005 年ガラス製の携帯用魔法瓶は終焉を迎えることとなった。
③  
弁当用ジャー
屋外使用と言う事で 200 万本と安定した市場であり、大きな変化はないが、 1983 年に登場したステンレス鋼製ジャーに入れ替わり、 2001 年ガラス製は生産を終了した。ステンレス鋼製に変わっても数量変化はない。但し、ステンレス鋼製は中瓶そのものが外装で、非常にコンパクトになっている。屋外労働者よりむしろ事務職でもカバンに入る大きさであるのと、スープやサラダ、おかず収納だけのコンパクトなステンレスジャーも追加され、全体数量が増えている。

ガラス製真空二重瓶は自動化生産が開始して 61 年経過し、ガラス製魔法瓶需要がピークの 1983 年頃は、日本電気硝子株式会社でバルブ生産し、そのバルブを年間 3,000 万本の生産能力を有する中瓶加工企業(ダイヤモンド魔法瓶工業株式会社、植村魔法瓶工業株式会社、太陽産業株式会社)を経由して魔法瓶組合加盟企業 12 社からガラス製魔法瓶が販売されていた。

2023 年時点で需要として年間 100 万本程度となった現在、ガラス製魔法瓶は組合企業 2 社(象印マホービン、ピーコック魔法瓶工業)からの販売となり、中瓶はバルブ加工が東工業株式会社、真空二重瓶は象印マホービンの生産子会社である象印ファクトリー・ジャパン株式会社の福町工場で加工され、同工場では外殻ケースの金属製缶及び完成品組み立てまで行う、ガラス製魔法瓶の生産工場となっている。

特に象印ファクトリー・ジャパン株式会社福町工場は、ガラス製真空二重瓶加工で、国内唯一の生産拠点である。真空二重瓶加工は長年にわたる旧式設備の生産で日々のメンテナンス、機械部品の更新など、満身創痍の生産環境と言える。しかも殆どが加工現場技術者の経験、知識に依存しているために、技術伝承も行わなければならない。メイドインジャパンに恥じない製品作りに奮闘している福町工場の皆様にエールを送ると共に魔法瓶の基幹部品としてのガラス中瓶の生産を今後も継続されることを切望する。


第 5 章 参考文献

1) 象印マホービン株式会社 写真、構造図、回路図提供
2) ピーコック魔法瓶工業株式会社 写真、構造図提供
3) 象印ファクトリー・ジャパン株式会社 写真、工程図提供
4) タイガー魔法瓶株式会社編,「タイガー魔法瓶 70 年のあゆみ: 1923-1993」,タイガー魔法瓶,1993.
5) 実公昭 63-005645
6) タイガー魔法瓶株式会社 写真、構造図提供
7) 特公平 02-033374
8) 実公平 04-046707
9) 全国魔法瓶工業組合集計の出荷数量から象印マホービン株式会社が作成した年度別推移表提供

Contents に戻る



 6 ステンレス鋼製魔法瓶の開発と製造

1978 年、理化学用デュワー瓶を販売していた日本酸素株式会社a(現日本酸素ホールディングス株式会社)から、民生用としてステンレス鋼製携帯用魔法瓶が発売された。もともと日本酸素は極低温液体の窒素、酸素、ヘリウムなどを入れる大型魔法瓶を以前から生産しており、この真空二重の金属容器生産技術を持って、 1981 年には約 400 万本に成長していたガラス製魔法瓶市場へと参入することになった。当時発売されたステンレス鋼製魔法瓶の外観を図 6.1 に示す1)


図 6.1 ステンレス鋼製魔法瓶外観(日本酸素株式会社) 1)

図 6.1 ステンレス鋼製魔法瓶外観(日本酸素株式会社)1)


ガラス製魔法瓶は衝撃に弱いため、中瓶はケースで覆う構造となり、内容量に対する製品容積も大きく、

それに比べ、ステンレス鋼製は中瓶そのものが外殻になり、強くてコンパクトと言う最大のメリットがあり、瞬く間に携帯用魔法瓶の市場で高い評価を受けた。しかも従来の魔法瓶企業にはステンレス材料の加工技術の経験が浅く、特許の存在も有りすぐには追随できなかったので、独占市場となっていた。

その後、象印マホービンやタイガー魔法瓶も各社独自の製造方法でステンレス鋼製携帯用魔法瓶の生産を始め、ガラス製からステンレス鋼製へと中瓶材質が完全に置き換わることになった。

ガラス製魔法瓶の場合は原則、魔法瓶販売会社がバルブ・中瓶加工会社からの中瓶を購入し、その中瓶を共通使用していたので魔法瓶として商品化する際には中瓶以外で独自の機能、デザインで競う必要があった。ステンレス材料を使用した魔法瓶は各社独自の製造手法でステンレス鋼製真空二重瓶の開発から完成品まで一貫生産するので、その製法とアイデアを駆使しながら競争する市場となったのである。

ガラス製魔法瓶はガラス真空二重瓶(中瓶)を内蔵した製品を魔法瓶と称している。ステンレス鋼製は中瓶そのものが製品となるが、ステンレス真空二重瓶と中栓やコップを備えたものを魔法瓶としている。


a  
日本酸素がイギリス、アメリカ、カナダのサーモス事業会社を買収し、翌年サーモス事業部が発足。そして 2001 年、日本酸素サーモス事業部と、魔法瓶の製造を担ってきた株式会社日酸サーモが統合して、現在のサー モス株式会社の設立となっている。尚、ステレンス鋼製魔法瓶を生産するに当たり、サーモスの製造事業所は 食器や刃物で金属、ステンレス加工の歴史のある新潟燕地区としている。

6.1 ステンレス鋼製真空二重瓶の製造方法

基本的にはガラス製と同様の二重構造となっており、ステンレス製はコイル材からのスタートとなる。

コイル材をパイプ加工や板材に打ち抜きし、各部品をプレスやスピニングなどで金属加工する。その後、それぞれの部品を溶接し、それを二重構造にして真空排気するものである。

プレス加工や溶接技術などの要素技術は既に確立された技術ではあるが、大量生産し、安定した品質を確保するために、各社それぞれの技術を工夫して対応している。サーモス社の発売当初のステンレス鋼製二重瓶の塑性加工及び溶接工程フローを図 6.2 に示す2)


図 6.2 ステンレス鋼製二重瓶塑性及び溶接加工フロー 2)

図 6.2 ステンレス鋼製二重瓶塑性及び溶接加工フロー2)


金属の塑性加工は主としてプレス作業を行うが、一回のプレスではその形状は出にくく、複数回に分けて行われるのが通常である。溶接については材料板厚が 0.3~0.4 mm 程度で非常に薄く、しかも魔法瓶は食品を入れる容器なので溶接時の隙間発生は厳禁であるため、内側容器は突き合わせ溶接を用いている。図 6.2 は 1978 年当時のサーモス社製二重瓶の加工工程を示した。近年は内筒、外筒共にパイプ状態から水バルジや油圧プレスにて拡管し、部品点数や加工工数を減らして対応している。

次に現在の小容量真空二重瓶の製造工程を象印マホービンのマグボトル生産を具体的な事例として詳細を順に以下の(1)~(12)に示す3)

ステンレス鋼製真空二重瓶製造工程

(1)  
造管工程
コイル材からパイプ状に溶接し、成型する定寸に切断する
(2)  
プレス工程
a.複数回工程で拡管
定寸切断されたパイプに金型を挿入して徐々にパイプ径を拡げていく
また、胴部の径を拡げるだけでなく肩部形状・口部の縮管も行う
b.数回工程で縮管
(3)  
スピニング加工
a.内筒の肩から首部にかけて形状を作る
b.胴部の板厚を薄く引き伸ばす
薄肉加工
c.外筒の底側に形状(段差)を作る
d.外筒の湯口側にネジ山の加工を作る
(4)  
トリム工程
製品寸法に仕上げる為、不必要な部分を切断する
(5)  
洗浄工程
前工程で使用した加工油等の洗浄を行う
(6)  
内底溶接
内筒部品と内底部品を溶接する
(7)  
箔巻き
内筒に銅箔又はアルミ箔にゲッターbを包みながら巻く
(8)  
内外筒圧入
内筒を外筒に圧入する
(9)  
湯口溶接
組み合わせた内筒と外筒の湯口部を溶接する
(10)  
外底溶接
外底を外筒に圧入し、底部を溶接する
(11)  
リーク(気密)検査
溶接した部分や製品に穴あけ等で漏れが無いかリーク検査する
(12)  
排気工程
内筒と外筒の空間層を真空にする為、真空ポンプを用いてガスを吸いながら製品を加熱し、ロウ材を封じる

b  
ゲッター、真空装置内の残留ガスを除去し、真空度を維持向上させる吸着材のこと。
ステンレス鋼製二重瓶の排気工程で欠かせない。ゲッターは真空度(10 -3 Pa 以下)を維持させる為、封止後に二重空間内の真空域表面から出る吸着ガス、材料内面から出る吸蔵ガスを吸着させて必要な真空度を維持させる役目を担っている。主なゲッターが吸着するガス及び機構は次の通りである。
水素
ゲッター内部に取り込む。
酸素
酸化被膜としてゲッター表層に取り込む。
窒素
窒化被膜としてゲッター表層に取り込む。
二酸化炭素
分解して酸素は酸化被膜としてゲッター表層に取り込み、炭素は結晶化してゲッター表面に付着する。
炭化水素
分解して水素のみゲッター内部に取り込み、炭素は結晶化してゲッター表面に付着する。



続いて、タイガー魔法瓶のステンレス真空二重瓶の加工工程を図 6.3 に示す4)。その特徴であるがパイプ切断後は内筒、外筒共にバルジ加工により、成型している点である。さらに内筒、外筒それぞれの部品を結合した二重瓶の各工程の写真を図 6.4、図 6.5、図 6.6 に示す4)


図 6.3 タイガー魔法瓶ステンレス真空二重瓶加工工程 4)

図 6.3 タイガー魔法瓶ステンレス真空二重瓶加工工程4)

図 6.4 内筒加工の工程写真 4)

図 6.4 内筒加工の工程写真4)

図 6.5 外筒加工の工程写真 4)

図 6.5 外筒加工の工程写真4)

図 6.6 内外筒組付けの工程写真 4)

図 6.6 内外筒組付けの工程写真4)


6.2 ステンレス鋼製二重瓶の真空排気

ガラス真空二重瓶は外バルブ底部にチップ管を溶着し、そこから真空排気していた。ステンレス鋼製に関しても同じチップ管で排気するのが一般的であるが、サーモス社は真空チャンバーを用いて、ロウ付けによる一括真空封止を採用した。真空チャンバー方式の利点を下記に示す。

マイナス点としては設備投資費用が膨大となり、少量対応が困難になることである。

真空チャンバーによる概略を図 6.7 に連続式加熱真空炉の外観を図 6.8 に示す2)


図 6.7 真空チャンバーの概略図 2)

図 6.7 真空チャンバーの概略図2)



図 6.8 連続式加熱真空炉の外観 2)

図 6.8 連続式加熱真空炉の外観2)


さらに具体的な真空封止製法は封止穴のついた二重瓶に封止材を載せ、大型チャンバー内に多数の二重瓶をまとめて入れ、真空引きする。内筒、外筒の空間も封止穴を通して真空状態とし、加熱して封止材を溶融させ封止材を固化する。さらにゲッターも同時に加熱して活性化させる。

真空封止製法を図 6.9 に示す5)


図 6.9 真空封止製法 5)

図 6.9 真空封止製法5)


真空チャンバー方式は設備投資が必要で大量生産に適しているが、ガラス中瓶構造のチップ管方式の排気設備も導入されている。サーモス社ステンレス鋼製魔法瓶の発売から 3 年後に象印マホービンから発売されたステンレス鋼製魔法瓶はチップ管方式で生産を開始した。

チップ管式排気方式の銅管を圧接カットする工程は人による作業となるので、排気時には炉を閉じ、カット時に炉を開放するバッチ式方式となっている。従って連続生産は困難となっているが、瓶の本数に応じた設備投資が可能である。チップ管式排気設備の外観を図 6.10 に示す6)


図 6.10 チップ管式排気設備外観 6)

図 6.10 チップ管式排気設備外観6)


具体的な排気方法として排気簡易構造を図 6.11 に、排気後の真空封止を図 6.12 に示す3)


図 6.11 チップ管式の排気模式図 3)

図 6.11 チップ管式の排気模式図3)

図 6.12 排気後のボトル真空封止部図 3)

図 6.12 排気後のボトル真空封止部図3)


図中の排気時の工程は次の(1)〜(4)順となる。RP、MBP、DP は真空排気用ポンプの方式による区分である。それぞれ、RP=ロータリーポンプ、MBP=メカニカルブースタポンプ、DP=ディフュージョンポンプを表す。

(1)粗引き
設定の真空度に到達するまで加熱無しで排気を行う(RP・MBP)
(2)本引き
設定の真空度に達成するまで加熱有りで排気を行う(RP・MBP・DP)
(3)冷却
ボトルが一定温度以下になるまで冷却をする(空冷)
(4)封止
チップ管(銅管)を圧接カットして真空度を保持させる

加熱炉内温度は約 400 ℃で赤矢印は熱風流れ(熱風攪拌加熱)となっている。

チップ管(銅管)圧接カット封止後は突起物として残る。その後、象印マホービンはチップ管が製品高さに影響を与えるので、小容量二重瓶はチップレス排気方式で、卓上用や弁当ジャーなどの大容量二重瓶はチップ管方式を採用している。

6.3 ステンレス鋼製二重瓶の部品薄板加工

使用される材料は SUS304 cでオーステナイト系ステンレスに分類される。加工性、溶接性に富んでおり、ステンレス素材の中でも最も多く使われている。ニッケルとクロムを含んだ鋼合金であり、それらの添加素材の影響によって耐食性に優れていることが特徴で食器や家庭用調理器具など日常的に利用されていることが多い。その他にも高温や低温の環境にも強く、熱伝導率が低くて熱を逃しにくいため魔法瓶に適している。


c  
SUS304 は、JIS G 4305 冷間圧延ステンレス鋼板及び鋼帯に規定されているオーステナイト系ステンレスである。ステンレス鋼の中で最もポピュラーな鋼種である。18 %のクロム(Cr)と 8 %のニッケル(Ni)を含むことから「18-8 ステンレス」と呼ばれることもある。

この SUS304 をパイプ状態から多種の金属加工を施し、部品形状に成型する。ここではステンレスの薄板加工について記述する。

▪プレス加工

パイプを金型に固定し、プレス機で圧力をかけ、金型に沿ってパイプを成形する加工方法で、パイプの外径を大きくする拡管や外径を小さくする縮管も可能となっている。極端な拡管、縮管は材料破れの恐れがあるので工程数を増やして対応するのが一般的である。

▪スピニング加工

旋盤などを用いてパイプを高速回転させ、成形用の金型にローラーを押し当てながら成形する塑性加工方法である。特にステンレス真空二重瓶の内筒は薄肉にするほど熱伝導を軽減し、軽量化にも繋がるので、加工ローラーを使用し、内筒を下方に伸ばしながら板厚を下げることがある。加工前状態を図 6.13 に加工後を図 6.14 示す3)


図 6.13 加工前状態 3)

図 6.13 加工前状態3)

図 6.14 加工完了状態 3)

図 6.14 加工完了状態3)


▪内筒スピニング(ネッキング)加工

内筒口部内に中栓が入り、特にパッキンとのシール部は薄肉と同時に寸法精度が必要なので、形状を加工ローラーで押し当て、パイプを絞りながら形状出しを行う。加工前及び加工後の状態をそれぞれ図 6.15、6.16 に示す3)


図 6.15 ネッキング加工前状態 3)

図 6.15 ネッキング加工前状態3)

図 6.16 ネッキング加工完了状態 3)

図 6.16 ネッキング加工完了状態3)


▪バルジ加工

バルジ加工は、ハイドロフォーミングとも呼ばれ、金型にセットしたパイプに液体を高圧で充填しながらパイプの両端を軸方向に圧縮する事で、金型に彫り込まれた形状に素材を伸ばしながら中空成形を行う加工方法である。少ない工数で複雑な成形もでき、溶接も不要なためコストダウンを図ることができる。

プレス加工と同様に、バルジ加工も変形量が大きいため加工硬化が期待でき、製品の強度を向上させるほか、製品の軽量化にも繋がる。ステンレス鋼製魔法瓶の意匠面と補強の目的で内筒・外筒加工に利用される。タイガー魔法瓶のバルジ設備外観を図 6.17 に、造管(パイプ加工されたステンレス管)とバルジ後の加工品を図 6.18 に示す4)


図 6.17 バルジ設備外観 4)

図 6.17 バルジ設備外観4)

図 6.18 バルジ加工前後品 4)

図 6.18 バルジ加工前後品4)


コラム:ステンレス材の加工硬化


ステンレス鋼製真空二重瓶の外筒加工に拡管工程があり、原管から複数回の工程を経て 20~30 %胴径を拡大させている。結果、薄い表面層は結晶構造が歪んで、外筒の表面は加工硬化を発生させている。その加工硬化を特長としてステンレス鋼製魔法瓶は外部衝撃に強いと表現する場合がある。この加工硬化について説明する。


加工硬化を起こす SUS の種類

金属組織

代表例

加工硬化の有無

オーステナイト系

SUS304(18Cr-8Ni)

フェライト系

SUS430(18Cr)

マルテンサイト系

SUS410(13Cr)


オーステナイト系 SUS304 の加工硬化が発生する理由は結晶構造であり、他のステンレス材とは異なっている。その結晶構造を以下に示す。

オーステナイト系の結晶構造は面心立方格子となっている。常温でこの状態となっているのは特異で、本来であれば高温状態でしか存在せず、オーステナイト系 SUS は、クロム(Cr)とニッケル(Ni)を入れて高温状態から急冷して製造する。この過程が本来ないはずの常温で面心立方格子の結晶構造状態をつくりだし、結晶が動きにくい性質を持っている。拡管などのプレス加工時に表面の面心立方結晶に高熱が与えられることで結晶構造がひずみ、これがマルテンサイト結晶へ変化し、硬化が起こりオーステナイトのもつ非磁性から変化し、磁性を持った状態になる。これを加工誘起マルテンサイトへの相転移と呼んでいる。

出典:https://www.tokkin.co.jp/media/technicalcolumn/2305180 (2024.6.19 閲覧)

6.4 ステンレス真空二重瓶製造過程での溶接

ステンレス真空二重瓶は内筒、外筒を溶接して一体化させるが、その前工程で各部品を溶接しなければならない。ここでは部位に応じて多種の溶接方法を利用しているので、その溶接方法を以下に記す。

(1)  
TIG 溶接
TIG(Tungsten Inert Gas)溶接とはアーク溶接方法の一種で不活性ガスを用いた溶接方法である。
アーク溶接は気体中の放電現象のアーク放電を用いて、同種類の金属同士を溶接する技術であり、TIG 溶接においては電気を放電するタングステンの電極、気体に不活性ガスを用いている。不活性ガスにはアルゴン(Ar)やヘリウム(He)が用いられ、溶接の際に、溶接部周辺に不活性のガスを充満させ、金属が空気中の酸素等の気体と反応してしまうのを防ぐ。こういった役割がある事から、不活性ガスはシールドガスと呼ばれている。
TIG 溶接の電極(タングステン)は、金属中で融点が最も高くなっており、高い熱を発生させ、溶接するにもかかわらず、タングステンは融け難く、消耗し難くなっている。このことより、TIG 溶接は非消耗電極式のアーク溶接に分類される。
入熱が高く溶接部の歪が生じる為、ステンレスボトルの接合では下図に示す、拝み部(図 6.19)、フランジ部(図 6.20)、上乗せ部(図 6.21 など、溶接部が外観に影響しない箇所に使用している。
図 6.19

図 6.19
拝み部 3)

図 6.20

図 6.20
フランジ部 3)

図 6.21

図 6.21
上乗せ部 3)

(2)  
YAG レーザ溶接
高出力のレーザ光を金属に当て、局所的に溶かすことで金属同士を接合させる溶接方法がレーザ溶接である。ステンレス鋼製二重瓶の溶接には YAG レーザ溶接を使用している。YAG はイットリウム(Yttrium)、アルミニウム(Aluminum)の酸化物からなるガーネット(Garnet)構造の人工結晶(Y3Al5O12)である。
高い熱伝導率と熱衝撃係数、大きな誘導放出断面積で熱特性や光学特性に優れているため、結晶製造時にレアアース元素をドープして固体レーザの発振用媒質として、工業用レーザなどで広く用いられる。
レーザを加工点に照射し、材料を深くまで溶かしながら狭く溶接することができる。材料への入熱が低く溶接部の歪が殆ど生じない為、主に外観に出る重ねタイプのステンレス鋼の接合で用いられている。
底部や口部側面の溶接部を図 6.22 に示す3)

図 6.22 底、口部の側面溶接 3)

図 6.22 底、口部の側面溶接3)


(3)  
抵抗溶接
被溶接材の金属を重ね合わせ、溶接する個所を電極で挟み、適当な加圧力を加えて電流を流し、溶接部位の接触抵抗に発生するジュール熱でお互いを溶融接着させる金属接合法である。
板厚と目的に応じて下記の溶接方法がある。
⃝スポット溶接
平板と平板を電極で挟み込み、溶接する方法である。小さな金具を母材に溶接する時に利用する。
ステンレス外筒にハンドル金具を付ける場合に使用しており、簡易図を図 6.23 に示す3)
⃝プロジェクション溶接

どちらかの板厚が厚い場合に、プレス加工で突起部(プロジェクション)を作り、大電流で突起部を溶解させ、部品同士の溶着を行う。

⃝シーム溶接

溶接材を円板電極で挟み、円板電極を回転させながら通電して、電気抵抗による加熱により溶接材を連続的に接合する溶接法で、「ラップシーム溶接」とも言う。

線状に溶接できるため、気密性を得ることができ、溶接速度が速く溶接にガスを使用しないなど、コスト面でのメリットがある。さらに、溶接時に閃光などを出さないため安全面の問題もなく、保護具も不要という利点がある。


図 6.23 スポット溶接簡易図 3)

図 6.23 スポット溶接簡易図3)


6.5 ステンレス真空二重瓶の表面処理

ステンレス鋼製の真空二重瓶は排気完了すると、内面の処理にとりかかる。内面処理は飲料水の汚れ防止と腐食対策に必要で、その表面は平滑でなければならない。一般的な処理方法として化学研磨、電解研磨、フッ素塗装がある。内面処理後に外面処理の工程に移行する。

以下に内面処理について記す。

(1)  
化学研磨
化学研磨とは、化学反応によって金属表面を削る(研磨する)処理である。硝酸、硫酸などの酸性の溶液にステンレス素材を浸漬すると表面の酸化被膜が形成される。高温状態を保つことでさらにその酸化被膜の凸部で溶解が起こり、金属イオンの拡散が始まる。結果、凸部が削られて平滑な表面となる。
ステンレス鋼製魔法瓶の発売当初は化学研磨であったが、内面の光沢度は電解研磨より劣るので、最近は使用用途が限定的である。
(2)  
電解研磨
電解研磨は、陽極(アノード)として対象の金属(ステンレス真空二重瓶)を、そして陰極(カソード)の電極を、硫酸、リン酸などの電解液を入れた電解槽に入れて、直流電流を流すことにより、化学反応を利用し表面の研磨を行う。
電解液を介して電流を流すと陽極で酸化反応が起こり、金属の表面に酸化被膜が形成される。この酸化被膜は金属表面の凹凸で厚みが変わり、被膜の薄い凸部で優先的に溶解が進み、金属の表面凹凸が大きく減少し、光沢が増える。原理図を図 6.24 に示す7)

図 6.24 電解研磨原理図 7)

図 6.24 電解研磨原理図7)


ステンレスの主要な成分としての鉄(Fe)とクロム(Cr)は溶解と共に溶け出し、クロムは直ちに酸素と結合しステンレス表面に新たな酸化皮膜(不動態被膜)を生成する。これが繰り返されることでクロムが濃縮され、よりクロムに富んだ不動態被膜が生成され、耐食性が向上する。実際のサーモス社の真空二重瓶の電解研磨の詳細を図 6.25 に、電解研磨装置全体の概略を図 6.26 に示す7)


図 6.25 真空二重瓶の電解研磨の詳細 7)

図 6.25 真空二重瓶の電解研磨の詳細7)



図 6.26 電解研磨装置全体の概略 7)

図 6.26 電解研磨装置全体の概略7)


(3)  
フッ素塗装
ステンレス鋼製真空二重瓶の内面平滑を目的とした、化学研磨、電解研磨に加え、フッ素の撥水性を利用した塗装による内面処理がある。フッ素塗装は炊飯器鍋やフライパンなどで既に実績があり、口径の小さなステンレス真空二重瓶にも採用されているが、前処理のブラスト(砂の粒子状研磨材)及び、フッ素塗装も緻密な塗装設備が必要となっている。この内面フッ素塗装は象印マホービンにて 1994 年より採用している3)。真空二重瓶ボトル内面を荒らすブラスト工程の略図を図 6.27 に、フッ素塗装工程の略図を図 6.28 に示す3)

図 6.27 ブラスト工程の

図 6.27 ブラスト工程の略図3)

図 6.28 フッ素塗装工程の

図 6.28 フッ素塗装工程の略図3)


続いて、外面処理について記述する。外面は排気工程においてロウ材を溶解させる温度まで上昇させるので、その外面はテンパーカラーと呼ぶ焼き色(酸化物被膜)が付く。テンパーカラーを研磨除去した後は、魔法瓶として商品価値を高める外面装飾処理を施す。その外面処理方法として、研磨、塗装、印刷などあり、これも具体的な方法を以下に記す。

(4)  
バフ研磨
バフ研磨とは、ステンレス(SUS)の表面を研磨する方法で、バフとは、英語の「buff(=磨いて輝かせる)」に由来しており、ステンレスを研磨するために使われる。バフの目の粗さは数字によって表され、数字が大きくなればなるほど細かく研磨できるので、仕上がり時の光沢も上がる。
ステンレス真空二重瓶の外面にはサンドベルト、スコッチ(不織布表面処理材を積層・圧縮加工)バフ、コットン(丸取りした綿布を積み重ね、ミシンで縫製)バフを用いて溶接ビード部、ボトル表面を研磨する。
外筒の溶接ビード部、外筒全体、ネジ部を研磨するに使用されるバフ工程の略図をそれぞれ図 6.29、図 6.30、図 6.31 に示す3)
図 6.29 溶接ビード部のサンドベルトバフ工程 3)

図 6.29 溶接ビード部のサンドベルトバフ工程3)

図 6.30 外筒全体のスコッチバフ工程 3)

図 6.30 外筒全体のスコッチバフ工程3)

図 6.31 ネジ部のコットンバフ工程 3)

図 6.31 ネジ部のコットンバフ工程3)

(5)  
外面塗装
塗装はステンレス真空二重瓶外面を塗料で覆う代表的な表面処理で、その目的はデザイン加飾に加え、素材表面の保護、耐食性の向上である。塗装方法として液体塗装、静電塗装、粉体塗装などがあり、それぞれの方法を以下に記す。
▪液体塗装
揮発性有機溶剤にアクリル、ウレタン、シリコン、エポキシ等の塗料を混ぜて溶かし、外面にスプレー等で塗布後、焼き付けを行う。
▪静電塗装
塗料を空気や電気などで霧化してスプレーなどで吹き付け、電圧をかけて塗着させる方法である。塗料をマイナスに帯電させ、塗装する対象物をアースして表面をプラスに帯電させることで塗料を均一に塗着させる。
▪粉体塗装
静電塗装の一種で、アースにつなげて被塗対象物をプラスへと帯電させ、マイナスに帯電させた粉体塗料をスプレーガンで吹き付けていくことで、静電気のプラスとマイナスの引き合う力で塗料を付着させる。粉体塗料は有機溶剤を使用しないので、大気汚染(VOC 対策)や水質汚濁防止になり、人体への影響が極めて少ないのが特長である。
参考例としてサーモス社の真空二重瓶の塗装工程例を図 6.32 に示す7)
図 6.32 サーモス社の真空二重瓶の塗装工程例 7)

図 6.32 サーモス社の真空二重瓶の塗装工程例7)

ステンレス真空二重瓶の外面バフ又は塗装が完了すると、その表面上に、ロゴやデザインを印刷する場合が多い。一般的な印刷方法としてシルクスクリーン印刷、パッド印刷、ホットスタンプ、転写がある。以下にその詳細を順に記す。

(1)  
シルクスクリーン印刷
メッシュと呼ぶ布(ポリエステルやナイロン)を使い、メッシュにはインクが通過する部分と通過しない部分を作る。これがスクリーン版でメッシュの上にインクを載せ、スキージ(版上のインクを掻き取りながら印刷するためのゴムブレード)でインクを押し出して印刷する方法であり、ステンレス外面上は円筒なので、スクリーン版の下でスキージの動きと真空二重瓶の回転を連動させながら印刷することになる。
印刷工程を図 6.33 に示す3)

図 6.33 シルクスクリーン印刷簡略図 3)

図 6.33 シルクスクリーン印刷簡略図3)


(2)  
パッド印刷
パッド印刷とは、凹版を使用して版上のインキを弾力のあるシリコンパッドに一次転写し、被印刷物に二次転写を行なう印刷方法で、シリコンパッドの弾力性を生かし、二次曲面、三次曲面にも印刷可能となっている。
印刷工程を図 6.34 に示す3)

図 6.34 パッド印刷簡略図 3)

図 6.34 パッド印刷簡略図3)


(3)  
ホットスタンプ
金属などのコーティング層を形成して作られるホットスタンプ箔を利用し、加圧・加熱によって金属調の文字、絵柄などを非転写物に転写する方法で、円筒形のステンレス外面には押えローラーが製品を押し付け回転し製品も追従して回転する。箔押し工程を図 6.35 に示す3)

図 6.35 ホットスタンプ簡略図 3)

図 6.35 ホットスタンプ簡略図3)


(4)  
転写
商品に直接印刷するのではなく、あらかじめデータを転写用フィルムにプリントし、そのフィルムを商品に熱と圧力で貼り付けて印刷する。

コラム:ステンレス真空二重瓶の腐食について


ステンレス真空二重瓶に使用されるステンレス鋼は 18 %のクロムと 8 %のニッケルを含む SUS304(オーステナイト系ステンレス)を採用し、他のステンレス鋼と比較しても良好な耐食性を保有している。この表面には不動態皮膜と呼ばれる厚さが数 nm で、主にクロムに酸素と水酸基が結合した非常に緻密で密着性の高い膜で覆われている。この不動態皮膜により、優れた耐食性を有している。

ステンレス真空二重瓶の部品加工、溶接、排気、内外面の表面処理が完了すれば、中栓やコップ、付属部品などを組み付けてステンレス鋼製魔法瓶として出荷される。但し、製造工程間で発見されるステンレス素地の腐食や顧客の使用条件に起因する腐食が稀に発見される場合ある。

一般的なステンレス鋼の腐食形態を以下に記しながら、それぞれの腐食に対する対応策も記述する。

(1)  
粒界腐食
結晶粒界に沿って腐食が進展する現象で、主に溶接熱の影響や特定の熱履歴(凡そ 550~900 ℃程度の温度に加熱された部分)を受けた部位で発生し易くなる。直接的な原因は、どの場合もクロムが炭素や窒素と結合し、粒界近傍にクロム濃度の低い領域ができてしまうこと。これを鋭敏化と呼んでいる。
各部品の溶接や真空排気時の熱によりステンレスが鋭敏化し、クロム濃度が低い(12 %を下回る)部位ができると、不動態被膜が形成されず腐食し易くなる。粒界腐食の対策は熱履歴によるものが多く、溶接条件、排気条件設定により回避する。粒界腐食の拡大写真を図 1 に示す。

図 1 溶接熱影響部に生じた粒界腐食の顕微鏡写真1)

(2)  
応力腐食割れ
SUS304 等のオーステナイト系ステンレスで、塩素イオン等の腐食要因と引張り応力とが同時に働く環境下で割れが発生し、進展する現象。応力としては、直接外部からの力による応力の他、溶接部近傍に残留している内部応力も原因となる場合がある。(フェライト系ステンレスでは起こらない)拡大写真を図 2 に示す。応力腐食割れは加工による残留応力、腐食環境のレベルにより判断し、対策を講じる。
(3)  
孔食
腐食が局部的に生じ、深さ方向に腐食が進行した場合に生じる腐食孔を孔食という。不動態被膜で覆われたステンレスの場合、1 箇所でもこれが破壊された場合、集中的に腐食を受けて孔食が発生し易い。
これは塩素イオン等のハロゲン系イオンを含む環境で起こる腐食で、塩素イオン等の作用により不動態皮膜が局部的に破壊され、その部分が優先破壊されることにより進行している。孔食への対応としては電解研磨の条件設定により耐食性を維持(塩素イオンへの対応)するのと材質をより耐食性の高いモリブデン含有の SUS316a)に変える場合がある。スポーツ飲料などに接触する部分にはフッ素塗装も効果的である。孔食の拡大写真を図 3 に示す。

図 2 応力腐食割れを示す顕微鏡写真1)

図 3 孔食の顕微鏡写真1)

(4)  
隙間腐食
隙間内の溶存酸素が消費されるとき、隙間内の金属イオンが塩素イオンを引き寄せて濃度が上昇、金属イオンが加水分解して孔内を塩酸酸性にし、被膜が破壊して腐食する。金属と金属の隙間部に生じた隙間腐食(SUS304)写真を図 4 に示す。構造的に隙間部を回避するか、孔食と同じ材質変更とフッ素塗装で対応する。

図 4 隙間腐食の顕微鏡写真1)

(5)  
異種金属間接触腐食
一般に耐食性の異なる金属同士を接触させて使用した場合、耐食性の良い方の金属は防食され、耐食性の劣る金属は腐食が加速されるという現象が起こり易くなる。これは電位が異なる金属が電解質中接触すると、両者の間に局所的な電池が形成されて、電位が低い(卑な)金属の腐食が接触していない状態の場合よりも進行する現象で、流電腐食、電食とも言われている。
普通鋼とステンレスを接触させると、普通鋼の腐食が促進する場合があり、やがて「もらい錆」の原因になったりするので、一般には絶縁処理や塗装などの防食処理が必要である。

参考文献

1) ステンレスの耐食性と腐食について ステンレス協会 https://www.jssa.gr.jp/contents/faq-article/q8/(2024.6.23 閲覧)


a  
SUS304 にモリブデン(Mo)を添加し耐食性を向上させた、オーステナイト系のステンレス鋼。クロム(18 %以上)とニッケル(12 %以上)、モリブデン(2.5 %以上)を含有している。SUS316 に加えられたモリブデンは、クロムと同様に不働態皮膜を形成する作用があり、その能力はクロムの約 3 倍と言われている。


6.6 ステンレス真空二重瓶溶接部 及び排気後の性能保証

ステンレス真空二重瓶は内筒や外筒加工時の溶接、及び二重瓶加工時の溶接、最終的には排気、ロウ付け完了した真空二重瓶の気密性を保証しなければならない。そのためにそれぞれの工程で気密性が保持されているか確認する必要がある。一般的には溶接完了時の気密検査と真空排気時の温度検査があり、それぞれについて詳細な検査方法を記述する。

(1)  
二重瓶加工時(溶接部)の気密検査
溶接部の不良(穴あき)確認の為、ステンレス二重瓶として溶接工程終了後にリーク検査を行う。微小な漏れを発見するため以下 2 種の検査方法を採用している。
▪真空放置法

二重空間内の圧力を監視し、漏れの確認を行う方法で、二重瓶空間を所定時間排気して仮の低真空状態にし、バルブを閉じてからの真空度の上昇を調べ良否判定する。

▪ヘリウムリーク検査

二重容器内にヘリウムガスを充填し、そこから漏れ出たガスをヘリウムリークディテクター(ヘリウムのみを感知して、その質量を計測する装置)を使って、ヘリウムガスの漏れの有無を確認する。

(2)  
真空二重瓶の温度検査
真空排気をした真空二重瓶は、その性能を保証する為に、各社それぞれのノウハウを駆使しながら全数検査で断熱性能を保証している。温度検査として真空二重瓶の内、外の一方から熱を加え、その反対側の温度を測り、その温度差で判定する方法であり、断熱が確保できていれば測定する側の温度変化は殆どない。その詳細を以下に記す。
▪外筒加熱内筒測温

真空二重瓶の外側から熱源を一定時間加え、内側の温度を測定する方法で、ガラス真空二重瓶と同じ温度検査方法である。但し、温度センサーが内筒に接触し、内筒壁スタート温度と、加熱している間の温度上昇を測定することで、良否判定の測温時間が短縮できる。外筒加熱内筒測温の模式図を図 6.36 に示す3)


図 6.36 外筒加熱内筒測温の工程の模式図 3) 図 6.36 外筒加熱内筒測温の工程の模式図 3)

図 6.36 外筒加熱内筒測温の工程の模式図3)


▪内筒加熱内筒測温

ヒーターもしくは蒸気で加熱、温度を測定して、その後ある一定の条件を経た後に再度温度検査を測定することによって、真空品と非真空品の温度差(性能差)を比べ温度測定する。この方法は内部から外部への熱放出を防ぐ断熱容器としての原理から発想され、内部空間だけの加熱なので加熱手段を内部に配置するのでスペース効率が良い。真空二重瓶の設置、取り外しの作業性が良く、また 加熱手段が真空二重瓶内に収まり外部露出しないため、作業者が火傷する等のリスクを回避できる。

内筒加熱内筒測温の工程の概略を図 6.37 に示す7)


図 6.37 内筒加熱内筒測温の工程の概略 7)

図 6.37 内筒加熱内筒測温の工程の概略7)


▪内筒加熱外筒測温

従来は外側から加温しても真空容器内部には温度が伝わりにくいことで製品の良品・不良品判定を行っている。新規温度検査として内筒から加温して温度検知部を外筒左右 2 点接触測定する。この方式は加温部分が内筒の密閉空間だけなので省エネであり、接触型温度検知のため精度がよい。但し、容器ごとに加温部分が必要で設備負荷が大きい。内筒加熱外筒測温の模式図を図 6.38 に示す4)


図 6.38 内筒加熱外筒測温の模式図 4)

図 6.38 内筒加熱外筒測温の模式図4)


6.7 ステンレス鋼製魔法瓶の JIS 規格について

真空二重瓶の材質にステンレスを採用したステンレス鋼製の魔法瓶が 1978 年にサーモス社から誕生し、 1981 年に象印マホービン、タイガー魔法瓶がさらに差別化を図ったステンレス鋼製魔法瓶を発売し、その後、魔法瓶関連会社も続々とステンレス鋼製魔法瓶市場への参入が行われた。

それを受けて 1983 年に、全国魔法瓶工業組合の中から個別で、「ステンレス製まほうびん協議会」が発足し、ステンレス鋼製魔法瓶についての品質や表示、安全性に関する協議が行われることとなった。

ガラス製魔法瓶と同様、ステンレス鋼製魔法瓶においても、使用者が安心して製品を購入できるように、製品の合理的な標準を定めた。これを世間一般に普及して製品の品質を改善し、生産を合理化し、使いやすくするための標準化作業が必要となり、その後 4 年間の標準化作業を経て、 1987 年に「JIS S 2053:1987 ステンレス鋼製まほうびん」が制定され、初めてステンレス鋼製魔法瓶の基準が作成された。

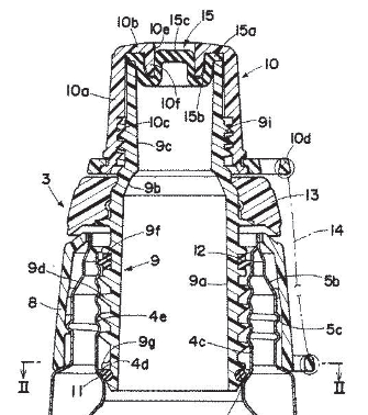
JIS S 2053:1987 ステンレス鋼製まほうびんはガラス製魔法瓶の JIS S 2006 を元に作成されたが、ステンレス鋼製まほうびんは携帯用を中心に商品開発が行われていたため、ガラス製携帯用魔法瓶と同様に商品の持ち運びを想定し、上下に大きく振って漏れの有無を確認する湯漏れ試験が採用された。また、ステンレスを使用したことにより強度に関するユーザーからの品質要求が高まることを考え、耐衝撃性試験については、ガラス製携帯用魔法瓶と同じ振り子衝撃試験の試験角度を 30°から 45°に上げた試験とともに、ガラス卓上用魔法瓶の垂直落下試験の試験高さを 10 cm から 40 cm に上げたこの 2 種類の試験を採用したことが特徴であった。

その後、 2010 年には合理化のため、ステンレス製まほうびん協議会が全国魔法瓶工業組合へ統合され、ガラス製魔法瓶及びステンレス鋼製魔法瓶は両方とも全国魔法瓶工業組合の委員会で協議が行われることとなった。委員会の中では、ガラス製魔法瓶とステンレス鋼製魔法瓶の JIS が別々で運用されてきたことに関する協議が行われ、材料の違いはあるが同じ真空二重容器を使用した商品であることと、将来的には別の素材でまほうびんが商品化される可能性もあることから、ガラス製魔法瓶とステンレス鋼製魔法瓶の JIS を、「まほうびん」という一つの JIS に統合することとなった。その後、標準化統合作業を経て、 2016 年に「JIS S 2053 ステンレス鋼製まほうびん」は廃止され、新しい「JIS S 2006:2016 まほうびん」として制定され、現在は「JIS S 2006:2024 まほうびん」として運用されている。

「JIS S 2006:2024 まほうびん」では、中瓶にガラス製の真空二重瓶を使用したものであって卓上用のもの、容器にステンレス鋼製の真空二重容器を使用したものであって携帯用、卓上用、弁当用のものと分類されている。それぞれのまほうびんの区分についてガラス製は表 6.1、ステンレス鋼製は表 6.2 のとおりとしている8)


表 6.1 ガラス製まほうびんの種類8)

区分

主な用途・構造

一般式

主として屋内で使用されるもので、通常、外装に中栓及びハンドル(取っ手)を付け、本体を傾けて注水するもの。

空気圧利用式

主として屋内で使用されるもので、通常、外装に蓋(上蓋)及びつり手(手さげ)を付け、空気圧を利用した注水機構をもつもので、プッシュ又はレバー操作によってベローズ内の圧縮空気が水面を押して注水するもの。


表 6.2 ステンレス鋼製まほうびんの種類8)

区分

主な用途・構造

携帯用

まほうびん

一般式

屋外・屋内で使用されるもので、通常、外装にコップをもつもの。

携帯用の下げひもなどを付けたものもある。

直飲式

(保冷専用を含む)

屋外・屋内で使用されるもので、コップをもたないもの。

開栓して主に飲み口から飲料物を直接飲むもの。

卓上用

まほうびん

一般式

主として屋内で使用されるもので、通常、外装に中栓及びハンドル(取っ手)又はつり手(手さげ)を付けたもの。

開栓して本体を傾けて注水するもの(自動栓式のものを含む。)。

空気圧利用式

主として屋内で使用されるもので、通常、外装に蓋(上蓋)及びつり手(手さげ)を付け、空気圧を利用した注水機構をもつもので、プッシュ又はレバー操作によってベローズ内の圧縮空気が水面を押して注水するもの。

弁当用

まほうびん

一般式

屋外・屋内で使用されるもので、スープ容器、ごはん容器などの内容器類を附属し、それらを容器内に収納するもの。通常、外装に蓋(上蓋)をもち、携帯用の下げひもなどを付けたものもある。

直入式

屋外・屋内で使用されるもので、容器内に直接スープなどの飲食物を入れるもの。通常、外装に中栓をもつもの。



第 6 章 参考文献

1) https://www.thermos.jp/company/history/corporate_chronology.html (2024.6.5 閲覧)
2) 宮地賢一,「ステンレス魔法瓶の開発」,真空,第 32 館,第 12 号,pp.31-36, 1989.
3) 象印マホービン株式会社 写真、工程図、簡易図提供
4) タイガー魔法瓶株式会社 写真、工程図提供
5) 伊石翼,「レーザ溶接による真空封止製法」,太陽日酸技報,No.40, 2021.
6) 象印マホービン株式会社編「象印マホービン 70 年史:1918~1988」象印マホービン株式会社
7) サーモス株式会社 写真、原理図、工程図提供
8) JIS S 2006:2024 まほうびん

Contents に戻る



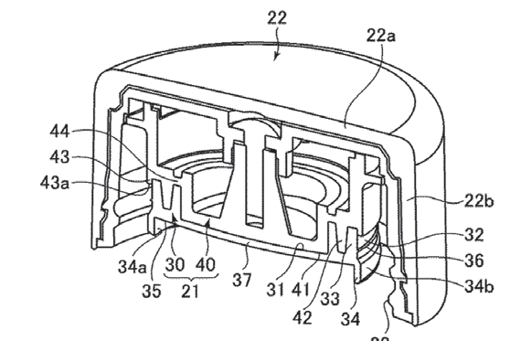
 7 ステンレス鋼製魔法瓶の用途開発

1978 年のサーモス社による携帯用ステンレス鋼製魔法瓶の発売1)後、従来のガラス製魔法瓶企業、象印マホービン、タイガー魔法瓶、ピーコック魔法瓶工業、オルゴ社…等、携帯用はステンレス製へと各社独自の製法で開発を加速させた。前章ではステンレス真空二重瓶を製造するための塑性加工、溶接、排気方法、表面処理、真空瓶としての信頼性を記述した。その真空二重瓶の製法を駆使してステンレス鋼製魔法瓶として用途開発を行い、付加価値を高め、差別化を図ることになる。

その結果、業界として発売 5 年後にはガラス製魔法瓶出荷数量を逆転し、 10 年後には国内年間 800 万本の出荷数となり、ステンレス鋼製魔法瓶の出荷数はガラス製魔法瓶の出荷数最大時のほぼ倍近い数量に達した。魔法瓶製造販売企業として携帯用でも容量別や顧客の年代層に応じた商品開発を展開するのは自明であり、さらにマーケットを拡大させることになった。

7.1 初代のステンレス鋼製魔法瓶

各社先行して発売したのが、レジャー用として家族で楽しめる 1 L 前後の中容量ステンレス鋼製魔法瓶であり、その後さらなる容量拡大や、学童向けに 0.5 L 以下の小容量タイプの新モデルも追加され、携帯用としての商品構成を完成させた。

先駆者であるサーモス社のステンレス鋼製魔法瓶(図 7.1)はデザインもステンレスを全面に打ち出したので、ボトルの常識を覆すインパクトがあった。しかも大容量はハンドルタイプ、中容量は下げ紐付きの 2 種類で、バイクでのツーリングやアウトドア需要から徐々に浸透していった。保温効力は 1 L サイズで 6 時間後 78 ℃以上と高性能で、口径 43 mm と家庭用冷蔵庫の氷が入れやすいサイズとなっている。中栓は 2 重構造で内栓を 90°回せば注ぐことができ、断熱と使用性の二面を考慮した設計で、内コップまで備えている。各部品外観を図 7.2 に示す2)


図 7.1 サーモス社の第一号

図 7.1 サーモス社の第一号ステンレス鋼製魔法瓶 AF 型2)

図 7.2 中栓、

図 7.2 中栓、コップの部品2)


サーモス社による発売 3 年後の 1981 年に象印マホービンからステンレス鋼製魔法瓶タフボーイ(図 7.3)が発売された3)。容量は 0.75 L、0.9 L の 2 サイズ、外筒は 3 ピース構造で肩部、胴、底のフランジ部を隠す上下の樹脂リングを設けている。リング間には収納可能なウィング式ハンドルで下げ紐共用タイプと差別化を狙った構造となっている。


図 7.3 象印マホービンの

図 7.3 象印マホービンの


ネジ式中栓は二重構造で内栓を少ない回転で注ぐことができる事も特長としている。排気方法は独自のチップ管方式を採用し、ロウ材を使用しないので排気温度も低くできるため、銀メッキからのスタートとしている。タフボーイの断面構造を図 7.4 に示す4)。但し、設備の関係で 6 年後には銀メッキから銅箔へと変更し、さらなるコンパクト化を図るために 1999 年には排気方式も大容量以外はチップレスのロウ材封止真空炉へと切り替えていった。


図 7.4 タフボーイの断面構造 実公昭 60-26 より転載 4)

図 7.4 タフボーイの断面構造 実公昭 60-26 より転載4)


タイガー魔法瓶からも同年 1981 年にステンレス鋼製魔法瓶ダブルステンボトル(図 7.5)が発売されている5)。サーモス、象印はステンレスの堅牢さをデザインした男性向きの商品であるが、タイガー魔法瓶は外観ステンレス素地を少なくし、角を丸めファミリー層を狙ったデザインとなっている。胴部ステンレス地も外面処理に変化をつけ、他社と差別化している。この機種はステンレス真空二重瓶をサーモス社から供給を受け、製品化したものであるが、その 3 年後の 1984 年にはチップ管排気方式の真空二重瓶を自社開発し、商品展開を拡大していった。さらに同年の秋には生産効率を高めるため連続式自動真空排気装置(真空ロウ付け方式)を完成させ、 1986 年には 600 万本/年の生産能力を可能にした6)


図 7.5 タイガー魔法瓶の

図 7.5 タイガー魔法瓶の第一号ステンレス鋼製魔法瓶 BWA 型5)


携帯用魔法瓶と言えば下げ紐とコップが必ず付属されていたが、 1985 年以降は内容量を少なくして下げ紐なしのコップ付きスリム型の魔法瓶が新しい需要層(パーソナル仕様)へ追加開発し、需要を拡大した。

7.2 スリム型ステンレス鋼製魔法瓶

インドアで使用できる小容量の新コンセプト魔法瓶(図 7.6)が 1985 年象印マホービンから発売された。容量も 0.3 L、0.5 L とコンパクトサイズなのでパーソナル仕様とターゲットを明確にし、商品開発されている。しかもカバンに収納できる為、下げ紐は敢えて必要とせず、手軽に持ち運びできる。


図 7.6 スリム型ステンレス鋼製魔法瓶

図 7.6 スリム型ステンレス鋼製魔法瓶
(象印マホービン STF 型)3)


デザイン的にはステンレスのパイプそのものであり、非常にシンプルである、この発想は当時の社長であった市川重幸が海外出張時に現地で折り畳み傘を購入し、そのイメージをヒントに提案され、デザインし商品化へと繋がったとされている。

この製品はシンプルなデザインが評価され、その年のグッドデザイン賞を獲得した。 40 年経過した現在でもスリム型コップ付きステンレス鋼製魔法瓶はより軽く、よりコンパクト化した新構造へと進化し、継続生産されている。翌年にはタイガー魔法瓶、サーモス社も追随、市場を大きくし、認知度を上げることで新しい需要を喚起した。

タイガー魔法瓶のスリム型ステンレス鋼製魔法瓶の外観及び断面構造図を図 7.7 に示す5)。タイガー魔法瓶は自社開発したチップ管封止に加え、この機種はロウ材を封止する真空炉排気による二重瓶となっている。中栓とコップは外筒上部に加工したネジ部と嵌合したシンプルな部品構成で、これは 3 社とも同じ構造である。但し、タイガー魔法瓶は 5 年後の 1991 年、モデルチェンジの時点でネジ栓から流水経路の分解洗浄が可能なプッシュ式中栓を考案、付加価値を高めている。中栓の断面を図 7.8 に示す7)


図 7.7 スリム型ステンレス鋼製魔法瓶の

図 7.7 スリム型ステンレス鋼製魔法瓶の外観及び断面構造(タイガー魔法瓶 BWP 型)5)



図 7.8 洗浄可能なプッシュ式中栓の断面構造<br>(象印マホービン STF 型) 3)

図 7.8 洗浄可能なプッシュ式中栓の断面構造
実公平 7-36620 より転載 7)


このプッシュ栓はガラス製魔法瓶の中栓に多く採用されていたが、流水経路を上下する弁で遮断する構造であり、その流水経路は構造上洗浄しにくいものの、卓上用では熱湯を利用するので流し洗いで良かった。この中栓は 2 重構造で内栓内にプッシュ機構を内蔵させ、内栓と外栓の隙間が流水経路になり、それぞれがネジ嵌合となっている。内栓を外せば流水経路がブラシ等で洗浄できる。携帯用では多種の飲料用として利用されるので、分解できる構造は画期的と考えられる。

7.3 チタン製魔法瓶

コップ付きスリム型ステンレス鋼製魔法瓶はカバンに入るサイズで各社出揃い人気を博した。ステンレスより軽くて、強い特長から新しい素材のチタンを採用した魔法瓶がサーモス社から 1988 年に発売された。

チタンの特長は比重 4.51 と SUS304 の約 60 %と軽量で、鋼に匹敵する強度と、耐食性も高く、魔法瓶に使う材料としては最適であるが、固い素材で加工が難しく、材料も高価なために採用を躊躇しがちになる。当時、チタン素材は宇宙、深海といった先端技術においては用途開発が進んでいたが、一般消費材ではメガネなどのフレームに採用されているのが一般的であった。

サーモス社は新日本製鉄との共同開発を発売の 1 年前から進めており8)、相互の技術協力により実現したもので、溶接、塑性加工も困難を極めたが生産可能となり、発売に至った。外観を図 7.9 に示す2)


図 7.9 チタン製魔法瓶(サーモス社 HSW 型) 2)

図 7.9 チタン製魔法瓶(サーモス社 HSW 型)2)


材料単価と加工の難易度から実売は通常ステンレスの倍近い単価になっているが、装備品を 1 グラムでも軽量化したい登山家・冒険家にとって、軽くて強いチタンの魔法瓶は、理想的な製品だったようである。(同サイズのステンレスボトルは 360 g、チタンボトルは 240 g と 120 g 軽量)

7.3.1 チタン製魔法瓶の歩み

チタン製魔法瓶は加工の難易度と高額材料を採用することによる売価転嫁との関係で他社の追随はなく、限定的ではあるが、その商品を必要とする層に対してサーモス社は新製品を投入しており、その新製品に対しても板厚を薄くし、排気時の改良など製造技術の不断の進化が伺える。チタン製魔法瓶の歩みを図 7.10 に製法の進化を表 7.1 に示す2)


図 7.10 チタン製魔法瓶の歩み 2)

図 7.10 チタン製魔法瓶の歩み2)


表 7.1 チタン製魔法瓶の製法の進化(サーモス社)2)

図 7.10 チタン製魔法瓶の歩み 2)

* 1) ロウ材を使用しないレーザ真空封止(太陽日酸技報)

* 2) 外筒強度を維持するため真空温度を下げた


ロウ材使用の真空封止加工は 1988 年の発売当時から第二、第三世代まで真空処理の温度を下げた時に低温ロウ材に変更し、第四世代 2021 年はレーザ溶接方式でロウ材も廃止できる製法を確立した。

ロウ材部及び封止部周辺の構成を図 7.11 に示す2)


図 7.11 ロウ材部及び封止部周辺の構成 2)

図 7.11 ロウ材部及び封止部周辺の構成2)


7.3.2 レーザ溶接による真空封止製法

ロウ材は外筒の使用材料に合わせて、溶融温度・熱膨張係数・ぬれ性等の特性が最適な封止材を使用する必要があるが、このロウ材をなくすことでコストダウン、工数削減が可能となっている。レーザ溶接による真空封止工程であるが、封止穴の開いた二重容器を作製し、封止穴は後工程のレーザ溶接で塞ぐことが出来る形状としている。(図 7.11)のレーザ真空封止部底面のスリット部)

具体的なレーザ溶接による真空封止であるが、図 7.12 の工程フローに示すように、小型真空チャンバー内に製品を 1 個ずつ入れて個別に真空引きすると、内筒と外筒の間の空間も封止穴を通して真空状態となる。レーザ光を封止穴に照射し、レーザ溶接することで封止穴を塞ぎ、内筒と外筒の間の空間を真空状態のまま維持させる。真空チャンバーから製品を取り出し、別工程でゲッターのみを局所加熱することで、ゲッターを活性化さる。これで真空封止工程が完了する。一般の SUS304 製二重瓶とは違って個別排気方式であるが、材料ごとの最適な排気条件、製造工数を研究し続ける企業姿勢に脱帽せざるを得ない。


図 7.12 レーザ溶接による真空封止の工程フロー 9)

図 7.12 レーザ溶接による真空封止の工程フロー9)


7.4 大容量ステンレス鋼製魔法瓶の 用途開発

携帯用ステンレス鋼製魔法瓶は 1.2 L 以上の大容量、1.0 L 前後の中容量、0.5 L 以下の小容量とサイズに応じた商品開発が進められ、開発サイクルに応じて新規機能が付加されていく。さらにインドアパーソナルなスリム型も追加され、ラインナップが確立された。そこで多人数のレジャー志向用としてユニークな新製品が誕生していった。

7.4.1 ステンレスエアーポット

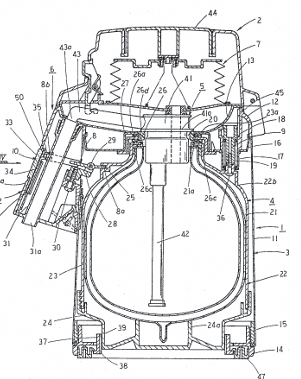
1980 年代、ガラス製エアーポットは需要のピークを迎えており、屋外で使用するには衝撃時の中瓶破損と携帯時の横倒しによる湯漏れがあり、エアーポットは卓上用として使用するのが基本であった。割れない魔法瓶が誕生し、屋外使用の用途開発が進む中で 1986 年象印マホービンから 2.2 L エアーポット(ステンレス鋼製魔法瓶)が発売された。真空ステンレス容器なので堅牢であり、且つ転倒時も、漏れない構造を特長とした、業界初のステンレスエアーポット(図 7.13)である3)。ハンドル左右には下げ紐が着脱できる機構があり、二通りの携帯仕様となっている。


図 7.13 ステンレスエアーポットの外観

図 7.13 ステンレスエアーポットの外観
(象印マホービン SKA 型)3)


吐出方式、蓋のロック構造は従来のエアーポットと同じであるが、蓋の取り付けは確実に中栓を固定できるように肩部とネジ形式で嵌合している。二重容器はステンレスのサークル材から深絞りで加工した外筒、内筒とプレスした底部をそれぞれ溶接した二重構造で、外筒のパイプ溶接の跡処理も不要になっている。外底には銅製のチップ管をロウ付けし、排気後圧接カットして真空容器を作り上げる。

このエアーポットの特長は携帯用として横倒しにしても漏れないように中栓がロータリー式の密栓構造を堅持していることである。吐出口が閉じられた中栓断面構造を図 7.14 に、ロータリー式の中栓外観と給水経路内部構造を図 7.15 に示す10)。つまみ部に回転レバーを設け、つまみ閉時には揚水パイプと給水パイプがパッキンによりシールされている。つまみ部を約 90 度回せば、それぞれが直結し、流水経路が確保される構造である。


図 7.14 中栓の断面構造

図 7.14 中栓の断面構造
実公平 2-43313 より転載 10)

図 7.15 中栓の外観と給水

図 7.15 中栓の外観と給水経路内部構造
実公平 2-43313 より転載 10)


エアーポットの基本構造は常に蒸気を逃がす経路が必要であり、密閉した場合、蒸気圧により内容湯の液面を押し下げ自然吐出する危険がある。このステンレスエアーポットの中栓は常に流水経路はシールされ密栓状態になっているが、ロータリー中栓のつまみ部の初期回転で内圧を逃がしてから吐出できるようにパッキンの形状と流水経路のシール面に回転時差を与える工夫をしている。さらに内圧上昇時にも中栓を固定させるために、ポンプ部ベローズ下板(ポりエチレン樹脂)への補強としてステンレス鋼板を使用している。

7.4.2 ツインステンレスボトル

1987 年 1.5 L の大容量タイプではあるが、2 種類の飲料水(0.75 L×2)が楽しめるステンレスボトル(サハラツイン)がタイガー魔法瓶から発売された。一つのボトル(外筒)に 2 つの飲み物が入る、ツインタイプのステンレス鋼製魔法瓶である。その外観及び内部イメージを図 7.16 に断面構造を図 7.17 に示す5)


図 7.16 サハラツインの外観及び内部イメージ
図 7.16 サハラツインの外観及び内部イメージ

図 7.16 サハラツインの外観及び内部イメージ
(タイガー魔法瓶 BWT 型)5)

図 7.17 サハラツインの断面構造 5)

図 7.17 サハラツインの断面構造5)


断面構造から二重容器には底形状の異なる 2 種類の内容器をそれぞれ内蔵させ、それらが外肩部材と溶接された後に円筒形外筒と溶接、一体化する構造となっている。ゲッター及びロウ材は外筒肩平面部に取り付け、真空炉で排気している。ネジ式中栓、コップは製品仕様から同形状の二個使いとなっている。

2 種類の飲み物が入るのは勿論、独立した断熱容器なので熱いもの、冷たいものが同一容器に収納できる魔法瓶ならではの利点を生かしているユニークな商品である。 4 年後には中栓をワンプッシュで注げるタイプに変更し、口径の異なる 2 種類の内容器を内蔵させ、広口側は氷を入れやすくしたアイス、ホット飲料も使用可能としたモデルチェンジを行った。熱いものは口径 36 mm のままで、冷たいものは口径を 69 mm に拡大し、容量もそれぞれ 0.75 L、0.85 L と、その拘りに開発者の意図を感じる商品であった。

サハラツイン 2 号機の断面構造を図 7.18 に示す5)


図 7.18 サハラツイン 2 号機の断面構造 5)

図 7.18 サハラツイン 2 号機の断面構造5)


7.5 真空二重構造の保温調理器

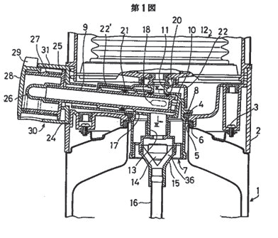
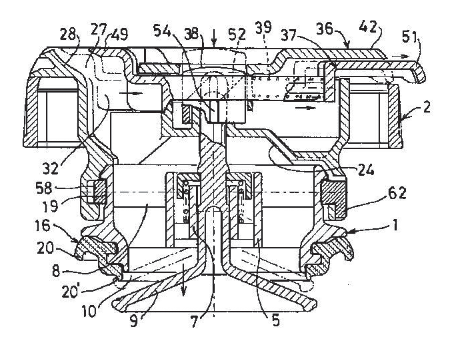
金属製の真空二重容器の製造技術を民生用品として応用し、携帯用ステンレス鋼製魔法瓶を発売したサーモス社は、その後、真空断熱技術を家庭用品の鍋への利用を研究開発し、 1989 年の真空保温調理器「シャトルシェフ」誕生へと繋げていった。

真空保温調理器開発のきっかけは顧客からの「魔法瓶で豆を煮る」という情報であり、最初は鍋と真空二重容器を一体化した試作品で検証した。魔法瓶の断熱性能は口元を小さくすることであるが、調理と洗浄の面で使い勝手が悪くなって商品化に漕ぎ着けず、調理した鍋を本容器に入れるという分離型のアイデアが生まれ、試作検証の結果、大口径でも保温蓋をしておけば調理できることが判明した。但し、実際の調理効果は誰もがおいしいと認める事であり、クッキングスクールにレシピ依頼し、モニター者を増やし評価を重ね、発売に至ったとの事である2)。発想から発売まで 8 年も要したが、この保温調理器は健康、省エネルギー、時短調理など時代背景も後押しされ、その後もさらなる付加価値を付け後継機種を増やし現在に至っている。初代真空保温調理器の外観を図 7.19 に食材を投入した使用実例を図 7.20 に示す2)


図 7.19 真空保温調理器(サーモス社 KPA 型)の外観 2)

図 7.19 真空保温調理器(サーモス社 KPA 型)の外観2)

図 7.20 断熱調理の使用実例 2)

図 7.20 断熱調理の使用実例2)


真空保温調理器の構造であるが、断熱容器(真空二重構造)の中に内鍋が出し入れ自在に収納されており、内鍋の蓋上部に断熱材入りの容器蓋を備えている。特長は容器蓋の端部に鍋の把手部を容器蓋から外に出すための切欠部を設け、調理なべを把手だけを外に出して容器にすっぽりはめ込んで密封保温する構造(図 7.21 となっている11)


図 7.21 真空保温調理器の概略断面図

図 7.21 真空保温調理器の概略断面図
特許 第 2502254 号より転載 11)


把手は保温容器外にあるので、保温中においても加熱されることがなく、この保温調理器で保温調理した後においても、把手を持って容易に調理鍋を持ち運びすることができる特許を取得した保温調理器である。また、調理なべは機密性と保温性が効果的に保たれるようになっている。保温性に関しては真空二重容器と蓋断熱材の効果で 8 時間後でも 70 ℃以上の高い性能(図 7.22)を示している2)


図 7.22 真空保温調理器保温性能 2)

図 7.22 真空保温調理器保温性能2)


元来、煮込み料理などは低温式の電気調理器(スロークッカー)が既に流通しているが、保温調理と言う新しい調理方法が確立され、その後、他魔法瓶企業も参入し、新しい市場を形成した。発売後 34 年経過した現在でも、基本性能に加え、タイマー、温度計など付加価値を付けモデルチェンジを繰り返し継続生産している。さらにこの構造を利用した「おかゆ」や「豆腐」などを作る製品も誕生している。

サーモス社が発売した 4 年後、 1993 年にタイガー魔法瓶から発売された保温調理鍋はサーモス社同様に鍋を保温する真空二重容器との組合せであった。外観を図 7.23 に断面構造を図 7.24 に示す5)


図 7.23 保温調理鍋の外観

図 7.23 保温調理鍋の外観
(タイガー魔法瓶 NFA 型)5)

図 7.24 保温調理鍋の<br>(タイガー魔法瓶 NFA 型) 5)

図 7.24 保温調理鍋の断面構造5)


2018 年発売の保温調理鍋は「魔法鍋」とネーミングを変更した。その理由として広口鍋が真空二重構造なので加熱調理後、熱は逃げず、鍋のままで保温調理が可能としている。魔法鍋の外観を図 7.25 に断面構造を図 7.26 に示す5)


図 7.25 魔法鍋の外観

図 7.25 魔法鍋の外観
(タイガー魔法瓶 NFJ 型)5)

図 7.26 魔法鍋の<br>(タイガー魔法瓶 NFJ 型) 5)

図 7.26 魔法鍋の断面構造5)


新、旧保温調理鍋の断面から明らかなように魔法鍋は鍋自身が二重構造になっており、容器本体や容器蓋も必要としないシンプルな部品構成となっている。構造であるが、加熱部の鍋底は一重で、直火、IH 加熱でも使用可能にするために底内面は SUS304、底外面は SUS430(磁性がある)でその間にアルミがインサートされた 3 層構造となっている。

鍋底部以外の外周は真空二重構造で上端に把手を設け、断熱材入りの蓋を備え、鍋本体が保温容器となっている。調理後の鍋底は高温なので底部には鍋敷きとして専用のチーク材を使用しており、鍋敷き自身も断熱性があり、鍋底の熱をテーブルに伝えない。

タイガー魔法瓶の VE 電気ポットは容器自身の側面部を真空二重構造にして容器底のみステンレス板にヒーターを取り付けている。この電気ポット容器の構造は 1998 年から実施しており、その基本構造、断熱技術が魔法鍋へと継承されている。

7.6 ステンレス真空二重容器を 使用した魔法瓶

ステンレス鋼製魔法瓶の JIS 規格の分類としては、携帯用以外に卓上用、弁当用ジャーがあり、大きな市場では無いが安定して需要が有るので各社生産販売している。その一般的な魔法瓶の仕様、構造を記述する。

7.6.1 卓上用魔法瓶(一般式)

屋内で使用されるもので、通常外装に中栓、ハンドルを付け、本体を傾けて注水するハンドポットタイプのステンレス鋼製魔法瓶である。外観、断面構造を図 7.27、図 7.28 に示す3)


図 7.27 ステンレスハンド

図 7.27 ステンレスハンドポットの外観
象印マホービン SH-HC 型)3)

図 7.28 ステンレスハンド

図 7.28 ステンレスハンドポットの断面構造3)


中栓、肩、胴(真空二重容器)の 3 ユニット構成となっている。肩と胴はプレスにて強制嵌合し、外れ防止でハンドル下部のビスにて固定する。掲載商品はガラス製魔法瓶の中栓からさらに進化した構造で、中栓と肩はネジ形式ではなく、ワンタッチで中栓が肩に着脱できるように配慮されている。中栓上部のつまみ部左右二か所に連動したツメ部が肩の凹部に収まる構造で、中栓上面を押さえると肩に嵌合する。脱着する場合は左右のつまみ部をスライドし、引っ張り上げる構造となっている。中栓上部つまみ部の操作前後の断面構造を図 7.29 に示す12)


図 7.29 つまみ操作前(左)操作後(右)の断面構造

図 7.29 つまみ操作前(左)操作後(右)の断面構造
特許 第 5847689 号より転載 12)


中栓と真空二重容器は容器口部の下端でパッキンによりシールされているが、ガラス製魔法瓶と同様に吐出時のお湯の吹き出しを防止するため、熱湯注入による内圧上昇時には中栓後部の溝から内圧が逃げる構造となっており、転倒時には JIS 基準未満の湯漏れ量となるよう溝が設計されている。また溝から圧力開放されるまでには数秒間掛かるため、さらなる安全機構として内圧上昇時には中栓後部レバーを押せば中栓最下部の弁軸のみが下がって蒸気が先行して解放される安全機構が装備されている。また、上記の溝が詰まり弁軸も動かなくなった場合、内圧上昇時に中栓上部左右のつまみを作動させると、その圧力で中栓が飛び出す危険性がある。この中栓はそのような事態も考慮して、中栓上部のつまみをスライドさせると、つまみツメ部と肩凹部が嵌合している状態のまま中栓下端の弁体が下降し、蒸気を逃がす機構も搭載されている。また中栓は分解して洗える構造となっており、手入れ性の向上も図っている。

内容湯を注ぐ時にはハンドル上部近傍の中栓上部後面のレバーを押さえると中栓内部の弁体が下がり、注ぐことが出来る。口径もコーヒーフィルターが載せられるように拡大させているので、傾けた時の残量が殆どなく、手入れ性も良好にしている。

7.6.2 卓上用魔法瓶(空気圧利用式)

外装に蓋(上蓋)及び吊り手を付け、空気圧を利用した注水機構をもつもので、ベローズ内の圧縮空気が水面を押して注水するエアーポットタイプの卓上用魔法瓶である。外観、断面構造を図 7.30、図 7.31 に示す3)


図 7.30 ステンレスエアーポットの外観(象印マホービン SR-CC 型) 3)

図 7.30 ステンレスエアーポットの外観
(象印マホービン SR-CC 型)3)

図 7.31 ステンレスエアーポットの断面構造 3)

図 7.31 ステンレスエアーポットの断面構造3)


蓋(ポンプ部)、肩(給水経路)、胴(真空二重容器)の 3 ユニット構成で、ポンプ及び、吐出経路、中栓肩内蔵はガラス製魔法瓶と同じ構造であるが、口径が拡大しているので肩部にも断熱材を装填して保温性を確保している。吐出経路には転倒時湯漏れ防止の安全弁(アルミナ磁器)に加え、吐出口方向に製品を傾けても漏れないようにステンレス鋼球を追加している。胴のステンレス真空二重容器は排気時のチップ管を偏心させ、高さロスを吸収する容器形状である。

7.6.3 弁当用魔法瓶

屋外、屋内で使用され、スープ容器、ごはん容器、おかず容器などの内容器類を付属し、それらを広口真空二重容器内に収納する構成で通常、外装に蓋(上蓋)をもっている弁当用魔法瓶である。外観、及び断面構造を図 7.32、図 7.33 に示す3)


図 7.32 ステンレスランチ

図 7.32 ステンレスランチジャーの外観
(象印マホービン SL-GH 型)3)

図 7.33 ステンレスランチ

図 7.33 ステンレスランチジャーの断面構造3)


部品構成はガラス製の弁当用ジャーと同じであるが、真空二重容器が外装になるので、中瓶保護の緩衝材、ケース本体、はし箱を入れるスペースも不要である。従って製品容積が大幅に減少し、コンパクトな形状となった。元来、ご飯容量の大きな男性向けとして開発されてきたので市場規模が限定的である。

広口真空二重容器はスープ容器、ごはん容器など収納するので大容量であったが、その後スープだけを保温するために容量を減らしたスープジャーも発売され、各社、女性をターゲットにした少容量の断熱容器が開発されていった。JIS においても弁当用魔法瓶の種類として直入式(容器内に直接スープなどを入れる)が追加され、弁当市場を拡大していった。直入式になったスープジャーにはスプーンを利用する頻度が増すため、内筒内面保護もあり、各社電解研磨の処理となっている。直入式弁当用魔法瓶(スープジャー)の外観を図 7.34、使用実例を図 7.35 に示す3)


図 7.34 スープジャーの外観

図 7.34 スープジャーの外観
(象印マホービン SW-KA 型)3)

図 7.35 スープ

図 7.35 スープジャーの使用実例 3)


大口径の直入式では漏れ防止のために完全密栓形式である。内容湯の温度低下による減圧時、蓋の戻しトルクが増大するので、蓋の部品構成として容器外筒のネジ嵌合部と容器内筒口部のシール部を二分割して、負圧時でも抵抗なく蓋が開けられるような配慮が必要である。

以上、代表的な卓上用、弁当用魔法瓶について詳細を記述したが、ステンレス鋼製魔法瓶として基本的な性能である保温効力に関しても携帯用も含めて JIS にて規定されている。携帯用、卓上用、弁当用と、それぞれ容量、口径に応じて分類されている保温効力規格一覧を表 7.2 に示す13)


表 7.2 ステンレス鋼製魔法瓶の保温効力13)

表 7.2 ステンレス鋼製魔法瓶の保温効力

7.7 ステンレス真空二重瓶製造の技術変遷

ステンレス鋼製魔法瓶が誕生し、その 10 年後には魔法瓶生産の全企業から各社独自のデザイン、機能で商品開発が進んだ。基本性能である真空二重容器自身もその製法に改良が加わり、それが差別化となり企業間の競争が始まる。現在に至るまでにステンレス真空二重瓶が製造工程で変化、改良した経緯を記述する。

7.7.1 ロウ材封止真空炉方式の小型化、軽量化変遷(サーモス社)

ステンレス二重容器を高温度域で光輝焼鈍aさせると残留応力を緩和させ、光沢感のある耐食性の高いステンレス表面が得られ、さらに後工程による処理が簡素化できるため、ロウ材封止真空炉は高温で排気する方式でスタートしている。そのために 1,000 ℃で溶ける金属ロウ材を選択した。但し、その温度領域では機械加工によって引き起こされたステンレス鋼のマルテンサイト化した結晶構造が、もとのオーステナイトに戻るので高温状態で強度を保つためにはある程度の板厚が必要であった。

サーモス社の初代ステンレス鋼製魔法瓶の外筒の板厚は 0.6 mm 内筒は 0.4 mm で量産が開始された。それでも真空排気時での座屈変形や落下衝撃により内外筒が接触して保温性能不良となることを防ぐために、素材の板厚や内外真空層距離を大きくすることが必要なため軽量化し辛くなっていた。

携帯用魔法瓶として業界での競争が始まると、外筒は衝撃に強く、また少しでも軽量化や小型化を図らないと市場での優位なポジションには立てない。そこで低温真空排気方法の変更が求められた。

1992 年低温封止用のガラスロウ材や低温活性ゲッターが開発され、真空排気温度が 500 ℃に下げられた。これによってプレス時の加工硬化(相転移)が得られ、板厚を薄く、座屈も無く真空層距離も小さくすることが可能となった。但し、低温排気による酸化被膜を除去する為に、外面のバフ研磨や内面の電解研磨を取り入れざるを得なかった。ロウ材封止高温真空排気の手法でスタートした企業は低温封止することにより、外筒板厚が薄くなっても強度は確保され、内外真空層の隙間の距離も短くする事が可能となった。 2012 年以降にはスピニング及びバルジ加工技術により、薄肉化と加工硬化による強度アップが図られ、更なる軽量化と、真空層の最小化も実現できた。

サーモス社の携帯用ステンレス鋼製魔法瓶の排気温度及び加工技術の進化による板厚、真空層が比較できる製品断面構造を図 7.36 に示す2)


a  
光輝焼鈍は、無酸化性雰囲気にて焼鈍(やきなまし)を行う熱処理方法で、加工硬化による歪を除去し、軟化させる。酸化スケールの生成が無く、焼鈍前と同じ金属表面を得る事ができる。

図 7.36 製品断面による板厚、真空層比較 2)

図 7.36 製品断面による板厚、真空層比較2)


下記の比較断面は栓構造が異なるものの、三世代に亘る小容量ステンレス真空二重瓶の板厚、真空層の進化を表現している。第三世代(JNL 型)は第一世代(AS 型)に比べ製品重量で 73 %軽量で、外容積も半減している。製造工程、加工方法の進化による 2 機種の小型化(外観変化)を図 7.37 に、重量、容積効率を表 7.3 に示す2)


図 7.37 製造工程、加工方法進化による小型化 2)

図 7.37 製造工程、加工方法進化による小型化2)

表 7.3 重量、容積効率比較2)

アイテム 重量(g) 外容積(mL) 容積効率
AS-550 約 735 約 1,484 38.4%
JNL-550 約 200 約 708 70.6%
△差 ▲ 535(▲ 73%) ▲ 776(▲ 52%) 1.84 倍

7.7.2 チップ管排気方式の小型化、軽量化変遷(象印マホービン)

象印マホービンでは 1981 年からステンレス真空二重瓶の生産を開始している。ガラス真空二重瓶の製造技術よりチップ管排気方式と外筒、内筒の二重空間内は銀メッキでのスタートとなっていた。

チップ管は外筒底部にロウ付けされ、排気後は圧接カットさせる。カット後でもそのチップ管は製品高さでロスになる。このロス分を最小限に減らすためには、まずチップ管自身の径を小さくすることであるが、メッキ液処理の関係でチップ管内断面積(管径)に限界があった。

市場に初めて投入した製品は中容量(0.75 L~0.9 L)で、その後、同じデザインを踏襲しつつ大容量へとサイズ拡大し、 4 年後には学童向けの小容量(0.35 L~0.5 L)まで展開している。

同じ製造条件下で 1985 年にパーソナル仕様のスリムボトル STF 型(第一世代、図 7.6 参照)が開発された。そのデザインが市場で評価され、競合他社の追随も有り、さらなる小型化、軽量化が課題となった。社内設備ではメッキに替わる箔巻きが検討され、且つ他社のチップ管を必要としないロウ材封止商品との全高比較においても不利なために、設計面の見直しも必要となっていた。但し、低温排気による外筒の強度確保や薄肉化は大きな特長となっている。

1992 年、後継機種 SBE 型(第二世代)は二重空間内の銀メッキから内筒に胴箔を巻く仕様に変更し、且つ高さを圧縮するために、排気チップカット後に真空二重瓶状態でチップ付外底をプレスする方式が採用された。外筒底プレス前後の断面形状の概略を図 7.38 に示す3)。真空層の距離はメッキ工程廃止及び、外筒、内筒上部の溶接時での内筒振れ防止を抑制することで短縮可能となった。


図 7.38 外底押し込みの断面形状 3)

図 7.38 外底押し込みの断面形状3)


第一、第二世代品は 0.3 L、0.5 L 容量で同じ胴径のシルエットであった。 1998 年発売のスリム後継モデル SSMA 型(第三世代)は、胴径をさらに 10 mm 狭め、容量幅も 0.2 L、0.25 L、0.3 L と変更しているので、第三世代の商品名はスーパースリムと称し、対象を高齢者も見据えた容量幅としている。特に 0.2 L サイズで当時販売されていた 0.25 L 缶コーヒーと同寸であった。

第三世代はチップ管(無酸素銅)も管径 10 mm から 6.35 mm へと変更し、真空排気した際、胴径が小さい方が外胴の耐圧強度が有利となるため、薄肉化も奏功し、軽量化に繋がった。さらに両筒溶接時の内筒センタリング精度(内筒の振れ止め)を上げて、真空層 1 mm の最小化が実現できた。

真空層を薄くすることは、外筒に外圧が加えられても、元に戻る弾性限度内に内筒を配置している為、薄板でも外筒と内筒を合わせた強度を確保することができる。つまりビン(外筒)に落下等により、外部から衝撃(力)が加わった際、外筒は内側に変形する(内側に凹む)。例えば、外胴の変形量が 3 mm 以下であれば弾性変形(外部からの力が解除されると元の形状に戻る)範囲内であり、3 mm を超えると塑性変形(外部からの力が解放されても元には戻らない)する。第一世代 STF(真空層 3.5 mm)は外筒が内筒に接触するまでに塑性変形することになる。一方、SSMA(真空層 1 mm)は外筒が塑性変形する前に内筒に接触する為、外筒が塑性変形するまでの力は内筒の強度(弾力)も加算される為、真空層が大きい二重容器に比べて強度アップが図れる。スリムボトル第二世代 SBE 型と第三世代 SSMA 型の断面構造図を図 7.39 に、外観比較を図 7.40 にそれぞれ示す3)


図 7.39 SBE 型、SSMA 型スリムボトルの断面構造 3) 図 7.39 SBE 型、SSMA 型スリムボトルの断面構造 3)

図 7.39 SBE 型、SSMA 型スリムボトルの断面構造3)



図 7.40 SBE 型、SSMA 型スリムボトルの外観比較 3)

図 7.40 SBE 型、SSMA 型スリムボトルの外観比較3)


全世代のスリム型ボトルを同じ容量 0.3 L での比較数値(表 7.4)から第三世代品は第一世代品に比べ、重量比 53 %、容積比 68 %と軽量化、小型化が図られている。


表 7.4 各世代の内、外筒板厚、真空層、重量、容積効率の比較3)

品番

外筒(mm)

内筒(mm)

真空層(mm)

重量(g)

外容積(mL)

容積効率

STF(第一世代)

0.4

0.4

3.5

340

742

42%

SBE(第二世代)

0.35

0.35

2.15

257

576

52%

SSMA(第三世代)

0.3

0.2

1

180

502

60%


7.8 真空二重容器の電気ポットへの応用

1980 年発売の電気エアーポットは保温に加え、湯沸かし機能を保有しているので卓上用ガラス製魔法瓶販売を上回る勢いで市場に浸透していった。さらに 1987 年に象印マホービンからステンレス真空二重容器を内蔵した電気エアーポットが発売された。(図 7.41 保温時の電力を軽減するために容器自身が真空二重構造となっている。断面の構造を図 7.42 に示す3)


図 7.41 電気エアーポッ

図 7.41 電気エアーポットの外観(象印マホービン)3)

図 7.42 電気エアーポッ

図 7.42 電気エアーポットの断面構造3)


吐出機構は空気圧利用の卓上用ガラス製魔法瓶と同じベローズによるポンプ方式で、ステンレス製真空二重容器の底を貫通させ、水位管から吐出する構造で、ヒーターユニットは容器底に内蔵されている。

容器径が大きく真空排気時の外筒座屈を押さえる為に外筒をビード加工で補強している。投げ込みヒーター方式は電気部品の防水対応が必要で、ヒーター近傍の残水もあるので、 1998 年に真空二重容器の形状を変更し、ヒーター部を分離させた小型モーターで汲み上げる電動ポットへとモデルチェンジが行われた。製品断面の構造を図 7.43 に容器自身の断面を図 7.44 に示す3)


図 7.43 電動ポットの断面構造 3)

図 7.43 電動ポットの断面構造3)

図 7.44 電動ポット容器の断面構造 3)

図 7.44 電動ポット容器の断面構造3)


容器側面のみ真空二重構造でチップ管は側面底部に配置し、容器底は一重でその面にヒーターを貼り付け、電気部品は水と隔離されるので絶縁の信頼性を高めている。

さらに 2008 年には容器と独立した保温部(ジャケット方式の真空二重の筒体)で構成される電動ポットが象印マホービンから開発された。(図 7.45 この筒体状の真空二重カバーは金型投資が不要で治具によるビード加工や拡管で形状を作りこむ構造で合理的である。真空ジャケット式二重筒体と一重容器の断面を図 7.46 に示す3)


図 7.45 真空ジャケット式電動ポットの断面構造 3)

図 7.45 真空ジャケット式電動ポットの断面構造3)

図 7.46 一重容器と真空ジャケットの断面構造 3)

図 7.46 一重容器と真空ジャケットの断面構造3)


この構造では一重容器の上下方向に真空層が延長できるので上述の二形式より保温性能が高められると共に、同じ一重容器で真空ジャケット搭載型高付加価値商品と廉価版非搭載商品が可能となる商品構成が実現できている。

電動ポットに搭載している真空ジャケットは従来の容器構造と異なった、全く新しい発想の特殊な筒状真空体である、その生産工程(図 7.47)を以下の順に箇条書きで記す。


図 7.47 真空ジャケットの生産工程 14)

図 7.47 真空ジャケットの生産工程14)


①  
ロール加工した内、外ステンレス鋼板の端面を TIG 溶接し、それぞれ円筒形状にする。
②  
内筒端部をプレスで拡管し、外筒は内外治具で回転加工し、補強として全周ビード加工する。
③  
銅箔にゲッターを包み込み、内筒に銅箔を巻き付ける。
④  
内筒、外筒圧入後、上下端部を内電極、外電極で挟み込み電極を回転加圧してシーム溶接する。
⑤  
チップ管を外筒側面のピアス部にロウ付けする。
⑥  
内、外筒溶接部の漏れ確認用として真空計を使って気密検査する。
⑦  
チップ管式排気炉で排気後、チップ管を圧接カットする。

電気ポットへの真空二重瓶の応用展開について象印マホービンの開発履歴を辿ったが、タイガー魔法瓶もステンレス真空二重瓶の製造技術で保温電力の軽減に活用し、VE 真空電動ポットとして発売されている。 1998 年発売の初期型と 2024 年発売の最新型を比較する。

初期型であるが、吐出方法はモーター使用の汲み上げポンプ方式で真空二重容器は上部への熱移動を押さえる口部内径 145 mm の口絞り形状が特長となる。外観を図 7.48 に二重容器断面を図 7.49 に示す5)。真空二重の部分は側面と外周底の一部で、外周底平面部にロウ材封止し、ヒーター取り付け部のみ一重構造となっている。


図 7.48 VE 電動ポットの

図 7.48 VE 電動ポットの外観(タイガー魔法瓶)5)

図 7.49 VE 電動ポット

図 7.49 VE 電動ポット容器の断面構造5)


最新型の断面構造を図 7.50 に示すように、真空二重容器は口部内径を 115 mm まで絞ると共に、下方に真空層を延⾧し(図 7.51、)、下から逃げる熱も逃がしにくい形状で、さらに蓋内部には発泡スチロール、真空二重容器の外筒側には真空断熱材を配置しているので、1 時間当たりの保温時消費電力が初期型に比べ 21 W→9 W へと省エネ性能を大幅に向上させている。製品としては従来の小型モーターによる電動吐出であるが、蓋内にベローズ内蔵の手動ポンプ機構も内蔵しており、沸騰後はコードレスでも使用できる便利な機能となっている。


図 7.50 最新型 VE 電動ポットの断面構造 5)

図 7.50 最新型 VE 電動ポットの断面構造5)


図 7.51 最新型 VE 電動ポット容器の断面構造 5)

図 7.51 最新型 VE 電動ポット容器の断面構造5)


7.9 新しい飲み方のステンレス鋼製魔法瓶

各社排気方式や加工方法の違いはあるが、 1992 年以降には業界全体が軽量、コンパクト化の方向に舵を切り、開発競争合戦となった結果、 1994 年には携帯用ステンレス鋼製魔法瓶は 1,000 万本に近づく国内出荷量となった。但し、その後我々の生活に浸透していったペットボトルがステンレス鋼製魔法瓶に多大な影響を与えることになる。その理由についてペットボトルの誕生から浸透していく過程で、ステンレス鋼製魔法瓶の出荷数量の変化と、新たな飲み方を提案する新構造のステンレス鋼製魔法瓶の経緯を振り返る。

7.9.1 ペットボトルがステンレス鋼製魔法瓶に与えた影響

1977 年に醤油容器としてスタートしたペットボトルは、その後 1982 年に飲料用として認められ 1.5 L サイズを発売、多くの企業が参入しガラス瓶入りが主流であった 1 L 以上の大型清涼飲料の容器はペットボトルに取って代わった。小型ボトルについては飲料業界と厚生労働省の覚書により国内生産を自粛していたが、 1996 年に全国清涼飲料工業会の自主規制が撤廃された。その後 0.5 L サイズの飲料用ペットボトルが急速に市場で拡大した。

瓶や缶で飲まれていた容器がペットボトルの特長である、キャップ付きで軽量とその利便性が評価され、生活に浸透していった。ここでペットボトルを持ち歩いてキャップを外して飲むという生活習慣も形成された。PET ボトルリサイクル推進協議会で作成された 1997 年~ 2022 年のペットボトルの販売量と回収率の推移表(図 7.52)から 2004 年までは急速にペットボトル樹脂の生産量が増加しているのが理解できる。その後はペットボトルの回収が進み 2012 年以降その販売量はほぼ一定している15)


図 7.52 ペットボトルの販売量と回収率の推移 15)

図 7.52 ペットボトルの販売量と回収率の推移15)


1980 年以降急速に普及した携帯用のステンレス鋼製魔法瓶であるが、持ち運び出来るペットボトルの利便さにより、その販売に大きくブレーキがかかる結果となった。国内ステンレスボトルの 2010 年までの集荷数量推移を図 7.53 に示す16)。 1998 年以降には急激に出荷数が減少し、 2003 年にはほぼ半減している。


図 7.53 年度別ステンレスボトル出荷数量推移 16)

図 7. 53 年度別ステンレスボトル出荷数量推移16)


ペットボトルは少容量、軽量、キャップ付き、現地自販機で温冷可能とステンレス鋼製魔法瓶には脅威となって図表に表す結果となった。まさしく試練の時代に突入した。

但し、このペットボトルの普及により口を付けて飲む習慣が定着したことと、ペットボトルを携帯する専用下げ紐(ホルダータイプ)も若い世代に広まった。そのような社会現象が次の新製品のきっかけとなったのは言うまでもない。元来、携帯用水筒にはコップを装着し、中栓を開放してから飲料水をコップで飲むように設計されていた。結果、さまざまな場所、シーンでもこの口飲み習慣、文化は老若男女を問わず飲料様式として結果的にステンレスボトルを後押しすることになったと推察する。

このような背景からサーモス社は保冷専用ボトルへの発売へと繋げていった。

7.9.2 直飲式携帯用ステンレス鋼製魔法瓶

1998 年、サーモス社発売の保冷専用ボトルは夏場のスポーツシーンを想定して、外筒に滑り止めゴム製のカバーを巻き、栓上部にはネジキャップで直飲みするデザインとなっている。まさしくペットボトルと同じ飲み方の新製品は直接飲むことができる携帯用ステンレス鋼製魔法瓶(直飲タイプ)である17)。(図 7.54)


図 7.54 直飲式スポーツ

図 7.54 直飲式スポーツボトルの外観(サーモス社 FBE 型)17)


真空二重容器は断熱機能が高く、内容水の温度は外殻胴部には伝わらなく、保温用として使用した場合、ダイレクトで高温水を飲むことになるので直飲みは厳禁である。従ってこの製品は保冷専用として限定販売している。中栓の上部には小口径飲み口があり、飲み口を覆うキャップが付いている。キャップ下端部には簡単に外れないようにリングが一体成型され、簡便に直飲みできるスポーツ、アウトドアユースに適した部品構成となっている。キャップ開栓時の断面を図 7.55 に示す2)


図 7.55 キャップ開栓時

図 7.55 キャップ開栓時の断面構造2)


スポーツボトルの発売当初、魔法瓶は保温すなわち熱い飲み物を入れるのが一般的で、しかも直飲みはマナーの面からの抵抗もあり浸透するには数年の期間を要している。それでも口コミによる評価やスポーツキッズの利用が増えていき認知されるようになった。勿論、ペットボトルの使用量も増加し、直飲みの生活習慣も次第に浸透していった。その後、競合企業も追随し、容量の拡大や、ワンタッチで飲める中栓、大容量化に伴うハンドル付など付加価値を高めて大きな市場を形成することになった。

さらに 2005 年、片手飲みができるワンタッチ飲み口搭載のスポーツ仕様の直飲みボトルがタイガー魔法瓶から発売された、外観を図 7.56 に示す5)。同じ直飲みでも指先ボタン操作で蓋が開くので、ボトルを持つ手で直飲みできる簡便な仕様となっている。飲み口部の断面構造を図 7.57 に示す5)


図 7.56 ダイレクトボトルの外観<br>(タイガー魔法瓶 MMJ 型) 5)

図 7.56 ダイレクトボトルの外観5)
(タイガー魔法瓶 MMJ 型)5)

図 7.57 飲み口部の断面構造 5)

図 7.57 飲み口部の断面構造5)


肩部のヒンジ部中心に内蔵したバネで蓋の開閉が行われ、飲み口(円筒部)は回転蓋内面上部に設置したパッキンにてシールされている。

蓋の開閉ボタンは不用意にボタンを触れて蓋が開き、内容湯が漏れる恐れがあるので、一般的には開閉ボタンをロックし、必要時にロックを解除する構造となっている。本製品は飲み終わった後、蓋を閉じれば自動的に蓋の開閉がロックされる機構(オートロック機能)を特長としている。ロック部、開閉ボタン周辺の断面構造を図 7.58 に示す18)


図 7.58 ロック部、開閉ボタン周辺の断面構造 特許 第 4449725 号より転載 18)

図 7.58 ロック部、開閉ボタン周辺の断面構造 特許 第 4449725 号より転載18)


この自動ロック機構の蓋は、まず開閉ボタンを下げてから中心方向に押すことにより、蓋の爪部とロック部が開放され、蓋後部のヒンジバネの力で蓋が開く構造になっている。蓋を閉じると肩のロック部が外側に回転し蓋の爪部と嵌合する。

図 7.58 のロック、開閉ボタン断面(左側の図)は止栓状態を示し、開閉ボタンを下げてボタンを押すことにより、(a)~(b)図で蓋が開く状態となり、開閉ボタンから指を離せば、バネの力で開閉ボタンが元の位置まで上昇する。飲み終わって蓋が閉じられる時には(c)図状態で蓋部とロック部の爪が嵌合される。

蓋が閉じれば、開閉ボタンは自動的に初期状態に戻っているので、開閉ボタンに外力が加わっても、作動できないオートロック機構を搭載したワンタッチ式のダイレクトボトルである。

コラム:スポーツボトルの開発秘話1)


アメリカのサーモス社にてプロダクトマネジャーとして商品企画を担当していた日本人スタッフより 1 枚の FAX が日本に送られてきたことが発端であった。当時のアメリカでは 500 mL のペットボトルで水を持ち運ぶ習慣が形成されていたため、健康意識が高い人はコーヒーを飲むことより、「ペットボトルで水を飲む」という文化も創生されていた。水はより冷たい方がおいしく感じる人もいるため、真空断熱構造で保冷ができ、直接口をつけて飲める構造のボトルは日本の市場においてチャンスが高く可能性があると考えた。日本においても 1996 年に 500 mL のペットボトルが発売され、それまで行儀が悪いと思われていた「直飲み」が一般的に認知され始めた時期となっていた。

開発を進めるにあたり、プロダクトデザインのスケジュールが厳しい中であったため、アメリカのサーモス社の日本人スタッフが簡単に描いたラフスケッチ(図 1)を基に、日本のサーモス社でデザインを進めることになった。日本のサーモス社内では、直接口をつけるタイプの水筒に熱い飲みものを入れると火傷をする危険性があるのではないかという懸念もあったため、中に入れるのは冷飲料のみの「保冷専用」という仕様に限定して開発を進めた1)

その後サーモス社から 1998 年 7 月に業界に先駆けてスポーツボトル(図 2)が発売された。

図 1 当時のラフスケッチ2)

図 2 発売された業界初のスポーツボトル2)

当初サーモス社は直飲み仕様のため保冷専用の「スポーツ真空断熱ボトル」として従来品のステンレス鋼製魔法瓶とは異なる商品としての位置づけを明確にして販売した。さらに魔法瓶各社も同仕様でステンレス真空二重構造のスポーツボトルを開発し需要を拡大する結果となった。一方で、同じ直飲みタイプの保温、保冷用マグボトルも開発され、大きな市場を形成し、それまでは「1 家族に 1 本」だった水筒が、「1 人 1 本」所有するというパーソナライズ化が進んだ。

参考文献

1)   サーモス株式会社へのインタビューに基づく(2024.11.19)
2)   サーモス株式会社 スケッチ図、写真提供


7.9.3 マグ形式ステンレス鋼製魔法瓶

直飲みタイプのスポーツボトルは屋外用としての目的が多く、需要層として年齢や趣味の領域に限られていた。一方で、保温保冷用の直飲みボトルが、 1991 年タイガー魔法瓶から発売されており、マグ形式の携帯用ステンレス鋼製魔法瓶で、商品名はミニボトル(MWE 型)である。その後、サーモス社をはじめ他のメーカーも次々と発売し、マグ形式のステンレス鋼製魔法瓶はその便利さとコンパクトさで、大きな市場へと拡大していく。ここでは、 1999 年発売のサーモス社のケータイマグを紹介する。(図 7.59)


図 7.59 ケータイマグの外観

図 7.59 ケータイマグの外観
(サーモス社 JML 型)2)


直飲みで、しかも携帯用のため漏れは禁物で、ステンレス内筒上部内面とネジ嵌合する中栓でシールされ、中栓とネジ嵌合する上蓋の二重栓の完全密栓構造となっている。飲み口は中栓上端部の樹脂飲み口となり、中栓底壁下端注ぎ口を通して内容湯が少量流れる構造である。直飲みのため、流路に貯めてちびちび飲むのが特徴となっている。スポーツ用直飲みボトルはペットボトル並みの飲み口でぐいぐい飲む保冷専用であったが、ケータイマグは少量を味わいながら飲むため暖かい飲み物にも好適で、保温保冷用として開発されている。栓及び飲み口の断面構造を図 7.60 に示す2)


図 7.60 ケータイマグの

図 7.60 ケータイマグの断面構造図2)


さらにサーモス社はネジ栓式小容量マグに続き、 2000 年に手軽に飲めるワンタッチ式ケータイマグを開発し、アイテムを拡大されている。この時期は 500 mL のペットボトル飲料の普及でステンレス魔法瓶は減少の一途を辿っていたのにも関わらず、意欲的にスポーツボトルやケータイマグなどの新製品を投入され、専業メーカとしての矜持とペットボトルの直飲みトレンドをうまく利用した商品開発に敬意を表する。

ワンタッチ式マグおよび栓解放時の外観を図 7.61 に、中栓開時の断面構造を図 7.62 に示す2)。中栓の上蓋はトーションコイルによりヒンジ回転し、中栓下側前面には開閉ボタンがあり、金属リング製のロック部品にて上蓋を固定している。上蓋開閉はロック部品(金属リング)を外してボタン操作して行う。


図 7.61 ワンタッチ式ケータイマグの外観<br>(サーモス社 JMW 型) 2) 図 7.61 ワンタッチ式ケータイマグの外観<br>(サーモス社 JMW 型) 2)

図 7.61 ワンタッチ式ケータイマグの外観
(サーモス社 JMW 型)2)



図 7.62 中栓開時の断面構造 2)

図 7.62 中栓開時の断面構造2)


コップを使わない飲み方、ペットボトルのように直接飲み口から飲まないことを前提として中栓前部に立接した飲み口を設け、流路に貯めて飲むことを特長とした保温保冷用マグとなっている。

2001 年、象印マホービンのマグボトルはマグの定義らしくコップ感覚の大口径の瓶口で飲む密栓方式のシンプルな構造となって発売された。(図 7.63)


図 7.63 密栓式マグボト

図 7.63 密栓式マグボトルの外観
(象印マホービンSM-AA 型)3)

図 7.63 密栓式マグボト

図 7.64 直飲みマグボトルの断面構造3)


中栓(蓋)を開けるとステンレス瓶口が露出、コップのように直接飲むシンプルな仕様で、飲むときには内容湯の温度が口周りの感覚で認識できるので、保温、保冷用としたマグボトルである。

飲み口であるステンレス真空二重瓶の内筒、外筒の先端溶接部は研磨加工されている。中栓は二重構造で断熱空間を形成し、栓底部には逆止弁を備え、負圧時の戻しトルク増大を回避した構造となっている。製品の断面構造を図 7.64 に示す3)

スポーツ用の直飲み、携帯用のマグの開発で直飲みタイプが徐々に浸透し、 2000 年以降には魔法瓶業界で同仕様の開発に注力し、各社新製品を投入した結果、 2003 年以降から徐々に市場を回復し、出荷数量増に転じた。(7.9.1 章 図 7.53 参照)特にマグボトルは保温、保冷の手軽さも有り、学校、職場での毎日使用する携帯利用が浸透していった。

2005 年には「クールビズ」と言う言葉が流行語になり、家庭や個人でも身近なところから環境に取り組めることが改めて認識されるようになった。また 2006 年には「マイボトル」を持ち歩く考えが象印マホービンから広まり、さまざまなイベントに給茶スポットを設置させ、ペットボトルの大量消費者であった大人たちへ向けて、健康管理や環境保全啓発活動の一環としてマイボトルを普及させていった。

このような時代背景でマグボトルは使用年齢、使用シーンを選ばずにパーソナル用として市場拡大していった。 2010 年にはマイボトルブームもあり、マグの出荷がステンレス鋼製魔法瓶の半分を占めるまでに成長し、マグの開発競争が始まった。

マグボトルにはネジ栓に加え、ロック機構付きワンプッシュオープン栓など各社独自の技術で商品展開されている。そこでタイガー魔法瓶の新規技術開発にて先行した高付加価値マグボトルについて 3 例を以下に紹介する。

(1)  
超軽量、なめらか飲み口マグボトル( 2014 年~)
業界最軽量を狙うべく、ネジ式栓と薄肉化を組み込んだマグボトル(図 7.65)で、特にステンレス真空二重容器に新たな製造技術が盛り込まれている。
軽量化については板厚 0.35 mm 外筒を水圧バルジにて薄肉加工し、内筒 0.3 mm をスピニング加工で 0.08 mm と極限まで絞り、0.5 L サイズで 190 g と業界一の軽量化を実現している19)。製品の断面構造と口部断面拡大を図 7.66 に示す5)。口部先端については一般的に拝み溶接方式で外筒、内筒先端が重なった状態で溶接するので鋭利になりやすい。そこで業界初のステンレスなめらか飲み口を考案された。先端をアール加工した外筒端面を内筒内面まで延長してレーザ溶接することでソフトな口当たり部を形成できるように工夫している。従来は拝み溶接部を隠す樹脂製リングで口当たり部に鋭利部が無いよう補完してきたが、金属先端のアール加工で不要になり、軽量化にも貢献している。

図 7.65 超軽量マグボトルの外観

図 7.65 超軽量マグボトルの外観
(タイガー魔法瓶 MMZ 型)5)


図 7.66 軽量マグボトルの断面及び口部拡大の断面図 5)

図 7.66 軽量マグボトルの断面及び口部拡大の断面図5)


(2)  
オートロック機構付きマグボトル( 2016 年~)
片手操作のスライドワンプッシュオープンで、しかも蓋を閉めれば自動的に蓋がロックされる機構を有する蓋部に開レバーを設けたマグボトルである。外観を図 7.67 に示す5)
オートロックの構造であるが、タイガー魔法瓶はスポーツボトルで採用した機構を応用して、ロック機構自身を蓋側に設けて開閉する構造であり、開閉レバーの飛び出しがなく、上蓋外周部に収まるデザインと進化している。
開閉ボタンの作動時の順に断面構造(図 7.68)から、開閉レバーを下方に押すと、ロックが解除され、さらに下端まで開閉レバーを押すと内側摺動まで誘導するので内側まで押す。蓋部のロック部が回転作動し、中栓ツメ部と嵌合が外れる。ヒンジ部のトーションコイルで蓋が開きながら開閉レバーは自動復帰し、元の位置に戻る。飲み終わって蓋を閉じればボタンを押せないロック状態になり、締め忘れを防ぐ安心設計となっている。
(3)  
立体印刷加飾マグボトル( 2017 年~)
ステンレス真空二重瓶の外面処理として塗装された表面にシルク、パッドなどの部分印刷や転写で絵柄表現するのが一般的であるが、新たな付加価値として立体式の絵柄付き印刷の加飾ボトルを開発し、インクジェット方式による手触り感満載の表面となっている。開発の背景は海外からのインバウンドのお客様にボトルで日本文化を伝えるためで、インクジェット印刷でボトル表面に凹凸を作って、今までにない手触り感と日本文化(きもの、たたみ)を伝えるものに仕上げている。外観及び図柄拡大をそれぞれ図 7.69、図 7.70 に示す5)

図 7.67 オートロック機構付きマグボトルの外観<br>(タイガー魔法瓶 MMX 型) 5)

図 7.67 オートロック機構付きマグボトルの外観
(タイガー魔法瓶 MMX 型)5)


図 7.69 西陣折柄風マグボトルの外観<br>(タイガー魔法瓶 MJX 型) 5)

図 7.68 オートロック栓の断面構造 5)

図 7.70 図柄の拡大 5)

図 7.69 西陣折柄風マグボトルの外観
(タイガー魔法瓶 MJX 型)5)

図 7.70 図柄の拡大 5)

図 7.70 図柄の拡大5)


商品の価値を伝えるべく、付帯物でも全く新しい方法に挑戦し、和紙の小冊子、職人が作る桐箱、風呂敷、一点ずつ手作業で包まれているメイドインジャパンの高級マグボトルである。

インクジェットによる印刷はインクが持つ厚みを生かして積層することで、表面に立体形状をつけていく。

塗装工程を以下の順に記し、塗装概略を図 7.71 に示す5)


図 7.71 インクジェット印刷概略図 5)

図 7.71 インクジェット印刷概略図5)


①ステンレス本体にベース塗装を行う

 (インクジェット印刷が映えるようにベース塗装は光沢がないシルバー)

②ボトルを回転させながら上記方法でインクジェット印刷する

 (柄によっては 1 本に 6~9 分間必要)

③塗膜の密着性能を確保するために、トップコート塗装を施す

 (インクジェット印刷はベース塗装とトップ塗装に挟まれた状態になる)

コラム:女子マラソン給水ボトルの開発


長距離マラソンには水分補給は欠かせない、特に夏場のオリンピックでは 5 km 間隔で置かれた給水箇所に出場選手毎の給水ボトルが準備されている。但し、出走前に予め給水地点に給水ボトルを設置する必要があり、当然内容水の温度上昇が課題となっていた。そこで下記の条件を満たす仕様の給水ボトルが 2004 年象印マホービンから開発された。

① 30 ℃を超える猛暑の中でも、給水ドリンクは 10 ℃以下を保つこと

② 走行中でも視界に影響を与えない、飲みやすい形状であること

③ 給水地点では一目でわかるデザイン、取り出し易い機能であること

これらを満足する給水ボトルの外観と断面構造を図 1 に示す。

給水ボトル内には冷却されたスペシャルドリンクと体温を下げる冷却水が内蔵されている。走行中にランナーは給水地点に置かれた青、黄色構成のボトルと大きなリング状ホルダーを発見し、すばやくホルダーを掴み、栓を開ける。内蔵されたスペシャルドリンク入り容器がバネ力で上昇し、且つストローが飛び出す。保冷され適温状態のスペシャルドリンクを飲み終えると、真空二重容器内の冷却水で体を冷やすことができる仕様となっている。栓を開けた状態及びドリンク容器を取り出した断面を図 2 に示す。

体の冷却用と給水機能を併せ持つアスリート仕様の「スグレモノ」として、アテネ大会では金メダル獲得と言う輝かしい成績を収める「影の功労者」になった。今日では、投げ捨てるときに危険性が生じるという理由で、保温式のボトルは用いられていないが、国際大会における魔法瓶の活躍が話題となった事例である。

図 2 栓解放時、ドリンク容器を取り出した時の断面構造 1)

図 2 栓解放時、ドリンク容器を取り出した時の断面構造1)

図 2 栓解放時、ドリンク容器を取り出した時の断面構造 1)
図 2 栓解放時、ドリンク容器を取り出した時の断面構造 1)

図 2 栓解放時、ドリンク容器を取り出した時の断面構造1)

参考文献

1) 象印マホービン株式会社 写真、構造図提供

7.9 章では新しい飲み方である、直飲みのスポーツボトル、マグボトルについて開発経緯を記述した。ペットボトルの攻勢を受け、魔法瓶の販売に大きなブレーキがかかる中、逆にペットボトルの持ち歩き、直飲みからの発想で、敢えて魔法瓶を保冷専用として直飲みを世の中に提案したサーモス社は社内でも大きな議論があったのは想像に難くない。当時の JIS では携帯用魔法瓶は保温、保冷のコップ付きとして定義されていた。従って発売にあたっては同じ真空二重瓶であるが、「まほうびん」とは異なる「真空断熱スポーツボトル」として保冷専用の独立した商品として品質表示、販促など全く異なる商品として位置付けた。

また一方では、保温保冷用であるが携帯用マグボトルと言う、これも直飲み仕様の商品が続けて開発されている。当然、商品の普及に伴い業界・競合他社も一斉に「保冷専用・直飲み」スポーツボトル、「温/冷両用・直飲み」マグボトルを投入し、 2010 年ではこれらの「直飲み」商品群が「コップ+中栓」仕様の従来型魔法瓶商品群を抑えて市場全体の過半数を占めることとなった。商品の普及認知、市場の変化に伴い、投入後約 20 年を経て「まほうびん JIS 規格」が 2016 年に改訂され、「保冷専用」や「直飲み」商品群も「まほうびん」に属するものと定義付けられ、家庭用品品質表示法に伴う「まほうびん」として各種表示・呼称含め取り扱われるようになった20)

7.10 ステンレス鋼製魔法瓶の中栓機構の進化と変遷

屋外使用のガラス製魔法瓶が衝撃に弱いことからステンレス鋼製魔法瓶は携帯用として開発された。当然、中栓自身も最初はガラス製の携帯用魔法瓶から構造を踏襲しており、ネジ式密栓方式としてスタートしている。密閉式構造でステンレス二重瓶口部のシールを確実にするのは勿論のこと、高温水を使用する場合は内圧の上昇時と湯温低下時の負圧対策が必要であり、これも経験知識として設計に反映されている。ステンレス鋼製に移行後も最初のモデルは各社ネジ式密栓で発売していたが、市場競争から中栓も使いやすさ、洗浄しやすさを追求した構造、機構へと進化していった。

1980 年代、代表的なサーモス社のネジ式密栓は図 7.72 に示すように中栓下部にパッキン(シリコーンゴム)を装着させ、ステンレス瓶口部とネジにて嵌合し、ステンレス内筒口下部の段部とシールする構造となっている。


図 7.72 サーモス社の初代学童用ボトルの

図 7.72 サーモス社の初代学童用ボトルの中栓断面と部品構成


ネジ式による嵌合は確実であるが、飲料水をコップに注ぐときにはコップを外して持ち、再度中栓を回す動作が必要で、コップを持った時点でより簡便な動作で注ぐ事が出来るようにプッシュ栓やスライド栓が考案された。

プッシュ栓の事例では図 7.73 のサーモス社の中栓のようにプッシュボタンを押すとシャフト弁が下がり、給水可能となる機構がある。プッシュボタンとシャフト弁が連動する方式はガラス卓上用ハンドポットで実績の構造である。但し、この中栓はプッシュボタンを押すと、シャフト弁が下がると同時にプッシュボタン自身が飛び出す機構となっており、飛び出したプッシュボタンを押せば施栓出来る。この中栓の特長は施栓時にプッシュボタンを押さなくてもコップを取り付けると自動的にプッシュボタンが押されて中栓流路が閉じる安全機構がついた親切設計となっている。


図 7.73 サーモス社のプッシュ栓断面構造と部品構成 2)

図 7.73 サーモス社のプッシュ栓断面構造と部品構成2)


中栓内のシャフト弁の動きによるワンタッチ栓は中栓内の流水経路は洗浄が困難で、洗剤や、熱湯による流し洗いしかできない構造であった。そこでこのような機構栓でも分解して洗える構造がサーモス社から考案、実施されている。ワンタッチ栓の部品構成を外栓、内栓と二分割して分解できるプッシュ栓である。その外観を図 7.74 に断面構造を図 7.75 にそれぞれ示す2)


図 7.75 分解中栓の断面構造 2)

図 7.74 サーモス社分解中栓の外観2)

図 7.75 分解中栓の断面構造 2)

図 7.75 分解中栓の断面構造2)


内栓内でプッシュボタンとシャフト弁の上下動が行われ、内、外栓間の空間が栓内の流路となり、内栓外栓は下部にあるネジにて分解可能となっている。分解後はぞれぞれの流路を簡便に洗浄することが出来る。

同じワンタッチ構造のプッシュ栓でも分解洗浄可能な別構造の中栓が考案、実施されている。象印マホービンが開発した中栓はプッシュする機構部(上栓)とプッシュにより下がる弁体部(下栓)の上下に分割できるのが特徴となっている。内部機構であるが、中栓上部中央のプッシュボタンを押すとシャフト弁が下がり、プッシュボタンと嵌合しているレバー体が後方にスライドする。施栓時プッシュボタンは中栓上部と同じ平面状にあるのでスライドしたレバーを中心方向に押せば、嵌合しているシャフト弁が上昇する。勿論、後方に突出したレバーはコップを取り付けるとレバーが作動し、シャフト弁が上昇し中栓流路が閉じる安全機構付きである。

施栓時の断面構造を図 7.76 に、プッシュボタン作動時の断面構造を図 7.77 に示す21)


図 7.76 象印マホービンの分解中栓、施栓時の

図 7.76 象印マホービンの分解中栓、施栓時の
断面構造 特許 第 2735091 号より転載 21)



図 7.76 象印マホービンの分解中栓、施栓時の

図 7.77 分解中栓、開栓時の断面構造
特許 第 2735091 号より転載 21)


中栓を分解して洗浄する場合は、上栓下部のレバー部を円周上に横スライドさせると下栓との嵌合が開放され、下栓が外れる。(図 7.78 )流路洗浄後は下栓を上栓内に押し込むだけで一体となり、上栓、下栓がワンタッチで着脱可能な機構である。


図 7.78 分解中栓、上下栓の外観

図 7.78 分解中栓、上下栓の外観
特許 第 2735091 号より転載 21)


ワンタッチプッシュボタン式で中栓下部のシャフト弁を使用して流路を開放、遮断する機構は内部構造が複雑になり、分解洗浄による手間も有り、より簡便に洗浄できる、構造の全く異なったワンタッチ栓に進化させていく。

中栓下部のシャフト弁シール方式を見直し、注ぎ口の出口でシールさせることにより、栓内に残水が残らない。また、流水経路の下部に弁が無くなったのでお手入れしやすい構造のワンタッチ栓が象印マホービンから開発されている。

断面構造部(図 7.79)から中栓上部に注ぎ口を設け、その注ぎ口をシールする構造で、中栓天面後方部のプッシュボタンを押せば同一面にあるパッキン付きの注ぎ口が連動し、回転開口する。同時に施栓用のスライドレバーも後方に移動する。(図 7.80 施栓時にはレバーを操作するか、コップを取り付ければ注ぎ口が回転運動で施栓できる。尚、流水経路が小面積の筒状であるために、エアーベント(空気が入るスペース)が必要で、これも開栓、施栓時に連動する構造となっている。


図 7.79 象印マホービンの注ぎ口シール栓の

図 7.79 象印マホービンの注ぎ口シール栓の
断面構造 特許 第 3517361 号より転載 22)



図 7.80 注ぎ口が開放時の断面構造

図 7.80 注ぎ口が開放時の断面構造
特許 第 3517361 号より転載 22)


さらにサーモス社では流路が全開放され、中栓の蓋がフルオープンする機構のワンタッチ栓を考案、外観及び蓋の全開状態を図 7.81 に示す2)


図 7.81 サーモス社フルオープン栓の外観及び 図 7.81 サーモス社フルオープン栓の外観及び

図 7.81 サーモス社フルオープン栓の外観及び蓋の全開状態2)


スライドボタンをヒンジ方向に滑らすと左右二か所の係止ツメが中栓から解放され、ヒンジ部のトーションコイルで自動オープンとなる。開及び閉の識別が明白で、流路が全開放されるので洗いやすい構造となっている。コップ付きの為にスライドボタンのロック機構は不要でシンプルな部品構成である。(図 7.82)


図 7.82 フルオープン栓の断面構造 2)

図 7.82 フルオープン栓の断面構造2)


以上、コップ付き携帯用ステンレス鋼製魔法瓶の中栓はネジ式栓に始まり、使いやすくワンタッチ栓に、また分解出来て洗浄できるように、さらにシール部を中栓下部から上部に位置変更することで、分解不要で洗浄できる構造に進化していった。さらにこの数年で使いやすさと機能性を向上させたマグボトルの栓も新しい機構が開発されているので、その事例を紹介する。

7.10.1 シームレス栓(象印マホービン 2020 年~)

今やマグボトルの使用目的は学校や職場で毎日利用する道具となっている。洗浄時には栓からパッキンを取り外し、分解して洗浄するのが一般的であるが、手間がかかり、パッキンの紛失や逆付けによる漏れなどの事例もあった。そこで栓とパッキンが一体となったシームレス栓が象印マホービンから開発された。(図 7.83)


図 7.83 シームレス栓の外観図 3)

図 7.83 シームレス栓の外観図3)


栓とパッキンが一体になれば、洗浄しやすく、つけ忘れもない。多くの要望を満足させるべく、シリコーンゴムとポリプロピレンとの 2 色成型で異種材料の一体化を考案した。元来、ポリプロピレンは接着が困難で容易に剥離が予想されたが、プライマー処理を施すことで密着強度を確保することが可能となった。

製品栓部の断面構造を図 7.84 に、二色成型工程を図 7.85 に示す3)


図 7.84 シームレス栓搭載製品の断面構造 3) 図 7.84 シームレス栓搭載製品の断面構造 3)

図 7.84 シームレス栓搭載製品の断面構造3)



図 7.85 シームレス栓の製造工程 3)
図 7.85 シームレス栓の製造工程 3)
図 7.85 シームレス栓の製造工程 3)

図 7.85 シームレス栓の製造工程3)


異種材料の二色成型は公知であり、広く実施されている。魔法瓶に使用する樹脂材料は耐熱老化、食品衛生…等からポリプロピレンであり、耐薬品性も良好であるが、逆に接着が困難な材料である。その為に予めシリコーンゴムとの接触面をプライマー処理(被接着表面の接着性を改善する下塗り剤)し、その後処理されたポリプロピレン成型品を金型内に収め、シリコーンゴムをインサート成型し、密着強度も保証する製法を考案し、量産されている。

7.10.2 炭酸飲料対応栓(サーモス社 2000 年~ 2004 年、 2022 年~)(タイガー魔法瓶 2022 年~)

炭酸飲料は、内圧上昇により栓に圧力がかかるので、栓が開けにくくなったり、外れたりする場合があるので魔法瓶に入れる液体飲料としては炭酸飲料禁止としていた。それでも一部のニーズに対応するためにサーモス社から業界に先駆けて 2000 年に炭酸飲料対応「イージーキャップボトル」が発売されている。

ペットボトルと同様のスクリュー式小径のキャップ構造を採用して、飲み口の口径を狭くすることで開栓時にかかる圧力が減り、キャップを開けやすくしている。さらに内圧が上昇すると中栓の断面(図 7.86)から、キャップパッキンの凸部が膨張、外方に突出し(内圧上昇のサイン)、キャップが開けにくくなるので、栓を回し上昇すればネジ部及びフランジ部に設けたスリット部からパッキンを介して圧力が開放される。


図 7.86 サーモス社の炭酸飲料ボトルの 図 7.86 サーモス社の炭酸飲料ボトルの

図 7.86 サーモス社の炭酸飲料ボトルの


ネジ嵌合周を増やして上下に長い(深い)栓構造とすると共に内部の中空筒部に長い吐出経路を確保することで、栓の嵌合強度を強化すると共に、飲料の液面から飲み口上端までの距離が長くなり開栓時に炭酸飲料(泡)が噴き出しにくくなるように配慮した設計である。

サーモス社の後継機種( 2022 年発売)の栓は上下二重構造で下栓底中央部に圧力解放穴を設け、上栓底には下栓解放穴をシールするパッキンが装着され、それぞれがネジ嵌合されたシンプルな構造である。外観を図 7.87 に、断面の構造を施栓から開栓まで図 7.88 にそれぞれ示す2)


図 7.87 2 分割された栓の外観 2)

図 7.87 2 分割された栓の外観2)



図 7.88 栓開栓順の断面構造 2)

図 7.88 栓開栓順の断面構造2)


施栓時、上下完全密栓となり、上栓を回すと上栓底パッキンが開放され、通気路が形成される。さらに上栓を回すとステンレス内筒口部シールパッキンも解放されながら栓が外れる。構造上、炭酸飲料の有無に関わらず上栓が回り、後から下栓が回るという 2 段のネジ感触になる。

タイガー魔法瓶では 2022 年に「真空断熱炭酸ボトル」として、サーモス社の初代モデルの廃番後、 18 年を経て発売されている。以前から無糖炭酸水や炭酸アルコール飲料の携帯ニーズもあったので、同年に再度サーモス社が投入、さらには他企業が炭酸飲料対応栓を考案し、参入することで着実にマーケットを形成しつつある。

タイガー魔法瓶の炭酸飲料対応栓はキャップを開栓すれば炭酸ガスが先に抜けるので、炭酸飲料の飛び散りも無く、さらに栓内に圧力感知弁を設け、ボトル内の圧力が異常に高まった際に「安全弁」が作動して自動でボトル内の炭酸ガスを逃がす構造を採用している。外観を図 7.89 に栓内部構造を図 7.90 に示す。


図 7.89 タイガー魔法瓶の炭酸ボトル栓の外観 3)

図 7.89 タイガー魔法瓶の炭酸ボトル栓の外観3)

図 7.90 栓の断面構造

図 7.90 栓の断面構造
特許 第 7560736 号より転載 23)


この栓はキャップ回転でキャップ底部と栓とのシール部が開放され、容器内のガス抜きが先行した後、さらなるキャップ回転で飲み口が露出し、飲料可能となる。異常な内圧上昇時でも安全に炭酸ガスが放出されるように、栓肩部に内蔵した安全弁が強炭酸水より高い 0.37 MPa で作動する圧力調整弁の機構を搭載した、二重安全構造となっている。

尚、本製品は 2022 年日経優秀製品・サービス賞最優秀賞を受賞された24)

7.11 高保温力のマグボトル (象印マホービン 2024 年~)

マグボトル自身がシンプルな構造なため、7.10.1~7.10.2 で記述した栓(シームレス栓、炭酸飲料対応栓)で付加価値を高めることで手入れ性の改善や新たな用途展開が進み、魔法瓶組合非加盟企業製品との差別化も図られた。象印マホービンではシームレス栓に続く、新たなマグボトルを研究した結果、マグの進化の結論として魔法瓶の基本に戻り、保温、保冷効果を高めることが重要と考えられ、 2024 年に高保温力のマグボトルが開発された。

魔法瓶の構造上、内筒、外筒の空間は真空であり、内筒外周部には金属箔を巻き、内筒からの外筒への熱移動を遮っているが、内筒の壁(板厚)自身からの熱伝導は避けられず、特に口部付近からの熱損失がある。それを防ぐべく栓で断熱しているが、内筒口部のステンレス材から逃げる熱量も無視できない。そこで飲み口部分からの放熱を押さえる新技術として強度を保ちながら薄肉加工を実現した新構造で保温効力の大幅な上昇を実現している。薄肉加工部分のイメージ構造を図 7.91 に示す25)


図 7.91 マグボトル口部内面の薄肉部イメージ 25)

図 7.91 マグボトル口部内面の薄肉部イメージ25)


従来であれば瓶口部分を長くすれば保温効力を上げることができるが、それでは製品高さが増しコンパクト性を損ねる。そこで図 7.91 拡大部分の「サーモリング構造」を内筒に採用することにより、内筒上部の瓶口を部分的に薄肉加工することで、瓶口部分を長くすることなくコンパクト性を保ったまま、保温効力を向上することが可能となった。従来の直飲みに必要な、なめらかな飲み口形状(図 7.92)は簡単に変形しないように内筒の板厚(t=0.35)が必要となっている。さらに内筒の栓シールポイント(パッキン嵌合部)から飲み口までの板厚を単純に薄くするだけでは、大量のシワが発生し、また薄肉部が座屈して外瓶との溶接に支障が出る。内筒のシールポイント(パッキン嵌合部)高さも、バラつきが発生して栓パッキンとの当たりが悪くなり密閉性不良となる。

図 7.93 サーモリングによる従来機種との

図 7.92 従来の口部断面構造3)

以上、強度面や構造上必要な部分は材料自身の板厚に留め、それ以外を選択的に特殊加工(特許出願中)で薄肉化することにより強度も確保した構造となっているのが特長である。特殊薄肉加工を施した「サーモリング構造」による新製品と従来品との保温効力の差を図 7.93 に示す3)。従来品と比較して 6 時間後で 6 ℃保温性が向上し、マグボトルとしてこの容量では業界トップ(6 時間後 77 ℃以上)の保温性能である。


図 7.93 サーモリングによる従来機種との

図 7.93 サーモリングによる従来機種との保温効力の差3)


ステンレス鋼製魔法瓶は発売以来、 46 年の歴史を刻んでいる。特に携帯用は魔法瓶各社が生産技術力を高めて真空二重瓶の軽量化、小型化に挑戦し、中栓の技術開発はそれ以上に頻度を高めて実施されてきた。顧客のニーズを反映しながら、使い易い機構を考案し続ける企業努力で市場は活性化し、魔法瓶組合非加盟企業の輸入ボトルとは一線を画しているとも言える。

それでも近年、中国企業ではステンレス真空二重瓶を大量生産する排気設備や最新鋭のステンレス加工機が潤沢に出回り、生産技術力も向上していると聞く。また日本企業の考案した栓構造も公知になっているものも多数あり、外観デザインさえすれば容易にステンレス鋼製魔法瓶が輸入できるほど、その技術障壁が低くなっている。残念ながら量販店、専門店、ファンシーグッズ店、ネット通販など市場を観ればコモディティー化した商品群とも言える。そのような環境下でも魔法瓶組合加盟企業は新しい飲み方、ステンレス加工、表面処理…等、不断の技術開発を行い、さらには日本環境協会のエコマーク認定を受けるなど差別化を図り、市場の活性化とステンレス鋼製魔法瓶に対する信頼性を高めている。

7.12 その他のステンレス真空断熱ボトル

7 章ではステンレス鋼製魔法瓶として JIS に基づく、「携帯用、卓上用、弁当用まほうびん」を記述した。JIS 範疇外であるが、近年マグボトルと同じコンセプトの広口ステンレスボトルも開発されており、“タンブラー”と称する真空断熱ボトルである。

タンブラーとは飲み物を入れるフラット底の容器であるが、大口径の飲み口で蓋の有無もあり、基本中栓が無いので、「まほうびん」とは呼べない。家庭で手軽に使用できる断熱容器として販売されている。

2013 年に発売されたサーモス社製タンブラーを図 7.94 に示す2)。口径が大きく、底絞りの逆テーパーデザインで、内面は電解研磨、外面はバフ研磨のシンプルな構造である。蓋なし構造なので保冷力としては 1 時間表示で断熱性能を保証し、結露がなく、短時間使用に限定した真空二重構造のコップである。


図 7.94 タンブラーの外観(サーモス社 JDA 型) 2)

図 7.94 タンブラーの外観(サーモス社 JDA 型)2)


象印マホービンも外筒が塗装された蓋なしタンブラーを 2015 年から販売し、 2021 年では携帯できるタンブラーを開発、栓に把手を付けて携帯できる“キャリータンブラー”として発売されている。ステンレス鋼製魔法瓶のように密栓構造を採用しており、そのために保温、保冷効力は 6 時間表示と JIS 規定に準じている。外観と断面を図 7.95 に示す3)。内面は電解研磨、外面は塗装で栓とパッキンを一体にしたシームレス栓でこれもシンプルな構造である。


図 7.95 キャリータンブラーの外観と断面構造<br>(象印マホービン SX-J 型) 3) 図 7.95 キャリータンブラーの外観と断面構造<br>(象印マホービン SX-J 型) 3)

図 7.95 キャリータンブラーの外観と断面構造
(象印マホービン SX-J 型)3)


コップ付きのステンレス鋼製魔法瓶が、生活スタイルの変化で、保冷専用スポーツボトル、毎日携帯するマグボトル、さらにはタンブラーとアイテムを増やし、魔法瓶組合加盟企業のみならず、PB(プライベートブランド)商品やアウトドア業界、プラスチック業界なども本格参入し、大きな市場を形成した。現在、魔法瓶企業各社のカタログ掲載商品は直飲み仕様パーソナルユースのステンレス真空容器が大半を占め、携帯用の基本であるコップ付きステンレス鋼製魔法瓶のアイテムは限定的となっている。

コラム:マーケットから要請を受けたセキュリティーポット


背景)

現在、タイガー魔法瓶では卓上用魔法瓶の蓋部にダイヤルロック施錠機構が内蔵された、食の安全を担保するステンレス鋼製のエアーポットが販売され、鉄道会社の車内販売、病院、介護施設、コンビニ、保育所等に幅広く利用されている。開発の経緯であるが、 2003 年の東海道新幹線の品川駅オープンに伴い、 1998 年に起こったカレーヒ素中毒事件を受けて異物混入・テロ対策として JR 東海から開発要請を受けた。新幹線車内販売で使用するコーヒーサービス用として当初は鍵付きで設計された。

製品特徴)

エアーポットの蓋部に鍵操作による開閉機構を搭載し、JR 東海専用として使用された鍵付きポットの外観を図 1 に蓋に内蔵された鍵部の断面を図 2 に示す1)。施錠時は蓋フックが作動できなく、開錠するとフックのストッパー部が開放され、蓋フックが回動し、蓋の開閉が可能となる。飲み物を入れた後に施錠すれば蓋を開けて異物を混入することが出来ない構造となっている。

図 7.95 キャリータンブラーの外観と断面構造<br>(象印マホービン SX-J 型) 3)

図 1 鍵付きポットの外観図1)

図 7.95 キャリータンブラーの外観と断面構造<br>(象印マホービン SX-J 型) 3)

図 2 鍵付きポット製品と蓋部の断面構造1)

その後、鍵に対する懸念(紛失、他の備品と共通の鍵になっている)から鍵穴以外のセキュリティーシステムの提案要請が有り、ダイヤル式に改良されている。ダイヤルロック式ポットの外観、蓋ロック解除の概略、内部機構の断面構造をそれぞれ図 3 ・ 4 ・ 5 に示す1)

図 7.95 キャリータンブラーの外観と断面構造<br>(象印マホービン SX-J 型) 3)

図 3 ダイヤルロック式ポットの外観1)

図 7.95 キャリータンブラーの外観と断面構造<br>(象印マホービン SX-J 型) 3)

図 4 蓋ロック解除の概略図1)

図 5 蓋炉ロックの断面構造

図 5 蓋炉ロックの断面構造1)

ポットの蓋を自由に開けることが出来ないようにダイヤルロック機構を搭載しており、蓋を開ける時は 3 桁の数字を合わせ、ダイヤルロックを回転すれば、蓋フックのロックが解除され、蓋フックが回動して蓋が開く。給湯が完了すると蓋を閉めてからダイヤルを 90 度回し、3 桁のナンバーをランダムな数字に合わすとダイヤルが回せなくなり、蓋の開閉も出来なくなる。

ロック解除ナンバーを認識している人だけが開けられる安全、安心を提供するセキュリティーポットである。その他業務用として給湯、排湯がしやすいように、蓋が着脱でき、口径も広く手入れ性を考慮、注ぎ口を突き出して、注ぐときの飛び散りを防いだ配慮がされている。

食の安全が脅かされている時代に配慮したステンレス鋼製卓上用魔法瓶で、用途はかなり限定されるが飲み物を提供する側も利用する側も安心して利用できるセキュリティーポットである。

参考文献

1) タイガー魔法瓶株式会社 写真、断面構造図提供


7.13 ステンレス鋼製魔法瓶出荷数量推移

ステンレス鋼製魔法瓶はサーモス社(当時の日本酸素株式会社)から 1978 年に初めて発売され、 3 年後の 1981 年には象印マホービン、タイガー魔法瓶が追随し、その後魔法瓶組合加盟企業も参入する大きな市場となった。全国魔法瓶工業組合が纏められた出荷数量は 1983 年からデータ取りを行い、現在に至っている。

出荷数は国内と輸出で区分されているが、輸出は日本国内生産からの輸出品のみカウントされており、実際には国内出荷数量の 5 %未満となっている。大半が日本生産だったガラス製魔法瓶で掲載した国内+輸出の総数とは異なり、ステンレスでは組合加盟企業の全世界向け出荷数量が把握できないので省略する。実際には組合加盟企業の殆どが中国、マレーシア、タイ、ベトナム、フィリピンなどのアジア諸国で生産されており、現地生産された魔法瓶を日本で輸入し、国内出荷数量としてカウントしている。従って現地生産品の日本以外の国への輸出数はカウントされていない。現時点では他国への輸出数は不明である。以上の背景により国内出荷数(図 7.96)について考察する。


図 7.96 品種別出荷数量推移 26)

図 7.96 品種別出荷数量推移26)


⑴  

携帯用魔法瓶

発売当初は 0.75 L~0.9 L の中容量で、順次 1 L 以上の大容量、0.3 L~0.5 L の学童用などサイズ展開を行い、その後カバンに収まるスリムボトルの軽量化、小型化などで 1994 年には 1,000 万本近い数量まで達した。それまでのガラス製携帯魔法瓶のピークは 400 万本だったので、衝撃に強く、コンパクトなデザインなどが顧客に評価されたものと判断する。

その後は 7.9.1 章で触れたようにペットボトルの普及があり、大きく落ち込む結果となり、 2003 年には 528 万本と半減した。直飲みする生活スタイルの変化に合わせ、保冷専用ペットボトル方式の直飲みスポーツボトルや、コップ感覚で飲む、保温、保冷用マグの追加投入も有り、さらに需要を拡大して出荷数を増やし、 2018 年には 2,000 万本を超えるまで成長した。特に 2010 年以降は環境意識の高揚でマイボトルブームも有り、マグボトルは学校で、職場で毎日使用する必須アイテムとなり、真空二重容器や中栓の技術開発も進み、マグボトルが総出荷数量の半数に達するまで成長した。各家庭で 2~3 本保有し、パーソナル仕様の道具として位置付けられた。

2020 年以降はコロナ禍で外出頻度が極端に下がり、現在は 1,300 万本で安定している。近年は魔法瓶組合非加盟の企業も市場参入しており、実際のステンレス鋼製魔法瓶の国内出荷数量は 2,000 万本を超えていると推察する。

⑵  

弁当用魔法瓶

携帯用に続き弁当用のステンレス鋼製魔法瓶は 1983 年から発売され、同年から数量カウントされた。

2012 年までは 100 万本/年程度の安定した出荷数であったが、 2013 年にステンレス容器に直接食材を入れるスープジャーの開発で需要を喚起し、250 万本を超える数量まで成長した。 2020 年以降はコロナ禍での減少となっている。

⑶  

卓上用魔法瓶

電気ポットや電気ケトルの影響が大きく、大きな市場ではなく出荷数量も限定的である。当初はガラス製魔法瓶との並行販売であったが、業務用としてステンレスの堅牢さが評価され、現在では安定して 80 万本程度の出荷数量となっている。

携帯用のステンレス鋼製魔法瓶はガラス製魔法瓶に置き換わり、発売直後から順調に出荷数量を拡大したものの、後に登場するペットボトルの普及で窮地に追いやられた。その後、直飲み文化の浸透と新しい飲み方の提案でレジャー用だけでなく毎日利用するマイボトルとして、さらに弁当用魔法瓶に至っても、直入れ断熱容器(スープジャー)として、新たなニーズを創出している。ステンレス鋼製魔法瓶の生産開発 46 年の歴史で魔法瓶企業は製造コスト削減のために、中国はじめ東南アジア諸国に製造拠点を移管した。その為にある程度の技術流出は避けられず、近年は膨大な生産規模を誇る中国 OEM 企業に生産委託する非加盟企業のオリジナル商品の販売も常態化しているので、それらの商品との差別化を図る、さらなる用途開発や付加機能を搭載した商品づくりに期待したい。

第 7 章 参考文献

1) https://www.thermos.jp/company/history/corporate.html
2) サーモス株式会社 写真、構造図、比較図、情報提供
3) 象印マホービン株式会社 写真、構造図、比較図提供
4) 実公昭 60-26
5) タイガー魔法瓶株式会 写真、構造図提供
6) タイガー魔法瓶株式会社編,「タイガー魔法瓶 70 年のあゆみ:1923-1993」,タイガー魔法瓶,1993.
7) 実公平 7-36620
8) https://www.thermos.jp/company/history/products/titanium.html
9) 伊石翼,「レーザ溶接による真空封止製法」,太陽日酸技報,No.40, 2021.
10) 実公平 2-43313
11) 特許 第 2502254 号
12) 特許 第 5847689 号
13) JIS S 2006:2024 まほうびん
14) 象印ファクトリー・ジャパン株式会社 工程図提供
15) https://www.petbottle-rec.gr.jp/data/transition.html
16) 全国魔法瓶工業組合の出荷数量から筆者作成
17) https://www.thermos.jp/company/history/corporate.html
18) 特許 第 4449725 号
19) https://www.tiger-corporation.com/ja/jpn/product/vacuum-insulated-products/mmp-w-1/
20) https://www.caa.go.jp/policies/policy/representation/household_goods/guide/zakka/zakka_01
21) 特許 第 2735091 号
22) 特許 第 3517361 号
23) 特許 第 7560736 号
24) https://www.nikkei.com/edit/news/special/newpro/2022/
25) https://www.zojirushi.co.jp/syohin/bottle_tumbler/bottle/su-aa/
26) 全国魔法瓶工業組合集計の出荷数量から象印マホービン株式会社が作成した年度別推移表提供

Contents に戻る



 8 ステンレス真空二重瓶(構造)の用途開発

前章ではステンレス鋼製魔法瓶と称するステンレス真空二重瓶を使った民生用断熱容器の用途開発、付加価値について系統立てて記述してきた。特に製造工程における真空二重瓶の塑性加工、溶接、排気と各社独自の技術を活用しており、当然産業用にもその用途は無限にある。実際に産業用として量産に至った製品や研究用としての試作品について調査し、真空二重容器として飲料容器以外の展開を簡単に以下に紹介する。

8.1 不凍パイプ (象印マホービン 1989 年~ 2006 年)

⑴  
背景
北海道などの厳寒地域では水道管凍結防止として、一般家庭に「水抜き栓」装置が設けられている。就寝前には蛇口を開け、水抜き栓も開き、水道管の中の水を抜く。起床時にはその逆をしなければならない。冬の日課であるが、これを怠ると水道管の凍結、最悪は破裂になるという。このトラブルが毎冬 5 万回程度発生していた。 1987 年初冬に象印マホービンは北海道の設備業者から凍らない水道管の製作依頼を受け、内外筒の板厚、真空層、長さなど設計し、試作検証を繰り返した結果、性能を満足する構造、仕様が完成し、 1989 年の発売に至った。
⑵  
構造及び性能
配管用ステンレス鋼管を使用し、板厚は内筒 1 mm、外筒 1.2 mm で真空層 10 mm とした真空二重管で、その長さは 800 mm~3,500 mm まで 10 サイズ揃えている。チップ管による排気方式のため、チップ管を外周金属で保護する構造となっている。
断熱性能は−30 ℃雰囲気で 40 時間、−20 ℃では 85 時間まで凍結を防げる高い性能を堅持している。不凍パイプの断面構造(図 8.1)、外観と仕様(図 8.2)、住宅内使用例(図 8.3)、断熱性能(図 8.4)を以下にそれぞれ示す1)

図 8.1 不凍パイプの断面構造 1)

図 8.1 不凍パイプの断面構造1)



図 8.2 不凍パイプの外観と仕様 1)

図 8.2 不凍パイプの外観と仕様1)



図 8.3 不凍パイプの住宅内使用例 1)

図 8.3 不凍パイプの住宅内使用例1)



図 8.4 不凍パイプの断熱性能 1)

図 8.4 不凍パイプの断熱性能1)


 不凍パイプは札幌市から導入が始まり、その性能が高く評価され、翌年の第一回省エネバンガード 21aで「省エネルギーセンター会長賞」を受賞した2)。その後、真空二重パイプの技術は保温、保冷管、牛乳などの高温殺菌工程やアイスクリームなどの移送に使われるホールドパイプや蛇腹状で自在に曲げられる保温用のフレキシブルパイプとして、例えば温蔵庫のラジエーターと貨物積載部のヒートパネルとを結ぶ配管や給湯部の配管などに使われた。尚、フレキシブルパイプは内筒、外筒をバルジ加工で蛇腹成型し、真空二重パイプが施設レイアウトに合わせ、曲げられる機能が特長となっている。(図 8.5)


a  
一般財団法人省エネルギーセンターにて優れた省エネルギー性を有する民生用エネルギー機器・資材及びエネルギー使用システムを広く公募し、厳正な審査の上表彰することにより、その開発支援・普及促進を図り、資源・エネルギー有効活用を促進しつつ、二酸化炭素などの温室効果ガスの排出量削減に貢献し、もって省エネルギー型社会の構築に資することを目的としている。


図 8.5 フレキシブルパイプの断面構造 1)

図 8.5 フレキシブルパイプの断面構造1)


8.2 自動車冷却水蓄熱システム (タイガー魔法瓶 2004 年~ 2014 年)

⑴  
背景
トヨタ自動車株式会社が開発した北米市場向けハイブリッドカー「プリウス」( 2004 年モデル)に株式会社デンソーとタイガー魔法瓶との共同開発で世界初となる自動車用エンジン冷却水の蓄熱システムが採用された。走行時に温かいエンジン冷却水を真空タンク(ステンレス真空二重容器)内に蓄えておき、エンジン再始動時に効率よく供給し、素早く最適温度まで上昇させ、燃費性能の向上を狙いとしている。
⑵  
製品詳細
真空タンクがハイブリッドカーならではの冷却水の温度低下に対応する。自動車のエンジンは始動時等の冷えた状態では、通常走行時(高温時)と比べてエンジン特性が低くなる。このシステムは走行時の温かいエンジン冷却水を真空タンク内に蓄えておき、エンジン再始動時には真空タンク内で保温された冷却水をエンジンに効率よく供給することで、素早く最適温度に上昇させてエンジン特性を高めるというものである。

 原理図(図 8.6)を以下に示す3)


図 8.6 真空タンク(二重容器)蓄熱システムの原理 3)

図 8.6 真空タンク(二重容器)蓄熱システムの原理3)


⑶ 構造及び性能

 真空タンクは 3 L のステンレス製真空二重容器で、その外観を図 8.7 に示す3)。運転後の冷却水を真空タンク(蓄熱容器)に回収し、翌日のエンジン始動時にあたたかい冷却水を供給すると始動時の排ガスを押さえることができるので、真空タンクに求められるのは高い保温性能、振動に強い容器構造である。


図 8.7 真空タンクの外観 3)

図 8.7 真空タンクの外観3)


基本的に真空二重瓶は口部からの熱移動が殆どで、そのために口部には中栓で断熱する構造としているが、このシステムでは水温が低い下部に口部を配置させる(容器を逆さにする)ことで保温性の向上を実現させている。逆さにした容器の断面を図 8.8 に示す4)。実際に口部を下にすることで保温性能が通常の上部口に比べ 24 時間で 10 ℃程度高い保温性が確認できている。(図 8.9)


図 8.8 蓄熱容器の断面構造 4)

図 8.8 蓄熱容器の断面構造4)



図 8.9 蓄熱容器の上下逆使用による保温性能 4)

図 8.9 蓄熱容器の上下逆使用による保温性能4)


振動に関してもステンレス真空二重瓶は内筒、外筒の口部先端を溶接する片持ち支持の構造なので、運転時の振動を内筒タンクが大きく振幅して過大な応力が口部に集中する。これを回避するために内筒底に支持ピンを設け外筒底に接合して両持ち支持としている。但し、両持ちにすれば接合部から熱が逃げるので保温性の悪化が懸念される。支持ピンの外側の外筒に別のカバーを設け、内、外のタンクが支持ピンを介して接合し、その接合部を真空内に収めることで外部への放熱を低減している。(図 8.10)


図 8.10 支持ピンの断面構造 4)

図 8.10 支持ピンの断面構造4)


8.3 真空パネル (象印マホービン 2007 年~ 2013 年)

⑴  

背景

ステンレス真空二重瓶の製造技術から開発された板状の真空パネルで、主に面部分よりの放熱、入熱の防止や熱源からの輻射熱の遮断などの効果に期待できる。象印マホービンでは半導体関連企業向けに、熱処理設備の断熱によるコンパクト化、均温化による生産品の品質安定のために真空パネルが採用された。

⑵  

製品詳細

ステンレスの表板と裏板の内部に断熱材を組み込むことで、ステンレスの板厚を厚くすることなく内部を高真空にしており、ステンレスを伝わって逃げる量が少なく、高い断熱性能を有する。真空パネルの外観を図 8.11 に示す5)


図 8.11 真空パネルの外観 5)

図 8.11 真空パネルの外観5)


製造工程は 2 枚の薄板ステンレスをプレスし、断熱材を挟み込んで外周をシーム溶接した後にチップ管にて排気する方式である。標準品サイズとして、外形寸法は 400 mm×400 mm×5 mm となっており、性能の実例として 23 ℃雰囲気中で熱板側に 230 ℃で加熱した時に反対側側面中央の温度が 42 ℃と温度上昇を押さえた高い断熱効果が得られる。尚、L 字に折り曲げても使用できるようにパネル中心に溝加工を施している。

産業用機械設備の加熱部や発熱部の断熱、遮熱

クリーンルーム内などの清浄な環境での断熱、遮熱

家電の省エネ化、小型化(省資源)、高効率化など

建築材料として外気との断熱

8.4 宇宙実験用真空二重容器

8.4.1 JAXA 宇宙用真空二重容器(象印マホービン 2004 年)

(1)  

背景

2004 年 2 月 4 日、JAXA(宇宙航空研究開発機構)から象印マホービンに一通のメール問い合わせが入り、5 日後の 2 月 9 日、JAXA が象印マホービンを訪れ、宇宙で使用するマホービンの打ち合わせが行われた。JAXA では国際宇宙ステーションの日本実験棟「きぼう」における本格的な宇宙環境利用の先駆けとして、たんぱく質の結晶生成実験を進めており、無微小重力下で分子配列の良好なたんぱく質結晶を生成させ無事地球へ持ち帰るための断熱容器を製作してほしいという依頼内容であった1)

ロシアの補給船「プログレス」に載せ打ち上げられるのが 8 月で時間的な余裕は無かったが、早急な容器開発が行われ、 2004 年 8 月 11 日カザフスタン・バイコヌール基地から打ち上げ、14 日国際宇宙ステーションにドッキング完了し「きぼう」での実験が開始された。

その後、約 2 ヶ月間の実験が終了し、10 月 24 日に無事地球へ帰還、27 日には日本へ容器が到着し、ミッション終了となり目的を達成した6)

(2)  

製品詳細

JAXA の当初の要望は直方体の容器で、

  • 外寸 13 cm×13 cm×9 cm/内寸 11 cm×11 cm×7 cm
  • 40 G の衝撃対策で、容器フタは振動、衝撃に耐えるようボルト/ネジ止め必要
  • 温度条件:20 ℃ スタートで 25 ℃ 以下/18 時間(環境温度 12 時間まで 25 ℃ 一定、その後 6 時間で 25→40 ℃ へ上昇)

であったが、製作期間が 2 ヶ月と短いため、タイで量産中のステンレス鋼製魔法瓶の中で温度性能が条件クリアできる既存品をベースとして使用し、改良を加えることとなった。

蓋部分はステンレス製下蓋を容器にロウ付けし、上蓋との嵌合は JAXA 要望通りボルト締め仕様とした。外からの衝撃に耐え断熱性能が確保されるために、胴部分にはステンレス製の胴リングが 3 ヶ所接着され、底部分にもステンレス製底カバーが接着された。真空二重容器の外観(図 8.12)を以下に示す1)

であったが、製作期間が 2 ヶ月と短いため、タイで量産中のステンレス鋼製魔法瓶の中で温度性能が条件クリアできる既存品をベースとして使用し、改良を加えることとなった。

蓋部分はステンレス製下蓋を容器にロウ付けし、上蓋との嵌合は JAXA 要望通りボルト締め仕様とした。外からの衝撃に耐え断熱性能が確保されるために、胴部分にはステンレス製の胴リングが 3 ヶ所接着され、底部分にもステンレス製底カバーが接着された。真空二重容器の外観(図 8.12)を以下に示す1)


図 8.12 真空容器の外観 1)

図 8.12 真空容器の外観1)


8.4.2 JAXA 宇宙用真空二重容器(タイガー魔法瓶 2014 年~ 2022 年)

(1)  

背景

2014 年、JAXA(宇宙航空研究開発機構)からタイガー魔法瓶「産業機器に関するお問い合わせ」宛てに真空容器の特注品製造について問い合わせがあった。具体的には開発中の小型回収カプセル内に宇宙実験サンプルを保冷状態で格納する断熱容器の開発への協力要請であった7)

JAXA では国際宇宙ステーション(ISS)から地上に物資を回収する小型の大気圏再突入カプセル(HTV 搭載小型回収カプセル)の開発を進めていた。たんぱく質の結晶などの貴重な宇宙実験サンプルを保冷状態で格納する真空二重断熱容器を小型回収カプセルに収納し、宇宙ステーション補給機「こうのとり」7 号機からカプセルを分離させ地上に帰還させることを目的としていた。

その実現のためには「4 ℃で 4 日間以上維持できる断熱性能、かつ回収カプセル内に搭載された状態で、最大 40 G という衝撃に耐える強度」を有する真空二重容器を開発する必要があった。

小型回収カプセルは 2018 年 11 月 11 日に地球に無事帰還。JAXA がカプセル回収後にカプセル内の真空二重断熱容器内部の温度データを解析したところ、ISS でサンプルを格納してから、地上で宇宙実験サンプルを取り出すまでの 5.6 日にわたって、ほぼセ氏 4 ℃(温度変化 0.3 ℃)に保たれていたことが確認されている。(JAXA が開発試験にて検証した保冷性能は 4 ℃±2 ℃で 7.9 日維持)8)

(2)  

製品詳細

真空二重容器に要求されたのは下記のスペックとなっている。

真空容器内のサンプル保存温度 4 ℃±2 ℃を 4 日間以上の保冷性能

着水衝撃 40 G に耐える容器強度

内容器+外容器の合計で 10 kg 以下の質量制限

真空二重容器は高さ約 30 cm の真空二重構造のステンレスの外容器と内容器からなり、保冷性能を向上させるため、内容器の口部からの入熱量を低減するように内容器に外容器を重ねあわせる構造を採用している。小型回収カプセル及び真空容器断面を図 8.13 に、外容器、内容器の外観を図 8.14 にそれぞれ示す7)


図 8.13 小型回収カプセル全体の構成と真空二重容器の断面 7)

図 8.13 小型回収カプセル全体の構成と真空二重容器の断面7)



図 8.14 外容器、内容器の外観 7)

図 8.14 外容器、内容器の外観7)


要求スペック①に関しては熱数学モデルを用いた保冷性能解析を実施し、目標以上の保冷性能を実現可能な設計を行った。スペック②についてはカプセル着水時の衝撃等、飛行中の各種加速度に十分耐え得る形状、構造、肉厚等を構造解析から導き出し、設計の確定作業を行った。また構造決定においては③の質量制限も考慮する必要があるため、極力薄肉化を図りつつも十分な強度を確保するために、高い強度が必要な部分だけを厚肉にするなど精緻な設計を行い、質量制限の範囲内で強度と重量の両者の要求を満足させた。回収された断熱保冷容器は特段損傷もなく、また断熱、保冷の機能性能が維持されており、宇宙実験サンプルを自国の回収カプセルで保冷回収するという日本初の挑戦において、設計どおりの性能を発揮した8)

この宇宙向け真空容器や前述の冷却水蓄熱容器など、宇宙産業や自動車産業は解析が開発の主体で、筆者が設計開発に携わっていた 1980 年代の魔法瓶業界での試作~検証の繰り返しで長期の期間を要する開発手法とは異なっている。熱解析や強度解析の結果を経て目標値を満足するために形状変更や構造設計を繰り返し行うことで、試作品を用いたトライ&エラーによる検証試験を大幅に省略する手法である。

タイガー魔法瓶の宇宙用容器開発に参画した技術者の方からは「今回の宇宙用真空容器開発では、JAXA や関連企業との連携により詳細な数値解析に基づき設計・製造した 1 式の試作品を用いて熱や構造に関する設計検証を実施することで、フライト品の設計確定までを非常に効率的に行うことが出来た。」と伺った9)

回収用カプセルの断熱保冷容器の成功を踏まえ、さらなる挑戦となる第二のフェーズとして、異なる保冷性能や容器の再利用が要求される JAXA の新たな真空二重容器の開発を担うことになった。前回の回収カプセル用の断熱保冷容器は、復路(宇宙からの帰還)のみの使用であったが、今回は実験用試料を断熱保冷容器に格納した状態で地上から ISS に打ち上げ、「きぼう」日本実験棟における宇宙実験のあと、宇宙から地上に回収するという往復輸送に用いるためのものであった。往路では米国 SpaceX 社のドラゴン補給船にて、常温の貨物と共に国際宇宙ステーション(ISS)に打ち上げられ、ISS 到着までの間、宇宙実験試料を所定の温度(20 ℃)に維持する必要がある。荷物は打ち上げに先立って他の荷物と共に宇宙船に積み込まれるため、打ち上げが延期となった場合でも温度逸脱が発生しないようにするために十分な保冷能力が必要となる。ISS 到着後は、約 1 ヶ月に及ぶ宇宙実験の後、生成されたタンパク質結晶は、本断熱保冷容器に格納され往路と同じくドラゴン補給船に搭載されて地球に帰還する。ISS の保冷庫から取り出してから地上に回収するまでの間、往路と同様に所定の温度に維持する必要がある。また、タンパク質生成結晶実験は「きぼう」実験棟で繰り返し実施されており、その用途に供するために繰り返し再利用できることも必要である8)

第二のフェーズで新たに設定された 3 つの要求事項を記す。

厳格なまでの保冷温度管理

打ち上げから ISS までの実験試料の温度維持のため、保冷剤を同梱することで 20 ℃±2 ℃を 12 日間以上保つ。ISS から地上に回収するまでの期間も、20 ℃±2 ℃で 7.5 日以上保つ。

複数回利用に耐え得る設計

長期的な利用を想定し、1 回限りの使い切りではなく、 3 年以上または 6 回以上の再利用を可能にする。

大幅な軽量化・サイズダウン

真空断熱技術による高性能な保冷機能を保ちながら、容器の質量を 3.16 kg 以下と容器サイズをコンパクトに製作する。

開発された真空二重容器(左側)と上記の小型回収カプセル用の真空二重容器(右側)の外観を図 8.15 に示す9)。小型回収カプセル用の容器に比べ外径 130 mm と 55 %縮小し、重量も 2.9 kg と 70 %軽量に設計されている。


図 8.15 真空二重容器の外観 9)

図 8.15 真空二重容器の外観9)


第二のフェーズで開発したタンパク質実験用の真空断熱容器も長期間の保冷性能を確保するために内容器、外容器は回収カプセル用真空断熱容器と同様に重ね合わせ構造となっている。

上記の①、②、③に要求を満足する真空断熱容器を実現するために JAXA は、回収カプセル用真空断熱容器の開発時に開発した数値解析技術を活用し、保冷性能、構造強度、重量等の要求を踏まえた設計を実施した。今回の容器は回収カプセルに直接搭載されるのではなく、宇宙船の貨物室に格納される荷物として輸送されるため、緩衝材等で梱包された状態で打ち上げ・回収される。従って衝撃に関する要求条件が緩和され、それを踏まえた構造設計となっており、質量は回収カプセル用の約 10 kg に対し約 3 kg と小型化、軽量化が図られている。

以上のような厳しい条件が要求された真空二重容器は、JAXA や宇宙開発機器関連企業と連携して、開発を完了し、計画通りドラゴン補給船にて ISS に打ち上げられ、1 ヶ月間の宇宙実験の後に 2021 年 7 月に無事に ISS からのタンパク質結晶の保冷回収に成功した。 2024 年時点で、同容器を使い通算 5 度の宇宙との往復保冷輸送に成功している8)

真空二重容器の魔法瓶構造が宇宙産業に貢献できたことを筆者は誇らしく思うと同時に断熱容器による用途開発の重要性を痛感した。

8.5 真空ワイヤレスポータブルスピーカー (サーモス社 2015 年~ 2020 年)

(1)  

背景

2015 年にサーモス社からステンレス真空二重容器の製造技術を活かし、新規事業として新ブランドを「VECLOS(ヴェクロス)」とし、Bluetooth 対応の真空ワイヤレスポータブルスピーカーが発売された10)

スピーカーには世界初「高真空二重構造」のエンクロージャー(筐体という意味で、コンピューターやスピーカーの「箱」を指す言葉)が特徴となっている。空気の振動を伝えない真空の特性を活かし、エンクロージャーから発生する雑音を効果的に遮断することで、本来スピーカーが発するクリアな音を再現している。開発には音響機器企業が協力しており、エンクロージャーの構造や、設置方法などについては、そのノウハウが活かされている。

(2)  

製品詳細

VECLOS は、真空二重構造によるエンクロージャーの優れた振動減衰特性と、雑音の原因となる振動を伝えないという真空自身の特性を活かして開発されたスピーカーである。空気の振動が伝わらない真空の特性を活かし、エンクロージャーの発する雑音を遮断することで、ノイズの少ないクリアな音を実現している。製品外観を図 8.16 にエンクロージャー断面構造を図 8.17 に示す。


図 8.16 真空ワイヤレスポータブルスピーカーの外観 10)

図 8.16 真空ワイヤレスポータブルスピーカーの外観10)

図 8.16 真空ワイヤレスポータブルスピーカーの外観 10)

図 8.17 エンクロージャーの断面構造
特許 第 5706034 号より転載 11)


2018 年には理想的な点音源を再現するため、専用開発の 52 mm フルレンジスピーカーユニットを採用したデスクトップ型の真空エンクロージャー(図 8.18 やスピーカーのラインナップを拡充するほか、同年にはスピーカーからポータブルオーディオ分野へと商品の幅を広げ、同じ真空エンクロージャー組み込みのオーバーヘッドイヤフォンやインナーヘッドイヤフォンも発売された。(図 8.19)


図 8.18 デスクトップ型真空スピーカーの外観 12)

図 8.18 デスクトップ型真空スピーカーの外観12)



図 8.19 オーバーヘッドイヤフォンや

図 8.19 オーバーヘッドイヤフォンやインナーヘッドイヤフォンの外観13)


最小のインナーヘッドイヤフォンの部品構成は図 8.20 のように筒型の真空エンクロージャーとなっており、その断面構造を図 8.21 に示す14)


図 8.20 インナーヘッドイヤフォンの部品構成 13)

図 8.20 インナーヘッドイヤフォンの部品構成13)



図 8.21 インナーヘッドイヤフォンの

図 8.21 インナーヘッドイヤフォンの真空エンクロージャーの断面構造14)


断面図より直径約 10 mm のプレス加工されたステンレスパイプの内外筒を圧入後、底を溶接する。

口元は隙間を持たせて、ペースト状のろう材を口元に部分的に塗布、高温(1,000 ℃程度)で溶かして真空封止する構造となっている。

耳に装着できる軽量且つコンパクトなサイズでありながら、優れた剛性と制振性を持つエンクロージャーを実現している。このサイズでインナーヘッドイヤフォンのエンクロージャーとして取り入れた金属プレス加工及びロウ材封止による排気方式の技術力の高さは実に秀逸と思われる。


第 8 章 参考文献

1) 象印マホービン株式会社 写真・図面・情報提出
2) https://www.eccj.or.jp/vanguard/commende01.html
3) https://www.tiger-corporation.com/ja/jpn/for-business/oem_butsuryu01/
4) 宮田喜夫,森川敏夫,伊藤茂雄,豊島敬,「エンジン暖機用蓄熱システムの開発」,デンソーテクニカルレビュー,Vol.10,No1,pp.88-95 (2005)
5) https://www.zojirushi.co.jp/corp/kinenkan/2009-2010kikaku/index.html (2024.9.16 閲覧)
6) https://www.jaxa.jp/press/2004/08/20040804_protein_j.html
7) https://www.tiger-corporation.com/ja/jpn/for-business/oem_aerospace01/
8) 宇宙航空研究開発機構(JAXA)へのインタビューに基づく (2024.11.13)
9) タイガー魔法瓶株式会社 写真・情報提出
10) https://www.thermos.jp/company/history/corporate_chronology.html
11) 特許 第 5706034 号
12) https://www.thermos.jp/info/detail/20180507160829.html
13) https://www.thermos.jp/info/detail/20180726101324.html
14) サーモス株式会社 断面構造図提出

Contents に戻る



 9 終わりに

我が国では戦後の高度成長期に入り、生活様式がダイニングで食事するように変わり、手軽にお茶やインスタントコーヒーが飲めるようにテーブル上にはガラス製魔法瓶の花柄ハンドポットが置かれていた。家族分が賄える大容量エアーポットの登場でさらに需要が増えて、魔法瓶が一家に一台の必需品となった。ドイツから携帯用としてスタートした魔法瓶が日本では毎日使用する卓上用として容量、形、機能まで進化し、家庭用品として浸透したのは先人技術者達の工夫と努力の結果と言える。

筆者がガラス製魔法瓶の設計に携わったのは、まさしくその需要が年間出荷総数 2,900 万本1)と全盛期の時代であった。業界共通の中瓶を使う場合、栓の機能や、吐出方式で工夫を凝らし特徴付けしなければならず、まさしく競合他社とはパテント出願合戦の様相を呈した。ときには製品の機能に対応して中瓶からその形状を再設計し、製品全体で差別化を図ることも可能となっていた。その場合、製品設計に拘りを持ち、特殊な形状の中瓶を試作し、検証過程で熱履歴や強度試験で千本近く中瓶を破損させた苦い経験を思い出す。

そのガラス製魔法瓶であるが現在でも年間 100 万本の生産となっていて、国内 30 万本、輸出 70 万本と低位安定しており、まだ需要が存在している。数少ないながらも設備のメンテナンスを実施しながらバルブや中瓶を加工されている象印ファクトリー・ジャパン株式会社の福町工場に対して、その企業努力に敬意を表したい。

ガラス真空二重瓶は装置産業的な事業要素で中瓶の品種制限もあり、多彩な形状の製品展開までは限界があったが、それに比べステンレス真空二重瓶は容器自身が各社独自の製造技術で自社開発が始まり、用途開発も進み、多種な製品が発売された。さらに加工設備の小型化や特殊化も図れるので、民生用に限らず、産業用としてもその用途開発が展開されている。

そのステンレス鋼製魔法瓶であるが、ペットボトルの出現で苦難の時代を迎えたものの、「直飲み」の新しい飲み方も日常的に定着し、それがマグボトル開発の手掛かりとなり、パーソナルユースとして職場や学校で毎日使用する、一人一本の生活必需品となるまで拡大浸透した。現在では普段使いの携帯用ボトルとして毎日利用されている。これだけ需要が広がったのは 2019 年頃から始まった海洋汚染の防止やプラスチックごみの削減など、環境意識の高まりも後押ししたと言える。さらには企業単独活動だけでなく自治体と連携して給水・給茶スポットを広め、循環型モノづくりとしてマイボトルを回収する動きなどもあり、まさしく時流に乗った商品群である。

一方、製造コスト削減で魔法瓶企業は生産拠点を中国始めアジアにシフトし、近年では現地での製造技術や品質管理能力も格段に向上している。その結果、逆に膨大な生産能力を有する中国 OEM 供給企業による PB(プライベートブランド)製品の日本進出も常態化し、市場では携帯ボトルが氾濫している環境下にある。現在も魔法瓶企業は PB 品と差別化を図るべく、独自の用途開発や付加機能を鋭意研究し商品化させている。その姿勢にエールを送りたいのと、引き続き熱の番人として業界をリードしていただきたい。

さらにステンレス真空技術及び加工技術は携帯用ボトルに限らず、食材の保温、保冷、調理用として、また断熱を目的とした産業用として、その用途は無限にあると言える。従って断熱機能部品としての役割に備え、基本工程である、塑性加工、溶接、排気、表面処理などの技術開発は生産規模の多寡に関わらず不断の活動が重要である。現在、各社生産拠点は海外にシフトしているが、研究設備として国内での生産技術力の向上にも大いに期待して、魔法瓶技術系統化調査の報告とする。

参考文献

1)全国魔法瓶工業組合提供(ガラス製魔法瓶 1983 年国内+輸出総出荷数)


謝辞

系統化調査報告書の執筆に際し産業技術の歴史を紐解く著書、特定分野の技術情報誌、Web 情報から入手するのが王道であるが、残念ながら魔法瓶と言う限られた民生用品では事業規模や関連企業数からその情報入手が困難であったので、筆者の判断でまさしく業界そのもの、全国魔法瓶工業組合様、各魔法瓶企業様から頂いた貴重な情報を中心に執筆させていただいた。従って参考文献としてその殆どが企業様からの年史情報や直接の交信でご提供頂いた写真、図面であることをご理解いただきたい。逆に企業様からの情報提供がなければ今回の魔法瓶技術の系統化調査は完成しなかったと言える。

関連団体、各企業ご担当の皆様には大変ご多忙の中、資料調査及び作成まで意欲的にご協力を賜りました。特に CAD 図面が無い時代の構造図はパテント図の調査や、手書き図面に加工を加え、さらには新たに工程図や簡易図も作成頂き、そのような多大なご支援に対して感謝の念に堪えません。

魔法瓶技術の調査に貴重な情報をご提供頂いた下記の皆様に厚く御礼申し上げます。

全国魔法瓶工業組合

 能登久哉氏

象印マホービン株式会社

 小林尚史氏、森本順治氏、杉山一美氏

象印ファクトリー・ジャパン株式会社

 星加邦博氏、島川宏幸氏、谷口昌彦氏、

 井上博次氏

タイガー魔法瓶株式会社

 中井啓司氏、藤川尚輝氏、玉矢賀子氏、

サーモス株式会社

 松山真氏、三浦育男氏、初本邦生氏、稲越伸一氏、

 神林由香氏

ピーコック魔法瓶工業株式会社

 木村剛治氏、濵子浩氏

宇宙航空研究開発機構(JAXA)


Contents に戻る



魔法瓶技術の系統図




画像をクリックすると PDF が開きます。



魔法瓶技術の系統化調査 産業技術史資料 所在確認

名称 製作年 製造社 所在地 選定理由
1 ガラス製魔法瓶誕生時期の携帯用魔法瓶 1910 年頃 AMERICAN THERMOS BOTTLE CO. サーモス新潟事業所
新潟県燕市吉田下中野 1435
ドイツサーモス社が 1907 年にアメリカで工場建設、生産を開始した当時の携帯用魔法瓶で、ドイツ製と同じデザインであり魔法瓶誕生時期に近い貴重な資料である。これらの商品を基本として世界中に魔法瓶が拡大した。日本でもこの魔法瓶から真空二重瓶の構造、性能を研究開発し、国内生産が始まった。
2 卓上用ガラス製魔法瓶用の中瓶製造装置 1965 年 ニプロ株式会社 象印ファクトリー・ジャパン株式会社 福町工場
大阪市西淀川区福町 1-3-21
国内初の卓上用ガラス製魔法瓶の中瓶(真空二重絞り瓶)の一貫生産ラインである。外バルブにチップ管を溶着、内バルブにスペーサーを自動接着させ両バルブを一体化後、外バルブ上部をガス火で絞りながら内・外バルブを一体化し、二重空間壁を銀メッキして真空排気する連続生産設備である。
3 卓上用ガラス製魔法瓶用の両口瓶製造装置 1983 年 ニプロ株式会社 象印ファクトリー・ジャパン株式会社 福町工場
大阪市西淀川区福町 1-3-21
国内唯一のガラス真空二重瓶(胴継ぎ瓶)の一貫生産ラインを基本とした両口瓶製造ラインである。両バルブ底部に下部管及びチップ管を溶着、外バルブは墨付け後胴部を切断、その後内バルブと一体化して二重空間壁を銀メッキして真空排気する両口瓶の生産設備である。
4 卓上用魔法瓶
(ハンドポット VN 型)
1970 年 象印マホービン株式会社 まほうびん記念館
大阪市北区天満 1 丁目 20 番 5 号
卓上用魔法瓶として一世を風靡した機構搭載のテーブルポットで、ハンドル上部のつまみ操作で蓋開閉し、製品を傾けると内容湯が吐出するオート栓と底が回転する構造となっている。
5 空気圧利用式卓上用魔法瓶(エアーポット AP 型) 1973 年 象印マホービン株式会社 まほうびん記念館
大阪市北区天満 1 丁目 20 番 5 号
製品を持たなくても吐出できる空気圧利用式の卓上用魔法瓶である。蓋にはポンプ機構を内蔵させ、プッシュボタンを押す動作で使用出来、各家庭一台保有する先駆けとなった商品である。レバー式が先行したが、操作性が良いプッシュ式が主流となった。
6 落下式ポット
(VYA 型)
1983 年 象印マホービン株式会社 まほうびん記念館
大阪市北区天満 1 丁目 20 番 5 号
両口瓶の下部管から吐出する落下式魔法瓶で内容湯の残量が分かる水量表示機能付きの落下式ポットである。現在でも業務用として使用されステンレス製の真空二重瓶を使った機種まで展開している。
7 レバー式エアーポット(PNB 型) 1985 年 タイガー魔法瓶株式会社 タイガー魔法瓶本社ショールーム
大阪府門真市速見町3番1号
ポンプ部を中瓶肩上部に納め、従来品から 60 mm 全高を下げた全く新しい構造のエアーポットである。指に力を入れなくてもレバーを軽く押せる業界初のレバー式注湯方式を採用、その操作性が好評を博した。発売以来、1機種の売り上げが 60 万本を突破し、業界の注目を集めた。
8 中栓なしエアーポット(AAB 型) 1987 年 象印マホービン株式会社 まほうびん記念館
大阪市北区天満 1 丁目 20 番 5 号
機能部品である中栓を製品に組み込み、中栓着脱操作不要の使用性を簡便にしたエアーポット。コンパクトな両口瓶を内蔵し水位表示まで可能としている。この中栓なし機構は現在もステンレス鋼製のエアーポットにも踏襲されている。
9 ステンレスポット
(AF 型)
1978 年 日本酸素株式会社 サーモス本社
東京都港区芝 4-1-23 三田 NN ビル 21F
ステンレス鋼を真空二重瓶の素材とした業界初の魔法瓶で従来のガラス製の携帯用、弁当用は全てステンレス素材に置き換わった画期的な魔法瓶である。この商品で魔法瓶市場が拡大する牽引力となり、ステンレス素材の金属加工から表面処理、排気方式まで各社生産技術力高揚の起爆剤となった。
10 スリム型ステンレスボトル(STF 型) 1985 年 象印マホービン株式会社 まほうびん記念館
大阪市北区天満 1 丁目 20 番 5 号
かばんに収納できる折り畳み傘サイズで 300~500 mL 容量のスリム型ステンレスボトルである。この商品を皮切りに各社同仕様のボトルを追随生産し、市場を拡大させた。これら商品のモデルチェンジの毎に小型化、軽量化するための製造技術(排気条件、プレス)が向上した。
11 不凍パイプ(PE 型) 1989 年 象印マホービン株式会社 まほうびん記念館
大阪市北区天満 1 丁目 20 番 5 号
真空二重瓶の塑性加工、溶接、排気などの生産技術を活用した産業用の真空二重構造の不凍パイプである。寒冷地での水道管の凍結及び破裂を防ぐ水道管として販売された。住宅サイズに合わせた仕様となっており、その後食品工場で使用された保温、保冷管として、さらには蛇腹仕様も追加され用途拡大が図られた。
12 真空保温調理器(KPA 型) 1989 年 日本酸素株式会社 サーモス新潟事業所
新潟県燕市吉田下中野 1435
ステンレス鋼の真空二重製造技術を民生用品として応用した真空保温調理器である。真空二重構造の断熱容器の中に内鍋が出し入れ自在に収納されており、「保温調理」と言う調理方法まで確立させた全く新しい調理器である。他社も追随し、現在も付加価値を搭載したモデルへと進化を続けている。
13 スーパースリム型
ステンレスボトル
(SS-MA 型)
1998 年 象印マホービン株式会社 まほうびん記念館
大阪市北区天満 1 丁目 20 番 5 号
スリムボトル究極のコンパクト化が図られた携帯用魔法瓶。銀メッキから銅箔に、排気後にはチップ管付き外底をプレスし、真空層を 1 mm まで圧縮し同容量サイズでは当時、業界トップの小型化、軽量化が図られたモデルである。
14 スポーツボトル(FBE 型) 1998 年 日本酸素株式会社 サーモス新潟事業所
新潟県燕市吉田下中野 1435
業界初の直飲みタイプの保冷専用真空断熱容器で、ペットボトルの普及に伴い、直飲み文化の浸透に加え飲料水を保冷して飲む文化も醸成されるきっかけになった商品である。ペットボトル風の飲み口に加え、スポーツ用として胴部にグリップ力のあるゴム部品を装着している。各社直飲みスポーツボトルを開発追随し大きな市場を形成した。
15 ワンタッチケータイマグ( JMW 型) 2000 年 日本酸素株式会社 サーモス本社
東京都港区芝 4-1-23 三田 NN ビル 21F
少量を味わいながら飲む最適な飲み口を考案し、保温・保冷が可能なマグボトルで業界初のワンタッチオープン機構を内蔵させた真空断熱容器。この機構は現在も踏襲され、累計販売が 3,000 万本※を超えるほど浸透した商品である。
※ 2012 年 8 月〜 2024 年 4 月末時点累計出荷本数
16 真空断熱ボトル(MMZ 型) 2014 年 タイガー魔法瓶株式会社 タイガー魔法瓶本社ショールーム
大阪府門真市速見町3番1号
外筒 0.35 mm のステンレス材料を水圧バルジにて薄肉加工し、内筒 0.3 mm をスピニング加工で 0.08 mm と極限まで絞り、500 mL サイズで 190 g と業界最軽量とした携帯用魔法瓶。飲み口部は部品構成と溶接方法を考案して、なめらか飲み口形状を実現したマグボトルである。
17 ステンレスマグ  (SM-ZA 型) 2020 年 象印マホービン株式会社 まほうびん記念館
大阪市北区天満 1 丁目 20 番 5 号
瓶口をシールするパッキン(シリコーンゴム特殊グレード)と表面処理された栓(ポリプロピレン)の2部品を一体成型した構造のマグボトルである。手入れ性改善とパッキン紛失が無くなったことで市場で大きく評価され他社も追随しており、パッキン一体型栓が普及しつつある。
18 真空断熱炭酸ボトル(MTA 型) 2022 年 タイガー魔法瓶株式会社 タイガー魔法瓶本社ショールーム
大阪府門真市速見町3番1号
直飲み仕様の携帯用魔法瓶が浸透拡大する中、炭酸飲料でもその使用が可能となった商品。開栓時に圧力を優先的に逃がす構造を持ち、さらに栓内部に圧力感知弁を設け、異常な圧力上昇でも安全弁が自動で作動する機構の携帯用魔法瓶である。他社も追随し市場が拡大しつつある。( 2022 年日経優秀製品・サービス賞 最優秀賞を受賞)

Contents に戻る