放電加工機技術の系統化調査

Systematic Survey on Electrical Discharge Machine Technology


岩崎 健史 Takeshi Iwasaki


■要旨

 放電加工は、電極と工作物の間に微小な放電を繰り返し発生させ、金属を溶融し除去する加工方法である。その原理は1943年にソ連で発明され、1950年代の半ばまでにソ連、欧州、米国に多数の放電加工機メーカが誕生した。一方、日本では1948年に研究が始まり、1953年に最初の放電加工機メーカが誕生した。
 放電加工の特長は、一般に難削材と呼ばれる機械加工が困難な硬度や靭性の高い金属の加工を得意とする点である。その特長から、米国では航空宇宙産業向けの特殊部品などの加工に普及し、日本では主に金型部品の加工に普及した。
 当初は欧米のメーカが先行していたが、1980年頃には、日本のメーカが世界シェアの過半を占めるまでに成長した。日本の急速なシェアアップの理由のひとつは、目覚ましい進歩を遂げていた半導体を始めとする日本のエレクトロニクス技術が放電加工機の開発を支えたためである。加えて、放電加工機産業は、主要な販売市場である金型産業の飛躍的な規模増による旺盛な需要に恵まれたことがあった。
 本報告書の前半は、概ね1980年頃までに確立した放電加工機の基盤技術である加工用電源、軸送り機構、数値制御装置の応用技術などの開発史を解説する。また、放電加工機は金型産業の恩恵を受けて発展したが、同時に金型の製作方法を革新する役割を果たしてきた。需要先と供給元が車の両輪として発展した経緯や放電加工機を適用する利点について具体的な事例を基に解説した。
 本報告書の後半は1980年頃から2015年頃までの期間を中心に、放電加工機のその後の発展について調査を行った結果を述べた。例として、新しい半導体素子を適用した高速加工電源、リニアモータ駆動の高速軸送り機構、加工ノウハウを知能化した適応制御などがあり、日本の放電加工機メーカはこれらの世界に先駆けた新技術を次々と生み出し国際的な競争力を高めて行った。
 1980年代以降、欧米のメーカは次々と淘汰され、有力な競合先は高級機ブランドで鳴らしていたスイスの2社となった。1990年頃の日本は、高機能でコンパクトな製品で世界を席巻していたが、当時の流行り言葉で言う“軽薄短小”な製品に必要とされた微細で精密な部品の製造は、世界に冠たる日本の精密金型技術が支えたと言って過言ではない。日本の金型産業の世界一厳しい加工精度や品質への要求に、さらに微細化が加わり、日本の放電加工機メーカ各社は精密加工技術の開発競争に鎬を削り、遂にはスイスの高級機ブランドを超える精密加工技術を手中にした。報告書の後半では、こうした精密加工の要素技術である加工精度や表面粗さの向上、そして加工形状の微細化を追求した開発の歴史などを解説した。
 日本における放電加工機の用途シェアは現在、金型がおよそ7、8割を占めるため、本報告書では放電加工機の用途については金型を中心に調査を行った。しかしながら、今後の放電加工機の発展は、高付加価値な部品加工での用途拡大にあると考えられる。そのため報告書の最後として、将来の用途拡大が期待される高付加価値な部品を加工する目的の特殊な放電加工機についてまとめた。

 

 


■Abstract

 Electrical discharge machining is a fabrication process that melts and removes metal from a workpiece by repeatedly applying a small electrical discharge between an electrode and the workpiece. The principle behind this process was invented in 1943 in the Soviet Union, and by the 1950s, dozens of manufacturers of electrical discharge machines were founded throughout the Soviet Union, Europe and the United States. Research into the process began in Japan in 1949, with the first electrical discharge machine manufacturer established in 1953.
 One of the advantages of electrical discharge machining is the ability to machine hard or tough metals—called difficult-to-cut materials—that are difficult to handle with mechanical processes. It is because of this that the process became increasingly used in America for machining special components for the aerospace industry—in Japan, electrical discharge machining came to be used for machining die and mold components.
 While European and American manufacturers led the market in the early days, Japanese manufacturers grew to claim more than half the global share by the 1980s. One of the factors contributing to Japan’s sharp rise in market share is that Japanese electronics technology, including semiconductors which had made remarkable progress, supported the development of electrical discharge machines. In addition, the electrical discharge machine industry was blessed with the strong demand arising from the rapid growth of its main market—the die and mold industry.
 The first half of this report covers the history of development of the core technologies dedicated for electrical discharge machines by the 1980s, such as the power supplies used for machining, axial feed mechanism, and applied technology like numerical control devices. While development of electrical discharge machines benefited from the die and mold industry, the process also served to transform the methods used for making die and molds. The report outlines how both suppliers and customers worked hand in hand to further development, and also includes specific examples of the advantages of using electrical discharge machines.
 The second half of the report describes the results of research on the subsequent development of electrical discharge machines, focusing on the period from around 1980 to around 2015, with examples including high-speed machining power supply that use new semiconductor elements, high-speed axis feed mechanisms driven by linear motors, and adaptive control that utilizes intellectual machining know-how. Japanese electrical discharge machine manufacturers led the world in developing new state-of-the-art technologies like these, which in turn boosted their competitive edge on the world stage.
 European and American manufacturers found themselves left behind from the 1980s and on, with only two premium machining tool brands based in Switzerland considered potential competitors. Japan took over the world in the 1990s with countless high-performance and compact products. It goes without saying that Japan became the global power in precision die and mold technology that underpinned the manufacture of tiny precision components essential for a broad range of products that were small and light—just like the catchphrase of the time. The Japanese die and mold industry demanded the world’s highest standard of machining accuracy and quality, but now miniaturization had become essential—this sparked fierce competition amongst Japanese electrical discharge machine manufacturers to further develop high-accuracy machining technologies, which eventually went on to exceed that of premium Swiss manufacturers. The second half of the report explores the history of development of elemental technology required for such high-accuracy machining, like enhancing machining accuracy and surface finish, and miniaturization of machined shapes.
 With die and mold currently accounting for around 70 to 80% of electrical discharge machining in Japan, this report mainly examined how electrical discharge machines are used for fabricating die and mold. Electrical discharge machines are expected to be developed to cover a wider range of applications for machining high-value added components in the future, so the last section of this report covers special electrical discharge machines designed for machining high-value added components that are expected to grow in demand moving forward.


■ Profile

岩崎 健史 Takeshi Iwasaki
国立科学博物館産業技術史資料情報センター主任調査員

1980年北海道大学工学部精密工学科卒業
1980年三菱電機㈱入社 放電加工機の以下の業務に従事
加工技術開発、顧客技術支援、自動化装置開発、他
1990年Mitsubishi Electric Automation, Inc,(米) Eng. Mgr.
1996年放電システム部加工技術課長、工作部GR、他
2007年FA事業本部産業メカトロニクス事業部
主席技師長、主管技師長
2017年三菱電機㈱ 専門嘱託、現在に至る
2022年国立科学博物館 主任調査員、現在に至る
2014年~2022年 (一社)型技術協会 理事(編集委員長、他)

■ Contents

 1. はじめに
 2. 放電加工機の概要
 3. 誕生から基盤技術の確立まで
 4. 金型と歩んだ放電加工機 
 5. ワイヤ放電加工機発展の系統化調査
 6. 形彫放電加工機発展の系統化調査
 7. 特殊な放電加工機
 8. おわりに
 系統図



 1 はじめに

 機械加工は、切削加工、研削加工、特殊加工に分類され、放電加工は特殊加工に属している。一般的な機械加工である切削加工や研削加工は、工具や砥粒で金属を除去する加工方法であるのに対し、放電加工は電気エネルギーによる金属の溶融除去を加工原理とし、かつ非接触の加工である点が、他の機械加工と大きく異なる。この特徴により、硬度、靱性が高い難切削材料の加工、或いは微細、狭隘きょうあいな形状の加工で、一般の機械加工に対して優位性がある。
 一般的な機械加工は、その加工原理の源流が古代にまで遡るが、近代的な工業用工作機械は、産業革命の渦中である1770年代にイギリスで誕生した。日本では、1857年にオランダから初めて工作機械が輸入され、その後、1889年に国産メーカが誕生した1.1) 1.2)
 一方、放電加工は比較的新しい技術であり、1943年にソビエト連邦で加工原理が発明され、1950年代の半ばまでにソビエト連邦や東欧、西欧、米国に多数の放電加工機メーカが誕生していた1.3)。日本では、1949年に東大で研究が始まり、1953年に最初の放電加工機メーカが誕生し、翌年国産第一号の放電加工機が完成した。第二次世界大戦後、世界の先端を行くまでに発展した電気・電子機器、半導体などの技術力と、主要な販売先である金型産業の急速な規模の拡大を追い風に、日本の放電加工機産業は目覚ましい成長を遂げ、1980年代には世界トップメーカの多くを日本企業が占めるまでに至った1.4)
 その後、1990年代の円高に端を発した製造拠点の海外シフトやアジア諸国のキャッチアップなどにより、日本の製造業の衰退が言われる状況であるが、放電加工機メーカの世界シェアは現在も依然高い水準を維持している。
 以下、第2章では本報告書を読む上で参考となる放電加工機の基礎を解説する。第3章は放電加工機の誕生から1980年頃までに確立した基盤技術の開発について述べる。第4章は主要な販売先である金型産業の概要、放電加工機の金型加工への貢献と具体的な適用事例を述べる。第5章は1980年頃から2015年頃までのワイヤ放電加工機の技術の発展について述べる。第6章は同様に形彫放電加工機の技術の発展について述べる。第7章は放電加工機の将来の発展を展望する観点で、新たな用途の拡大が期待できる特殊な放電加工機について述べる。
 尚、本調査の対象となった期間中に、「電気用図記号」*1、「面粗さ」などのJIS規格が改定され、また1992年に制定された計量法で「工業単位系」から「SI単位系」への移行があった。新しい単位や表記に統一して執筆したが、引用転載した図表は当時の単位や表記のままとなっている点に留意願いたい。尚、表面粗さに関しては、JIS B 0031:2003で規定される最大高さ粗さRzに対し、厳密には異なる旧規格*2のRmax、Ryを同等と見做し、Rzで統一した。

*1 JIS C 0301が廃止され、IEC 60617第2版と同一規格として1997年と1999年の2回に分けてJIS C 0617「電気用図記号」が制定された。
*2 RmaxはJIS-B0601-1982、RyはJIS B 0601-1994(JIS B 0031-1994)を参照願う。


参考文献

1.1)  松野健一:日本の工作機械産業発展史, 日本音響学会誌, 74(8), pp. 469-474, (2018)
1.2)  日本工作機械輸入協会:日本の工作機械輸入の歴史, pp.4-5, (2019)
1.3)  B.M. Schumacher, R. Krampitz, J.-P. Kruth : Historical phases of EDM development, Procedia CIRP 6, pp.5-12, (2013)
1.4)  日経産業新聞, 放電加工機一動かぬ日本勢優位, 1985.07.19, p.8

Contentsに戻る


 2 放電加工機の概要

 本章では、本報告書を読む上で、参考となる放電加工機の基礎的な事項を説明する。


2.1 放電加工機の概要

(1)放電加工の原理

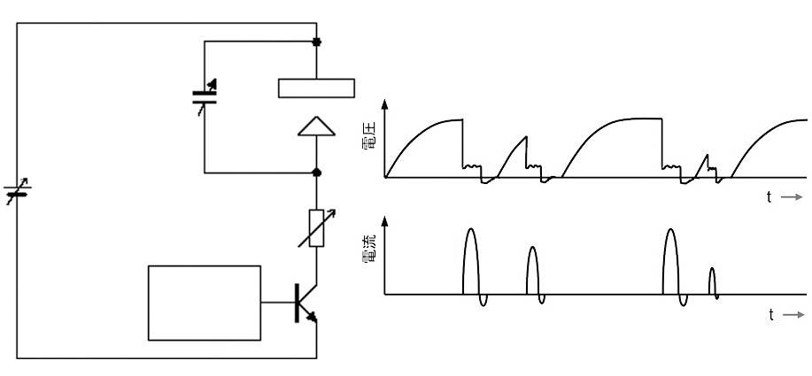
 放電加工のプロセスを図2.1に示す。図の上段左がプロセスの始まりで、加工液に浸した電極と工作物を狭い隙間で対向させ、両者の間に加工電源から一定の電圧を印加して、アーク放電を発生させる。アーク放電による熱エネルギーは、近接する電極と工作物の表面に伝わり、金属表面が溶融、蒸発を始め、周囲の加工液も気化して急激に気泡が膨張する。金属や加工液の蒸気圧は、溶融金属を押し除ける力として作用し、溶融金属は加工液中に飛散し、冷やされて加工屑となる2.1)。加工電源は所定の時間、電流を供給してアーク放電を継続した後、電流を遮断し放電を終了する。その後、一定の休止時間を置いて極間の絶縁回復を待ち、再び加工電源から電圧を印加し、次の放電に移行する。

図2.1 放電加工のプロセス

図2.1 放電加工のプロセス 2.2)

 

一度の放電で、金属が除去された部分には、図2.2に示す単発放電痕と呼ばれるクレータ状の凹みが形成される。単発放電による除去量はµm単位の僅かなものであるが、毎秒数百から数万回の放電を連続して発生させることで、工業的に実用性のある加工が可能となる。

放電痕の表面

放電痕の表面

放電痕の断面概念図

放電痕の断面概念図

図2.2 単発放電痕の表面写真と断面図2.3)


 放電加工の加工原理については、現在も継続して研究が行われ、近年は東京大学の國枝教授等による透明体電極(SiC単結晶)を利用した放電現象の可視化やシミュレーション解析などの研究により、かなり現象解明が進んだ2.4)。しかし、未解明な部分も残されており、今後のさらなる研究に期待がある。図2.3は、近年の研究成果を反映した放電現象の説明図で、アーク柱の大きさ、気泡の挙動などに新しい知見が示された。詳細は、参考文献を参照願う。


図2.3 単発放電現象

図2.3 単発放電現象2.5)

 

(2)放電加工における電圧と電流

 放電加工における電圧と電流の波形を図2.4に示す。極間に開放電圧が印加されると、極間の状態によって変動する放電遅れ時間を経て放電が始まる。加工電源から極間に放電電流Ipが供給され、オンタイム(パルス幅)が経過すると遮断される。放電が発生している間の電圧である放電電圧は、工作物の材質や極間間隙などで異なるが通常は20 V程度となる。これら開放電圧、放電電流、パルス幅、及び休止時間は、加工条件としてあらかじめ設定された値を用いるのが基本であるが、開放電圧以外は、自動的に最適値に制御されるのが一般的である。尚、開放電圧は60 Vから300 V、放電電流は1 A以下から1,000 A程度、パルス幅や休止時間はns単位からµs単位まで幅広い。


図2.4 放電加工の電圧と電流

図2.4 放電加工の電圧と電流2.2)

(3)放電加工の特徴

 金属を加工する機械加工は、切削加工、研削加工、特殊加工に分類され、放電加工は特殊加工に属している。一般的な機械加工は工具や砥粒を用いて金属を除去する方法であるが、放電加工は電気エネルギーにより金属を溶融除去する方法で、また非接触加工であることも、一般の機械加工と異なる点である。これらの特徴により、硬度、靱性が高い難削材の加工や、微細、狭隘きょうあい形状の加工に優位性があり、一般の機械加工と適用分野で棲み分けがなされている。

(4)放電加工機の種類

 放電加工機は、形彫放電加工機とワイヤ放電加工機の2種類に大別される。他に形彫放電加工機から派生した穴あけ加工専用の細穴放電加工機があるが、本調査では対象から除外し、例外として高付加価値な部品加工用の特殊な細穴放電加工機を7章で解説する。

(5)放電加工の用途

 放電加工は、難削材や微細・狭隘形状の加工を中心に利用されているが、用途分野を大別すると以下の通りである。
 1) 金型部品   プレス型、プラスチック成形型、鍛造型、ダイカスト型、他
 2) 難削材部品  航空・宇宙機器、発電タービン、チタン材部品、PCD工具、他
 3) 一般部品   試作部品、小ロット部品、微細・精密部品、医療機器、他
 歴史的には当初、米国では航空宇宙向けのニッケル基合金やチタン合金などの難削材部品の加工に使われ、欧州や日本では工具鋼などの金型部品の加工で使われた。また、専用治工具の製作や工具の手配に時間を要する切削に比べ、生産準備が簡易であるため、切削の対象となる部品でも、試作や小ロットの量産では放電加工が選ばれることが少なくない。尚、正確な統計値はないが、日本における放電加工の用途では、金型が7、8割を占めると推測する。本調査では、放電加工の用途については金型を中心に行った。

 

2.2 形彫放電加工機の概要

(1)形彫放電加工機の構成

 形彫放電加工機の構成を図2.5に示す。形彫放電加工は、切削加工などで予め準備しておいた電極を用い、工作物に電極の形状を転写する加工方法である。加工電源が電極と工作物の間に電気パルスエネルギーを供給し、放電を繰り返し発生させて加工を進行する。電極は銅やグラファイトなどの比較的加工し易く、導電率の高い材料を用いる(表2.1)。加工液は、鉱物油系や合成油系などの石油系加工液を用いる。加工によって生成されるスラッジ(加工屑)は、加工液とともに汚液槽に排出された後、フィルタによってろ過される。電極の昇降はZ軸によって行われ、加工の進行に従い、電極は徐々に工作物に向かって降下する。加工中のZ軸の移動は一定速度ではなく、次に説明するサーボ送り制御によって行われる。


図2.5 形彫放電加工機の構成

図2.5 形彫放電加工機の構成2.6)

 

表2.1 形彫放電加工用の主な電極材料2.2)

電極材種適用備考
精度、面粗さ重視無酸素銅、タフピッチ銅、テルル銅(快削)
グラファイト(汎用)加工速度重視黒鉛(粒径≧5 µm)とタールを原料に成形・焼成
グラファイト(微粒)微細、狭隘形状黒鉛(粒径 数µm)とタールを原料に成形・焼成
銅タングステン超硬合金、精密小物炭化タングステン粒に銅紛を混ぜて焼結
 

(2)サーボ送り制御

 放電加工を安定かつ効率的に進めるには、電極の送り速度を一定にするのではなく、放電の頻度が最適になるように速度を変えるサーボ送り制御が用いられる。その仕組みを以下に述べるが、平均電圧が一定になるように電極送りを制御することから、通称、電圧サーボとも呼ばれる。図2.6の(b)が最適な頻度で放電している場合とすると、(a)は電極送り速度が加工の進行より遅く、極間の間隙が開いている状態である。そのため、極間の絶縁耐力が大きくなり、放電が発生し難くなる。結果、放電遅れ時間が長い波形が多く出現し、平均加工電圧が(b)より高くなる。ここで、送り速度を上げて電極を工作物に近づければ、放電の頻度が高くなり平均加工電圧が下がって(b)の最適な状態に復帰する。また(c)は電極送り速度が加工の進行より速く、極間の間隙が詰まっており、開放電圧を印加すると直ぐに放電するため、短絡アークが発生し易い状態である。遅れ時間の短い波形が多くなり、平均加工電圧が(b)より下がるので、電極送り速度を遅くして極間の間隙を広げるようにすると、放電の頻度が低くなり平均加工電圧が上がって(b)の状態に復帰する。

図2.6 サーボ送り制御の仕組み

図2.6 サーボ送り制御の仕組み2.7)


 以上の通り、放電の頻度を最適に制御することは、平均加工電圧を基準電圧となるように電極送りを制御することに置き換えられる。このサーボ送り制御は、ワイヤ放電加工機も含めた放電加工の速度制御の基本的な方式となっている。
 また、サーボ送り制御では、平均加工電圧をms単位の短いサンプリングタイムで検出し、逐次、送り速度の加減速を指令する。時に短絡現象が続く場合には、電極送りを後退させる場合もあり、電極を昇降するZ軸の駆動は絶えず微小な加減速や後退を繰り返すことになる。

 

(3)加工液処理とジャンプ動作 

 放電加工の最中は、工作物から溶融除去された金属粉や油加工液から分離したカーボンなどのスラッジ(加工屑)が絶えず極間に生成される。スラッジは通常、加工液の流れとともに極間から洗い流されるが、加工が深くまで進行すると、極間に滞留し易くなる。スラッジが滞留すると、スラッジを介して放電が集中し、短絡アークが発生する危険が高まる。従って、安定な加工を図るには、スラッジを積極的に排除する手段が必要である。以下に代表的な手段である加工液処理とジャンプ動作について述べる。

①加工液処理
 加工液処理とは、図2.7に示した事例の様に、電極周囲に加工液の速い流れをつくり、スラッジの排出を促進する方法である。熟練作業者の方案により、加工時間が大幅に短縮されるメリットがある一方、加工箇所で処理の効果に差が生じ、面粗さや電極消耗量にばらつきが生じるなどのデメリットもある。近年は、段取り作業の標準化や加工の再現性を重視し、加工槽内全体を循環する加工液の大きな流れをつくる槽内加工液循環機能を利用する場合が多くなっている。

図2.7 加工液処理方法

図2.7 加工液処理方法2.2)

 

②ジャンプ動作
 ジャンプ動作を図2.8で説明する。左は通常の加工中の状態であるが、任意の時間間隔で電極を強制的にジャンプアップさせ、直ぐに電極を元の位置にジャンプダウンさせる。この動作によるポンピング作用で、極間に滞留するスラッジを工作物の外へ強制的に排出することができる。ジャンプ動作の移動距離や周期は、作業者が最適な値に調整することが可能だが、近年は、加工の安定度合いを自動判別し、ジャンプ動作を最適制御する機能も一般化している。
 近年の切削加工は、高速ミーリング技術により、硬度の高い材料への適用が拡大し、難削材における放電加工の優位性が低下している。そのため、放電加工が優位なもうひとつの領域である狭隘形状で、切削との差別化拡大が重要な課題となっている。一方、狭隘形状の加工では加工液の供給が難しいため、ジャンプ動作の改良は、近年の主要な開発テーマのひとつに数えられる。


図2.8 ジャンプ動作

図2.8 ジャンプ動作2.2)


□放電加工の加工液

 形彫放電加工機で用いる加工液は、当初は灯油等が使われたが、現在は低粘度な鉱油系放電加工液や臭気の少ない合成系放電加工液が使われる。何れも消防法で定める危険物第4類第3石油類(引火点70℃以上)に該当する。安全性の点ではワイヤ放電加工機で使われる水が望ましいが、加工液に油を用い電極を陽極にすると、油中のカーボンが電極の表面に付着し被膜を作り、電極の消耗を防ぐ効果がある。また、付着するカーボン量は電流波形のパルス幅が長いと増加する。これらの現象は、古くから経験的に知られていたが、現象を解明する一連の研究が1990年代になされている*1, *2, *3
ワイヤ放電加工機では、加工中は常に新しい電極が送り出されるため、電極の消耗を防ぐために油を使う必要がない。また、水は取り扱いが安全で、油を使う場合より荒加工速度が数倍速くなるため、ワイヤ放電加工機の加工液には一般的に水が使われている。水が油より速度が速くなる理由は解明されていないが、近年の研究では加工液の冷却性の違いなどが推定要因とされている*4。経験的にも、水は油より大きなエネルギーを投入しても、ワイヤが断線し難いので、冷却性の違いとする説に頷ける点がある。
尚、精密加工用のワイヤ放電加工機では、工作物の腐食防止や微細形状の加工に適した狭い放電間隙とする目的で、油の加工液を使う機種も存在する。

参考・引用文献

*1夏,国枝,他:放電加工におけるカーボン付着が電極消耗に及ぼす影響, 電気加工学会全国大会講演論文集, pp.9-12, (1993)
*2夏,国枝,他:放電加工における陽極と陰極の除去量の相違に関する研究, 電気加工学会誌, 28(59), pp.31-40, (1994)
*3夏,国枝,他:放電加工におけるパルス単位の電極消耗量の変化に関する研究, 電気加工学会誌, 29(62), (1995), pp.18-26
*4北村,國枝,他:水と油加工液を用いた放電加工間隙の観察, 精密工学会秋季大会(2014), pp.231-232

2.3 ワイヤ放電加工機の概要

(1)ワイヤ放電加工機の構成

 ワイヤ放電加工機の構成を図2.9に示す。ワイヤ放電加工は、工作物とワイヤ電極(以下「ワイヤ」)の間に放電を発生させ、数値制御でXYテーブルを駆動してワイヤと工作物を相対移動させ、溝を形成しながら加工を進め、二次元形状の貫通穴を加工する方法である。ワイヤは各種の市販品(表2.2)が用いられるが、一般にはφ0.2 mmまたはφ0.25 mmの黄銅線が使われる。
 ワイヤは、供給スプールから常に新品が送り出され、加工に使われた後は回収されてリサイクルに回る。従って、見かけ上は電極消耗が殆どないことが、形彫放電加工と大きく異なる点である。また、ワイヤには、張力制御ローラと回収ローラの間で一定に制御された張力を与え、放電の反力によるワイヤの振動や撓みを抑え、加工精度の劣化を防いでいる。
 ワイヤ放電加工に用いる加工液は脱イオン水か油であるが、電極消耗が多い反面、加工速度が速い水を用いるのが主流となっている。加工液が水の場合、加工液タンクにはスラッジをろ過するフィルタの他に、脱イオン化を行うイオン交換樹脂を備えている。

図2.9 ワイヤ放電加工機の構成

図2.9 ワイヤ放電加工機の構成2.2)


表2.2 ワイヤ放電加工用の主なワイヤ電極材料2.2)

電極材種線径適用
黄銅線φ0.10~Φ0.30一般用途で標準的なワイヤ電極線
黄銅被覆鉄線φ0.03~Φ0.07タングステンの代替となるコストを抑えた細線ワイヤ
タングステン線φ0.02~Φ0.05微細加工用の細線ワイヤ、高強度だが高価
特殊複合材料線φ0.20~Φ0.35面粗さ向上、高速加工などを目的とする特殊ワイヤ電極

(2)ワイヤ放電加工の加工性能指標

 ワイヤ放電加工で重視される加工性能は、加工速度、加工精度、面粗さである。加工精度と面粗さは、(3)項で説明するセカンドカット法を行い、加工回数を重ねるほど向上する。現在の技術では、諸条件が揃えば、加工精度数µm以下、面粗さRz 1 µm以下が、実用的に可能である。加工速度については、荒加工の場合は次に述べる面積加工速度が代表的な指標である。また、仕上げを含んだ加工速度の比較では、面対加工速度と呼ばれる指標が使われる。

1)面積加工速度
 図2.10に示すFは単位時間当たりの線加工速度を表し、板厚tを乗じたF×tが面積加工速度[mm2/min]である。各社が荒加工の速度を競っていた2000年頃までは、機械の性能を示す代表的な指標となっていた。しかし、加工品質と二律背反の関係があり、高速化のために放電エネルギーが増大すると、荒加工の面粗さや加工精度が悪化し、仕上加工を行う場合には、仕上代が増えて、総加工時間の短縮に繋がらない場合も生じるようになった。最大市場の金型加工のユーザから、荒加工の高速化に支持が得られ難くなり、高速化は徐々に終息に向かうことになった。

 
図2.10 面積加工速度

図2.10 面積加工速度2.2)


2)面対加工速度
 面対加工速度は、所望する面粗さを得るための加工時間の見積もりに使われる。例えば荒加工と仕上加工を3回行い、面粗さRz 3 µmを得るとする。加工周長25 mm、総加工時間20分であれば、面粗さRz 3 µmの面対加工速度は、25÷20=1.25 mm/minと計算される。加工周長を目的の面粗さを得るための面対加工速度で割れば、総加工時間が見積もれる。高精度かつ良好な面粗さを求める金型加工のユーザに対応し、荒加工の速度向上に代わり、面対加工速度の向上に開発目標が変わっていった。
 
3)板厚と加工速度
 図2.11は、荒加工における板厚と最大加工速度の関係を表すデータ(目安)をワイヤの太さや材質毎にプロットしたものである。最大加工速度はワイヤが太いほど速いことが分かるが、これは電極が太いほど大きなエネルギーを投入できることと、加工溝が太くなるため加工液によるスラッジの排出効率が上がるためである。また、細いワイヤの場合、板厚の大きな領域にデータが存在しない。これは、加工溝が細くなり、スラッジの排出効率が低下するため、加工の不安定やワイヤの断線が生じ、一定の板厚で加工の限界となることを示している。

図2.11 板厚と最大加工速度

図2.11 板厚と最大加工速度2.2)


 一般に、板厚が100 mmを超える工作物を加工する場合はφ0.25 mm以上のワイヤが必要で、板厚が100 mm以下であれば、φ0.2 mmのワイヤが良く使われる。φ0.2 mm未満のワイヤが必要とされるのは、インコーナに小さなR寸法が求められる場合である。例えば、φ0.2 mmワイヤによる最小R寸法はR0.13~R0.15 mm程度で、φ0.05 mmワイヤの場合はR0.03~R0.05 mm程度が可能となる。

(3)セカンドカット法(仕上加工)

 ワイヤ放電加工で面粗さや加工精度を向上させる方法としてセカンドカット法がある。セカンドカット法とは、仕上代を残して荒加工(ファーストカット)を行い、その後、加工エネルギーの小さな仕上加工条件に切り換えて、残った仕上代を除去する加工である。複数回の仕上加工を行う場合は、段階的に加工エネルギーと除去量を小さくして、面粗さと加工精度を向上させる。仕上加工の回数は、必要とする面粗さと加工精度によって選択する。図2.12に加工回数に対する面粗さと加工精度の目安を示す。

図2.12 加工回数と面粗さ・加工精度

図2.12 加工回数と面粗さ・加工精度2.2)

□放電加工機の本体構造

 放電加工機の機械本体構造には各種方式がある。ワイヤ放電加工機の例を図に示すが、基本的な構造は形彫放電加工機も同じである。XY軸クロステーブル方式は、比較的小型の機械に多く、テーブルサイズが大きくなり搭載する工作物や加工槽の重量が増すと、XY軸分離駆動方式や、XY軸コラム駆動方式が選択される。また、以下の3つの方式の他に門型と呼ばれる構造も大型機や高精度機で採用される。


参考・引用文献

2.1)齋藤長男, 毛利尚武, 高鷲民生, 古谷政典:放電加工技術, 日刊工業出版新聞社, p.15, (1997)
2.2)著者作成
2.3)表面写真は三菱電機提供、断面図は著者作成
2.4)北村明生、国枝正典:透明体電極を用いた放電加工極間現象の直接観察, 精密工学会誌, 81(11), pp.983-986, (2015)
2.5)國枝正典:放電加工の基礎と将来展望, 精密工学会誌, 71(1), p.58, (2005)
2.6)國枝正典:放電加工における液中放電現象、電気学会誌、131(2), p.89, (2011)を参考に著者作成
2.7)國枝正典:放電加工の基礎と将来展望, 精密工学会誌, 71(1), p.60, (2005) を参考に著者作成

Contentsに戻る


 3 誕生から基盤技術の確立まで

3.1 放電加工の発明と黎明期の研究

 放電現象による金属の浸食作用については、18世紀から研究が行われていた。これを金属の加工に応用する研究は、米国やソビエト連邦(以下「ソ連」)で始められたが、現在の放電加工に繋がる原理は、1943年にソ連の物理学者であったラザレンコ夫妻(Boris & Natalya Lazarenko)(図3.1)が発明したとするのが定説となっている3.1) 3.2)
 彼らは、1930年代から電気接点の摩耗を防止する研究に取り組んでいたが、電気接点が放電によって浸食される現象を金属の除去加工に応用する着想を得た。1943年にそれを論文で提唱するとともに、特許を出願した。その後、放電加工の研究は、ソ連の影響下にあった東欧諸国や英国、スイス、ドイツなどの西欧諸国にも広がった。

図3.1 Boris & Natalya Lazarenko

図3.1 Boris & Natalya Lazarenko 3.2)

 日本も世界の中で、早くから研究を始めた国のひとつであった。ラザレンコ夫妻の放電加工の研究に関する情報は、1947年にニュース映画や文献として、東大で電気工学を専門とする鳳誠三郎教授に伝わった。鳳教授は以前から、電弧放電による電極消耗を研究していたが、水や油の液中では電極が著しく消耗することを熟知していたので、その原理を応用した加工方法であることを直ぐに理解した。鳳教授は1948年から研究に着手し、翌年には加工実証が行える実験設備(図3.2)も整えて本格的な研究に取り組んだ。日本における研究の先駆者となった鳳教授により、この加工法は「放電加工法」と命名された。50年代に入ると、研究の裾野が広がり、東北大、千葉大、新潟大、大阪府立大、同志社大、防衛大、名古屋工試、鉄道研、豊田理研、日本放電加工研究所、三菱電機研究所、安川電機研究所など、多くの大学、研究機関、企業が研究に取り組むようになった。やがて、研究を盛んにするための相互連携の場として任意団体「電気加工研究会」が1955年に設立され、2年後には、関西を拠点に放電加工と超音波加工を主題とする「電子加工懇話会」が設立された3.3)。海外の論文から情報を取り入れつつ、「加工メカニズム」「電源回路」「電極」「加工液」「加工条件」などの幅広いテーマで、日本独自の基礎研究が進められた。後に、両研究会が母体となり、電気加工学会が設立されたのは1967年のことであった3.4)

図3.2 鳳研究室 日本初期の放電加工機

図3.2 鳳研究室 日本初期の放電加工機 3.1)


3.2 放電加工機メーカの誕生

 1954年、放電加工に関する日本初の学術書「放電加工(コロナ社刊)」が、鳳誠三郎と倉藤尚雄の共著で発行された。その著書では、黎明期の国産メーカとして㈱日本放電加工研究所(後のジャパックス㈱)、小池酸素工業㈱、旭ポンプ発動機製作所、㈲大澤製作所の4社の製品が紹介されている。
 日本放電加工研究所は、老舗工作機械メーカ池貝鉄工所の関連会社として1953年に設立され、翌1954 年、国産初の実用放電加工機「Japaxtron D3」(図3.3)を完成し、東京工業大学に納入した3.6)。日本放電の創業者である井上潔氏は、三菱重工で放電加工を研究していたが、当時、池貝鉄工所の社長をしていた政財界の重鎮、岡崎嘉平太氏と意気投合し、会社設立の運びとなった3.5)。その後、社名をジャパックスに変え、技術指向の強い経営を特徴として、1980年頃まで国内トップメーカの座にあった。しかしその後、2度にわたる石油ショックを境に経営不振に陥り、新日本製鐵のテコ入れなどもあったが、最終的には1991年にソディックの資本参加を受けて傘下に入った。ジャパックスのスピンアウト企業であったソディックに吸収されたことは当時、大きな関心を集める出来事であった。

図3.3 日本放電加工研究所 Japaxtron D3

図3.3 日本放電加工研究所 Japaxtron D3 3.6)


 小池酸素工業は同じ頃、放電切断機「Sparkle」(図3.4)を発売した3.3)。その後、10年以上に渡り放電加工機の事業を続けていたが、放電加工が貫通穴加工から底付き穴の加工へ適用分野を拡げようとしていた時期になると、その名が途絶えてしまった。他の2社は、非常に短命な事業で終わっている。

図3.4 小池酸素工業 Sparkle

図3.4 小池酸素工業 Sparkle 3.7)


 日本放電などの参入後、1958年に三菱造船㈱*1と三菱電機㈱が協業して放電加工機「DM-101」(図3.5)の生産を開始した。三菱造船(広島)が機械系、三菱電機が電気系の生産を分担する体制とし、三菱電機内では、中央研究所(兵庫)が開発、無線機製作所(兵庫)が製造を担当した。後に協業を解消し、事業を三菱電機に集約する方針が決まり、1964年に三菱電機名古屋製作所に新たな拠点を構えて生産を開始した3.8)

*1  三菱重工は、第二次世界大戦後の財閥解体で、三菱造船、新三菱重工、三菱日本重工の3 社に分社化され、1964 年に再び統合された。

図3.5 三菱造船・三菱電機 DM-101

図3.5 三菱造船・三菱電機 DM-101 3.9)


 続いて、1962年に西部電機工業(現 西部電機㈱)が放電加工機を開発し、同年10月の国際工作機械見本市に「E-304型」(図3.6)と卓上型の放電加工機を出品した。この開発は安川電機製作所(現 ㈱安川電機)の協力を得て進められたが3.11)、安川電機は1953年頃から放電加工の研究を始めており、加工電源や油圧サーボなどの技術開発を行っていた3.3) 3.12)。西部電機はその後、放電加工機の有力メーカとして現在に至っている。

図3.6 西部電機工業 E-304

図3.6 西部電機工業 E-304 3.10)


 1962年の見本市では、日立造船㈱も重量の大きな電極に適用できる油圧サーボ機構を取り入れた試作機「ハイドレックス」を展示したが3.13)、その後、事業としては軌道に乗らずに終わったようである。
 1975年、その後の有力メーカとなる2社の参入があった。富士通ファナック㈱(現 ファナック㈱)は7月NCワイヤ放電加工機「TAPECUT MODEL A」(図3.7)など3機種の販売を開始した。低価格を特徴とする機種戦略で、市場シェアの確保を目指した3.14)

図3.7 ファナック TAPECUT MODEL A

図3.7 ファナック TAPECUT MODEL A 3.15)


 ㈱牧野フライス製作所はスイスのアジエ社と1975年に技術提携を結び、1976年にはアジエ社のワイヤ放電加工機「DEM-15」(図3.8)の国産化を開始した。また同年、㈱ソディックと提携し、ソディックのNC電源装置を組み込んだ形彫放電加工機の製造販売を開始した。その後、2社との提携を解消し、1980年から自社技術で放電加工機を生産する方針とし、放電加工機事業に本腰を入れるようになった3.16)

図3.8 牧野フライス製作所 DEM-15

図3.8 牧野フライス製作所 DEM-15 3.17)


 1970年代以降、他にも多くの企業が放電加工機事業に参入し、撤退した歴史がある。世界的にも同様な傾向があり、東欧、米国、英国、ドイツ、フランスなどに存在したメーカは殆どが市場から消え、現在はスイスのGF Machining Solutions社(旧アジエ社と旧シャルミー社統合)、スペインのONA社、ドイツのEXERON社、及び日本の5社、西部電機、ソディック、ファナック、牧野フライス製作所、三菱電機が世界市場を分け合う形になっている。但し、これはミドルからハイエンドの放電加工機の市場であり、近年、台湾や中国にはローエンド機のメーカが多数存在し、確たる統計がないために実態がつかみ難いが、生産台数としては日欧のメーカに近い台数を生産している可能性がある。


3.3 形彫放電加工機の基盤技術

 1954年、日本で最初の放電加工機が誕生した後、ワイヤ放電加工機が登場するまでに約20年を要した。この間、放電加工機は形彫放電加工機を中心に開発が進んだが、広く普及する機械となるまでには、先人達の長い年月の創意工夫や努力の積み重ねがあった。ここでは、形彫放電加工機が普及するために必要とされた基盤技術の中で、加工電源、揺動加工、数値制御装置を中心に、技術開発の経緯と代表的な製品事例を調査したので、以下に述べる。

3.3.1 加工電源の開発

 図3.9は、放電加工を発明したラザレンコが使用したRC回路で、ラザレンコ回路とも呼ばれている。RC回路の動作を簡単に説明すると、先ずコンデンサに充電が行われ、極間の電圧が上がり、ある電圧で極間の絶縁破壊が発生し放電が始まる。続いて、コンデンサに蓄えられていた電荷がパルス電流として放出される。コンデンサの電荷が無くなると放電が終わり、直ぐにまたコンデンサへの充電が始まる。その後、充放電が繰り返し行われることで安定な加工が行える3.18)

図3.9 RC回路と電圧・電流波形

図3.9 RC回路と電圧・電流波形3.18)


(1)RC回路改良型電源

 RC回路は、簡単な回路構成で高い周波数のパルス電流を容易に作り出せることが利点であるが、加工の安定化、加工速度の向上、電極消耗の改善などに多くの課題があった。例えば、RC回路で加工速度向上のため放電の数をさらに増やすことを検討すると、充電抵抗(R)を小さくして充電時間を短縮し、放電が発生するタイミングを早くすることで、放電の数が増えると言う理屈になる。しかし、あまりRを小さくすると安定的に繰り返して放電が発生しないと言う問題があり、Rを小さくすることには限界があるので3.19)、RC回路のままでは性能改善の余地が少なかった。
 そこで、RC回路に様々な改良を加えた回路が開発されたが、その代表的なものがRLC回路(図3.10)で、多くの製品に採用された。

図3.10 RLC回路

図3.10 RLC回路3.20)


 RLC回路は、RC回路にインダクタンス(L)を加えることにより、LC共振を利用して放電回数を増す効果や、加工の安定性を増す効果があった。しかし、RLC回路も含めたRC回路の最大の問題は、連続アークと言う不安定状態が発生し易いことであった。連続アークとは、図3.9に示す絶縁回復を経ないアーク放電が連続して発生する現象を言う。この現象が発生すると、同一箇所で放電電流が集中して流れる状態に遷移する。その状態になると、極間に大きなアーク柱が形成され、過大な熱量の集中により、工作物の表面に大きな窪みを作り、工作物を不良品とする最悪の事態となる。
 加工速度を上げるため、放電の繰り返し数を増やす、或いは、放電パルス電流を大きくすることは、連続アークを誘発し、加工不良の危険を大きくする。加工速度を向上させるには、連続アークを防止する手段を講じることが重要であった。この問題に対応するために開発された回路が高周波重畳回路である。
 図3.11に高周波重畳回路の効果を検証した実験回路を示す。この回路は、パルス放電が、同じ箇所で連続して放電電流が流れる連続アークの発生を防止することが目的である。コンデンサ放電の消弧が不完全であると、絶縁回復せずにアーク放電に移行することがある(図3.9のアーク放電)。高周波重畳の効果は、電流値を零とするタイミングを発生させることで、アーク放電を断ち切ることが可能となる。その結果、放電の同一箇所への集中を防ぎ、加工領域全体に放電を分散させ、安定した間歇放電状態を維持し易くできる3.21)

図3.11 高周波重畳回路

図3.11 高周波重畳回路3.21)


 高周波重畳回路の製品事例として、1958年に三菱造船と三菱電機が協業で生産した放電加工機に搭載されたDE24HB形電源を解説する。図3.12に電源回路のブロック線図、図3.13に電源本体の外観を示す。DE24HB形電源は高周波重畳回路の効果で、放電点が分散し易く、放電の繰り返し数を増やしてもパルス放電を安定に継続させることができ、貫通穴の加工で優れた性能を発揮した。適用分野は、プレス抜き型、アルミ押出型、粉末成形型など工具鋼の金型部品などの貫通加工が中心で、難削材である超硬合金の加工にも適用された3.22)。また、貫通穴加工の他に工作物の一部を研削する用途にも使われた。

図3.12 DE24HB形電源回路

図3.12 DE24HB形電源回路 3.22)


図3.13 DE24HB電源本体

図3.13 DE24HB電源本体3.23)


 DE24HB形電源は、周波数の高い発振で、放電の繰り返し数を多くできるRC回路の特徴に加え、放電の分散による加工の安定化や速度向上を実現した。主に貫通穴加工の用途で、放電加工機の普及推進の原動力となった。しかし、電極消耗に関しては従来のRC回路と大差はなく、例えば一般的な加工の組み合わせである工具鋼の工作物を、銅または黄銅の電極で加工した場合、当時のカタログ(表3.1)に記載されている電極消耗率は、銅の場合が15%以上、黄銅は30%以上であった。現在の視点で見るとかなり消耗が多かったことが分かる。


表3.1 DE-24HB 電極消耗率3.24)

表3.1 DE-24HB 電極消耗率

 ここで、電極消耗の影響について、簡単に説明する。図3.14の左側は放電加工前の電極を示し、右側は加工が暫く進んだ後の電極の形状を示す。図は誇張して描画しているが、電極の消耗は電極の底面、特に外周端部で多くなる。これは電極が下方に移動して加工が進む仕組みのため、主に電極底面と工作物の間で放電が行われるが、特に電極端部(角部)は、工作物の側面にも近いので、底面と側面の両方向に放電するため、放電の頻度が高くなる。その結果、他の部位と比べて電極端部の消耗が多くなってしまう。

図3.14 電極消耗

図3.14 電極消耗3.25)


 二次元形状の貫通穴を加工する場合、前述の電極端部の消耗が寸法精度に与える影響は少ない。但し、スラッジ(加工屑)を介在する二次放電などにより、中膨らみと言う現象が起こり、穴の板厚中央付近の寸法が大きくなる問題はあるが、貫通加工を再度行うか、スラッジを効率的に排出する処置を講ずるなど、精度改善の手段がいくつかある。また、2次元形状の貫通穴は、板厚中央部の精度に対する要求が高くないため、問題となることが少なかった。一方、3次元形状の底付き穴加工の場合は、電極端部が消耗した形状が工作物に転写されると、寸法誤差の許容範囲を超える場合が多い。また、貫通穴は小径穴やスリット形状などアスペクト比(深さ/幅)が高い形状の用途が多く、底付き穴は成型金型のキャビティ面(製品成型面)など、幅に対して深さが浅いアスペクト比が小さい形状の用途が多い。代表的な従来工法である切削加工は、アスペクト比が小さい形状の加工は得意であるが、アスペクト比が高くなるに従い加工が困難になる。放電加工は、切削加工が不得意な難削材の高アスペクト比の加工、即ち貫通穴加工では普及し易かったが、低アスペクト比の底付き穴の加工では、電極消耗による寸法誤差が大きいことが普及の阻害要因となっていた。

(2) 半導体電源

 1) サイリスタ電源  1960年代、当時の研究者や開発者は、基礎実験の結果から、ピーク電流に対しパルス幅が短い電流は、加工速度は速いが電極の消耗が多く、ピーク電流に対しパルス幅が長い電流波形は、電極の消耗を少なくできることを知っていた。しかし、コンデンサの蓄電エネルギーを使うRC回路では、パルス幅を思い通りに長くすることが原理的にできなかった。また改善されたとはいえ、放電が連続アークに移行する危険が解消された訳では無く、放電を分散させる新たな技術として、休止時間を自在に調整可能な回路の実現が熱望されていた。これを実現したのは、目覚ましい進歩を遂げていた半導体の技術であった。
 1960年代の前半、性能や信頼性に若千の不安を残していたものの、数10 Aの電流をスィッチングできる半導体素子が登場した。これは、電源の開発にとって、まさに画期的なことであった。三菱電機は、1964年に放電加工機事業を単独事業に切り換え、名古屋製作所に新たな拠点を構えたが、同時期にスイッチング素子に自社製のサイリスタを採用した半導体電源DE150S形を開発し、同年に完成した放電加工機DM201型に搭載し販売を開始した。DE-150Sの電源回路を図3.15に、本体外観を図3.16に示す。

図3.15 DE-150S形電源回路

図3.15 DE-150S形電源回路3.22)


図3.16 DE-150S形電源本体

図3.16 DE-150S形電源本体3.23)


 DE150S形電源は、チョッパ回路によって放電電流波形のパルス幅を制御可能とし、当時の技術者の念願だった電極低消耗化を実現した。当時のカタログには電極消耗率1%以下と記されており、従来の電源から大幅に改善されている。底付き穴の加工は倣いフライスが常識であったことを覆す転機となった。
 サイリスタパルス電源のDE150S形電源は、補助サイリスタ(SCR)による強制転流形DCチョッパ回路(図3.17)で、SCRをスィッチング素子として用いて、直流電源からの電流を断続させる回路である。サイリスタのスィッチング特性を図3.18に示す。その逆方向特性は普通の整流素子と同様だが、順方向特性には大きな特徴があり、ブレークオーバ電圧以上の電圧が印加されるか、点弧ゲート電流を流さない限り導通(ターンオン)状態にならない。一方、一度導通したSCRは順電流を保持電流と呼ばれる電流値以下にするか、ターンオフ時間と呼ばれる時間以上逆電圧を加えなければ、阻止状態(ターンオフ)に戻らない。図3.17のSCR1を流れる直流電流を遮断させるために、SCR2によるターンオフ回路が設けられている。
 図3.17のターンオフ動作を説明すると、SCR2を点弧し、コンデンサC1にRlを通じて図に示す極性に充電する。その電圧が電源電圧に等しくなるとSCR2には電流は流れなくなり、ターンオフする。次にSCRlが点弧するとCl-Ll-Dl-SCRlの共振回路でClの充電電圧が逆転し、ダイオードDlが共振電流を阻止するので、Clは逆方向に充電された状態に保たれる。次にその状態でSCR2を点弧するとClにたくわえられた逆方向電圧がSCRlに加わるため、SCRlに流れていた負荷電流は阻止されターンオフする。SCRl、SCR2を交互に任意の時間で点弧することにより、断続した電流を目的に応じて制御できる3.22)

図3.17 サイリスタチョッパ回路

図3.17 サイリスタチョッパ回路3.22)


図3.18 サイリスタの特性

図3.18 サイリスタの特性3.22)


 このように、半導体スイッチング素子を採用することで、放電パルス電流のピーク値やパルス幅、及び休止時間を自由に制御する道が拓かれた。その効果は、適切な休止時間により放電の集中を防いで効率的で安定な加工を可能にしたことと、電流波形のパルス幅を長くすることで電極消耗を大幅に改善し、電極消耗率1%以下を実現したことである。特に電極消耗率の改善は、従来は貫通穴を中心に適用されていたものを、底付き穴にも適用を拡大し、放電加工機の普及を加速する大きな転機をもたらした技術であった。
 しかし、サイリスタはターンオフ時間が必要であるなど、スィッチング速度を上げることには限界があった。スィッチング速度の向上は、荒加工の高速化に必要であったが、仕上加工に於いては、より必要性が高かった。仕上加工は面粗さの改善を目的とするので、電流波形のピーク値を小さくして加工するが、加工効率の低下を補うために、放電の繰り返し数をできるだけ増やす必要がある。その点で、サイリスタのスイッチング速度はまだ不十分で、その後のトランジスタ電源の開発に繋がって行く。
 2) トランジスタ電源  前述の通り、荒加工の高速化、仕上加工の効率化のために、高速スイッチングが必要で、その目標は数μsのパルス幅を作り出せるトランジスタであった。当時はまだ、パワートランジスタの用途がそれほど多くない中、放電加工機に確たるニーズがあったことは、半導体メーカの開発を後押しする一助にもなったと伝え聞いた。
 1967年、三菱電機は我が国で初となるトランジスタを採用したDE90T形電源を開発した。DE90Tは、スイッッチング素子をサイリスタからトランジスタに置き換えた電源で、図3.19がその回路構成、図3.20がDE90T形電源本体である。電源回路は、発振器、増幅器、トランジスタユニットで構成され、発振器が加工条件に適したパルス幅、体止時間をもつ方形波パルスを発生し、これを増幅器がトランジスタのベース電流に必要な電流値まで増幅し、トランジスタをON/OFF制御して、放電加工に必要なパルス電流を供給する構成である。尚、当時は高電流と高周波数特性を両立するパワートランジスタが無かったため、トランジスタユニットは2ユニット切り換え方式になっており、戦車の砲台制御を電動化するために開発された高電流(約10 A)なトランジスタを搭載したユニットと低電流(3 A以下)だが周波数特性の高いトランジスタを搭載したユニットで構成されていた。こうして、トランジスタの採用で、パルス幅が数μsの仕上加工の領域から、数100 μsの荒加工の領域までをカバーする電源が実現した。サイリスタ電源に比べると、仕上加工の加工効率が一段と向上し、底付き穴加工への普及が加速した3.22)
 以上、三菱電機に於ける電源の主要な技術開発の経緯を述べたが、3種類の電源方式には、それぞれ長所短所があった。表3.2は1967年発行の三菱電機カタログの抜粋で、これまで説明した代表的な電源を含めた各種電源の仕様と加工性能の一覧である。ユーザの利用目的に合わせて、最適な回路方式やパワー容量の電源を選択し、放電加工機本体と組み合わせることが可能であった。即ち、高周波重畳電源は、電極消耗を許容し、加工速度を重視する貫通穴加工を中心に、サイリスタ電源は、荒加工の低消耗化と加工速度を重視する貫通穴や底付き穴加工に、さらにトランジスタ電源は仕上加工による良好な加工精度や面粗さを重視する底付き穴加工に用いられた。

図3.19 DE-90T形電源構成

図3.19 DE-90T形電源構成3.22)


図3.20 DE-90T形電源本体

図3.20 DE-90T形電源本体3.23)


表3.2 各種電源の主な仕様と加工性能3.23)

表3.2 各種電源の主な仕様と加工性能

3.3.2 1960年代の形彫放電加工機

 形彫放電加工機を普及させるための基盤技術として、加工電源の技術開発を中心に解説してきた。課題であった加工の安定性、電極の低消耗化などが大幅に改善し、1960年代後半から、ようやく放電加工機が本格的に普及し始めた。当時、家電、自動車産業などは欧米へのキャッチアップを目指して投資拡大を進めており、金型産業の設備投資も積極的に行われていた。そうした中、フライス盤にない優れた特長を持つ放電加工機への期待が高まっていた。当時は、ジャパックスと三菱電機が放電加工機メーカの2強といわれていた時代であり、以下に、両社の1960年代における代表的な製品を解説する。

(1)ジャパックス D100M放電型彫盤

 ジャパックスが1960年代の後半に販売していた代表的な形彫放電加工機D100M+ISC5B電源の外観を図3.21に、主な仕様を表3.3に示す。1954年に販売したD3型の流れを汲む機種で、D3からの累積販売台数は業界で最も実績のある機種であった。主な特徴は、Z軸の駆動方式に、サーボモーターとサーボソレノイドを併用した制御性の高い電極送り機構である。電源ユニットは貫通穴加工用の ISC電源シリーズ、底付き穴加工用のGX電源シリーズを揃えたが、1969年にはトランジスタ電源であるQC電源シリーズも追加された3.26) 3.27)

図3.22 三菱電機 DM-250-DE-90T

図3.21 JAPAX D100 3.26)


表3.3 JAPAX D100の仕様3.27)

表3.3 JAPAX D100の仕様

(2)三菱電機 ダイアックス放電加工機DM-250

 図3.22は、三菱電機が1967年に発売したDM-250-DE-90T形放電加工機である。機械本体はDM250の他に、サイズの大きなDM300、DM500を加え、DMシリーズとしていた。主な特徴は、Z軸の駆動方式に油圧サーボを採用し、取付可能な電極重量を50 kgに増大した点である。これは当時、鍛造金型などの底付き穴への適用が進み、大形電極を必要とするニーズに対応するためであった。
 また、電源は高周波重畳、サイリスタ、トランジスタ回路の3方式に、電源容量のバリエーションを組み合わせ、計10機種程の電源から選択可能としていた。この機械本体DM250と電源DE90Tの組み合わせは、当時、売れ筋の製品となっていた。

図3.22 三菱電機 DM-250-DE-90T

図3.22 三菱電機 DM-250-DE-90T 3.28)


表3.4 機械本体の仕様(DM-250)

表3.4 機械本体の仕様(DM-250)3.23)



3.3.3 数値制御装置の開発

(1) 数値制御(Numerical Control)装置の誕生

 数値制御(NC)が誕生する以前は、放電加工機を始めとする工作機械は、作業者が手作業で刃物や工作物を動かして部品を加工していた。これを、数値情報に基づいて自動で動かす仕組みとしたのが数値制御である。数値制御の発明者と言われるジョン T.パーソンズ(John T. Parsons)は、自社で数値制御の開発に取り組んでいたが、1949年マサチューセッツ工科大学(MIT)のサーボ機構研究所と共同研究を始めた。その後、1952年にMITが世界初のNC工作機械であるNCフライス盤を開発し、これを一般公開した。
 この情報は直ぐに日本に伝わり、東京大学生産技術研究所や東京工業大学がNC工作機械の研究に着手し、1957年に東京工業大学がNC旋盤を公開した。また翌1958年、㈱牧野フライス製作所は富士通㈱が開発したNC装置を搭載した日本初のNCフライス盤(図3.23)を開発し、同年、大坂国際工作機械見本市に出展した3.29)。NC工作機械は1950年代に誕生したが、一般に普及するまでには、装置価格の低減、機能開発、周辺技術の向上など多くの課題があった。日本の工作機械の生産におけるNC化率は1970年が約8%、1975年は約17%で、1980年に約50%に達した3.31)。これから分かるように、NC工作機械の普及は1970年代に本格化し、1970年代後半に加速した。日本は1982年から2008年までの27年間、世界最大の工作機械生産国の地位を維持した3.32)。その原動力のひとつは、電子機器や半導体の進歩を支えにしたNC装置の高い技術力であったと言える。

図3.23 日本最初のNCフライス盤

図3.23 日本最初のNCフライス盤3.30)

(2)NC放電加工機の開発 

 形彫放電加工機は当初から、放電状態を観察して電極(Z軸)の昇降を自動制御する機能を持っており、所望する加工深さを設定すれば、例えば数10分から数時間の間、作業者が機械を離れていても無人で加工を行えた。また、加工前の段取りで行う、電極と工作物の位置決めや、加工箇所の移動などの作業は、テーブルまたは加工ヘッドを駆動するX軸、Y軸を手動で操作していた。但し、こうした作業は、あまり頻繁には必要とならないことから、放電加工機は自動化が進んだ工作機械であると、当時は見做されていた。
  前述の通り、1970年には、日本で生産された工作機械の約8%がNC工作機械となっていた。当時、NC付きの工作機械は非常に高価で、NCに必要なプログラム作成装置も同様に高価であった。従って、NC工作機械の導入は、十分に大きな投資メリットがある場合か、或いは、将来の先行投資として判断される場合などに限定される状況が暫く続いた。
 こうした状況に於いても、作業者が機械に付きっきりで加工を行う旋盤やフライス盤では、NCを導入することによる省人化のメリットが大きかった。しかし、形彫放電加工機の場合は、メリットを見い出し難く、NC装置の普及が遅れていた。
 さて、1960年代後半に半導体電源が誕生し、電極消耗が大幅に改善したことで、3次元形状の底付き穴加工への普及が進み始めた。この情勢を捉え、三菱電機は1972年に放電加工機用の数値制御装置であるデジタル制御装置「DAC-10」(図3.24)、「DAC-20」を発売した。

図3.24 デジタル制御装置DAC-10(左端)

図3.24 デジタル制御装置DAC-10(左端)3.33)

 DACは紙テープに8ビットEIAコードで穿孔されたデータを、テープリーダで読み取り、XYZ軸の軸移動を自動で行う装置であった。DACシリーズには、当時の初期型NC装置の主流であったハードワイヤード方式が採用された。これは、動作論理にリレー、トランジスタなどを用いて論理回路を組む方式である。尚、この時代、ミニコンとコアメモリを用い、動作論理をプログラムで組むミニコンNCも存在したが、非常に高価であったため、一部の特殊用途に使われる位置づけであった。
 DACの目的は、①加工開始位置を順番に移動し、自動で多数個を加工、②単純形状の電極を組み合わせた異形状の加工、③加工中に加工条件を自動で切り換え、③荒加工終了後、電極の中心を数十から数百μm程度、X+、X-、Y+、Y-の各方向へ順番に移動し、加工面を放電で仕上げる「寄せ加工」などの実現であった3.33)。しかし、1970年代前半に実現できたこれらメリットだけでは装置価格を十分に賄えず、販売は軌道に乗らずに終わってしまった。
 一方で、技術者たちは工作機械のNC化は既定路線であると確信し、放電加工機のNC化による付加価値の創出に向けた開発が続けられた。そうした中、3次元形状の底付き穴加工への適用拡大とNC化への流れを作った技術として、次に説明する揺動加工が誕生した。

(3)揺動加工機能の開発 

 1970年代に至るまで、放電加工機は貫通穴の加工を中心に使われていた。一方、底付き穴に関しては、電極消耗の改善が課題となり、期待通りには普及が進まなかった。その後、トランジスタ電源が登場し、電極消耗率を1%以下とする大幅な改善が見られたが、加工精度や面粗さを修正する仕上加工の工程で、また新たな課題が持ち上がった。
 図3.25は、従来の荒加工と仕上加工の方法を模式的に示す。左図は荒加工が終了した時点の電極と加工形状の状態である。電極はZ軸の駆動により、2章で説明したジャンプ動作を伴いながら、工作物に向かって下降して加工が進む。荒加工では速度を重視した加工条件を用いるのが通常で、面粗さや加工精度が悪くなる。これらを改善するには、電気エネルギーを荒加工時より小さくした加工条件を設定し、仕上加工を行う必要がある。しかし、Z軸のみ駆動する加工方法で、荒加工と同じ電極を使う場合、底面部に電極を近づけて放電させることはできるが、側面方向に電極を近づけて放電させることができない。従って、一定の仕上代を確保するためには、右図に示す様に、仕上加工では荒加工用電極よりも寸法を大きくした電極を用いて加工する必要がある。しかし、この加工方法には、以下の問題がある。

図3.25 従来の荒加工と仕上加工方法

図3.25 従来の荒加工と仕上加工方法3.35)

①電極端部の消耗
 図3.26の(a)は仕上加工の途中状態を示すが、仕上代の大半が電極端部で発生する放電で加工される。従って、電極端部に消耗が集中し、底面コーナ部の加工精度が悪くなる。

②側面の中膨らみ
 (b)に示すのは、加工形状の深さの中央付近の寸法が大きくなる中膨らみと言われる問題である。これは、加工に伴い生成された金属粉やカーボン粒などのスラッジ(加工屑)の影響によるもので、放電がスラッジを介して遠くまで到達する二次放電が発生し、放電間隙が拡がることが原因である。

③底面のうねり及びアーク痕
 (c)に示すのは、加工形状の底面部のうねりの問題で、これもスラッジの滞留による二次放電の影響である。底面部はスラッジが不均一に分布し易く、スラッジが密な箇所があると二次放電が集中し、大きな凹みが生じてしまう3.34)

図3.26 仕上加工における問題

図3.26 仕上加工における問題3.34)

 これらの問題は、Z軸のみ駆動する加工方法では解決できず、揺動加工を適用することで改善される。揺動加工とは、電極を工作物に対しZ軸方向だけでなく、XY軸方向にも移動させる加工方法である(図3.27)。

図3.27 揺動加工法

図3.27 揺動加工法3.36)

 このアイデアは1960年頃に見いだされていたが、実現する手段が難しく、暫くは、製品として市場に登場することがなかった。しかし、1970年代後半に、欧州の企業が先行して揺動加工を実現した製品を発売し、日本のメーカも急いでこれに追従する形となった。
 1976年、ソディックはジャパックスから分離して創業したが、同年に図3.28に示す日本初の揺動加工装置「SIX-LORAN」を発売した。これは、ソディックがジャパックスの子会社「MEP」であった時代から開発を手がけていたものである。図3.28の(a)はドライブボックスで、(b)の制御ボックスに設定された揺動加工の運動パターンに従い、(c)の本体を駆動する仕組みである。

図3.28 SIX-LORAN外観

図3.28 SIX-LORAN外観3.37)


図3.29 本体の内部構造

図3.29 本体の内部構造3.37)

 図3.29は本体の内部構造であるが、パルスモータで駆動するX軸とY軸を持つクロステーブ構造となっている。この本体を主軸の加工ヘッドに取り付けると、工作物に対し、電極をXY軸方向に相対移動させることが可能となる。以上はB形と呼ばれるシステムで、同じ制御ボックスを用い、機械本体の加工テーブルをXY軸のパルスモータで駆動するC形システムを選択することもできた。操作方法としては、運動パターンは、制御ボックスのプログラムボード(図3.30)で設定する方式である。運動方向の指示ピンをボード上の希望する選択肢の穴に挿入することで、様々な循環運動のパターンを設定できる。図3.30は、電極が原点から□形の経路を移動し、再び原点に戻る循環動作パターンであるが、他に○形、X形、+形などの動作パターンが設定できる。

図3.30 運動パターンのプログラム例

図3.30 運動パターンのプログラム例3.37)


 Z軸サーボ駆動との連動方式については、XY軸の動作パターンと連動させるAモードと連動させないBモードがある。多くの場合で推奨されるのはBモードで、これはXY軸の運動中、一時的にZ軸サーボを停止し、所定の運動パターンが1周して側面が全て仕上がってから、Z軸のロックを解除し、再びZ軸サーボによる底面部の加工を開始する方式で、側面を確実に仕上げることができる3.37)
 以上に説明した揺動加工には、以下の効果があり、底付き穴加工への適用拡大で障害となった様々な課題が大幅に改善された。形彫放電加工機の適用拡大に於いて、揺動加工は極めて重要な役割を担う技術となった。

①加工形状精度の改善
 電極の側面方向での加工を活用し、電極端部での消耗の集中を抑え、電極全体に均一に消耗を分散させるため、電極形状の転写精度が向上する。また、電極と工作物の隙間が拡がるため、スラッジの排出効率が上がり、スラッジに起因する精度悪化も防止できる。

②仕上加工速度の増大
 電極端部に放電が集中せず、電極の広い面積に放電を分散させ、安定な加工状態が得られるので、放電の繰り返し数を増して、仕上加工の速度を速くすることができる。
 また、従来のように放電エネルギーの小さな仕上加工用の条件のみで加工するのではなく、揺動運動距離と加工条件を多段階に切り換えて、効率的な仕上加工が可能になった。

③電極製作工数削減
 電極消耗の均一化により、荒加工用電極を仕上加工にも利用が可能となり、電極使用本数が減り、電極製作の工数を削減できる。

④後工程の工数低減
 スラッジ排出の効率化により、加工面がより均一に仕上がるので、後工程で磨きを行う場合には、その工数が低減できる3.37)

(4)CNC放電加工機の開発 

 (2)項で解説した初期型のNC装置であるハードワイヤードNCは、動作論理がハードウェアの論理回路で組まれているのに対し、ソフトウェアによって論理を組む方式がCNC(Computerized Numeric Controller)である。1970年代に入り、LSI(大規模集積回路)技術の進歩により、個人所有のコンピュータを実現するキーデバイスとなったマイクロプロセッサが登場した。併せて、ROM、RAMなどのメモリデバイスも急速に発達し、従来は高価なミニコンとコアメモリを使ったCNC装置が、マイクロプロセッサ  (以下「マイコン」)とメモリデバイスでも実現できるようになった。
 こうした技術的な背景で、NC装置の主流はハードワイヤードNCからマイコン内蔵のCNCに変わって行き、高機能が求められる用途でミニコン内蔵のCNCが使われた。1970年代はNCとCNCを区別して呼んでいたが、1980年代にはCNCがNCの主流を占めるようになり、やがてNC装置と言う呼び方で統一されるようになった。本報告書でも、これ以降、表記はNC装置で統一する。
 1976年、ソディックは日本初の放電加工機用のマイコンNC装置を完成した。当時、ソディックと牧野フライス製作所は、放電加工機を協業事業としていた。図3.31は、両社の協業により完成した日本初のマイコンNC装置搭載の放電加工機で、機械本体「MD5B」は牧野スライス製作所が、電源とNC装置の「PEM8002」はソディックが製造した製品である。その後、「PEM8004」の開発などを経て、1977年に発売した「GPCシリーズ」が、ソディック社の量産対応のNC放電加工機となった。

図3.31 MD5B+PEM8002

図3.31 MD5B+PEM8002 3.38)

 1979年、三菱電機は揺動加工機能と機械本体のNC制御を同時に行うマイコンNC装置を搭載した放電加工機を発売した。揺動加工機能は、主軸駆動形とテーブル駆動形NC放電加工機の2機種があり、主軸駆動形の場合は、SIX-ROLANと同様、加工ヘッドにXY軸クロステーブルで構成された主軸揺動装置(図3.32)を取り付け、NC制御で電極側を揺動運動させる方式である。一方のテーブル駆動形は、加工テーブルのXY軸駆動機構に揺動運動を行わせる方式である。

図3.32 主軸揺動装置YD100N

図3.32 主軸揺動装置YD100N3.39)


図3.33 揺動NC放電加工システム構成

図3.33 揺動NC放電加工システム構成3.34)

 図3.33は、テーブル駆動形の揺動NC 放電加工機「YD200N」のシステム構成を示す。NC制御部は、マイコンで構成するコンピュータ部、バネルコントローラ部、軸制御部から成っている。キーボードから入力されたプログラムは一旦、メモリに記憶し、運転を開始後、順次プログラムを読み出しながら実行する。コンピュータ部には、8ビットマイクロプロセッサM5L8085 ASを採用し、PROM 16Kバィト、RAM 2Kバィト、I/Oを12ポー卜、割込み12レベルで構成されている。バネルコントローラ部は、操作パネル上のキーボードや表示関係の制御を行っている。軸制御部は、コンピュータ部のI/Oから出力された速度制御や位置制御に必要なデータをいったん記憶するラッチ群と補間パルス列を時分割で作り出すBRM(バイナリレートマルチプライヤ)などからなるXYZ軸インターフェース、BRM出力と光学式位置検出器からのフィードバック量を比較し、その差分をD/A変換するXYZ軸コントローラ、及びアンプから構成される3.24)
 三菱電機は1960年からNC装置単体の販売事業を行っていたが、1974年にはマシニングセンタ向けの高機能ミニコンNC装置を完成していた。1970年代後半はまだ、マイコンNC装置が発展途上の段階で、高機能、自動化の様々な技術はミニコンNC装置をプラットフォームとした蓄積が大きかった。三菱電機は1979年、旗艦機種となる高機能ミニコンNC装置を搭載した放電加工機¥「DK250NC+YD500N」(図3.34)を発売した。本機は揺動加工の他に電極自動交換装置、主軸割出回転装置(C軸)などの新機能に対応し、加工精度向上への対応も強化された製品で、主な特徴は以下の通りであった。

図3.34 高機能NC放電加工DK280NC+YD 500N

図3.34 高機能NC放電加工DK280NC+YD 500N 3.39)


①加工工程の自動化
 電極の自動交換、自動位置決め(電極、工作物等の機上座標測定)等の機能を備え、複数の電極を用いる加工の自動化を実現した。また、電極自動交換のメリットは他に、製作し易い単純形状の電極を複数組み合わせ、電極製作が難しい複数形状の加工を可能とした。

②多様な加工への対応
 主軸の加工ヘッドにZ軸と平行な軸で回転するC軸を取り付けて、C軸の回転とZ軸の昇降を同期させ、ネジ切り加工を可能とした。また、丸棒などの単純電極をプログラムされた軌跡上を移動させて、複雑な形状の輪郭加工や溝加工を可能とした。

③各種補正機能による高精度化
 ソフトウェア技術を利用した高精度化技術を搭載した。

 a. バックラッシュ補正:軸の送りが反転する際、軸の駆動系にある機械的な遊び、或いは摩擦、弾性変形などが原因で、一定量の移動指令値を越えるまで軸移動が追従しない場合がある。軸が反転する際に、その一定量を加えて移動指令値を出力し、反転移動が直ぐに応答するように補正する機能。

 b. ピッチエラー補正:ボールねじは個々に製造起因の寸法誤差を持っているため、NCの位置決め指令に対して実際のテーブル位置との間に誤差が生じる。この誤差を予めレーザ測長などで求めて補正データとして登録し、実稼働で誤差がゼロとなるように位置決め指令値を補正する機能。

 c. 電極位置自動補正:電極自動交換を利用する際、電極のホルダへの取付誤差やホルダを固定する自動チャック装置のセンタずれなどが原因で、加工ヘッドの基準位置に対する個々の電極の位置には誤差が生じる。事前に機上測定で電極個々に誤差を求めデータ登録し、電極を交換する毎に位置ずれを自動補正する機能3.34)

 以上で述べた通り、NC装置は放電加工の自動化のみならず、加工性能の向上、適用範囲の拡大を実現する重要な基盤技術となった。尚、半導体やソフトウェア技術の進歩により、ミニコンNC装置は1980年代に姿を消し、マイコンNC装置に引き継がれていった。

3.3.4 Z軸駆動制御機構

 これまで、加工の安定化、加工速度の向上、電極消耗の改善などの加工性能向上を目指した電源開発の経緯を解説した。しかし、加工性能の向上には、電極の昇降を行うZ軸駆動制御技術も重要な役割を担っており、その開発の歴史について調査した内容を述べる。
 2章で述べた通り、電極の自動送り、即ちZ軸の駆動制御は平均電圧サーボ制御によってms単位の短時間の間に加減速が頻繁に行われ、時には瞬時に電極を後退させて、加工の安定を維持する仕組みとなっている。電極と工作物の間隙は、数十μm以下の微小な適正値に保たれる必要があり、Z軸は速い応答と適切な感度を持った制御機構であることが求められる。また、電極が下降する平均速度は遅いが、微小な昇降動作を伴って下降するため、主軸のリニアガイド部分の構造は、スティックスリップなどを防止できる構造としなければならない。
 1950年代には、平均電圧サーボ制御による電極の自動送りを実現する手段として、電気モータによるサーボの他に、ボイスコイルの原理を応用した電磁サーボ方式も考案された。電磁サーボ方式の概略を以下に説明する。図3.35は三菱電機が間隔調整器と名付けた装置の外観写真で、図3.36がその構造図、図3.37が制御回路図である。図3.37に於いて、極間が開放されているときはi1がコイルに流れ、電極に下向きに力がかかるようになっている。放電電流のIは分流してi2となるが、i1i2の和がコイルに流れることになり、i2が大きくなると電極に上向きの力が加わる仕組みとなっている3.40)。この方式は、速い応答で極間の間隔を自動制御することが可能だが、懸垂できる電極の重量に制限があるため、広く普及することはなかった。

図3.35 間隔調節器

図3.35 間隔調節器3.40)

図3.36 構造図

図3.36 構造図3.40)


図3.37 制御回路図

図3.37 制御回路図3.40)

 1950年代の電極自動送り制御は、電気モータによるサーボ機構が主流であった。但し、当時の電気モータは出力効率が低いため、工作機械で利用する際は、減速機を使ってトルクを上げる必要があり、速い応答や高い位置精度の制御が難しかった。
 その後、1960年代に入ると、電気-油圧サーボ弁が実用化され、油圧サーボを放電加工機のZ軸制御に利用できるようになった。海外メーカでは1960年代初頭にEleroda社(スイス)、Elox社(米)などが、油圧サーボを採用した製品を完成し、日本では少し遅れて1962年から1963年頃に、西部電機「Yaspark E-304」、日立造船「Hydrex SB-570」、三菱造船+三菱電機「DM-200形」などの油圧サーボ方式を採用した製品が登場した3.41)
油圧サーボ方式を採用したZ軸制御機構の例として、三菱電機「DM-250形」のヘッド構造を解説する。図3.38で、固定側となるボールブッシュ(リニア軸受)55は、ピストンロッド48の昇降をガイドする構造となっており、ピストンロッドの下端には絶縁板を介して電極取り付け部が固定されている。図の内径φ100 mmの内筒部は上下の油圧シリンダー室に区分けされており、それぞれに接続するインレットへの油圧を加減圧することでピストンロッドが昇降可能となっている。また、ピストンロッドが回転自在とならないように、ピストンロッドと締結された板47は、固定軸49に回転が拘束されるが、昇降は自在の構造となっている3.42)
 図3.39は、電気-油圧サーボ弁の構造図である。スプールは可動コイルに加わる電磁力により駆動され、制御オリフィスを先端に有する制御棒の変位に比例した位置で平衡となる。可動コイルに流れる電流は、極間の平均加工電圧と基準電圧の差分に比例した制御電流が流れる仕組みとなっている。

図3.39 電気-油圧サーボ弁の構造

図3.39 電気-油圧サーボ弁の構造3.42)

 DM-250のヘッド構造の場合、軸の直進運動精度を支配する主な要因は、ピストンロッドの加工精度である。丸棒は旋盤や円筒研削盤で加工するが、ロッドが長尺になるとロッドの中央が撓んで高精度な加工が難しくなる。一方、平面研削で加工できるガイド面を持った矩形断面のヘッド構造であれば、長尺のガイド面でも比較的容易に高精度に加工できる。それを取り入れたのが、DM-500形の主軸ヘッド構造である。
 これまで説明した事例の通り、当時は工作機械の送り案内(リニアガイド)は各社が独自に設計し、内製するのが通常であった。1980年代以降は、リニアガイドは購入品を利用することが一般化し、また、駆動制御に電動モータを利用する時代に変わって行った。

図3.40 DM-500形主軸ヘッド構造

図3.40 DM-500形主軸ヘッド構造3.42)


3.4 ワイヤ放電加工機の基盤技術

 ワイヤ電極を用いた放電加工機はワイヤカット放電加工機と当初呼ばれていたが、概ね2000年以降はワイヤ放電加工機(Wire EDM)と呼ばれるようになった。ここでは、ワイヤ放電加工機の普及に必要であった基盤技術の中で、NC装置、自動プログラム作成装置、テーパ加工装置を中心に技術開発の事例や背景などを調査した内容を述べる。

3.4.1 ワイヤ放電加工機の誕生

(1)海外のワイヤ放電加工機開発

 世界で最初のワイヤ放電加工機は、1957年にソ連のENIMUS研究所で開発されたワイヤ放電加工機「A207形」である。当時はまだNC装置の実用化が進んでおらず、A207形は、光学鏡で10から50倍に図面を拡大し、その拡大図面を光学的に追従する自動倣い方式によってXY軸テーブルを移動して加工する仕組みであった。その後、自動化をさらに進めた「A207-23 M形」が開発され3.43)、1968年の学会誌「繊維工学」で、同機が詳しく紹介されている。機械の外観写真を図3.41、ワイヤ電極の走行・支持方法を図3.42に示す。
 当時、ナイロン、ポリエステルなどの化学繊維の製造が国内で盛んな時代であり、紡糸用ノズルの微細な異形穴の加工を目的に販売が企画されたと推定される。紡糸用ノズル穴の模擬形状を図3.43に示すが、スリット幅が0.05 mm前後の微細な形状の加工が求められる。機械の概略仕様は以下の通りである3.44)

 • テーブル移動量:X100×Y200 mm

 • ワイヤ電極:φ0.02~φ0.1 mm (タングステン、モリブデン、銅)

 • 加工電源:コンデンサ充放電回路

 • 最大加工速度:20 mm2/min

 • テーブル駆動方式:投影機のスクリーンに部品の拡大図を貼り付け、図形の線に沿って光点を移動する倣い方式。または、テンプレートを用いて行う。

 このソ連製のワイヤ放電加工機は、経済性や加工精度に難があり販売は成功しなかったと伝わっている3.2)

図3.41 A207-23 M形

図3.41 A207-23 M形3.44)


図3.42 ワイヤ支持方法

図3.42 ワイヤ支持方法3.45)


図3.43ノズル穴形状

図3.43ノズル穴形状3.46)


 その後、1965年にソ連に於いてNC装置を搭載した世界初のワイヤ放電加工機が開発され、続いてスイスのアジエ社(現GF Machining Solutions社)が1969年にNCワイヤ放電加工機「DEM-15」を完成し、パリで開催された展示会に出展した3.2)

(2)国内のワイヤ放電加工機開発

 国産初のワイヤ放電加工機は、1972年に三菱電機が発売したワイヤ放電加工機「DWC50S-LT1形」である(図3.44, 図3.45)。当時、比較的安価なテーブル軸送り手段として、米国で開発されたライントレーサ装置(光学式図面倣い装置)を搭載し、ワイヤ放電加工機の早期実現を待ち望んでいたユーザに向けて開発された機械である。
 図面の描画線を光学方式で自動的に倣い、図面の倍率分を縮小してXY軸を軸送りし、ワイヤ電極と工作物を相対移動させて、放電加工する仕組みである。しかし、アナログ制御では加工精度に限界があり、デジタル制御のNC装置の必要性が認識される結果となった。

図3.44 三菱電機DWC50S-LT1形

図3.44 三菱電機DWC50S-LT1形3.47)


図3.45 DWC50Sの構成

図3.45 DWC50Sの構成3.47)

 国産初のNCワイヤ放電加工機は、同じく1972年に西部電機工業(現西部電機)が開発した「EW-20形」(図3.46)である。NC装置は、この当時の主流であったハードワイヤードNCではなく、次世代のミニコンNC装置が採用された。図3.47にシステム構成を示すが、図面寸法に基づき自動プログラミング装置で作成したISOまたはEIAコードの8ビットデータを打ち込んだ紙テープを読み取りながら加工を行う仕組みであった。

図3.46 西部電機 EW-20形

図3.46 西部電機 EW-20形3.48)


図3.47 EW-20形システム構成

図3.47 EW-20形システム構成3.48)

 その後の1974年、大坂で開催された第七回日本国際工作機械見本市に於いて、西部電機はマイコンNCの「EW-30形」、三菱電機はミニコンNCの「DWC-50M-H」(図3.48)、ジャパックスはミニコンNCの「L250A」(図3.49)をそれぞれ展示した。当時の放電加工機メーカ主要3社からNCワイヤ放電加工機が出揃い、この年が本格的な普及に向けたスタートの年となった。

図3.48 三菱電機DWC-50M-H

図3.48 三菱電機DWC-50M-H 3.49)


図3.49 ジャパックス L250+JAPT

図3.49 ジャパックス L250+JAPT 3.50)

 ワイヤ放電加工機は、ワイヤ電極の相対移動など通常のNC機能に加えて、①加工速度の平均電圧サーボ制御、②短絡回避退行制御、③電気条件の設定機能など高度な制御が必要であるため、演算能力が低いハードワイヤードNCではなく、演算処理能力が高いミニコンやマイコン内蔵のNC装置が必要であった。一方、これらのCNCと言われたNC装置は、非常に高価であったため、例えば1台のNC装置で10台の機械をタイムシェアリングで運転制御する群管理を開発し、少しでもNC装置のコスト割合を小さくする試みがあった。群管理は殆ど実績無く終わってしまったが、NC装置の利用で最も効果的であったのは、自動プログラム作成装置の制御をNC装置に取り込んだことである。前述の見本市で展示された各社のNCワイヤ放電加工機は全て、機械本体と自動プログラム作成装置を1台のNC装置で制御する構成で展示された。次項で自動プログラム作成装置について解説する。

3.4.2 自動プログラム作成装置

 1974年の工作機械見本市では、工作機械メーカ各社はNCの普及が進むと見込んで、NC工作機械の展示に力を入れた。しかし、この当時、NC工作機械を運転するために必要なNCプログラムの作成装置が高価であることが課題となっており、例えば日立精機と池貝鉄工は、米国GE社の電算機システムを電通のタイムシェアリングサービス(マークⅡ)を介してプログラムを作成する方式を開発し、プログラム作成のコスト削減を謳っていた3.51)。こうした工夫があっても、中小企業が投資するには敷居の高い製品となっていた。
 こうした状況のなか、ワイヤ放電加工用のNCプログラムは、2次元の輪郭形状の軌跡移動が主体であり、計算機の演算処理への負荷がそれほど高くなく、自動プログラム作成機能のNC装置への取り込みが比較的容易に実現できた。放電加工機の市場は金型が中心で、その金型産業は従業員が数名から数十名の中小企業が殆どを占めており、NC装置の演算機能を自動プログラム作成装置にも兼用する方式は、設備投資コストを削減する方法として有効であった。ここで、具体的な事例として三菱電機が1975年に発売した「DWC-75形」の自動プログラム作成装置「MEDI-APT」を解説する。

(1) 「MEDI-APT」ハードウェア構成

 図3.50はDWC75 CNC-2全体の外観で、左から順に、加工電源、機械本体、制御装置、自動プログラム作成装置の端末(システムタイプライタ)が並んでいる。図3.51はCNC-2のシステム構成図で、制御装置の中にミニコン(MELCOM70/MODEL20)とMCU(Machine Control Unit)を納めている。通常のNC機能である機械制御は、ミニコンがMCUを介して行い、自動プログラム作成装置「MEDI-APT」の制御は、ミニコンがシステムタイプライタと別途設置のXYプロッタを直接制御する仕組みとなっている。尚、ミニコンの付かない2台目のDWC75を追加し、1台目のミニコンで2台の機械制御を行うことも可能である。また、DNC仕様を選択可能で、1台のミニコンNCで最大10台の機械と自動プログラム作成を、それぞれ独立して、他に干渉されずに制御が可能である3.53)

図3.50 三菱電機DWC75 CNC-2

図3.50 三菱電機DWC75 CNC-2 3.52)


図3.51 CNC-2システム構成

図3.51 CNC-2システム構成3.53)

(2) 「MEDI-APT」ソフトウェア構成

 ソフトウェア構成を簡単に解説する。ミニコンの制御プログラムの構成は図3.52に示す通り、大きく分けて機械制御の3つのプログラムと自動プログラムの計4つのプログラムで構成されている。

 ①「READプログラム」は、MCUに付属する紙テープリーダから、加工指令データを1ブロック単位で読み取って、入力テーブルを作成する。

 ②「MAINプログラム」は、入力テーブルのデータから移動補間の前処理を行って出力テーブルを作成する。また、機械系から伝達される操作信号、入力信号による割り込み操作を行う。

 ③「MOTIONプログラム」は、出力テーブルに基づいて補間演算を実行し、位置指令やその他の動作指令を出力する。

 ④「MEDI-APT」は、NCプログラム作成に関わる入出力と演算を行う。

 これらの4つのプログラムは、割込レベルで決められた優先順位に基づいて、制御単位時間内をタイムシェアリングして動作する。

図3.52 制御プログラムの構成

図3.52 制御プログラムの構成3.53)

(3) 「MEDI-APT」の機能

 前述の通り、自動プログラム作成装置は、NC装置内のミニコンとシステムタイプライタ、及びXYプロッタから成る。システムタイプライタには他に紙テープリーダパンチャが付属し、NCプログラムの作成に必要なデータを紙テープから入力できる。またプログラミングが完了し、NC装置に読み込ませるためのNCデータを紙テープに出力することができる。
 プログラム作成の入出力処理のフローチャートを図3.53に示す。プログラミングの手順を簡単に紹介すると、先ずはタイプライタの「Attension Key」を押して、ミニコンに接続し起動をかける。次に入力モードの指定となり、IN1を指定するとKEYBOARDからの入力、IN2を指定すると紙テープからの入力となる。ここではIN1を指定した場合で説明すると、$マークがタイプライタに印字され、制御コマンド入力を求められるので、図に示すいくつかの制御コードを入力する。図に複数の制御コマンドとその処理内容を記載しているが、NCプログラム作成の主要な作業は、図形定義とワイヤ電極の経路定義である。制御コマンド毎の入出力が完了すると、再び$マークが印字され、制御コマンド待ちとなる3.53)

図3.53 入出力処理フローチャート

図3.53 入出力処理フローチャート3.53)

 NCプログラムの作成手順として、製品図面(図3.54)を基に、図形定義(図3.55)とワイヤ電極の経路定義(図3.56)の事例を示す。図形定義は、加工する図面形状を点、直線、円の要素に分解し、それら全ての図形要素を(順番は問わず)定義する作業である。実際に図形定義コマンドを入力すると、行番号、例えば001が表示され、入力待ちとなる。図形要素は、点は7種、直線は7種、円は8種類の決められたパターンから選択して入力を行う。点はPi、直線はLi、円はCiのシンボルを使い、iはオペレータが任意に決める整数である。

図3.54 製品図面

図3.54 製品図面3.53)


図3.55 図形定義

図3.55 図形定義3.53)


図3.56 経路定義

図3.56 経路定義3.53)

 現場で簡単にNCプログラムを作成できることが開発の目標であったので、MEDI-APTは対話形式のプログラミングを基本とした。例えば、誤った入力をすると、即座にエラーメッセージが印字され、ミスの内容を示し、修正入力が求められる。また、エラーメッセージだけでなく、様々なリクエストメッセージにより、操作を易しくする工夫がされている。
 図の事例では行番号001以降は、オペレータがキーボード入力した直線の定義である。この際、直線定義で参照した点P10が不確定なため、リクエストメッセージとして“P010=”が印字され、P10の定義を求めてくる。必要な定義を入力し終わり、エラーがなければ、行番号が進んで002が印字され、次の図形定義の入力に移行する。他にも図形定義を確定させるため、例えば交点が2つ存在する場合にどちらを選択するかを問うリクエストメッセージなどがあり、初心者でも簡単にミスのないプログラム作成ができるシステムになっている。
 次に、経路定義とは、図形定義で定めた図形要素を辿る経路の順番を指定することである。例えば直線から円弧に進む場合、2つある交点のうち左右、または上下の何れの交点から侵入するかの指定や、円弧の進行方向が時計回り(CW)か反時計回り(CC)かを指定する必要がある。しかし、これらは前述のリクエストメッセージに答える形で簡単に定義ができる3.53)
 MEDI-APTは他に、歯車諸元を入力するだけでインボリュート歯車のプログラムを作成する機能や加工周長、面積、重心の計算など、様々な機能を備えていた3.52)
 自動プログラム作成装置はその後、CPUの演算処理速度向上、メモリや外部記憶媒体の高速化と大容量化、データ通信技術などの進歩により、格段に性能が向上するのと同時に装置価格が急速に低下して行った(プログラミング装置が誕生した当時と比べると、装置価格は10分の1程度に低下)。また、表示器としてCRTが一般的になった80年代から、現在も行われている図形定義や経路定義を画面上に表示しながら操作を行う方式に変わった。また、CADで作成された3次元CADデータからワイヤ放電加工の対象となる図形データを抜き出し、NCデータを作成することも可能となり、統合的なCAMシステムにワイヤ放電加工用NCデータ作成機能をアドオンする商品も現れている。自動プログラミング装置は、一種の情報端末として発展してきたが、その本来の機能の開発は80年代でほぼ完了したと言える。放電加工機に関連する情報システムの開発はその後、工程設計、自動運転スケジューリング、遠隔稼働監視システムなどの開発に軸足が移り現在に至っている。

3.4.3 テーパ加工装置

 ワイヤ放電加工機が誕生した当初、加工速度は5~7 mm2/min程度と遅く3.54)、加工効率が良くないため普及が足踏みをしていた。それが概ね20 mm2/minを超えた頃から、金型を中心に普及が進み始めた。
 ワイヤ放電加工機は、加工軌跡をプログラムすれば、どんな複雑形状も簡単に高精度に加工できるメリットが市場に歓迎された。当初は貫通穴に形彫放電加工機が使われていたが、加工形状に合わせた電極を製作する必要が無いワイヤ放電加工機は、一気にその座を奪っていった。この新しい加工法であるワイヤ放電加工機に対し、市場からいろいろな期待が寄せられたが、抜きダイの逃がし(図3.57, 図3.58)や各種金型の抜き勾配などのテーパ加工の実現を望む声が大きかった。 
 プレス抜き型は、パンチとダイの勘合でシート材を剪断して部品やスクラップとなる部分を打ち抜く金型である。スクラップはダイの下方へ通過して回収されるが、仮にスクラップが何枚もダイに滞留する“カス詰まり”と言われる状態になると、金型が破損する危険がある。カス詰まりを防止するため、抜きダイには逃がしを設けるのが通常であるが、図3.58の様に逃がしをテーパに加工できるようになったのは、ワイヤ放電加工機が誕生した後のことである。それ以前は、図3.57の段差逃がしとするのが通常で、切り刃を長くして金型の強度を上げると、逆にカス詰まりの危険が増してしまう二律背反の状況があった。逃がしにテーパ加工を適用することで、金型の強度低下が殆ど無い構造でカス詰まりを防止する理想的な逃がしが実現できた。また加工工程が簡略化されることで金型製作の効率化にも貢献した。
 このテーパ加工を実現するためのテーパ加工装置は、1975年にワイヤ放電加工機に参入した富士通ファナック(現ファナック)が1976年に初めて製品化し、1977年にはジャパックスと三菱電機、1978年は西部電機工業(現西部電機)と続いた3.73) 3.56) 3.57) 3.58)

図3.57 抜きダイの逃し(段差)

図3.57 抜きダイの逃し(段差)3.55)


図3.58 抜きダイの逃し(テーパ)

図3.58 抜きダイの逃し(テーパ)3.55)

 ここで、具体的な事例として三菱電機が開発したテーパ加工装置を解説する。図3.59にテーパ加工装置の外観を、図3.60にテーパ加工装置の構成を示す。従来の2次元形状の加工は、加工テーブルを駆動するX軸、Y軸のみを駆動する。テーパ加工は、上部ワイヤガイドが下部ワイヤガイドに対して、相対移動を行ってワイヤ電極を傾斜させて実現される。そのため、上部ワイヤガイドは、U軸、V軸のクロステーブルに取り付けられ、下部ワイヤガイドに対して相対移動が可能な構造としている。制御装置はワイヤ電極が加工進行方向に対し、常に法線方向に指定の角度に傾斜するよう4軸同時制御を行う。この4軸同時制御は、工作物の板厚方向の所定の高さで、加工形状が所定の寸法となるように、下部ワイヤガイドと上部ワイヤガイドの位置座標を高速に座標変換する高度なソフトウェア制御で行われる。テーパ加工装置の開発の中で、このソフトウェアの開発が重要な役割を担った。

図3.59 テーパ加工装置の外観

図3.59 テーパ加工装置の外観3.59)


図3.60 テーパ加工装置の構成

図3.60 テーパ加工装置の構成3.60)

 次に、ワイヤ電極を精度良く指定角度に傾斜させ、傾斜面の所定の高さで加工形状寸法を高精度に加工するには、図3.61に示す以下の5つの諸元を、予めNC装置に入力設定する必要がある。
 θ:指定テーパ角度(度、分、秒)
 X:テーバ回転中心位置のテーブル面からの距離(正寸法となる位置)
 Y:加工速度指定の基準位置、ドライラン描画機能における基準位置
 I:上部ワイヤガイドのテーブル面からの距離
 J:下部ワイヤガイドのテーブル面からの距離

 傾斜角度を精度良く加工するためには、IJの値を正確に求める必要がある。一方、ワイヤガイドは保守やワイヤ電極径の変更の際に着脱するので、その度に若干の位置ずれが発生する。よって、着脱の度にIJの値を再測定する必要があり、詳細は割愛するが、専用治具を使った測定ルーチンを実行して値を正確に求めることができる。
 また、加工に際して重要な点は、図3.61のX(テーブル面からの距離)の設定により、テーパ回転の中心位置、即ちプログラム形状が正寸法となる位置を指定することである。図3.61ではテーブル面の上方に設定されているが、例えばX=0とすれば工作物の最下面(テーブル面)で正寸法となる加工が可能で、適宜、必要に応じて設定できる3.60)

図3.61 テーパ加工に必要な入力諸元

図3.61 テーパ加工に必要な入力諸元3.60)

3.4.4 ワイヤガイド

 ワイヤ放電加工機では、工作物を挟んで、上部ワイヤガイドと下部ワイヤガイドがワイヤ電線を支持する構造となっている。テーパ加工に対応していなかった初期の機械は、ワイヤ電極を工作物に対し垂直に張って加工することのみ求められ、それに適したワイヤガイド機構が搭載された。代表的なワイヤガイド方式には、V溝を有する通称Vガイド方式やクロスピン方式などがあった。図3.62は、クロスピン方式の事例で、1972年発売の三菱電機製DWC50S-LT1に搭載されたワイヤガイドである。セラミック製のクロスピンはワイヤ電極の位置を拘束し、前後、左右に位置がずれないようにするためのガイドである。給電ピンは、加工電源からワイヤ電線への給電を行うことが目的の部品であるが、取付位置を偏心させることで、ワイヤ電線をクロスピンに押し付ける役割も担っている。簡易な構造であることが長所であるが、給電ピンによる押しつけ力を超える力が加わると、ガイドピンがワイヤ電線を拘束できなくなる問題がある。これは、Vガイド方式でも同様であるが、ワイヤ電線を垂直に張って加工するだけであった初期の機械では、この問題は大きな課題とはならなかった。

図3.62 クロスピン方式ワイヤガイド

図3.62 クロスピン方式ワイヤガイド3.60)

 そして1970年代半ばにテーパ加工装置が誕生すると、ワイヤ電極を傾斜して張架する必要が生じ、ワイヤ電線を全方向で堅固に拘束する新しいガイド方式が必要となった。そうした要求に応えるワイヤガイド方式には、従来のVガイドに平ガイドを設けてワイヤ電極をVガイドの方向に押し付ける通称V−平ガイド方式や丸穴にワイヤ電線を通すダイスガイド方式などが誕生した。図3.63はV−平ガイド方式ワイヤガイド、図3.64はダイスガイド方式ワイヤガイドの事例を示す。

図3.63 V-平ガイド方式

図3.63 V-平ガイド方式3.62)


図3.64 ダイスガイド方式

図3.64 ダイスガイド方式3.63)

 ここで、ダイヤモンド製のダイスガイドについて簡単に解説する。ダイスガイド方式は、丸穴にワイヤを通してガイドする方式であり、ワイヤ電極の外径に対し、ダイス内径は例えば、5 μmから10 μm程度大きく造り、ワイヤの挿通作業が容易になるよう僅かなクリアランスを持たせている。そのクリアランス分の遊びはあるが、丸穴の範囲内でワイヤ電極を堅固に拘束できるので、テーパ加工中のワイヤ電極の位置ずれを最小限に抑えられる方式である。
 ワイヤガイドの材質については、前述のクロスピン方式ワイヤガイドの場合、当初はセラミックが使われたが、後に耐摩耗性が高いサファイアも使われた。また、Vガイドも同様にサファイアが良く用いられた。しかし、加工時間の累積により、サファイア製のワイヤガイドでもワイヤ電極と接触する部分に顕著な摩耗が見られたことから、より耐摩耗性の高いダイヤモンドが理想的な材質と考えられた*1
 このような理由でダイヤモンドを用いたダイスガイドの実現が目標となり、設計者が目を付けたのは、電線の線引きに使われる線引きダイスであった。幸い当時、既にダイヤモンド製の線引きダイスが実現していたので、これを応用してワイヤ放電加工機用のワイヤガイドを造ることが発案された。ダイヤモンド製ダイスは、素材に天然ダイヤモンドを用い、レーザ穴開け、超音波加工、ワイヤーラッピングなどの特殊な工程を経て造られる。ダイスメーカとの共同開発で、ワイヤガイドとして最適な形状を求めつつ、製造技術から見た造り易さも取り入れて試行錯誤を繰り返し、ダイヤモンドダイスガイドが完成した。図3.65は、三菱電機が初めてダイヤモンドダイスガイドを採用したDWC-75形のワイヤガイド構造で、これがワイヤガイドの基本構造としてその後の設計に継承された。

*1  サファイアの摩耗について、著者は専門的な知見を持たないが、恐らく工作物由来の成分による化学的作用や物理的作用が摩耗の原因と考えられる。

図3.65 DWC75形のワイヤガイド構造

図3.65 DWC75形のワイヤガイド構造3.64)

3.4.5 加工速度の高速化

 ワイヤ放電加工機が誕生してから、市場への普及が進んだ1980年頃に至るまで、加工速度の向上で行われた技術開発について解説する。尚、これから述べる最大加工速度は、2章で説明した面積速度[mm2/min]を指標とし、工作物は板厚の変化がない平板を前提とする。板厚変化がある工作物に関する説明は、5章で詳しく述べる。

(1)トランジスタ充電制御RC回路電源

 ワイヤ放電加工機が誕生したばかりの頃は、最大加工速度が5~7 mm2/min程度であった3.54)。ワイヤ放電加工機の導入先は、加工速度が遅いことを差し引いても、他に十分な導入メリットがある用途分野に限られていた。具体的な例では、数mm幅の狭隘なスリット形状の加工が必要なアルミ押出型の加工は、導入による機械化、省人化のメリットが大きく、ワイヤ放電加工の普及が早くから進んだ分野であった。
 しかし、金型分野全般に広く普及を図るには、さらなる速度向上が必要で、当時を知る関係者の話では、導入に前向きな潜在顧客の声などを参考に、20 mm2/min以上の加工速度が最低条件として認識されていたようである。
 さて、ワイヤ放電加工機の初期の加工電源は、RC回路を基本回路とする電源が主流であった。ワイヤ放電加工は、形彫放電加工と異なり、加工中は常に新しい電極を送り出すため、電極の消耗が無いものと見做せる。従って、電極消耗より、加工速度の向上を優先できるが、その実現には電流波形をできるだけ高ピークかつ短パルス幅とする必要があることが、数々の研究や実験の結果から分かっていた。しかしながら、当時の回路素子、回路設計技術、コストなどを総合すると、RC回路が最適な回路方式として選ばれていた。
 図3.66は、70年代半ばの加工電源に用いられた回路の代表的な事例で、トランジスタ制御回路を介してRC回路のコンデンサに充電を行う仕組みとなっている。この回路の特徴は、トランジスタ制御で充電を止めて適切な休止時間を確保できるので、放電の集中を防いで、比較的大きなエネルギーの電流波形を用いても安定に加工ができるようになったことである。この回路方式の電源により、最大加工速度が約20 mm2/minに達するようになった。

図3.66 充電制御式RC回路

図3.66 充電制御式RC回路3.65)

 図3.67は、上記の回路を改良し、直流電源の電圧を高圧化するとともに電流制限抵抗を小さくして充電時間の短縮を図っている。また、コンデンサの両端電圧をモニタリングし、所定の開放電圧に達した時点で充電を止める制御を加えた。この回路方式により、コンデンサに溜まる電荷が一定となり、放電電流のピーク値を揃え、エネルギーが平準化された効率的な連続放電が可能になった。この回路方式は、三菱電機が1976年に発売したワイヤ放電加工機「DWC100」に搭載された「EP-10HA」 電源に採用された。最大加工速度30 mm2/minを達成し、プレス金型への普及を後押しする原動力となった。

図3.67 高速充電制御式RC回路

図3.67 高速充電制御式RC回路3.65)

 ここまでは電源の改良開発による加工速度の向上を述べてきたが、電源以外で高速化に貢献した要素技術について、1970年代から1980年代初頭までに開発された主な事例を解説する。

(2)超音波加振装置

 1976年にジャパックスは、ワイヤガイド部に取り付けて超音波でワイヤ電極を加振する「クリアカット」装置を発売した3.66)。超音波援用放電加工は、近年も学会で研究論文がいくつか報告されおり、放電間隙の拡大、放電繰り返し数の増大などにより加工速度を向上する効果がある3.67)。ジャパックスは当時、加工速度が従来比2倍と新聞発表し、アドバルーンをやや高く上げていた印象はあるが、それでも実用的速度で40 mm2/min以上と推測され、業界最高の速度を誇っていた。しかしながら、超音波による加振の効果は、例えば後述の加工液高圧供給による極間のフラッシング効果で十分に賄えるようになり、またワイヤガイド部周辺の簡素化が望まれたことから、やがてワイヤ放電加工機に超音波を利用する技術は途絶えることになった。

(3)黄銅ワイヤの開発

 ワイヤ電極の材質は当初、タングステンなどが用いられたが、欧州メーカが安価な硬銅ワイヤを使い始め、日本のメーカも直ぐに追従した。その後、暫く硬銅ワイヤが標準的に使われたが、1970年代後半から、コストが安く、機械にセットする際の作業性が良い黄銅ワイヤに切り替わっていった3.68)。この当時の黄銅ワイヤは熱処理で延性を上げた軟質のワイヤで、加工速度向上の効果が目的ではなかった。しかし、1980年頃から、焼鈍温度を調整し引っ張り強さを従来の2倍程度(950 MPa前後)まで上げた硬質ワイヤが放電加工用に開発された。引っ張り強さが大幅に向上したことで、ワイヤが断線する破断張力に至るまでの余裕が生じ、放電エネルギーを大きくしても電極消耗量の許容値が増したことから、加工速度の向上に繋がった。また、破断張力の余裕を確保できる範囲で、加工中にワイヤ電極に定常的に加える張力の引き上げも可能となった。張力を上げることで、ワイヤ電極が加工中に振動する振幅を減少し加工溝幅を狭くできる。加工速度に貢献しない進行横方向の加工体積が減少するので、加工速度の向上に繋がる。こうした放電加工機用の黄銅ワイヤ電極の開発は、電線メーカの中では、沖電線工業が早くから積極的に取り組み、性能や品質の良い電極線を供給するようになった。ワイヤ放電加工機の輸出は1970年代から始まったが、米国やアジア諸国では、性能、品質の良い黄銅ワイヤの供給元がなく、機械本体と並行して日本製の黄銅ワイヤも海外市場で販売規模を拡大していった。また、ワイヤ電極は加工性能に大いに影響するため、放電加工機を販売拡大する上でも、品質の高い日本の電線メーカとの協力関係が有効であった。

(4)加工液高圧供給

 図3.65は三菱電機が1977年に発売した「DWC75形」のワイヤガイド構造である。このワイヤガイド構造は、工作物に対し加工液ノズルを5 mmから10 mm程度離して配置し、ワイヤ電極と工作物の極間への加工液の供給は、上部ノズルからはほぼ重力による水流とし、下部ノズルからの水流は工作物下面に届く程度に水圧を調節して加工していた。1980年、三菱電機は「DWC-Nシリーズ」の加工速度高速化オプションとして「新SU装置」を発売した。高速化の主な要素技術は、前述の高速充電制御式RC回路と加工液高圧供給であった。図3.68は新SU装置の上下加工液ノズルと工作物の標準配置を示す。従来と大きく異なる点は、工作物に近接して上下部ノズルの位置を配置するようにしたことである。ノズルと工作物の隙間は、ノズルが工作物に対して水平移動しても干渉などの心配がない最小限の隙間として約0.1 mmを設定した。これは、ノズルから噴出した加工液が隙間から漏れるのをできるだけ抑え、加工溝の入り口付近の静圧を高め、溝の奥深くまで水勢が届いて、極間のスラッジ排出の効率を高めることが目的であった。加工液ノズル内の液圧は0.5~0.6 kgf/cm2程度であったが、スラッジ排出を効率化することで、加工速度を大幅に向上することが可能となり、最大加工速度は約60 mm2/minに達した。尚、加工速度の開発競争はその後も続くことになるが、加工液高圧供給は最大加工速度を得るためには必須の条件となった。

図3.68 加工液高圧供給ワイヤガイド構造

図3.68 加工液高圧供給ワイヤガイド構造3.69)

 日本のメーカは、1950年代に形彫放電加工機、続いて1970年代にワイヤ放電加工機を発売し、70年代後半からは世界市場における存在感を急速に上げていった。当初は、欧州のアジエ社、シャルミー社、米国のエロックス社等が世界の代表的メーカであったが、日本メーカの製品は、国内のメカトロニクス技術の発展と急成長した金型産業の需要増に支えられ、性能、品質面で欧米の製品にキャッチアップし、価格では優位に立つ状況となった3.70)。特にワイヤ放電加工機は、NC装置や加工電源の開発による性能向上で製品力が勝るようになり、海外先行メーカには脅威の存在であったと考える。そのため、欧州メーカから何度か、特許係争が仕掛けられ、日本のメーカ各社が苦しめられる局面があった。しかし、係争となった事案は、日本メーカが意図的に技術を模倣したと言うより、何れのメーカも辿りつく必然性の高い技術の先願に苦しめられた格好であり、日本メーカも知財の蓄積を徐々に築いて事態は終息に向かっていった。
 学会誌や新聞記事で確認できるデータから、1981年の日本の放電加工機の総生産額は446億円で、世界の生産額推計900億円の約50%のシェアに達し3.71)、3年後の1984年には、日本の総生産額は796億円(5,600台)で世界シェア55%となった3.72)。国内だけでなく輸出の高い伸びも加わり、1980年代に入り、日本の放電加工機メーカは大いなる飛躍の時代を迎えることになった。


参考・引用文献

3.1)鳳誠三郎,倉藤尚雄:「改訂 放電加工」,コロナ社, (1961)
3.2)B.M. Schumacher, R. Krampitz, J.-P. Kruth : “Historical phases of EDM development driven by the dual influence of "Market Pull" and "Science Push”, Procedia CIRP 6, pp.5-12, (2013)
3.3)倉藤尚雄:日本に於ける放電加工,精密機械, 24(276), pp.98-101, (1958)
3.4)木下夏夫:電気加工学会小史事務局の窓から, 電気加工学会誌, 23(46), pp.97-106, (1990)
3.5)古川利彦 : 放電加工にかけた夢,日刊工業新聞社, p.8, (2005)
3.6)日本工業大学, 工業技術博物館収蔵 展示品ガイド, p.42, (2015),
3.7)マシナリ, 小峰工業出版所, p.1623, (1959.10)
3.8)後藤昭弘:齋藤長男先生インタビュー, 電気加工学会誌, 49(121), pp.106-116, (2015)
3.9)三菱造船・三菱電機, カタログ L-30535-A, (1958.12)
3.10)西部電機提供
3.11)日刊工業新聞, 1962/10/7 (4)  
3.12)近藤晴男:放電加工における油圧制御, 精密機械, 29(345), pp.756-759, (1963)
3.13)日刊工業新聞, 1962/10/5 (2)
3.14)日経産業新聞, 「他社の半値以下で販売」, 1975/7/15 (5)
3.15)FANUC提供
3.16)日経産業新聞, 「独自開発機種、近く販売」, 1980/3/7 (6)
3.17)牧野フライス製作所提供
3.18)今井祥人ほか:使いこなす放電加工, 技術評論社, p.25, (2010) を参考に著者作成
3.19)元木幹雄:放電加工回路, 精密機械, 29(10), pp.726-731, (1963)
3.20)中島宣洋:わかる放電加工の実際,オーム社, p.26, (2019), 図5.1を参考に著者作成
3.21)斉藤長男:放電加工の研究 -放電の分散および集中について-, 精密機械, 26(301), pp.107-115, (1960)
3.22)吉田太郎, 久慈陽一, 大矢広太郎:ダイアックス放電加工機の電源シリーズ, 三菱電機技報, 41(10), pp.1238-1244, (1967)
3.23)三菱電機, カタログ 三菱ダイアックス放電加工機C-20437-B, (1968)
3.24)三菱電機・三菱造船, カタログ 三菱ダイアックスDM-101形 L-305-35-C , (1960)
3.25)中島宣洋:わかる放電加工の実際, オーム社, p.42, (2019), 図6.4を参考に著者作成
3.26)ジャパックス, カタログ JAPAX D100M, (1969.07)
3.27)ジャパックス, カタログ JAPAX D100M, (1968.10)
3.28)三菱電機名古屋製作所, 新たな飛躍のために 写真で綴る60年史, p.84, (1985)
3.29)精密工学会, NC工作機械 - Precipedia, http://precipedia.jspe.or.jp/wiki/index.php?title=NC%E5%B7%A5%E4%BD%9C%E6%A9%9F%E6%A2%B0, (2022/12/6閲覧)
3.30)日本の技術100年(7), 筑摩書房, p.147, (1989) , 図12-4 / 牧野フライス製作所から許諾
3.31)日本工作機械輸入協会, 日本の工作機械輸入の歴史, p.53, (2019)
3.32)松野健一:日本の工作機械産業発展史, 日本音響学会誌, 74(8), pp.469-474 , (2018)
3.33)三菱電機, カタログ デジタル制御装置DAC-10・20 L-33257, (1972)
3.34)高橋義博, 伊東哲朗, 大泉敏郎, 中山建夫:揺動運動をもつNC放電加工機, 三菱電機技報, 55(2), pp.107-111, (1981)
3.35)葉石雄一郎, 真鍋明 : 機械加工現場診断シリーズ5 形彫放電加工, 日刊工業新聞社, p.27, (1997)
3.36)同上, p.30
3.37)ソディック, 放電加工機を3軸NC制御に導く, p.4, 5, 7, (1977)
3.38)ソディック提供
3.39)三菱電機, カタログ ダイアックス放電加工機 Nシリーズ W-C6773-A, (1980.10)
3.40)斎藤長男, 岩村武志: 放電加工の研究, 三菱電機, 31(5), pp.38-47, (1957)
3.41)近藤晴男:放電加工における油圧制御, 精密機械, 29(345), pp.756-759, (1963)
3.42)杉江法雄, 青島富士雄, 坂嘉朗:ダイアックス放電加工機の機械構造, 三菱電機技報, 41(10), pp.1231-1236, (1967)
3.43)井上潔:ワイヤカット放電加工, 未踏加工技術協会, pp.3-5, (1979)
3.44)日綿実業㈱:化合繊用異形断面ノズル加工用ソ連製放電加工機, 第1図, 繊維工学, 21(5), p.343, (1968)
3.45)同上, 第4図
3.46)同上, 第10図を参考に著者作成
3.47)三菱電機, ダイアックス・ニュース No.13 , (1974)
3.48)渡大作, 松尾義侃, 尾仲武基:ワイヤ放電加工機, 電気加工学会, 7(14), pp.67-78, (1974)
3.49)三菱電機, ダイアックス・ニュース No.16, (1975.01)
3.50)ソディック提供
3.51)日刊工業新聞, 「NCのソフト有償化に明暗」, 1974/12/2(10)
3.52)三菱電機, カタログ ワイヤカット放電加工機 W-C6053-F, (1978)
3.53)小林和彦, 大丸隆正, 加藤善久, 丸山寿一, 大島道隆:対話形自動プログラム付ワイヤカット放電加工機, 三菱電機技報, 51(7), pp.469-474, (1977)
3.54)志田伸一:金型分野に見る放電加工機の進歩・変遷と今後の課題, 型技術, 6(13), 日刊工業新聞社, p.25, (1991)
3.55)MiSUMi 技術情報, 抜き型のダイの逃しはなぜ必要か(プレス加工と金型のQ&A Q10), https://jp.misumi-ec.com/tech-info/categories/press_mold_design/pr06/c0303.html, (2022/12/5閲覧)
3.56)日経産業新聞, 1977/6/6 (4)
3.57)日経産業新聞, 1977/11/10 (4)
3.58)日経産業新聞, 1978/10/28 (6)
3.59)三菱電機, カタログ 三菱ワイヤカット放電加工機用テーパカット装置 W-L6054-A, (1978)
3.60)小林和彦, 高鷲民生, 大島道隆, 田中豊, 弥冨剛:ワイヤカット放電加工機における計算機制御技術, 三菱電機技報, 52(9), pp.665-667,(1978)
3.61)著者撮影
3.62)特開昭62-181833, 第4図
3.63)特開昭61-219528, 第1図
3.64)三菱電機, Nシリーズ取扱説明書, 3章 図10, p.9
3.65)三菱電機資料を参考に著者作成
3.66)日経産業新聞, 1976/12/14 (6)
3.67)小川仁, 板東和宏, 常本佳生: 放電加工における加工液超音波振動援用の効果(第1報), 電気加工学会誌, 41(98), pp.163-168, (2007)
3.68)市川満男:日本製ワイヤカットに対応するオベロン電極線の加工事例, 金属プレス, pp.24-28, (1995)
3.69)三菱電機, Nシリーズ取扱説明書, 9章 新SUガイド構造図, p.116
3.70)齋藤長男:放電加工は金型づくりの進展にどのような影響を与えているか, 型技術, 6(13), 日刊工業新聞社, pp.18-23, (1991)
3.71)向山芳世:展望 放電加工の進展, 電気加工学会誌, 17(33), pp.1-17, (1983)
3.72)日経産業新聞,「放電加工機一動かぬ日本勢優位」, 1985/7/19 (8)
3.73)日経産業新聞, 1976/06/24 (4)

Contentsに戻る


 4 金型と歩んだ放電加工機

4.1 金型の概要

 金型とは、金属、プラスチック、ガラス、ゴムなどの素材から、様々な部品を大量かつ短期間で製造する主として金属製の工具である。また、金型を用いて部品を製造する方法は、素材を金型に入れて応力を加えて塑性領域で切断、成型する方法、または熱を加えて液相化した素材を金型に充填し、転写成型する方法などがある。
 金型は、部品を成形する際の応力や高温に耐えて、数千から数百万単位の大量生産に必要な寿命が求められる。従って、金型の材料には、一般の鉄鋼よりも強度、硬度、靱性などに優れた特殊鋼(工具鋼)、または超硬合金(炭化タングステン焼結材)などが用いられる。また、成形する部品の高精度化、高品質化、高意匠化への対応、或いは、金型内に組立て工程の一部を取り込むなどの工程集約も進んでおり、現在も金型の高精度化、複雑化、微細化などが進化し続けている。
 金型産業は、機械工業を支える裾野産業として重要な役割を担っている。自動車、家電、電子機器などの量産型製造業に於いて、金型は部品の品質、価格、納期を向上する役割に留まらず、部品の付加価値の向上、例えばCFRP、バイオプラスチックなどの新素材適用、金属と樹脂の部品一体化、塗装レスや意匠性向上などを実現する役割も担っている。
 放電加工機の最大市場である金型産業は、高度経済成長期に急速に発展した家電や自動車産業の旺盛な需要に支えられ、飛躍的な成長を遂げ、一時期は世界の金型生産の3分の1を日本が占めるとまで言われた。
 日本の放電加工機産業は、世界的な規模と技術を誇る我が国の金型産業から大きな恩恵を受けて、世界トップの位置に立つことができたと言っても過言ではない。また、日本の放電加工機メーカの技術者たちは、主たるユーザである中小企業の現場に足繁く出向き、直接ニーズを聞き取り、迅速に製品へ反映する活動に熱心であったことも、欧米メーカとの差別化に繋がったと著者は考える。

 

4.1.1 金型の種類と用途

 代表的な金型の種類と用途について、以下に概要を説明する4.1)

• プレス型 …………抜き、曲げ、絞り、圧縮などの型に分類される。鋼板や非鉄金属を加工し、自動車、家電、雑貨など様々な部品の製造に使われる。
• プラスチック型 …射出成型、圧縮成形、真空成型などの型に分類される。プラスチック材料を成形し、自動車、家電、雑貨など様々な部品の製造に使われる。
• 鍛造型 ……………熱間鍛造、冷間鍛造などの型に分類される。鉄材や非鉄金属材を叩いて成形加工し、主に自動車のパワートレイン部品、建設機械部品の製造に使われる。
• 押出・引抜型 ……アルミ合金などの押出成形や引抜成形用の金型で、ダイスとも呼ばれる。
• 鋳造型 ……………金型を使う鋳造は、重力鋳造、低圧鋳造、ダイカストなどに分類される。主にアルミ合金が用いられ、自動車部品、各種工業用部品の製造に使われる。尚、鉄材の鋳造には砂型が使われる。
• ガラス型 …………押型と吹型がある。ガラスを成形して、飲料や化粧品ボトル、食器などを製造するために使われる。
• ゴム型 ……………合成ゴムや天然ゴムを成形し、工業用部品、タイヤやガスケットなどの自動車部品、靴底などの製造に使われる。
 

4.1.2 金型の種類別規模

 図4.1は、経済産業省機械統計(生産動態統計調査)のデータに基づき、2019年(暦年)の金型種類別の生産金額を示したグラフである。プレス型とプラスチック型の規模が大きく、両者で全体の約73%を占める。種類別の規模は過去10年で同様の傾向であるが、近年は鍛造型、ダイカスト型の比率が伸びている。鍛造型の伸びは、材料を削って部品を造る方法から材料100%を部品の形に金型で成形するネットシェイプ化が自動車部品などで進んでいるためと考える。また、ダイカスト型の伸びは自動車軽量化に伴うアルミ部品の拡大などが背景にある。金型産業は、量産型製造業の動向を反映し、今後も変化し続けるであろう。
 放電加工が適用される金型は、ガラス型や鋳造型では少ないが、ほぼ全ての金型が対象となる。形彫放電加工機は主にプラスチック型や鍛造型への適用が多く、プラスチック型に於いては、狭隘な形状の加工やコネクタなどの小物精密金型の加工が多い。また、鍛造金型では、金型材料の硬度が高い冷間鍛造型などへの適用が多い。一方のワイヤ放電加工機は、プレス抜き型の刃となるダイやパンチの加工、または押出成形や引抜成形用のダイスなど、主に貫通穴の加工で使われている。

図4.1 金型種類別生産金額 2019年

図4.1 金型種類別生産金額 2019年4.2)

 

4.1.3 金型産業の成長過程

 金型を用いて物を製造する工業は、日本は世界に遅れて発達した。しかし、19世紀末頃からプレス、ガラス、ゴム、セルロイドなど金型を使う成型工業が次第に発展し、金型製作業者が現れ始めた。第二次世界大戦前の1930年頃には鍛造、ダイカスト鋳造などにも金型の利用が拡がった。一方、同じ頃、自動車の国産化を推進するにあたり、金型を始めとする部品供給の裾野産業が未発達であることがボトルネックと認識され始め、この状況は戦後復興期にまで持ち越されることになった。
 1956年、機械工業の合理化を促進し、その振興を図ることを目的とした機械工業振興臨時措置法(機振法)が制定された。対象となったのは機械工業を支える工作機械、鍛圧機械、歯車、ネジ、軸受などの裾野産業で、金型もそれら指定業種のひとつに選ばれた。機振法は当初5年間の時限立法であったが、二度の更新で1971年まで継続し、合理化投資への低利貸付けなどが実施された。また同じ頃、金型製造業者の全国組織である日本金型工業会が1957年に設立され、以後、国に対する金型産業界の窓口となっている4.3) 4.4)
 図4.2は旧通産省の統計データで確認できる1962年(昭和37年)以降の工業統計調査品目編に基づき作成した金型の生産金額の推移を示す。金型の生産規模は機振法が制定された後の高度経済成長時代に上昇を始め、1970年代から1980年代にかけて自動車や家電産業の急速な成長を背景に、規模の拡大が続いた。放電加工機は同じ頃、基盤となる技術を確立し、需要先の増勢も重なり、金型加工に不可欠な工作機械として発展を遂げることができた。

 

4.2 放電加工機の金型製作への適用

 金型作りに機械化をもたらし、高精度、高品質、高付加価値な金型作りに貢献した工作機械の代表は、マシニングセンタ、各種研削盤、放電加工機などである。日本のこれら工作機械メーカは、国内に豊富で優秀な金型市場が存在した恩恵を受け、世界のトップレベルに立つことができたと言える。特に放電加工機は、その用途の大半が金型であり、金型産業の発展から受けた恩恵は特に大きなものがあった。また、放電加工機の発展は、金型作りを大きく変え、金型産業の発展に貢献したと言える。

4.2.1 放電加工機適用前の金型製作 

 日本の金型産業の成長推移を図4.2に示したが、放電加工機が誕生した時期は、ちょうど金型産業の成長が始動した時期と重なる。機振法が制定された1950年代の金型は、金型加工の過半は手作業で行われ、機械化された工程は時間比率で2割程度であったとされる。その後、放電加工機を含めた機械化が進展し、1980年頃には機械化の時間比率が7割程に上昇した4.3)。ここでは、金型製作で最も重要な型彫り加工について、放電加工機の適用前の状況を説明する。

図4.2 金型の生産金額推移

図4.2 金型の生産金額推移4.5)

(1)異形貫通穴の型彫り加工

 異形状の貫通穴の加工は、単純な丸穴や角穴と比べ、工程が複雑でかつ工数が多くなる。図4.3は、手作業を主体とする加工方法の事例である。最初にケガキ線で加工する異形穴の輪郭を描き、ケガキ線に内接し連続する丸穴をあける。始めはドリルで一つとびに穴をあけ、たがね(図4.4)を用いて穴と穴を連結するように穴をあけ、最後に中子を切り落とす。その後、平たがねによる手加工かスロッタなどの機械加工で、凹凸のある箇所を平坦化し、やすりで手仕上げを行う4.6)
 尚、金型材料は熱処理前の硬度が低い生材の状態として、これら加工工程の大半を終わらせ、その後、熱処理を行って硬度を上げ、最終工程のやすり仕上げや磨き作業を行うのが通常であった。手加工や当時の機械加工では、硬度が高い材料を加工するのが困難であったので、このような手順となっていた。従って、硬度を上げた後の工程を如何に少なくするかがノウハウとなっていた。

図4.3 ドリルによる型彫り

図4.3 ドリルによる型彫り4.6)

 
図4.4 丸センタとたがね

図4.4 丸センタとたがね4.6)

 次に当時として、最も機械化が進んだ異形貫通穴の加工方法の一例を説明する。図4.5は、コンターマシン(立て型帯鋸盤)と呼ばれる金属加工機である。アメリカなどで先行して開発されていたが、日本でも戦後から輸入されるようになった。

図4.5 コンターマシンの構造

図4.5 コンターマシンの構造4.6)

 この機械は、(G)ドライブプーリと(H)アイドルプーリの外周にループ状の鋸刃を張架し、プーリの回転で鋸刃を走行させ、金属の溝切り加工ができる。この機械で工作物の外側から溝切りをするのは容易だが、図4.3の様な穴形状を切り抜く場合は、先に鋸刃を通すための穴をドリルなどであけて、鋸刃を一旦切断して穴へ通し、再び鋸刃を繋ぎ直して加工を始める。鋸刃の接合は、機械に備えられている(M)バット溶接機で行う。
 コンターマシンは、従来の熟練を要する手加工を、短時間で能率的な機械加工に置き換えることができた。また、直線だけでは無く、曲線の加工にも対応できる。鋸刃の形状を図4.6に示すが、直線刃と外側に傾斜する刃が交互に並んでおり、鋸刃本体の厚みより少し広い溝が加工される。この広い溝幅と鋸刃の遊びを利用して、鋸刃の進行方向をわずかに傾けて切り進めば曲線の加工ができる(図4.7)。鋸刃の幅を小さくすれば、最小半径も小さくなるが、一方で、鋸刃の剛性が下がり、切削速度は遅くなる。表4.1に鋸刃の幅と加工可能な最小半径の目安を示す4.6)

図4.6 鋸刃の形状

図4.6 鋸刃の形状4.6)

 
図4.7 曲線の切断

図4.7 曲線の切断4.7)

 

表4.1 鋸刃の幅と最小半径の目安4.8)

鋸刃の幅最小半径の目安
1/8”   3 mm 1/8” 3 mm 
1/4”   6 mm 5/8” 16 mm 
1/2” 13 mm 2 1/2” 64 mm 

(2)異形底付き穴の型彫り加工

 異形状の底付き穴の加工は、貫通穴と比べるとさらに工程が複雑で工数が多くなる。図4.8は、手作業を主体とする加工方法の事例である。最初にケガキ線で加工する異形穴の輪郭を描き、ケガキ線の内側全体に無数の穴をドリルであけて行く。底面の深さが異なる場合は、加工する箇所毎に加工する深さを決めて作業を行う。穴あけが終わった後、残った部分をたがねで除去し、断面ゲージを用いて寸法を見ながら、たがね、やすりで仕上げて行く。
 以上が手作業主体の型彫り加工の事例であるが、フライス盤の設備があれば、側面加工が可能な工具など種々の工具を使って、ドリルより効率の良い加工ができる。しかしながら、フライス盤などの機械加工に於いても、ケガキ線を越えないこと、深さを正確に加工することが必要で、カッタの逃げによるセンターずれ、カッタの摩耗による加工寸法不足などに配慮し、断面ゲージを用いて慎重に寸法を仕上げる技能が求められた4.6)

 
図4.8 ドリルによる底付き穴加工

図4.8 ドリルによる底付き穴加工4.6)

 次に当時の最も機械化が進んだ異形底付き穴の加工方法の一例を説明する。一般のフライス盤は、1800年代から欧米で発展し、日本でも戦前から使用されていたが、これに倣(なら)い機能を付加したものが倣いフライス盤または倣い型彫り盤と呼ばれる工作機械である。
 倣いフライス盤は、ゲージ板や木型、石膏型などのモデルを倣って、モデルと同じ形状に金属をフライス加工する機械である。倣いはフィーラ(模写棒、触針)をモデルの表面に常に接触させながら移動することで行う。このフィーラの倣い動作に連動してカッタが動いて加工が行われる。フィーラとカッタの動きを連動させる方式には、手動式、油圧式、電気式があるが、最も一般的な油圧式を採用した倣いフライス盤を図4.9に示す。機械の右手にあるフィーラヘッドにフィーラを取り付け、図4.10に示した様にその下のテーブルに固定したモデルを倣う。また右手のカッタヘッドにカッタを取り付け、倣い動作に連動してカッタを動かすことで、工作物にモデルと同じ形状を加工できる。倣いに必要な技能やノウハウの一部を以下に述べる。

 ①倣いには、垂直倣い、水平倣い(輪郭倣い)、三次元倣いがあり、モデルの形状によって適宜組み合わせる。

 ②倣い方向には形状の特徴によって適、不適が生じる。最適な倣い方向を事前に検討し、図4.11の様に倣い方向を作業途中で切換えることも必要となる。

 ③つづら折りの軌跡で倣う場合の軌跡間隔をピックフィードと言う。モデル形状をできるだけ忠実に複写して加工するためには、形状の複雑度合いや傾斜面の角度などを勘案し、ピックフィードの最適値を検討し、調整する必要がある。

 他にも、カッタやフィーラ形状の選択、倣い方向を荒取りと仕上彫りで変更するなどのノウハウがあった。以上の通り、倣いフライス盤は、技能やノウハウを必要とはしたが、金型加工の機械化を大きく進める役割を担った4.6)

図4.9 倣いフライス盤

図4.9 倣いフライス盤4.6)

 
図4.10 倣い方

図4.10 倣い方4.6)

 
図4.11 倣い方向と適否■

図4.11 倣い方向と適否4.6)

4.2.2 放電加工機適用後の金型製作

 前項ではコンターマシンや倣いフライス盤などが、金型加工の機械化、自動化を大きく前進させたことを説明した。放電加工機は、普及が先行していたこれらの工作機械に対し、どの様な利点があったのかを簡単に説明した後、その利点を活かした金型への適用事例を解説する。
 放電加工機の最も大きな特徴は、導電性があれば、材料の硬度や靱性に関わらず加工が可能なことである。機械加工は、工具を工作物に接触させ、機械的な力を加えて工作物を除去するので、材料の硬度、靱性などが加工の難易度(被削性)に大きく影響する。鉄系の材料を例にとれば、添加成分や熱処理によって、同じ鉄系材料でも硬度や靱性が大きく異なる。例えば、純鉄のビッカース硬度は110 HV程度であるが、金型に使う高速度工具鋼や合金工具鋼などは焼き入れにより700 HVを越える硬度となる。同じ鉄系材料でも硬度により被削性が大いに変わるが、焼き入れした合金工具鋼に至っては、当時の切削技術では加工ができない範疇となっていた。一方、放電加工の原理は、放電により金属を局部的に溶融除去する方法であり、加工の難易度は材料の融点や熱伝導率が影響する。鉄系材料であれば、添加成分や熱処理による硬度の違いは、加工の難易度への影響が小さく、加工速度の差は目安として数10%以内である。加工性を悪くする要因は、炭化物の偏析や鋳鉄に見られる空隙など、導電性の不均一さなどが主であり、高価で品質が高い金型用の工具鋼の方が、一般的な鉄系材料より安定した速い加工が可能である。
 放電加工機の二つ目の特徴は、微細、複雑、狭隘な形状の加工を得意とする点である。コンターマシンの鋸刃や倣いフライスのカッタやフィーラは、数mm以下の小さな曲率を含む形状や幅寸法が数mm以下で深さがその10倍以上の形状は加工が難しい領域となる。放電加工の場合は、例えば0.1 mm以下の曲率を含む形状や、1 mm以下の幅で数10 mm以上の深さを持つ狭隘な形状も加工が可能である4.9)

(1)プレス型

 プレス型は、機械部品、モータコア、接点端子など広範な金属部品の大量生産に用いられる。生産数量が100万個以上となる場合も多く、耐摩耗性や硬度に優れた工具鋼が金型の材料として使われる。また、特に長寿命が必要な精密金型では、硬度が極めて高い炭化タングステン粉末を焼結した超硬合金が使われる。
 現在、プレス型の貫通穴はワイヤ放電加工機で加工するのが一般的である。しかし、放電加工が誕生する前は、4.2.1項で説明した加工方法で一次加工し、焼き入れで硬度を上げた後、やすりや砥石で仕上げていた。放電加工の適用は当初、形彫放電加工機が従来工法に代わってプレス型の加工に適用された。図4.12に形彫放電加工によるギアのプレス抜き型の加工事例を示す。その加工工程は以下の通りである。
 ①一次電極を研削加工などで製作
 ②一次電極を用いて放電加工により二次電極を製作
 ③一次電極を用いてダイを放電加工
 ④二次電池を用いてパンチを放電加工

図4.12 形彫放電加工によるプレス抜き型加工

図4.12 形彫放電加工によるプレス抜き型加工4.10)

 その後、ワイヤ放電加工機が誕生すると、加工時間短縮、精度向上、工程簡易化など多くのメリットにより、貫通穴の加工は一気にワイヤ放電加工に置き換わっていった。
 ワイヤ放電加工が適用される代表的なプレス抜き型にはモータコア打抜き金型がある。図4.13はモータコア順送積層金型と呼ばれる金型で、図4.14はその金型で打抜かれた板を積層したモータコアである。金型には複数の打抜き工程のステーションが並んでおり、部品材料のシート材がステーションを順番にステップ移動し、全ての打抜き工程が完了した後、打抜かれた板の積層とカシメも金型内で行われる。

図4.13 モータコア順送積層金型

図4.13 モータコア順送積層金型4.11)(黒田精工株式会社提供)

図4.14 モータコア部品

図4.14 モータコア部品4.11)(黒田精工株式会社提供)

 図4.15にプレス抜き型の概略構造を示す。製品形状や位置決め穴を打抜く刃となるダイとパンチ、固定型のダイプレート、可動型のパンチプレート、ストリッパプレートなど、ワイヤ放電加工はその全てを加工対象としており、モータコア打抜き金型の製造に於いて中心的な役割を持つ工作機械となっている。尚、モータコア打抜き金型についての詳しい情報は「モータコア打抜き金型の系統化調査」(第11集, 2018)を参照願いたい。

図4.15 プレス抜き型の概略構造

図4.15 プレス抜き型の概略構造4.12)

 プレス抜き型のもうひとつの代表的な例として半導体用のリードフレーム金型を解説する。リードフレームの製造は、その生産数量により、エッチングかプレス加工の選択となる。生産量が多いプレスの場合、金型に長寿命が求められるので、打抜き刃となるパンチとダイには超硬合金が使われ、1980年代まではプロファイル研削盤による加工が主流であった。プロファイル研削は、加工図面を50倍から100倍程に拡大したチャートを作業者が目視で倣いながら、工作物の輪郭形状を加工する方法である。図4.16に示す通り、回転するダイヤモンド砥粒の砥石車を用いて加工するが、狭隘な閉じた輪郭形状を加工する場合は、図の様に、金型部品を分割して加工する必要がある4.13)

図4.16 プロファイル研削による加工方法

図4.16 プロファイル研削による加工方法4.12)

 日本の半導体産業は1980年代から1990年代にかけて隆盛を誇ったが、同時期は半導体の集積度が上がり、パッケージの多ピン化とリード形状の微細化が進んでいた。プロファイル研削によるリード形状の加工は、微細化によって加工難易度が上がり、金型分割による加工点数と作業工数の増大が課題となっていた。1980年代初頭は、放電加工の精度、面粗さ、加工変質層などがプロファイル研削に劣っていが、1990年代にそれら加工品質が目覚ましく改善すると、金型部品を分割せず、簡単に高精度な加工を実現できるワイヤ放電加工への置き換えが急速に進んだ。図4.17 は微細なリードフレーム形状を三菱電機がテスト加工した事例で、スリットの最も狭い幅が42 μmとなっている。

図4.17 リード形状(ダイ)の加工事例

図4.17 リード形状(ダイ)の加工事例4.14)

 微細形状が多数配置された順送プレス金型で、実際にプレス加工されたQFP(Quad Flat Package)と呼ばれる高集積パッケージ用リードフレームの製品例を図4.18に示す。

図4.18 プレス加工によるリードフレーム

図4.18 プレス加工によるリードフレーム 4.15)(新光電気工業株式会社提供)

 リードフレーム金型の高集積化とワイヤ放電加工機の微細精密技術向上は、極めてタイムリーに車の両輪として相互に発展を遂げたことは歴史的に重要な出来事であったと考える。

 

(2)アルミ押出型

 アルミ押出型(またはダイス)は、アルミサッシやアルミ型材などを製造するアルミ押出成形法に用いられる金型である。アルミ押出成形法とは図4.19に示す様に、材料となるアルミ合金のビレットを加熱し、次にステムで加圧しながらダイスに開いた貫通穴を通過させて製品を成形する方法である4.16)。ダイスの貫通穴はベアリング(図4.20)と呼ばれ、製品の断面形状となっている。材料は図4.20の上方からベアリングを通過して下方に押し出されるが、ベアリングの出口側は裏逃げと呼ばれる部分でテーパのある開口形状となっている4.17)

図4.19 アルミ押出し成形法

図4.19 アルミ押出し成形法4.16)


図4.20 アルミ押出型(ダイス)構造

図4.20 アルミ押出型(ダイス)構造4.17)

 住宅用アルミサッシの押出型を例に挙げると、ベアリング巾は1 mmから2 mm程度、ベアリング長さは巾の1.5倍から3倍程度であり、ベアリング部は非常に狭隘な形状である。放電加工機が適用される以前は、ベアリングや裏逃げの加工に機械加工を適用するのが難しく、手作業の割合が高い工程となっていた。放電加工機が登場すると、狭隘形状の加工に有利であることが直ぐに知られ、押出型は早くから放電加工が導入された代表的な事例となった。図4.21、4.22は、形彫放電加工によるベアリング部と裏逃げ部の加工事例を示す。アルミサッシは1950年代に国産化が始まり、1960年代の半ばには住宅用の窓枠の殆どがアルミサッシに置き変わって行った4.18)。生産量が飛躍的に拡大していたこの時期、生産技術の要となる押出型の製作に放電加工機が大きく貢献した。

図4.21 押出型ベアリング部加工事例

図4.21 押出型ベアリング部加工事例4.19)

図4.22 押出型裏逃げ部加工事例

図4.22 押出型裏逃げ部加工事例4.19)

 また、1970年代にワイヤ放電加工が誕生すると、貫通穴では形彫放電加工より効率的で高精度な加工ができることから、1980年頃にはベアリングの加工はワイヤ放電加工に置き換わり、底付き穴と見做せる裏逃げは形彫放電加工とする分担が定着し現在に至っている。
 近年、断熱性の高い樹脂サッシも増えているが、その樹脂押出成形型の加工にも放電加工機が適用されている。特にベアリングは、アルミより長く、テーパ形状が必要であるため、ワイヤ放電加工機に適している。

(3)プラスチック型

 プラスチック型(以下「プラ型」)は、底付き形状の加工を必要とする代表的な金型である。形彫放電加工機は当初、電極消耗率が1%を超えるため、要求加工精度を満足できない場合が多く、底付き穴への適用が進まない状況にあった。1960年代の後半、サイリスタやトランジスタなどを採用した電極消耗が少ない加工電源が開発され、漸く底付き穴への適用が広がり始めた。図4.23はプラ型の概略構造であるが、製品の外観面を成形する雌型(キャビティ)を始め、プラ型の主要な部位は形彫放電加工が利用されるようになり、金型加工のマザーマシンと呼ばれる時代があった。

図4.23 プラ型の概略構造

図4.23 プラ型の概略構造4.20)

 図4.24は1970年代初頭におけるプラ型の加工事例で、様々な部品の金型に形彫放電加工が適用されるようになった。
図4.24 プラ型の加工事例(1970年代初頭)

図4.24 プラ型の加工事例(1970年代初頭)4.21)

 その後も、電極消耗の改善、面粗さの向上などが進み、プラ型での適用が順調に拡大し、1990年代にはプラ型の加工工程の中で、放電加工が大きな割合を占めるようになった。
 しかしその後、放電加工の適用領域を侵食することになったのが、切削加工で発展した高速ミーリング技術であった。高速ミーリングとは、マシニングセンタの主軸を数万から10万 min-1(rpm)で回転し、切込みを浅くして高送りで加工する方法である。工具への負担を抑えて、加工速度と精度を大幅に上げることが可能で、アルミ合金の加工では比較的早くから実用化されていた。日本では、1980年代半ばから理化学研究所等で金型部品に適用する研究が始まったが、工具寿命が短いなどの理由で、直ぐには普及しなかった。その後、超硬合金に耐摩耗コーティングを施したものやCBN(Cubic Boron Nitride/立方晶窒化ホウ素)などの耐摩耗性に優れた工具が入手し易くなり1990年代後半から本格的な普及が始まった4.22) 4.23)。高速ミーリングは、深いキャビティ形状(凹み形状)に於いて、小コーナRや側壁の加工に制約があるものの、適用可能な領域が広く、2000年代には金型加工分野で“切削直彫り”と言う言葉とともに、放電加工から切削加工への置き換えが進んだ。
 ライバル技術により、放電加工の適用領域が侵食されたが、現在は、概ね以下の通り切削加工との棲み分けがなされている。
 ① 加工形状や切削工具のアスペクト比
  アスペクト比とは、加工形状の穴深さと穴径の比率であるが、指標として良く用いられるのは、切削工具の突き出し長さ(L)と直径(D)の比率L/Dである。L/Dが大きいと、切削抵抗による工具の撓みが大きくなり、精度不良や工具の振動などが発生し、最悪の場合は工具折損となる恐れもある。要約すれば、細い径の工具を用いて深い形状の加工は困難と言うことである。放電加工でも、アスペクト比が大きくなると加工が難しくなるが、非接触加工で加工外力が殆どないため、加工可能な形状のアスペクト比の限界は、切削加工と比べ数倍から10倍以上となる。(切削加工の限界アスペクト比は、次項の被削性によっても変化する)
 ②工作物材料の被削性
  硬度や靭性が高く被削性が悪くなるほど、放電加工の優位性が高まる。また、切削加工の場合は適用できるアスペクト比の限界が低下する。
 アスペクト比と被削性は、切削加工と放電加工のどちらを選択すべきかの判断基準となる。しかし、この閾値は実践的に求められており、公に明示されるデータは見当たらない。材料硬度がHRC50の場合、目安としてL/D=10が切削加工と放電加工の領域を分ける閾値であると記しておく。
 ここで、近年のプラ型への放電加工の適用事例を解説する。図4.25 は膝の人工関節置換術に用いられる人工膝関節である。図の脛骨ベースプレートはチタン合金製の部品であるが、それを埋め込む前に、位置合わせなどの調整用に樹脂製のダミー部品が用いられる4.24)。図4.26に樹脂ダミー部品、成型に用いる金型、及び放電加工用の電極を示す。この金型の加工形状は、深さ33 mmで、底面の隅Rが1 mm(工具径φ2 mm)で、切削加工が困難なL/Dであるため、放電加工が選択される。また、側壁のテーパ面(傾斜面)を小径工具で加工すると、工具の撓みによる精度不良や振動などの問題が発生する点も放電加工が優位となる要因である。

図4.25 人工膝関節造

図4.25 人工膝関節造4.25)


図4.26 人工膝関節の金型、電極、樹脂部品

図4.26 人工膝関節の金型、電極、樹脂部品4.25)

 上記の事例は、放電加工が適用される代表的な事例であるが、プラ型では他に、狭隘な形状であるゲートやリブと呼ばれる部位も放電加工の適用領域になっている。ゲートは溶かした樹脂を金型内へ流し込むための導入路で、ストレートまたはテーパの小径穴となっている。また、リブとは製品外観面の裏側に配置される障子の桟の様な薄板形状の部位で、製品の強度を上げるために配置される。図4.27は自動車のエアコン制御のパネルを裏側から見た写真で、多数のリブを配置することで、部品の重量比強度を上げている。
 図4.28はリブ形状のサンプル加工事例である。近年は部品の軽量化のためリブの薄板化が進んでいるが、そのニーズを実現する加工方法として、放電加工が軽量化に貢献している。

図4.27 カーエアコン制御パネル裏面

図4.27 カーエアコン制御パネル裏面4.26)


図4.28 リブ形状の電極と加工サンプル

図4.28 リブ形状の電極と加工サンプル4.25)

(4)鍛造型

 鍛造には材料を高温に熱して成形する熱間鍛造と常温で成形する冷間鍛造などがある。鍛造で造られる代表的なものは、自動車の動力伝達機構の各種部品である。熱間鍛造は、材料の変形抵抗を小さくして成形するため、大型で複雑な形状の成形が容易であるが、欠点は精度や表面性状があまり良くないことである。冷間鍛造は変形抵抗が大きくなるため、大型部品には向かないが、精度や表面性状が良いことが特長である。近年、金属加工の分野にネットシェイプと言う考え方が導入され、素材を削って切りくずを出す加工から、材料歩留まり100%で部品を加工する方法への転換が指向されている。代表的な実現手段としては冷間閉塞鍛造や板鍛造があり、機械加工に近い品質と精度で、機械加工より大幅に生産性の高い部品製造が可能になっている。その鍵となるのは高耐久な金型であり、耐磨性の高い工具鋼や超硬合金が型材に使われる。工具鋼は概ね高速ミーリングによる加工が主流だが、超硬合金の加工は形彫放電加工が適用され、材料別に棲み分けがなされている。
 図4.29、図4.30は、冷間鍛造型をモチーフとしたサンプル加工事例で、何れも工作物は超硬合金、電極は銅タングステンである。

図4.29 スパイラルベベルギア鍛造型

図4.29 スパイラルベベルギア鍛造型4.26)(株式会社アタイス提供)


図4.30 ヘリカルギア鍛造型

図4.30 ヘリカルギア鍛造型4.26)(株式会社アタイス提供)


4.3 放電加工機の産業規模の推移

 放電加工の金型産業への貢献について述べてきたが、ここでは放電加工機の産業規模の推移について解説する。最初に、参考とした公的な統計は以下の通りである。
 - 経済産業省 生産動態統計 機械統計年報
 各種工業製品の生産、販売、在庫に関し、それぞれ台数、重量、金額が集計されている。放電加工機の統計は1979年まで遡ることができるが、1978年以前は、「放電、電解及び超音波加工機」に含まれて集計されており、放電加工機単独の内訳が不明である。
 - (一社)日本工作機械工業会 受注統計
 工作機械の種類別に受注金額が内需、外需に分けて集計されている。放電加工機の統計は1987年まで遡ることができる。尚、受注金額には部品、工事の受注金額も含まれる。
日工会統計の内外需受注金額と経産省統計の生産金額を比べると、増減傾向がほぼ一致し、概ね全期間で日工会統計値が経産省統計値を上回っている。日工会統計値が部品、工事金額を含む点を考慮すると、両者の整合性は高いと確認した。本報告では、集計期間が長い経産省の機械統計年報を参照しながら解説する。


 

4.3.1 放電加工機の国内生産規模推移

 図4.31は機械統計年報に基づき、放電加工機の国内生産台数の推移を表したグラフである。凡例の中で、非NC形彫とあるのは、NC装置が搭載されていない形彫放電加工機を指している。また、1983年以前の集計は、非NC形彫と数値制御放電加工機の2分類で集計されており、NC形彫放電加工機とワイヤ放電加工機の内訳は不明である。尚、公的な統計ではないが、1978年以前のデータを含むワイヤ放電加工機の生産台数を三菱電機が独自に集計したグラフがあるので、参考までに図4.32に示す。機械統計年報で分かるワイヤ放電加工機単独の最も古い生産台数のデータは1984年(昭和59年)の3,481台であるが、図4.32のデータと、ほぼ一致している。

図4.31 放電加工機の国内生産台数の推移

図4.31 放電加工機の国内生産台数の推移4.27)

 図4.32から分かる重要な点は、1975年(昭和50年)から1985年(昭和60年)の10年間で、ワイヤ放電加工機の生産台数が約10倍となる急成長を遂げたことである。主要な販売先である金型産業の出荷額は図4.2に示したように1975年の2,721億円から1985年の13,067億円に約5倍の伸びを示した時期である。販売先の市場が高成長の途上であったことに加え、加工速度や精度が急速に向上したことで、ワイヤ放電加工機の普及がさらに加速したと言える。

図4.32 ワイヤ放電加工機の成長過程

図4.32 ワイヤ放電加工機の成長過程4.28)

表4.1 鋸刃の幅と最小半径の目安4.8)

ソディック牧野フライス製作所三菱電機
1990年 タイ工場
1995年 中国(蘇州)工場
2007年 中国(厦門)工場
2007年 中国(崑山)工場
2010年 シンガポール工場
1998年 中国(大連)工場

 次に図4.31を見ると、放電加工機全体の生産台数は1990年頃にピークを迎え、また、図4.2に示した金型の生産額もほぼ同じ頃の1991年がピークとなっている。
 その後、放電加工機、金型ともに国内の生産規模が減少する傾向が見られるが、それは1985年のプラザ合意を起点とする円高の進行が深くかかわっている。即ち日本の製造業全体が低コストを求め、海外に生産拠点をシフトし、海外からの部材調達を拡大する流れが始まった。放電加工機メーカも同様に1990年頃から海外に製造拠点が設立されるようになり(表4.2)、徐々に海外生産比率が上昇していった。現在、海外生産の比率が高いメーカは、ソディック、牧野フライス製作所、国内外で同程度の比率となっているのが三菱電機、国内生産を中心とするメーカは、ファナックと西部電機である。主要な海外の生産拠点は表4.2の通りで、概ね日本メーカ全体の海外生産比率は50%を超えているものと推定する。

 

4.3.2 放電加工機の世界規模と日本メーカの現状

 現在、世界規模で放電加工機の生産や販売を集計する統計がない状況である。著者の個人的な推計で、あくまでも目安であるが、世界の放電加工機の生産規模を以下に記す*1。国内メーカの国内生産分はほぼ半減したが、その分は海外拠点で賄われており、現在も、世界における国内メーカのシェアは高い位置を維持していると考える。
  • 国内メーカの国内生産台数
  約3,000台
  • 国内メーカの海外生産台数
  約3,500~4,000台
  • 欧州、台湾等メーカの生産台数
  約2,500~3,500台

*1 簡易な細穴放電加工機などのローエンド機は除く

参考・引用文献

4.1)金型工業会, 金型の種類, https://www.jdmia.or.jp/mold/ , (2022/12/6 閲覧)
4.2)経産省生産動態統計調査データに基づき著者作成
4.3)田口直樹: 産業技術競争力と金型産業, ミネルヴァ書房, pp.131-142, (2011)
4.4)馬場敏幸:金型産業の技術形成と発展の諸様相, 日本評論社, pp.21-27, (2016)
4.5)経産省工業統計調査 品目編データに基づき著者作成
4.6)高木六弥:「金型工作法」増補改訂2版, 日刊工業新聞社, pp.51-60, pp.106-134, pp.142-149, (1969)
4.7)高木六弥:「金型工作法」増補改訂2版, 日刊工業新聞社, p.148 (1969), 図6.26を参考に著者作成
4.8)高木六弥:「金型工作法」増補改訂2版, 日刊工業新聞社, p.148 (1969), 表6.10を参考に著者作成
4.9)前川亘:放電加工のメリットを活かすかんどころ,マシナリーオートメーション,Vol.36(3),マシナリ出版, pp.52-55, (1973)
4.10)三菱電機, カタログ ダイアックス放電加工機 C-20437-C, p.1,(1970)
4.11)黒田精工, カタログ FASTEC® System CAT.KD191-19.12, 表紙
4.12)著者作成
4.13)市川良郎:ICリードフレーム用金型設計・製造の効率化, 型技術2(13), 日刊工業新聞社, pp.30-35, (1987)
4.14)三菱電機, カタログ PAシリーズ K-174-6-C0009-F, p.3, (2008)
4.15)新光電気工業, 2020年度( 2021年3月期)第3四半期決算概要について, p.4, (2021)
4.16)日本塑性加工学会, 押出し加工, 図3.1, コロナ社, p.81, (1992)
4.17)軽金属協会, 新版アルミニウム技術便覧,カロス出版, p.564, (1996), 図6.7.9 を参考に著者作成
4.18)高辻則夫:押出し加工50年の足跡, 塑性と加工, 52(600), pp.78-82, (2011)
4.19)三菱電機, カタログ 加工応用編 W-C6050-B, p.4, (1979)
4.20)森重功一:最新金型の基本と仕組み, 秀和システム, p.37, (2007) を参考に著者作成
4.21)三菱電機, カタログ 放電加工機C-20437-E, p.2, (1972)
4.22)中川威雄:金型加工用高速ミーリング, 生産研究 東京大学生産技術研究所報, 49(9), pp.8-12, (1997)
4.23)松岡甫篁、安斎正博:高速ミーリングの基礎と実践, 日刊工業新聞, pp.1-12, (2006)
4.24)週刊ダイヤモンド, 2018/11/3, pp.74-75
4.25)牧野フライス製作所提供
4.26)三菱電機, サンプル展示銘板 / 株式会社アタイスから許諾
4.27)経済産業省 生産動態統計 機械統計年報に基づき著者作成
4.28)齋藤長男, 毛利尚武, 高鷲民生, 古谷政典:放電加工技術, 図4.1, 日刊工業新聞社, p.114, (1997)

Contentsに戻る

 5 ワイヤ放電加工機発展の系統化調査

 1980年以降は、生産性や品質などの基本性能の向上に加え、自動化、用途拡大など様々な課題に対応する開発が行われた。本章では、概ね1980年から2015年頃までに開発された技術の中で、ワイヤ放電加工機の発展に貢献した技術について調査した結果を述べる。

5.1 生産性向上の技術

 3章では、ワイヤ放電加工機の最大加工速度が60 mm2/minに達するまでの過程を解説したが、1980年以降も引き続き加工速度の追求が生産性向上の中心課題であった。

5.1.1 MOSFET電源

 ワイヤ放電加工では電極消耗を抑制する必要があまりないため、消耗は多いが速度が速い短パルスで高ピークな電流波形を可能とする電源が開発の方向性となった。簡単な構成で短パルス高ピーク波形が得られるRC回路の時代が暫く続いたが、次世代の電源として誕生したのが、パワーMOSFET(Metal-Oxide-Semiconductor Field Effect Transistor)を採用した新型トランジスタ電源であった。
 パワーMOSFET は1970年代半ば頃から入手可能となったスイッチング素子で、高速スィッチングや低オン抵抗に優れ、電力スイッチング用途で従来のバイポーラトランジスタに置き換わるものと期待された。また、パラレル接続で大電流を流せ、低電圧な電圧駆動が可能といった特徴があり、短パルス高ピークな電流波形とする電源開発には理想的なスイッチング素子であった。しかし、性能に反し品質に懸念があり、三菱電機の開発者は当時、パワーMOSFETに注目しつつも採用を躊躇していた。実装評価に長い期間を費やし、漸く1982年に新型トランジスタパルス電源G10Fが完成した。DWC-Fシリーズ(図5.1)に搭載し、最大加工速度が従来比約2倍の110 mm2/minとなったニュースが業界に轟くことになった。日本のワイヤ放電加工機が世界市場で揺るぎない地位を築く礎となったマイルストーン技術であった。
 G10F電源の回路(図5.2)は左側のサブ電源回路と右側のメイン電源回路で構成される。最初にサブ電源が開放電圧を極間に印加し、放電の発生を極間の電圧降下で検知すると、瞬時にメイン電源を駆動して高電流波形を供給する仕組みである。当初のMOSFETは2SK512で、1個あたり数10Aの電流を流すことができた。これを多数個並列接続し数μsのパルス幅で500 Aを超える尖頭値の高い電流波形を実現した5.2)

図5.1 三菱電機DWC110F-CNC2

図5.1 三菱電機DWC110F-CNC25.1)

図5.2 MOSFET 電源の回路構成

図5.2 MOSFET 電源の回路構成5.3)

図5.3 MOSFET 電源の電流波形

図5.3 MOSFET 電源の電流波形5.3)

 MOSFET電源の電流波形を図5.3に示す。電流ピーク値(Ip)は、以下の近似式で表され、Δtによりピーク電流を線形制御できる。


 即ち、ドライバ回路が出力する駆動パルスの幅をt1t2t3と変えると、多段階にピーク電流値を設定できる。また、ドライバ回路のデジタル化は多様な制御を開発する道を拓いた。例えば、加工状態量から加工の不安定を判定し、電流ピーク値を下げる、或いは休止時間を延ばすなど、加工を安定化させる制御が可能となった。また、電流波形の再現性が高く、ドライバ回路の駆動パルスの履歴を記録できるので、単位時間当たりの積算電流値、即ち放電の総エネルギーを算出できるようになった。これを応用し、加工中の工作物の板厚を平均加工速度と積算電流値から演算し、求められた板厚に適した加工条件に自動で切り換えることも可能となった。


5.1.2 高速化の開発史

 ワイヤ放電加工機が誕生してから2004年までの最大加工速度の推移を図5.4に示した。また、グラフの各プロットに対応するデータを表5.1にまとめた。1982年に110 mm2/minが達成された後も、各社は高速化の競争に鎬を削り、2002年には500 mm2/minに到達した。

表5.1 最大加工速度の推移

表5.1 最大加工速度の推移 [参考文献]
*1志田:金型分野に見る放電加工機の進歩・変遷と今後の課題, 型技術, 日刊工業新聞 , p.25,( 1991)
*2日経産業新聞, 1976/12/14(6)と*3 を参考に著者推定
*3日経産業新聞, 1978/01/06(5)
*4日経産業新聞, 1980/10/20(8)
*5日経産業新聞, 1982/10/14(8)
*6日経産業新聞, 1983/12/21(8)
*7日経産業新聞, 1984/04/10(8)
*8牧野フライス製作所 カタログ H136-8610
*9日経産業新聞, 1989/11/28(13)
*10日経産業新聞, 2002/10/25(10)
*11日経産業新聞, 2004/09/14(12)

図5.4 最大加工速度の推移


 高速化の主な要素技術である(1)加工電源、(2)加工制御、(3)ワイヤ電極、(4)加工液高圧供給について開発史の一端を説明する。

(1)加工電源

 高速化のために電流波形を短パルス高ピークとする要素技術には以下があった。

電圧源の昇圧:電流ピーク値を上げるには電圧源の昇圧が有効な手段である。但し、スイッチング素子の耐圧やノイズの問題により、限界があった。
低インダクタンス化:電源から電極や工作物への給電経路のインダクタンス(L)は、電源回路のLより大きいのが通常である。給電ケーブル、機械構造体など給電経路にある全てのものがLを低減する対象となる。特に重要であるのは給電ケーブルで、低インダクタンスのケーブルを選び長さを短くする設計が求められた。また、構造体のLを低減するため、離れた給電経路の間を補助給電ケーブルで短絡する手法なども有効であった。
MOSFET並列個数:MOSFETの並列個数を増すほど電流ピーク値が上がる。一方、コストも上昇するため、標準仕様の機械と分けて高速加工専用機、または高速加工オプションの形で並列個数を増やした電源を搭載した機械が開発された。

(2)加工制御

 高速化はワイヤ断線のリスクを高めるが、断線を回避する制御の開発により、高速化の余地が増す。加工中の状態量からワイヤ断線の予兆を捉えるには、開放電圧が立ち上がった後に放電が発生するまでの時間、或いは放電発生中の放電電圧などが有効な指標である。断線の予兆を捉えると加工を安定化させる抑制的な制御を行い、加工が安定と判定すれば、促進的な制御を行うことで平均加工速度を上げることが可能であった。


(3)ワイヤ電極

 1982年に記録された110 mm2/minは、最も一般的なφ0.2 mm黄銅ワイヤを使用し達成されたが、その後は線径が太い黄銅線の利用で最大速度が塗り替えられた。さらに後年は、高速加工用に開発された特殊なワイヤ(以下「高速ワイヤ」)が利用された。高速ワイヤは始め欧州で開発され、芯線が銅または黄銅で表面を亜鉛で被覆したものが1980年頃から日本へ輸入されるようになった5.4)。亜鉛は放電を誘発する特性があり加工速度を上昇させるが、強度が低いため芯線に高強度な材料が使われた。1990年頃からは、日本の電線メーカ各社が独自に開発した放電特性、熱伝導率、高温強度に優れた高速ワイヤを販売するようになった5.5)。これら高速ワイヤの利用で、黄銅ワイヤに比べさらに加工速度を上げることが可能になった。高速化の開発史の後半は、高速ワイヤの寄与するところが大きかったと言える。


(4)加工液高圧供給

 加工速度を上げるにはスラッジの排出効率を上げることが重要で、1980年以前から加工液の高圧供給が開発されてきたことを3章で説明した。1980年以降も高圧化が進み、最終的にはシャット圧が20 kgf/cm2(200 MPa)を超えるポンプも採用された。
 以上、ワイヤ放電加工機の高速化について要素技術の開発の歴史を説明した。加工電源の開発、ワイヤ電極の大径化や材料開発などで高速化が進展したが、一方で高エネルギーによる面粗さや精度の悪化、ワイヤ電極のコストアップなどのデメリットが増した。大物部品や難削材部品の加工で高速加工のニーズは存在するが、多くの一般ユーザではメリットが薄くなり、高速化の開発競争は幕を閉じた。しかし、切削加工が高速ミーリングの開発で再興した様に、ブレークスルー技術の誕生が期待される。


5.1.3 浸漬加工槽と板厚差条件自動制御

 ワイヤ放電加工機は二次元形状の貫通穴の加工で、他の工作機械に優る生産性や精度を実現しプレス抜き型を中心に普及した。プレス抜き型の加工対象はダイとパンチ、及びプレート類であるが、何れも板厚が一定の平板が多い。こうした背景で、ワイヤ放電加工機の高速化は平板を前提とした開発が進められた。一方、1980年代末頃から用途拡大に向けて汎用的な加工形態に焦点をあてた加工速度の高速化が新たな生産性向上の課題となった。


(1)汎用的な加工形態での課題

 汎用的な加工形態の例を図5.5に示す。ワイヤ放電加工の用途が拡大するとともに工作物の形状もプレス抜き型に多い単純な平板だけではなく、板厚変化や中空部分を含んだ多様な形状の工作物が加工対象として増えてきた。はじめに、汎用的な加工形態における課題を以下に述べる。

1)加工液供給
① 気中放電によるワイヤ電極の断線
 放電加工は加工液中で行われるので通常は電極や工作物は加工液で冷却される。しかし、図5.5の段差形状の場合、加工液ノズルから供給される水流が工作物の角部に遮られて乱れるため、放電が発生している箇所への加工液の供給が悪くなる。また中空形状の場合はノズルから加工液を直接供給できない箇所がある。加工液の供給が悪くなると、気中放電と言われる大気中での放電が発生し、ワイヤ電極の局所的な高温化と材料強度の低下で、ワイヤ電極の不意の断線が発生する。対応する技術がない時代は、作業者は断線を回避するため、放電エネルギーを下げた条件設定で加工速度を落として加工せざるを得なかった。

図5.5 汎用的な加工形態5.6)


② ノズル離れによるスラッジ排出効率低下
 図5.6は上部ノズルが工作物から離れた状態で加工する様子を表した。工作物に近接する下部ノズルからは、板厚中央付近まで加工液が届いているが、工作物から離れている上部ノズルからは、圧力をかけて加工液を供給できないため、加工溝のスラッジを排出する効率が低下する。スラッジの排出が不十分であると、短絡や放電集中などの不安定で効率が悪い放電の頻度が高くなり、加工速度の低下やワイヤ断線の危険性が増すことになる。この場合も加工の安定化のため、加工速度を下げざるを得なかった。

図5.6 ノズル離れの加工状態5.3)


2)工作物の板厚変化

 ワイヤ電極が断線しない上限のエネルギーをここでは断線限界エネルギーと呼ぶことにする。断線限界エネルギーは例えば前述の加工液の供給効率によって変わるが、板厚が異なる場合は電流密度が変わり、断線限界エネルギーも変わる。従って、板厚変化がある工作物を加工する場合、板厚毎に最適な加工条件に変更できれば加工効率が最大となる。しかし、板厚が変化する箇所を正確かつ瞬時に捉えて条件を変更することは、作業者は勿論、NCプログラムによる変更も事実上不可能である。こうした状況に於いては、断線限界エネルギーが最も低い板厚に合わせて加工条件を設定し工作物全体を加工することになり、生産性向上の足枷となっていた5.7) 5.8)


(2)浸漬加工槽の普及

 以上の課題に対応すべく最初に適用された解決策は浸漬加工槽の採用であった。浸漬加工槽自体は既に実績*1のある技術であったが、ここに紹介するのは汎用のワイヤ放電加工機に浸漬加工槽を採用した製品である。それまで標準であった加工液をノズルから噴出するだけの吹掛け加工に対し、浸漬加工は工作物を加工液に浸漬して加工する方法で、段差形状や中空形状の加工でも気中放電の発生がないため、吹掛け加工より大きなエネルギーを投入して加工速度を上げることが可能となった。以下、浸漬加工槽を採用した初期の製品(浸漬加工機)の一覧を表5.2に、製品例としてファナック「CUT-WW2」の外観を図5.7に示す。

*1  加工液に油を使う形彫放電加工機は、消防法の規定で浸漬加工槽が必須である。また、水を使う高精度型ワイヤ放電加工機で工作物の温度安定のため浸漬加工槽を採用する事例は1980 年前後からあった。

表5.2 初期の浸漬加工機


図5.7 ファナックCUT-WW2

図5.7 ファナックCUT-WW25.9)


 浸漬加工槽を採用した当初、今まで未経験であった加工槽内の金属腐食、加工槽シール構造の保守などの問題が発生した。特に金属腐食の問題が大きく、後述する無電解電源の開発が急がれることになった。


(3)板厚差条件自動制御

 汎用的な加工形態の課題に対し、業界が次に取り組んだのは、板厚変化のある工作物の生産性向上であった。各社で技術の詳細は異なると推定するが、基本的な仕組みとしては、加工中の板厚を検出し、その板厚に応じた加工条件に変更する適応制御である。これに該当する技術は1994年に三菱電機が開発した「PM制御」、1998年のソディック「Thinking Circuit」5.10)などである。以下、例として三菱電機のPM制御について概要を述べる。


□ PM制御
 PM制御は工作物の板厚や加工状況の変化に対して、最適な加工エネルギーを自動設定する業界初の適応制御機能で、1994年に発売したCXシリーズから搭載を始めた。

1)PM制御の原理
 PM制御は、 図5.8に示すように、 加工状態モニタ及び板厚モニタの二つのセンシングと加工エネルギーを制御するパワーモニタで構成されている5.11)

 加工状態モニタ:単一の放電パルス毎に加工状態の良否を判定し、統計的に加工状態の安定度を判別し、短絡や放電集中などの異常放電状態を検知する。
 板厚モニタ:単位時間当たりの加工エネルギー、工作物の加工量をリアルタイムで観測し、工作物の板厚変化を自動検出する。
 パワーモニタ:ワイヤ電極や工作物種類などの入力データと上記加工状態モニタ、 及び板厚モニタの検出結果を統合して、加工状態の変化を瞬時に判定し、状態に応じた最適な加工エネルギーを投入するように加工条件を制御する。
図5.8 PM 制御の仕組み

図5.8 PM 制御の仕組み5.11)



2)PM 制御の特長

 ①加工エネルギーの最適制御
  図5.9に加工状態と断線限界エネルギーの関係を示す。段差形状の工作物や工作物の端面から加工する場合、加工液の供給効率が悪化し、断線限界エネルギーが低下する。PM制御は、加工中の短絡や放電集中などの異常放電を検知して断線限界エネルギーの低下を判定し、それに応じて加工エネルギーを抑制してワイヤ断線を防止する。一方、良好な加工状態に転じて断線限界エネルギーが高いと判定すると、積極的に加工エネルギーを増大させる制御を行う。常に加工状態に応じた最適な加工エネルギーが投入されるので、ワイヤ断線の防止と効率の高い加工が可能となった。
図5.9 加工状態とワイヤ断線限界エネルギー

図5.9 加工状態とワイヤ断線限界エネルギー5.11)

 ②板厚検出による加工条件の自動設定
  工作物の板厚によって断線限界エネルギーが異なるので、PM制御は板厚モニタによって工作物の板厚を自動検出し、板厚に応じて最適な加工エネルギーになるように加工条件を制御する。これにより、各板厚に応じた効率の高い加工が自動的に行われ、総加工時間の短縮が可能になった。

3)PM 制御の効果
 図5.10は段差形状の工作物を加工した場合の加工時間をPM制御のON/OFF、及び浸漬加工と吹掛け加工を組み合わせた4つのパターンで加工時間を比較したものである。PM制御がOFFの場合でも、浸漬加工は吹掛け加工より大きなエネルギーを投入できるので、加工時間が短くなる。さらにPM制御をONにすると、浸漬、吹掛け加工共に加工時間が短縮される。

図5.10 段差形状の加工事例

図5.10 段差形状の加工事例5.11)


5.2 精密金型対応技術

5.2.1 超仕上電源

 ワイヤ放電加工では、仕上加工の回数を重ねると加工形状の精度や面粗さが段階的に向上する。しかし、実現可能な最良面粗さは、主に加工電源の性能に依存して限界がある。精密で複雑な形状の金型加工は従来、研削加工で仕上げられていたが、それをワイヤ放電加工に置き換えるための課題の一つが面粗さの向上であった。本報告書ではRz 1 μm*1以下の面粗さが得られる仕上加工用の電源を、便宜上、超仕上電源と呼ぶ。

*1  Rz(十点平均粗さ)は、JIS B 0601:2001 の規格であるが、本報告書ではJIS B0601:1994 のRy(最大高さ)、またはそれ以前の規格のRmax を同等と見做し、表記をRz に統一する。


(1)超仕上電源の開発

 1980年頃に実用化されていた一般的な仕上加工用直流電源は、図5.11に示すR-C(-L)等価回路が代表的なものであった。しかし、この回路方式では、最良面粗さをRz 数 μm程度とするのが限界であった。
 面粗さは電荷量と相関があるので、面粗さを向上するためには、低ピークで短パルスの電流波形を供給できる電源の開発とワイヤ電極と工作物の間の浮遊容量の低減が課題となった。
 電荷量を小さくするには、電源の開放電圧を下げる方法があるが、電圧が低すぎると放電が励起されなくなるため限界がある。一方、電圧波形のパルス幅を短くすることは、図5.11の回路方式に於いて、目的に叶う高速なスィッチング素子が1980年頃には入手できなかった。そのため、多くのメーカはLC発振よる交流高周波電源を開発して面粗さの向上を図った5.12)。また、浮遊容量の低減は、工作物単体、または工作物を含む周辺構造体をセラミックス等で機械本体と絶縁し、仕上加工電源専用の給電ケーブルを接続する手段が取られた。

図5.11 直流R-C(-L)等価回路

図5.11 直流R-C(-L)等価回路5.12)


(2)超仕上電源の製品化

 仕上加工用の交流高周波電源は1979年に三菱電機が発売した「DWC-90P」に搭載の「ファインカット装置」であったが、面粗さRz 1 μm以下には到達しなかった5.13)。Rz 1 μm以下を達成した初の超仕上電源は、ソディックが1984年に開発した仕上加工用回路「PIKA-Ⅱ」(油加工用)であった5.10)。続いて、三菱電機が1985年に水加工用の「FS電源」を開発5.14)、牧野フライス製作所は「クリスタル電源」を開発し1986年に発売したEC-3141に搭載5.15)した。Rz 1 μm以下の面粗さの実現は、後工程の磨き作業を削減、或いは不要とし、それまで超精密金型の仕上加工の中心であった研削加工からワイヤ放電加工への置き換えが進む契機となった。しかし、交流高周波電源は、機械側とのマッチングを取るための調整が必要で、また、電源から工作物に至る給電経路の全ての部材が持つ浮遊インダクタンス(L)や浮遊容量(C)が回路に含まれるため、給電経路全体の調整に難しさがあった。交流高周波電源をベースとした開発が暫く続いたが、1990年代の後半に高速スイッチング素子を応用した超仕上電源の開発が始まり5.16)現在の超仕上電源の基本方式となっている。超仕上電源の開発史の中から、製品の事例を次にいくつか紹介する。
1)三菱電機「FS4電源」
 三菱電機は2002年に交流高周波方式の後期の製品となる「FS4電源」を開発した。図5.12はFS4電源のブロック図と極間の電圧波形を示す。従来の電源は、連続する交流波形(13.56 Mz)を極間に供給していたが、スイッチング回路を設けることで、交流波形を供給する時間T1と供給を停止する休止時間に相当するT2を設けた。この回路は、定常アーク放電の抑制、静電引力の低減などにより、加工の安定、面粗さ向上、ワイヤの撓み低減による精度向上を実現した。

図5.12 電源ブロック図と電圧波形

図5.12 電源ブロック図と電圧波形5.17)


2)三菱電機「Digital-FS電源」
 2000年前後から高速スイッチング素子を応用したデジタル回路による制御性の高い短パルスを発生する電源が開発されるようになった。三菱電機が2008年に開発した「Digital-FS電源」はその一例である。図5.13は機械本体とDigital-FS電源の構成、図5.14は電源回路と電圧・電流波形を示す。

図5.13 Digital-FS 電源の構成

図5.13 Digital-FS 電源の構成5.18)


図5.14 電源回路と電圧電流波形

図5.14 電源回路と電圧電流波形5.18)

 この回路の動作は、先ずはパルス制御回路からインダクタンス素子に蓄積するエネルギーをコントロールするための時間τ1のパルス信号を出力する。信号を受けスイッチング素子がオンし、インダクタンスLに電流Iが流れ、エネルギー E=1/2・LI2が蓄えられる。次に、パルス信号をオフとして、インダクタンスLへの充電が停止するが、スイッチング素子がオフされると電流が瞬時に遮断されることにより、今まで印加した方向と逆方向に逆誘導起電力(開閉サージ)が発生し、インダクタンス素子に蓄えられたエネルギーEが一気に放出され、印加パルス幅τ1より短く、印加電圧よりも高い電圧のサージ電圧Vが現れる。尚、詳細については参考文献5.18)を参照願う。

表5.3 超仕上電源開発の歴史

表5.3 超仕上電源開発の歴史

 以上、超仕上電源の開発史の一端を述べたが、加工面粗さをRz 1 μm以下とするメリットは、プレス抜き型を例にすると、後工程の磨きを削減、或いは不要とするので、磨きが難しい微細で複雑な形状になる程そのメリットは大きい。開発史を辿ると、1980年代に面粗さRz 1 μm以下を達成した後、面粗さのさらなる向上、適用可能な板厚の増大、加工の安定性向上*1などの加工性能の向上に加え、絶縁手段の改良、軸移動量内の適用領域制限解消など作業性の向上に関るものなど、多くの課題が解決されてきた。その中で特に重要であった点は、パンチの加工で必要となる概ね50 mm以上の高板厚への適用が可能になったことと考える。それが達成された現在、プレス抜き型ではワイヤ放電加工機の位置付けは揺るぎないものになったと言える。最後に、超仕上電源の開発の足跡を表5.3に示した。超仕上加工に関する業界共通のベンチマークが無いので、面粗さについては各社それぞれの規定でカタログに表記した数値を拾った。加工回数、加工時間、加工精度、ワイヤ電極材種などの情報を網羅する調査が困難なため、総合的な性能を測る情報に欠けている点に留意願いたい。

*1  不安定な加工により加工面に筋と言われる凹凸が発生し、磨きで修復できないことが大きな問題となる。超仕上加工中は、ワイヤ張力の変動などの外乱が不安定をもたらす。


5.2.2 工作物の腐食防止技術

 ワイヤ放電加工機は、速い加工速度を得るため加工液に水を選び、電源の極性は工作物側を陽極、電極側は陰極とする方式で発展した。しかし、この方式は工作物側に陽極酸化を起こし、鋼材では錆が発生し、超硬合金では焼結材に含まれるコバルトが電解腐食により溶出する問題が起こる。加工後に不良部分を除去する後処理が必要となるが、特に脆性材料である超硬合金では、破壊の起点となる腐食痕が残ると致命的である。1980年代に入り、ワイヤ放電加工機を精密金型に普及させる局面で、陽極酸化の防止が重要な課題となった。その解決手段としては、油加工液を採用するか、若しくは無電解電源を開発する二つの選択があった。


(1)油加工液仕様機

 油加工液を用いた場合、荒加工の速度は水加工液の場合の半分にも達しない。そのため、ワイヤ放電加工機は、誕生から現在に至るまで水加工液仕様機が主流である。しかし、超硬合金は長寿命が求められる精密金型に用いられる高価な材料であるため、生産性よりも加工品質が優先されるのが通常である。こうした需要に対応する形で、1981年にソディックは業界で初めてとなる油加工液を使用するワイヤ放電加工機「330W」を発売した(図5.15)。この機械は、水と油の加工液タンクを備え、適宜、加工液の切り換えができる仕様となっている。基本的な使い方として、荒加工は加工速度を優先して水を用い、その後、油に切り換えて仕上加工を行うことが想定された。
 恐らく、水と油の分離に難しさがあったと考えられるが、水と油の切り換え仕様は「330W」が最後となり、1984年に発売された「AP-150」以降、油加工液仕様機は油加工液専用機となった。ソディックは、油加工液仕様機で業界の先駆けとなったが、三菱電機をはじめとする他メーカは、水加工液による生産性の高さを確保しながら、電気腐食を防止する技術の開発に注力することになった。

図5.15 ソディク「330W」

図5.15 ソディク「330W」5.19)

図5.16 無電解電源の回路

図5.16 無電解電源の回路5.3)



(2)無電解電源

 ワイヤ放電加工機が誕生して今日に至るまで加工液は水が標準的に使われてきた。しかし、鋼材を加工する際に錆が発生する問題があり、古くから加工液に添加する様々な防錆剤が販売されてきた。初期の防錆剤には効果が高いものもあったが、粘性が高くスラッジを含んだベタ付く汚れが機械に付着し、清掃が大変で、自動結線が失敗する原因にもなるため敬遠された。その後は、機械が汚れにくい成分となった反面、防錆効果が抑制された製品が一般的になった。
超硬合金の電解腐食に対しては当初、加工液の比抵抗を上げて電気化学反応を抑制することや電解腐食が及ぶ加工変質層を交流高周波電源による仕上加工で除去する方法などが取られてきた。しかし、イオン交換樹脂のランニングコストが上昇する問題や荒加工に於いて広範に電解腐食が発生した場合は、仕上加工で除去しきれない問題があった。
 1992年に三菱電機は、加工電源の電圧が原因となる陽極酸化を解消する無電解電源「AE電源」をオプション装置として発売した5.14)。従来の加工電源は工作物側が常に陽極となり、平均電圧は通常40 Vから50 V程度となる。これに対する無電解電源の回路を図5.16に、電圧及び電流波形を図5.17に示す。無電解電源は、開放電圧を従来電源と同様にプラスの電圧を印加するが、休止時間にはマイナスの電圧を印加し、極間の平均電圧が0 Vになるように休止時間を制御する。図5.18は、AE電源の効果を示すもので、超硬合金を従来電源とAE電源で加工し、加工溝周辺の工作物表面を観察した結果である。右側の従来電源で加工した面には腐食痕が多数確認できるが、左側のAE電源で加工した面には腐食痕が見られない5.20) 5.21)

図5.17 無電解電源の電圧・電流波形

図5.17 無電解電源の電圧・電流波形5.3)

図5.18 無電解電源の効果

図5.18 無電解電源の効果5.22)


(3)防食技術の開発

 三菱電機は1998年に超高精度ワイヤ放電加工機「PX05」を発売し、半導体パッケージの高集積化に向けて設備投資が盛んであった半導体リードフレーム業界への販売に注力した。半導体リードフレーム用プレス型は、精密で高耐久が求められるため、重要金型部品に用いられる超硬合金の加工では、腐食痕が残らない徹底した品質が要求された。
 AE電源は、腐食の主原因である加工電源が作用する陽極酸化の問題を解消した。しかし、長時間の水中浸漬で緩やかに進行する工作物の腐食が問題として残された。これは、金属が水中に浸漬されることで、自然電極電位(腐食電位)、溶存酸素、異種金属接触などの要因で起こる腐食である。PX05では、こうした腐食に対応する技術として、犠牲陽極を用いた電気防食法(図5.19)や加工液の溶存酸素を減らす水質調整システムなどの防食技術を開発し、腐食の抑制を強化した。これらの開発は、油加工液の採用が多い超硬を加工する用途でも、水加工液の採用が広がる契機となった。

図5.19 電気防食法(犠牲電極)

図5.19 電気防食法(犠牲電極)5.23)


 一方、油加工液仕様機を中心に据えてきたソディックは、加工速度が遅いという油加工液の欠点の改善に注力し、1998年に仕上加工時間を大幅に向上する電源回路「高速エコカットO」を製品化した。この回路の詳細は開示されていないが、誘電率が高い油が介在する極間の低キャパシタンスを活用し、低ピーク電流、高周波の仕上回路として、より少ない仕上回数と速い仕上速度を実現したものと推察される。Rz 1 μm以下の面粗さまで仕上げる場合では、総加工時間が水加工液と同等になると説明されている。
 今まで述べた通り、超硬合金の加工では油加工液を採用するか水加工液を採用するか二つの選択肢がある。どちらが適しているかは、加工の内容や優先する指標により変わるため、ユーザの選択に委ねられる部分が大きくなっている。現在、超硬加工を対象とする精密加工向け高精度ワイヤ放電加工機は、以下の経過を辿り、主要メーカ各社は水と油加工液仕様機の両方を品揃えするようになっている。

 1992年 ソディック 無電解電源BS回路(荒加工用) 発売
1993年 牧野スライス製作所 油加工液仕様機「UPH-1」発売
1998年 ソディック 無電解電源BS4(荒・仕上加工用)回路発売
2013年 西部電機 油加工液仕様機「M25LP」発売
2013年 三菱電機 油加工液仕様機「MX600」発売

 著者の認識では、電極径がφ0.05 mm以下の極細線ワイヤ電極を用いる微細形状の加工は、油加工液に優位性があると考える。油は誘電率が水より小さく、極間のキャパシタンスも小さいので、低ピーク短パルスで狭ギャップの放電が可能で、微細形状を効率的に仕上げることができる。その他の用途では、水加工液の速度や安全性がメリットになる場合も多いと考えるが、例えば加工時間が2日以上にも及ぶ長時間の場合は、油加工液が安心であると考える。


5.2.3 適応制御による高精度化 

(1)コーナ制御

1)コーナ制御が必要となる背景
 ワイヤ放電加工機が微細、狭隘形状で他の機械加工に対し優位性があることは既に述べたが、その代表的な適用領域はコーナ部の加工である。特に電機・電子部品向け精密金型では、コーナ形状の高精度化、R寸法の微小化の要求が高く、これらに応えるための適応制御として開発されたのがコーナ制御である。

 ①荒加工でのコーナ形状誤差の要因
 精密金型に求められる加工精度や面粗さの実現には仕上加工が必須であるが、その前段階の荒加工に於いては、以下に述べる荒加工特有のコーナ精度劣化がある。図5.20は荒加工におけるコーナ形状の精度不良(コーナだれ)を模式的に示したもので、工作物内側の角部(インコーナ)は加工取り残し(アンダーカット)、工作物外側角部(アウトコーナ)は取り過ぎ(オーバカット)となる。このコーナだれ現象は、放電反力、加工液圧力によってワイヤ電極が加工進行方向と逆方向に撓み、ワイヤガイドの位置よりワイヤ電極が遅れて移動するために発生する。

図 5.20 ガイド軌跡と加工溝5.24)

 ワイヤの撓みの主原因である放電反力によるワイヤ撓み量は、静撓み量を計算することにより推定が可能である。ここで、ワイヤ張力をT、 単位長さあたりの放電反力をq、 ガイドと工作物間距離を、 工作物板厚をhとすると、図5.21のO点における撓みは以下に求められる。
図 5.21 ワイヤ電極静撓みモデル

図 5.21 ワイヤ電極静撓みモデル5.24)

 A-B間の静撓み量δ1はA点における力の釣合から、
    (1)

 OA部の静撓み量δ2はO-A部に作用する力のO点に関するモーメントの釣合により、
    (2)

 よって、(1)、(2)式より、O点における静撓み量δは次の式となる。
    

 以上の通り、コーナ部の荒加工では、ガイドに対するワイヤ電極の移動遅れによる形状誤差が生じ、ワイヤ電極の撓みにより板厚中央部はさらに形状誤差が大きくなる。こうした問題の改善のため、荒加工用のコーナ制御が必要であった5.24)

 ②仕上加工でのコーナ形状誤差の要因
 仕上加工におけるコーナ形状誤差は、荒加工とは異なる要因で生じる。ワイヤ放電加工に於いては、加工中の極間平均電圧が一定となるようにワイヤ電極をサーボ送り制御(以下「平均電圧一定制御」)するのが一般的である。平均電圧一定制御は、加工間隙を一定に保つことであり、形状精度を確保できるものと考えられる。しかしながら、平均電圧一定制御により仕上加工を行っても、コーナ部など除去量が局所的に変化する加工では、数μm程度の誤差が生じる場合が多い。加工エネルギーが小さな仕上加工に於いては、ワイヤに作用する加工反力は小さいため、形状誤差の要因はワイヤの撓み以外の要因が考えられる。
 図5.22は、除去量(仕上代)が途中で増加する場合と減少する場合で仕上加工の速度の変化を示す。除去量が多い箇所は加工速度が遅く、少ない箇所では加工速度が速くなる傾向は、平均電圧一定制御に期待される通りである。しかし、図5.23に加工前の段差と加工後の段差の関係を示すが、例えば加工前に(加工進行方向に)-5 μmであった段差は、仕上加工を行った後に+2 μmの段差に逆転する現象が起きている。これは、仕上加工により形状修正を行う上で、平均電圧一定制御が必ずしも十分ではないことを示している。

図 5.22 仕上加工速度の変化

図 5.22 仕上加工速度の変化5.25)


図5.23 仕上加工後の段差形状

図5.23 仕上加工後の段差形状5.25)

 この問題の原因については図5.24に示す積分的作用による側面間隙形成モデルを用いて検討がなされた。仕上加工に於いては図の除去量(L)が大きくなるほど、電極放電領域での積分的作用が増大し、電極側面間隙(δs)が拡大され、逆に除去量が小さい場合はδsが小さくなることが確認された。これは、加工歪がある箇所やコーナ部で除去量が変化する場合、平均電圧一定制御による仕上加工後に数μm程度の形状誤差が残ることを示唆するものであった。

図5.24 積分的作用による側面間隙形成モデル

図5.24 積分的作用による側面間隙形成モデル5.25)

 一方、コーナ部の除去量(仕上代)については、以下の幾何学的な解析の結果を述べる。図5.25はインコーナRを仕上げる場合の解析モデルで、直線部の除去量を40 μmに設定し、除去量の変化を計算した結果を図5.26に示す。

図5.25 円弧インコーナ仕上加工のモデル

図5.25 円弧インコーナ仕上加工のモデル5.25)

図5.26 円弧インコーナ仕上加工における除去量変化

図5.26 円弧インコーナ仕上加工における除去量変化5.25)

 除去量はコーナ入口約80 μm手前より増加し始め、コーナ部では直線部の1. 8倍の除去量となる。コーナ終了後65 μm手前より除去量は減少を始め、最終的に直線部の除去量40 μmに復帰する。コーナ部の除去量がこの様に大きく変化するのに対し、平均電圧一定制御による仕上加工は除去量に対応した形状の修正能力が十分ではない。コーナの加工精度向上には、非線形な速度制御、速度制御ゲインの変更、加工電流の制御などを加える必要があると引用論文は結論付けている5.25)。以上の通り、コーナ部を線形的な制御で仕上加工を行っても寸法誤差の修復には限界があるため、各社とも独自の適応制御を開発し、その成果を市場で競うことになった。

2)コーナ形状精度向上の技術史

 ①加工ノウハウによる対応の時代

 切削加工では困難な微小なインコーナRの加工はワイヤ放電加工が得意とする領域であり、その優位性を拡大すべく加工精度が追求されてきた。しかし、普及期から1980年代頃までは、コーナ形状の加工に対応する適応制御は研究段階で、当時は作業者がノウハウを駆使してコーナ精度の改善に取り組んでいた。具体的には、NCプログラムに以下の変更、修正を加えることが代表的なノウハウであった。

•ドゥエルの設定

荒加工中にプログラムの進行を設定した時間で停止させるドゥエルをかけて加工送りを停止させる。その間に放電が継続し、ワイヤの撓みが徐々に真直に戻り誤差が減少する。

•加工軌跡の補正

荒加工に於いて、プログラム軌跡に対しワイヤ電極の移動軌跡にずれが生じる(図5.20)。ずれ量はある程度再現性があるので、予想ずれ量を補正するように加工軌跡を変更する。

•加工速度指令値の変更

仕上加工に於いて、インコーナRの加工速度を直線部より下げて加工する。加工速度がサーボ送り制御ではなく、固定送りとした場合に有効。

 以上の加工ノウハウは、何れもプログラムの修正が煩雑で、事前に個々の最適な調整量を把握することが難しかった。しかしながら当時の現場には、ノウハウを駆使して少しでも良いものを作ろうとする意欲に溢れた作業者が少なからず居て、発展途上であった放電加工機の性能を最大限に引き出そうとする取り組みが盛んであった。

②コーナ適応制御の開発
1990年代後半頃に、漸く各社がコーナ加工用の適応制御を完成し機械に搭載するようになった。精緻な制御により、ノウハウでは達し得ない高精度が実現できる様になった。実際のところ、1990年以前に、既に有効な制御方法についての研究がいくつか為されており、また当時のNC装置やソフトウェアの技術を以てすれば、もう少し早い段階で適応制御の普及が可能であったのではないかと考える。恐らくは、先発企業であったジャパックスの先行特許に抵触するリスクを避けるため、メーカ各社は製品化を控えていたものと考えられる。ジャパックス創業者の井上潔は、膨大な特許件数を出願*1したことで有名で、コーナ形状に関る制御に関し、考えられるあらゆるパラメータを対象とした数多くの特許を出願し、頑強な特許網を構築していた。この点に於いて、ジャパックスは先発メーカとしてのアドバンテージを強固に構築していた。やがて、ジャパックスの特許の存続期間も終わり、各社が独自に開発した適応制御が製品化されるようになった。各社とも適応制御の詳細を詳らかにしていないが、ここでは三菱電機が開発した技術を可能な範囲で解説する。

*1 特許検索システムで「井上潔 ジャパックス」で検索して確認可能

□CM機能

 1996年、荒加工用のコーナ制御「CM機能(Corner Master)」が開発され、ワイヤ放電加工機FXシリーズに搭載された。CM機能は、加工内容に応じて加工軌跡を自動的に修正する機能で、荒加工だけで加工したパンチとダイを20 μmのクリアランスで勘合可能な加工精度を実現した5.26)。(コーナ部の形状寸法誤差が約10 μm以下)

□CM-R、CM-S機能

 2000年、荒加工用の「CM機能」を改良した「CM-R機能」が開発され、ワイヤ放電加工機FAシリーズに搭載された。また新たに、仕上加工用のコーナ制御として開発された「CM-S機能」も同時に搭載された。従来のCM機能が軌跡を制御する方式であったのに対し、CM-Rは加工エネルギー制御を追加する改良が為された。エネルギー制御は、コーナ部に加工が進んだ時点で、ワイヤ電極の撓みを低減することを目的とするものである。図5.27の左図は、従来のCM機能を示し、ワイヤガイドに近い工作物の上下面はプログラム軌跡に近い形状に修正されているが、板厚中央部はワイヤ電極の撓みにより、形状誤差が大きくなっている。これに対し、CM-R機能は板厚中央部の形状誤差を小さくする効果がある。
CM-S機能は、(1)1)②で一部引用した論文の研究成果を反映して新たに開発したアルゴリズムを採用した仕上加工用のコーナ制御である。論文によると、平均加工電圧を一定化する線形的なサーボ送り制御では形状誤差の修正ができず、非線形な速度制御、速度制御ゲインの変更、加工電流の制御などを加える必要性を論じているが、CM-Sはそれを反映した非線形なアルゴリズムを取り入れて開発された制御である。図5.28はCM-Sの効果を示したもので、中央の図はアウトコーナRでのオーバカット(加工取り過ぎ)の改善を示し、右の図はインコーナRでのアンダーカット(加工取り残し)の改善を示している。制御がない場合と比べ、コーナ形状誤差の大幅な改善を実現した。

図5.27 CM機能とCM-R機能の比較

図5.27 CM機能とCM-R機能の比較5.27)



図5.28 CM-S機能

図5.28 CM-S機能5.27)



(2)板厚差仕上制御

 プラ型の部品などに多い板厚差がある工作物を加工する場合、板厚が変わる箇所に加工面の段差(筋)が生じ易い。ワイヤ放電加工の仕上面は、技術の進歩により面が細かくなり、後工程の磨き作業が軽減されてきた。しかし、平坦な面は磨きで仕上がるが、段差を磨きで修正するのは困難なため*2、段差の発生はユーザが抱える大きな不満となっていた。
 この問題を解決するための技術は、2000年を過ぎたころから各社独自の方法が開発された。2001年に三菱電機が開発した「SL制御」(FA-Pシリーズに搭載)、2005年牧野フライス製作所の「TGコントロール」、2009年ファナックの「AIパルス制御2」などが目的を同じとする技術である。以下に問題の背景と三菱電機が開発した「SL制御」の概要を説明する。
 2章で説明した仕上加工を行うことで加工精度と面粗さが向上するが、仕上加工では加工進行方向に対してワイヤ電極の側面側と工作物との間で放電が発生する。ワイヤ電極は電圧印加による電磁吸引力と加工液の蒸気圧等による放電反発力を受けるため、これらのバランスで、ワイヤの側面方向の撓み形状が決まる。
 仕上加工代や加工進行方向への速度が大きいと、単位時間あたりの加工体積が多くなるので放電の発生頻度が増して、放電反力が大きくなる。するとワイヤを工作物から遠ざける方向の力が強くなり、加工面の板厚中央部が膨らむ(凸となる)形状となる。逆に加工量が少ないと中央部が凹む。従って、加工面の板厚方向の真直性を高めるには、加工代と加工速度を適切に組合せることが必要だが、加工代は加工途中で変更しないので、加工速度を適切に制御することがこの問題の解決となる。既に説明した平均電圧一定制御は、放電の発生頻度を一定とし、単位時間当たりの加工体積も一定となるが、板厚が異なる場合は、同じ加工体積で同じ真直性が得られことにはならない。そのためSL制御は、状態量から推論される板厚と与えられた仕上代から最適な加工速度を設定して高い真直性を得ている5.28)。図5.29は、板厚の異なる工作物を加工した際に生じる段差を従来制御とSL制御で比べたものである。プラ型は、金型の部品を組み合わせ部分に隙間があると、溶けた樹脂が流れ込んでバリと言われる不良が発生する。SL制御を始め各社が開発した同様の技術は、プラ型への普及で障害となる問題を大幅に改善した点で、ワイヤ放電加工機の適用範囲を拡大させた重要な技術のひとつに数えられる。

*2 磨きは定圧研磨であり、定量研削の様に形状を修正する能力は乏しい。

図5.29 SL 制御による段差誤差の改善

図5.29 SL 制御による段差誤差の改善5.29)

5.2.4 高精度ワイヤ放電加工機

 ワイヤ放電加工機が誕生し急速に普及が進んだ1970年代の後半、加工精度の高い高級機を求める声が高まった。これを受けて、一般向けと製品系列を分けて、高精度または精密ワイヤ放電加工機と銘打たれた製品が造られるようになった。これら高精度ワイヤ放電加工機(以下「高精度機」)の技術と製品の変遷を解説する。

(1)高精度機の誕生

 高精度の定義は必ずしも明確ではなく、また時代とともに変わって来たことを先に述べておく。高精度機と認められる初めての製品は、著者の調査では、ジャパックスが1976年に発売した精密小型ワイヤ放電加工機「L200」と考える。新聞記事では精度5 μm以下と謳われており、これが当時の高精度機の指標であったと言える。記事では精密測定器をベースとした機械と説明されているが、他に情報が無く、詳細な解説ができないのが残念である。
 続いて登場した高精度機は、三菱電機が1979年に発売した「DWC-90P」(図5.30)で、プレス金型などの市場から要求された加工精度3~5 μmを実現する機種として開発された。
 DWC-90Pの主な高精度化技術を以下に解説する。加工テーブルの送り制御は、セミクローズドループ方式(図5.31)で、テーブル送り制御の最小駆動単位は1 μmである。ピッチエラー補正は3.3.3(4)で説明したNC装置のデータ処理による高精度化技術で、例えば図5.32の事例では、ボールねじ本来の送り誤差は10 μm程度であるが、補正により誤差を2 μm以下に抑えている。また、精度不良の大きな原因となる機械構造体の熱変形に対し、発熱源となる部位に通風冷却や熱絶縁を行い、機械構造体への熱影響が極力小さくなるようにしている。その一例が図5.33に示す加工テーブル駆動用DCモータの熱絶縁で、高速送りを長時間続けることによるDCモータの発熱が機械本体、ボールねじに伝わることを抑制している。また、この当時はワイヤ放電加工機で例のなかった浸漬加工槽を設け、工作物を加工液に浸して温度の一定化を図っている5.13)

図5.30 三菱電機 DWC-90P

図5.30 三菱電機 DWC-90P 5.30)


図5.31 セミクローズループ制御

図5.31 セミクローズループ制御5.31)

図5.32 ピッチエラー補正

図5.32 ピッチエラー補正5.31)
X 軸送りをY 軸の位置を手前、中央、奥で実施


図5.33 モータ熱絶縁

図5.33 モータ熱絶縁5.31)

(2)1980年代の高精度機

 1980年代はワイヤ放電加工機の普及によりユーザの裾野が広がり、高精度を指向するユーザでは、恒温室内での機械稼働、加工条件ノウハウ蓄積など、様々な取り組みにより高精度化が進んだ。また熱処理も含めた金型材料の品質が向上し材料起因の歪も改善された。一般向け機種でも加工精度5 μmを実現できる状況となり、高精度機の指標は加工精度3 μm以下と一段アップした。また当時、海外メーカの代表格であったアジエ社は、高精度機としての実力もブランド力も高い製品を誇り、高精度加工の分野で高いシェアを持っていた。日本メーカの製品は、加工速度やNC技術で競争力を上げていたが、残る課題が高精度化であり、その点でも加工精度3 μm以下は業界共有の目標であった。こうした背景の中、1986年に牧野フライス製作所が発売した「EC-3141」、1987年の三菱電機「DWC-110PH」、1988年のソディック「AP330」などが、この時代を代表する高精度機であった。一例として三菱電機のDWC-110PH(図5.34)を解説する。

図5.34 DWC-110PH

図5.34 DWC-110PH 5.32)


 従来の機種は、減速機を介してモータとボールねじを結合していたが、この機種は減速機を排して、モータとボールねじを同軸に直結する方式を採用した。また、ボールねじ外径を標準品より大径化し、ねじり剛性の増大を図った。何れも軸送りの位置決め精度向上を目的とするが、軸送りの反転時に発生する誤差であるバックラッシュとロストモーションを大きく改善し、重要な課題であった真円度を向上した。また、当時は12,500 PPRの高分解能ロータリエンコーダが利用可能となり、これを4逓倍し、リード5 mmのボールねじを用いて最小指令単位0.1 μmの位置決め制御を実現した。機械構造体の熱変形への対策としては、大形コンピュータを用いた有限要素法(NASTRAN)による熱解析シミュレーション(図5.35)を取り入れ、実機での検証と照合しながら構造の最適化を図った。また。損失熱が発生する給電フィーダの熱影響を受ける下部アーム(図5.36)に低熱ひずみ鋳物材を用い、アーム内は加工液で冷却するなど、熱変形を徹底して抑える仕組みとなっている。またインバータ制御を取り入れた加工液温度制御装置は、加工液温度を±0.5℃以内に制御し、構造体の温度制御の精度向上を支える技術となった。
この当時に各社が開発した高精度機は、時計などの精密機器や半導体リードフレームなどの高精度加工分野に於いて、アジエ社の製品ユーザから実力を認められた時期であったと考える。

図5.35 構造熱解析シミュレーション

図5.35 構造熱解析シミュレーション5.33)

図5.36 下部アーム構造

図5.36 下部アーム構造5.33) 


(3)1990年代の高精度機

 1990年代の日本の製造業は、多機能で品質の良い「軽薄短小」な製品をつくる技術で世界をリードし、精密機器、ポータブルAV、デジタルカメラなどの製品が世界市場を席巻していた。それら製品の部品製造を支える金型分野では、ダウンサイジングに対応した生産技術の開発や設備導入が盛んで、ワイヤ放電加工機に於いては、微細精密な金型加工に対応する高精度機の開発が強く望まれた。こうした背景の中、1993年に発売されたソディックの「EXC100」と牧野フライス製作所の「UPH-1」、三菱電機では1996年に発売された「90PA」、1997年の「PX05」などが、この時代を代表する微細精密加工用の高精度機であった。

1)ソディック「EXC100」
 EXC100(図5.37)は、紡糸ノズル、半導体リードフレームなどの微細精密金型に特化した油加工液の高精度機として1993年に開発され、小物加工に絞り込んだ仕様(XY軸移動量100 mm×120 mm、工作物質量10 kg、ワイヤ電極径φ0.03 mm~0.1 mm)となっていた。最大の特長は主要構造体にセラミック(図5.38)を採用し、周囲の温度変化による機械の熱変形を最小限に抑えたことである。また位置決め精度向上のため、XY軸の案内に静圧空気軸受(図5.39)を採用し、浸漬加工槽で一般的な加工槽を貫通する下部アーム方式ではなく、加工槽非貫通の懸垂アーム方式の加工ヘッド構造とするなど、徹底した摺動抵抗の削減を図り、高い真円度を実現した。また、フルクローズド制御による最小駆動単位0.05 μmは業界初であった。その後、リニアモータに変更した後継機「EXC100L」を2002年に発売し現在に至っている。

図5.37 ソディックEXC100

図5.37 ソディックEXC100 5.34)



図5.38 セラミックス部材

図5.38 セラミックス部材5.34)

図5.39 静圧空気軸受

図5.39 静圧空気軸受5.35)


2)牧野フライス製作所「UPH-1」
 「UPH-1」(図5.40)も半導体リードフレーム金型を始めとする微細精密加工専用の油加工液の高精度機として開発され、XY軸移動量120 mm×200 mm、工作物質量5 kg、ワイヤ電極径φ0.03 mm~0.1 mmと小物加工に絞った仕様であった。最大の特長は、ワイヤ電極を水平方向に走行して加工する構成とし、加工後に切り離されるコア(スクラップ)をそのまま加工部に保持することが可能である。また、V形割りガイドを採用し、ワイヤ電極をエアーで搬送する方式で水平方向の自動結線を実現し、φ0.03 mmワイヤ電極をφ0.1 mm程の小径の加工開始穴に挿入することも可能とした5.37)。2006年に本機と姉妹機「UPH-2」の機械サイズを統合した後継機「UPN-01」が発売され、現在に至っている5.38)

図5.40 牧野フライス製作所 UPH-1

図5.40 牧野フライス製作所 UPH-1 5.36)


図5.41 UPH-1 の構造

図5.41 UPH-1 の構造5.37)


3)三菱電機「PX05」
 三菱電機の「PX05」(図5.42)も微細精密金型向けの高精度機として1997年に開発されたが、水加工液を用いた速度の速い微細精密加工を実現するとともに、高度な防食技術を備えて超硬合金の各種金型への適用を図った機械である。XY軸移動量220 mm×150 mm、工作物質量100 kg、ワイヤ電極径φ0.03 mm~0.25 mmと、前述の2機種より適用領域が広い仕様となっている。機械の熱変位対策としては、断熱材を貼ったフルキャビンカバーと機械構造体の加工液循環温度制御により、機械の温度一定化が図られた。人為的に16時間で周囲温度を±3℃変化させた場合、機械の温度を±0.5℃以内とすることを可能とした5.40)。また、総合的な精度検証として、所定のテスト加工を行い、±2 μm以内の加工精度を確認して出荷する加工精度保証を業界で始めて実現した機械であった5.41)。その後、水加工液の高精度機の後継は2002年の「PAシリーズ」を経て2014年に「MPシリーズ」が発売された。また、2013年には油加工液を採用した高精度機「MXシリーズ」が発売され、現在に至っている。

図5.42 三菱電機PX05

図5.42 三菱電機PX05 5.3)



図5.43 機械構造体水冷システム

図5.43 機械構造体水冷システム5.39)



 以上、1990年代は国内における微細精密加工分野の高度な要求と旺盛な設備需要に対応した高精度機の開発が盛んで、その蓄積により海外の高精度機ブランドであったアジエ社に対し、漸く互角以上の評価が国内で得られるようになった。また、世界的にも日本の高精度機が認知され、欧州などにある高精度加工ユーザの集積地にも販売が行われるようになった。


(4)2000年以降の高精度機

 2000年以降は、新しい傾向として大形工作物に対応する高精度機が開発されるようになった。代表的な適用分野はプレス型のダイプレートやパンチプレートである。これらプレートには基準穴やポケット穴などが多数配置されており、それら穴間の寸法精度(ピッチ精度)は、金型全体の精度を決める生命線となる。従来はこれらを熟練者が治具研削盤で寸法を確認しながら加工していたが、熟練者が不要で高精度加工を自動化できるワイヤ放電加工への置き換えが徐々に進んでいた。近年、モータコアやコネクタ端子の薄板化などに対応してプレス型の高精度化が進み、また、金型組立における手作業の寸法調整を排除するニーズが高まり、大形プレートのピッチ精度向上が増々求められるようになった。
 こうした需要に応える機種として開発された高精度機は、2002年に三菱電機が発売した「PA20」(XY軸移動量:500 mm×350 mm)、2004年の牧野フライス製作所「W53FB」(同550 mm×370 mm)と西部電機「MM500S(図5.44)」(同500 mm×350 mm)、2005年のソディック「AP500L」(同500 mm×400 mm)、2008年の西部電機「SuperMM500S」(同500 mm×350 mm)と続いた。その後、さらに移動量の大きな高精度機として、2009年の西部電機「MM750S」(同 750 mm×500 mm)、2012年のソディック「AP650L」(同650 mm×420 mm)、2014年の三菱電機「MP4800(図5.45)」(同800 mm×600 mm)などが開発された。

図5.44 西部電機MM500S

図5.44 西部電機MM500S 5.42)



図5.45 三菱電機MP4800

図5.45 三菱電機MP4800 5.43)



 これらの機械は、1990年代に開発された小型高精度機で実現した加工精度を、より大きな軸移動量の加工で実現することを目標に開発された。より大きな軸移動量で目標精度を実現することが、技術力の指標のひとつになった。具体的な加工精度の目標値は各社で差異があったが、業界を通じて概ね寸法誤差±2 μm以下を、数百mmを越える軸移動量で実現することであった。この課題に対応する主な要素技術について、三菱電機の「MP4800」を例として、以下に解説する5.43)

 a. 軸送り精度向上
工作機械の最も基本的な精度は真直度、即ち直線であるべき部分の幾何学的直線からの狂いの大きさである。特に大型工作機械では重要な精度指標であり、ウェービングの少ない高精度なリニアガイドの採用は勿論、ガイド取付基準面の真直度を如何に誤差ゼロに近づけて加工できるかが高精度化の鍵となる。大型高精度機の製造に対応して、メートルあたりサブミクロンの真直度を実現するため、超精密門型研削盤の導入、温度許容差の厳しい恒温室の設置などに投資が必要であった。

 b. 熱変位対策
構造体の加工液循環温度制御を始めとする様々な熱変位抑制の技術が盛り込まれた。しかし、大型機であるが故に、僅かな温度変化による熱変位が無視できない誤差となる。稼働中の温度を常にモニターし、温度変化による構造体の変位を演算し、制御座標値を補正する「熱変位補正機能」が盛りまれた。

 c. シャフトリニアモータ
一般的な平板構造のリニアモータと異なる特殊設計のシャフトリニアモータ(図5.46)が採用された。全磁束を効率的に推力に変換し、発熱が少なく機械温度制御の負荷が小さいため、高精度化に適したリニアモータとして搭載された。

図5.46 シャフトリニアモータ

図5.46 シャフトリニアモータ 5.43)


 以上で紹介した中大型の高精度機は、各社が指定する条件下でピッチ精度±2 μm以下を実現すると謳われた。但し、数100 mmを超える寸法のピッチ精度は、機械精度だけではなく、周囲環境温度、材料熱処理(残留オーステナイト量)、測定器の精度など顧客側の技術や設備に委ねる部分が多くなる。例えば、高精度な画像測定システムで数100 mmを超える寸法を測定する場合、仕様上の測定誤差は1 μm以上となるので、測定器も精度管理上の誤差要因のひとつになる*1
 日本における超高精度金型の加工現場では、特定の計測システムを言わば原器として定め、これに準拠して加工精度の管理が行われるのが実態である。近年の高精度機は、高精度な測定器に匹敵する程の精度を実現していると言える。

*1  高精度画像測定システムの最大許容X 軸/Y 軸単一方向長さ測定精度(EUX , MPE EUY , MPE)の事例:1.2 + 4L/1000 μm Lは測定長さ(mm)


5.3 自動化、省力化技術

5.3.1 ワイヤ自動結線装置 

ワイヤ自動結線装置とは以下の機能を持つ装置である。

 ⅰ) 複数の加工箇所を連続して自動加工するため、NCプログラムの指令によりワイヤ電極(以下「ワイヤ」)の結線と切断を行う機能。

 ⅱ) 加工中に発生するワイヤの不意の断線を自動的に修復し加工を再開する機能。

 ワイヤ放電加工機が誕生した当時から、これらの機能を望む声が聞かれたが、φ0.2 mm程の細いワイヤを隙間の狭いワイヤガイドや屈曲した1,000 mm程の長い経路に自動的に挿通することは非常に難易度の高い技術であった。当時の技術者が最初に考えたアイデアのひとつは、エアを使って糸を自動挿通する繊維機械技術の応用であったが、剛性や重量が大きく異なる電線が対象では、十分な搬送力が得られなかった。既存技術の応用ではなく新しい技術が必要となり、暫らく開発に時間が費やされ、漸く1980年頃からワイヤ自動結線装置が各社から発売されるようになった。


(1)ワイヤ自動結線装置の基本技術

 ワイヤ自動結線装置の基本となる要素技術について以下に述べる。

1)ワイヤ搬送方式
①パイプガイド方式(ローラ搬送方式)
 ローラなどの送り出し機構により、ワイヤをワイヤ走行経路へ送り出す方式である(図5.50)。上部ガイドから下部ガイドまでの間が、開放空間となる場合が多いので、結線動作中は昇降式のパイプガイドを降ろしてワイヤをパイプ内に拘束して送り出す方法が一般的である。この方式は、送り出し機構からの推進力をワイヤの先端に伝える必要があるため、ワイヤの剛性が高いほど挿通が容易で、剛性が低い小径ワイヤになるほど挿通が難しくなる。
②ウォータジェット方式
 直径0.5 mm~2 mm程のジェット水流を噴出し、その中にワイヤを誘導して搬送する方式である(図5.53)。ワイヤには水流との摩擦で、水流方向に引っ張り力が生じるので、その力をワイヤの搬送に利用する。この方式は、ワイヤの剛性が低いほど搬送が容易で、剛性が高い大径ワイヤになるほど搬送が難しくなる。
③エアジェット方式
 エアジェットから得られる搬送力は小さいので、ワイヤの搬送に用いられる場合は概ねφ0.05 mm以下の細線に限定される。但し、エアジェットによりワイヤに微振動が発生し、摺動抵抗を小さくする効果があるので、一般に良く使われるφ0.2 mm以上のワイヤの搬送で補助的に用いられる場合がある。

2)ワイヤガイド方式
①分割ガイド方式 
 図5.47に示したワイヤガイドは固定側と可動側にする方式で、通常はワイヤガイドを閉じてワイヤを狭い隙間で拘束する。結線動作中は、ワイヤガイドを開いて、ワイヤの挿通を容易に行えるようにする。結線の成功率が高いことが特長であるが、ワイヤガイドの可動部に動作不良があると、ワイヤの拘束精度に問題が生じる。
②固定ガイド方式
 図5.48に示す丸穴のダイヤモンドダイスガイドなどの固定ガイドを利用する方式である。ワイヤを確実に拘束するため加工精度の不安はないが、結線の成功率が低下するため、ワイヤの送り込み速度を速くし難い。ワイヤの先端をガイドの狭隘部へ円滑に誘導できるよう、案内形状、案内面の耐食性、部品継ぎ目の平滑化などに工夫が凝らされた。

図5.47 分割ガイドの事例

図5.47 分割ガイドの事例5.44)

図5.48 固定ガイドの事例

図5.48 固定ガイドの事例5.45)


3)再トライ機能
 ワイヤ自動結線動作が失敗し、ワイヤが所定の経路から外れてしまった場合、或いはワイヤの先端に折れ曲がりが生じて、先に進まなくなった状態などの異常を検出し、それを修復し結線動作をやり直す機能を再トライ機能と呼ぶ。異常を検出すると、動作を中断し、ワイヤを巻き戻して結線動作をやり直す方法や、ワイヤの先端から一定の長さを切断除去し、折れ曲がりがない状態としてから新たに結線動作を行う方法がある。

4)自動断線復帰機能
 加工の途中でワイヤが不意に断線した場合、自動的にワイヤを結線し加工を再開する機能が自動断線復帰機能である。基本動作は、加工中に断線が起こると、加工を開始した位置に戻ってワイヤを結線し、加工済みの経路を辿り断線点に達する直前に電源を入れて加工を再開する。ワイヤ自動結線装置に不可欠な機能であり、各社とも発売当初の装置からこの機能を搭載していた。


(2)初期のワイヤ自動結線装置

 ワイヤ自動結線装置が各社から販売され始めた1980年頃は、ワイヤ放電加工機の先行メーカであったジャパックス、三菱電機、西部電機に加え、ファナック、牧野フライス製作所、ソディックなどが参入していた。日本初のワイヤ自動結線装置はファナックがドイツのシーメンス社から技術導入して完成させたものであった。その当時、世界的にシーメンス以外には実用化の例が無かったと伝わっている5.46)。その後、各社が次々と装置を完成し、1980年代半ばまでに主要メーカの自動結線装置が出揃った形となった。主要メーカの初期のワイヤ自動結線装置の名称や発売時期などを表5.4に簡単にまとめた。

表5.4 初期のワイヤ自動結線装置

表5.4 初期のワイヤ自動結線装置

 各社の自動結線装置は、ガイド方式やワイヤ搬送方式などが様々で、独自性に溢れた設計が為されていたが、ここでは1980年代に開発された装置の事例をいくつか紹介する。

1)三菱電機 「SK装置」
 三菱電機が1981年に発売したワイヤ自動結線装置「SK装置」の外観を図5.49に、全体構成を図5.50に示す。ワイヤガイドは、上下ともに固定ガイドのダイヤモンドダイスガイドである。特徴は、先端にダイヤモンドダイスガイドが取付けられたパイプガイド方式である。通常時はクランプ機構がパイプガイドを固定しているが、結線動作中は、クランプを開放しスライダーの移動でパイプガイドが降下し、下部ワイヤガイドの直ぐ近くまで上部ワイヤガイドが接近する。また、スタート穴径が小さく、パイプガイドが通過できない場合は、図5.50の下限検出リミットスイッチで、パイプガイドの降下位置を工作物の上面に設定し、スタート穴を案内経路に利用し、ワイヤを送り出して結線する。使用可能ワイヤ電極はφ0.2 mmからφ0.3 mm黄銅ワイヤ、結線の所要時間は約2分を要していた5.53)

図5.49 SK 装置外観図

図5.49 SK 装置外観図5.52)


図5.50 SK 装置構成図

図5.50 SK 装置構成図 5.52)


2) 牧野フライス製作所 ECシリーズ搭載自動結線装置
 牧野フライス製作所は1983年にウォータジェット方式のワイヤ自動結線装置を開発した。主要部構成を図5.51、ワイヤ電極走行経路を図5.52に示す。ワイヤガイドは、上下部ともに分割ガイド方式で、固定側のV溝ガイドと可動側のフラットガイドで構成される。
ワイヤ電極の搬送はウォータジェット方式で、ノズルから噴出するジェット水流がワイヤ電極を内包し、上部ワイヤガイドから下部ワイヤガイドまで搬送する。ジェット水流と分割ガイドの採用により高速な結線動作が特長で、結線の所要時間は約1分であった。使用可能ワイヤ電極はφ0.10 mmからφ0.30 mmの黄銅ワイヤである。

図5.51 主要部構成図

図5.51 主要部構成図5.54)

図5.52 ワイヤ電極走行経路

図5.52 ワイヤ電極走行経路5.54)


3)三菱電機 AF装置
 三菱電機は1988年にウォータジェット方式と固定ガイド方式を採用した自動結線装置AF装置(図5.53)を開発した。ウォータジェット方式は、水流が通過できる様に分割ガイドとするのが一般的であったが、加工精度を重視するため穴径がワイヤ径+10 μm以下の固定ガイドを採用した。クリアランスの狭いガイドにワイヤを通すため、ワイヤにバリが出ない切断方法として張力を加えた電気溶断方式を採用した。
 また、ジェット水流を下部の固定ガイドに噴射すると反射波やノズル内に充満する水で、ジェット水流が乱れる問題があったが、下部ノズルを特殊構造とし、ジェット水流を吸引回収する仕組み(図5.54)を開発して問題を解決した。一方で、ワイヤ送りの高速化が難しい方式のため、その後、結線時間を短縮するための改良開発に歳月を費やした。

図5.53 AF 装置

図5.53 AF 装置5.55)

図5.54 上下ワイヤガイド機構

図5.54 上下ワイヤガイド機構5.56)


(3)ワイヤ自動結線装置の技術開発の系統化調査

 1980年代の自動結線装置はまだ完成度が低く、信頼性や機能を向上する開発が2010年頃まで続いた。ワイヤ自動結線装置の発展に重要であったと考える技術について次に述べる。
1)結線成功率の向上
 ワイヤ自動結線装置で最も重要なことは結線の成功率が100%であることだが、その理想にはなかなか到達できない現実があった。適切な例えではないかも知れないが、コピー機の紙詰まりが皆無にならないことに似ている。成功率に影響する要因は装置そのものの問題もあるが、例えばスラッジの堆積や品質の悪いワイヤの使用が、動作不良の原因となる場合も少なくない。成功率向上のために、装置の信頼性向上、外乱に対する尤度の確保、或いは失敗の予兆検出による回避動作などの技術が開発されてきた。
 各社の個々の製品について信頼性向上の詳細を知る術は無いが、成功率の向上に寄与した共通の要素技術は、ワイヤ電極の熱処理(アニール処理)による真直度の矯正であったと著者は考える。この技術を最も早く取り入れたのは1983年に西部電機が開発したAWF-1であった。その後、多くのメーカがこの技術を取り入れて結線率を向上する効果があったと考える。各社の装置は現在、限りなく100%に近い成功率を実現している。
2)断線点挿入機能
 自動断線復帰機能について既に述べたが、大形の形状を加工する場合、断線から復帰までに長い時間を要し、また加工済みの溝が歪んで狭くなり、ワイヤが通過できない問題がある。それらを解決するために自動断線復帰機能に追加開発されたのが断線点挿入(供給)機能で、ワイヤを断線した箇所で結線することを可能とした技術である(図5.55)。1988年に西部電機、1990年に三菱電機が関連する特許5.56) 5.57)を出願しているが、実用化では西部電機が1992年以前に開発したAWF-2Bが先駆けとなった。

図5.55 断線点供給(西部電機)

図5.55 断線点供給(西部電機)5.58)


3)結線時間短縮 -10秒結線-
 結線の時間短縮は、結線の成功率と二律背反となるため、1980年代は積極的に時間短縮に向かう動きは見られなかった。当時、業界の平均的な結線時間は90秒程度で、段取り作業で手待ち時間が長くなるなど、顧客の不満となっていた。1990年頃、結線時間短縮の要求がひと際高まったのが、図5.56に示すプリント基板抜き型の分野であった。1箇所の加工が数分で完了するような小形状の加工が、1つの工作物に数10から数100箇所以上あるため、稼働時間に占める結線時間の割合が無視できない状況であった。こうしたニーズに対応し、西部電機は1995年に開発した自動結線装置AWF-3で、結線時間10秒を達成した。技術史に足跡を刻むとともに、「10秒結線」が競合他社の目標となった。現在は各社とも同等の結線時間に達している。

図5.56 プリント基板抜き型

図5.56 プリント基板抜き型5.59)


4)細線ワイヤへの適用
 放電加工機の業界では線径φ0.1 mm未満のワイヤを極細線、または細線ワイヤと呼んでいる。半導体リードフレーム、時計部品などの微細精密加工の分野では、線径φ0.03 mm、φ0.05 mmなどの細線ワイヤが使われる。これら髪の毛より細いワイヤの自動結線は、一般的なφ0.2 mmワイヤの結線より難易度が高く、実用化されたのは1990年を過ぎた頃で、5.2.4章で解説した微細精密加工用高精度機の一環として開発された。主なところでは、φ0.05 mmワイヤの自動結線は1993年のソディクEXC100、φ0.03 mmワイヤの自動結線は1993年の牧野フライスUPH-1、1997年の三菱電機PX05で実用化が始まった。


(4)ワイヤ自動結線装置の各社製品開発の歴史

 ワイヤ自動結線装置に関る様々な技術はおよそ30年以上の長期に渡り開発が継続された。各社ともその時々の開発成果を反映した数多くの装置を世に送り出したが、その中から各社の代表的な装置を表5.5にまとめた。

表5.5 ワイヤ自動結線装置の各社開発史

表5.5 ワイヤ自動結線装置の各社開発史

5.3.2 自動中子処理装置

 ワイヤ放電加工機の自動化は、ワイヤ自動結線装置で大きく前進したが、もうひとつの課題は荒加工の終わりに切り落とされる中子(コア、スクラップとも)の処理である。例えば高精度な金型を加工するには、仕上加工が必要になるが、荒加工から仕上加工まで一貫した自動化を実現するには中子の処理も自動化する必要がある。この場合、対応方法は二つあり、一つは小寸法の加工形状に適用される自動拡大加工と呼ばれる方法(図5.57)である。これは、ワイヤ電極を徐々に拡大する軌跡で移動させ、スクラップを残さず、全て放電加工でスラッジにする方法である。例えば、セラミック電子部品成形型などの小寸法形状を数多く加工する金型で実用化されている。しかし、一般には自動拡大加工が適用できる対象が少ないため、中子を自動的に処理する自動中子処理装置が必要となる。

図5.57 自動拡大加工5.55)


 図5.58は、三菱電機が「ASR」(Auto Scrap Remover)の名称で1988年に発売した自動スクラップ処理装置である5.60)。この装置は、ロボットハンドに装着した電磁石で中子を吸着し、回収箱まで搬送する動作を自動化したものである(図5.59)。尚、荒加工が終わって切り離された中子は、ロボットに吸着されるまでに落下しないよう、下部ガイドの保持機構で支えられる仕組みである。

図5.58  自動スクラップ処理装置

図5.58  自動スクラップ処理装置5.61)


図5.59 中子処理動作

図5.59 中子処理動作5.61)


 以下、同時期に発売された各社の装置事例を紹介する。図5.60は、ソディックが「Aシリーズ」のオプションとして発売した中子処理装置の動作説明図である。荒加工を進め、中子が切り落ちる手前に達した時点で、下受け板が上昇する。その後、中子が切り落ちるまで加工を進め、下受け板が中子を保持する。次にワイヤガイドの位置を移動し、中子が下受け板から落下するように移動する。

図5.60 ソディック中子処理装置

図5.60 ソディック中子処理装置5.62)

 中子は、ベルトコンベアに運ばれ、回収箱に収容される仕組みである。また、中子の有無を確認用ピンで検出し、中子と機械の干渉トラブルを防止する安全策が取られている。
 牧野フライス製作所は、「自動コア抜き装置」の名称で、1989年の型技術者会議で自動中子処理装置を発表している5.63)。図5.61に示す構成の通り、磁石で中子を吸着する方式を採用している。暫らく後の2007年、牧野フライス製作所はワイヤ電極を水平方向に走行させるユニークな設計のワイヤ放電加工機「UPN-01」を発売し話題になった。その話題の一つは、図5.62の自動中子処理装置で、工作物を立てて加工するため、切り離した中子が加工された穴の中に保持され、横方向から加工液をジェット噴射して、中子を処理する方式であった。

図5.61 自動コア抜き装置

図5.61 自動コア抜き装置5.63)


図5.62 自動コア抜き装置(機械本体UPN-01)

図5.62 自動コア抜き装置(機械本体UPN-01)5.64)


 さらに時代が進んだ2011年、西部電機から中子処理に関する新技術である「コアステッチ」が発表された。これは、加工電源から供給する電流波形を、加工中にワイヤ電極材の黄銅が工作物に溶着し易い波形に変更し、加工を進めながら加工溝を黄銅の溶着で埋めて、中子が落下しないように保持する技術である。電極材の溶着は古くから知られていた現象で、電流ピーク値に対しパルス幅が長い波形で、かつ放電間隙が狭い加工で発生し易い。加工溝が溶着で埋まると、加工後に中子が取り出せないトラブルとなるため、むしろ溶着を回避する対策が取られてきた歴史がある。コアステッチは溶着を活用する逆転の発想で、図5.63(左)に示す様に、加工後に軽いハンマリングで中子が落下する程度に最小限の箇所を溶着させる方法である。また、図5.64はコアキャッチと呼ばれる装置で、上部ヘッドに設けられたピンが中子を突き落とし、中子を下部ヘッドに設けられた箱に回収する仕組みである。

図5.63 溶着による中子の固定(左)溶着部の観察(右)

図5.63 溶着による中子の固定(左) 溶着部の観察(右)5.65)


図5.64 コアキャッチ(中子回収装置)

図5.64 コアキャッチ(中子回収装置)5.65)


 ここまで、自動中子処理装置の開発経緯を述べてきた。しかし、これが広く普及しているかと言えば、残念ながら、現状はそうではない。端的に言えば、現在の技術では制約事項が多いことが普及を阻害している。制約事項の主なものを以下に述べる。
 ①材料要因

 • 磁石で吸着する方式は、吸着しない材料や、吸着力が弱い材料に適用できない。

 ②形状要因 

 • 回収できる中子の寸法や重量に制限があり、大きな中子には適用できない。

 • 長尺形状、或いは外形中心と重心が乖離する形状では、切り離された際に中子が傾斜して穴から引き抜けない状況が発生する。現状はユーザによる適用可否判断が必要。

 • 工作物の上面に段差がある場合、磁石吸着方式では、中子を吸着できる距離に近づけない。また、溶着方式では加工ヘッドが工作物から離れるためワイヤ電極の振幅が大きくなり放電間隙が広がり溶着が生じない場合がある。

 自動中子処理装置は、現状では世の中に大きく貢献しておらず、発展途上の技術と言える。また、残された課題は、何れも解決の道筋を見出すのが難しい。しかしながら、ワイヤ放電加工機の完全な自動化のために避けて通れない課題である。生産技術の泥臭い課題を解決するモチベーションが高い日本であれば、何れは道が拓かれるであろうと期待する。


参考・引用文献

5.1)三菱電機, カタログ Fシリーズ W-C7146-A, (1982)
5.2)当時の設計者へ取材
5.3)三菱電機提供
5.4)市川満男:日本製ワイヤカットに対応するオベロン電極線の加工事例, 金属プレス, pp.24-28, (1995)
5.5)青山正義:放電加工電極線の技術動向と開発. 電気加工学会誌,35(79), pp.46-51, (2001)
5.6)三菱電機, カタログ FAシリーズ W-K02-0-C5194-E, (2001)
5.7)佐藤清侍, 佐藤達志, 山田久, 真柄卓司, 今井祥人:ワイヤ放電加工におけるワイヤ断線防止制御, 電気加工学会全国大会講演論文集, pp.45-46, (1997)
5.8)佐藤清侍, 佐藤達志, 山田久, 真柄卓司, 今井他ワイヤ放電加工におけるワイヤ断線防止制御, 電気加工学会, 48(118), pp.108-117, (2014)
5.9)ファナック, カタログ CUT-W series CE-09, (1991)
5.10)原田武則:ソディックにおける放電加工の技術開発, 電気加工学会誌, 51(126), pp.43-47, (2017),
5.11)毛呂俊夫, 田中誠, 佐藤清侍, 木村宗雅, 竹内浩志:最近の汎用ワイヤ放電加工機, 三菱電機技報, 71(4), pp.377-382, (1997)
5.12)真柄卓司, 弥冨剛, 小林和彦:ワイヤ放電加工における高精度仕上の研究, 電気加工学会誌, 24(48), pp.45-64,(1991)
5.13)倉橋安則, 山内基夫:高精度ワイヤカット放電加工機DWC90P形, 三菱電機技報, 56(2), pp. 175-180, (1982)
5.14)佐藤清侍, 湯澤隆:三菱電機の放電加工技術, 電気加工学会誌, 51(126), pp.49-52, (2017)
5.15)牧野フライス製作所, カタログ EC-3141 H-141 872
5.16)特開平07-227718, ワイヤ放電加工用電源回路及び電源用回路装置
5.17)酒井洋三, 後藤昭弘, 他:ワイヤ放電加工における交流高周波電源を用いた形状加工精度の向上, 2011年精密工学会春季大会学術講演会公演論文集, p. 27-28, (2011)
5.18)特開2006-321007, 放電加工機用電源装置及びワイヤ放電加工装置
5.19)ソディック, ソディックの歴史https://www.sodick.co.jp/st/history/01/age03.html, (2022/12/5 閲覧 引用)
5.20)真柄卓司, 山田久, 佐藤清侍, 弥冨剛, 小林和彦:非電解ワイヤ放電加工による加工面の高品質化, 電気加工技術, 16(53), pp.1-7, (1992)
5.21)山田久, 真柄卓司, 佐藤清侍, 弥冨剛, 伊藤影康:無電解電源AE搭載ワイヤ放電加工機, 三菱電機技報, 67(2), pp.183-186, (1993)
5.22)三菱電機, カタログ SXシリーズ L(名)74113097-A, (1994)
5.23)三菱電機, 最新腐食防止技術と超硬加工品質の向上, (2011)
5.24)真柄卓司, 弥冨剛, 山田久, 小林和彦:ワイヤ放電加工における形状精度に関する研究 (第1報), 電気加工学会誌, 25(49), pp. 23-32, (1991)
5.25)真柄卓司, 弥冨剛, 山田久, 小林和彦:ワイヤ放電加工における形状精度に関する研究 (第2報), 電気加工学会誌, 26(52), pp. 1-15, (1992)
5.26)三菱電機, カタログ FXシリーズ W-K02-7-C2660-B 9706
5.27)三菱電機, カタログ FAシリーズ W-K02-0-C5194-E 0110
5.28)佐藤達志,:ワイヤ放電加工における高精度化と自動化, 精密工学会誌, 71(5), pp.549-552, (2005)
5.29)三菱電機, カタログ FA-Pシリーズ L(名)13010-D(0209)MEE
5.30)三菱電機, カタログ W-C6643-A, (1980)
5.31)倉橋安則, 山内基夫:高精度ワイヤカット放電加工機DWC90P形, 三菱電機技報, 56(2), pp. 175-180, (1982)
5.32)三菱電機, カタログ W-C7509-E, (1989)
5.33)倉橋安則, 荒槇淳, 新開勝、大丸隆正、中山建夫:ワイヤ放電加工機の最新技術, 三菱電機技報, 61(6), pp.430-435, (1987)
5.34)ソディック, カタログ EXC.J95.01
5.35)ソディック, カタログ WAP/EXC.J99.09
5.36)牧野フライス製作所, W-EDMの変遷
5.37)牧野フライス製作所, カタログ H202 9501
5.38)高瀬義之:「超精密ワイヤ放電加工機 UPN-01 の開発」にまつわる話, 精密工学会誌, 76(6), pp.619-620 , (2010)
5.39)三菱電機, カタログ W-K02-2-C6093-B_0303
5.40)真柄卓司, 大場信昭, 佐藤 清侍, 岩田明彦:半導体向け超精密ワイヤ放電加工機“PX05”, 三菱電機技報, 75(7), pp.453-456, (2001)
5.41)富本直一, 新開勝, 毛呂俊夫:放電加工機の最新技術動向と将来への課題, 三菱電機技報, 75(7), p.7, (2001)
5.42)西部電機, カタログ 4118-3 (06.10.OB)
5.43)三菱電機, カタログ MPシリーズ K-K02-5-C0148-C, (2016)
5.44)特開平06-055357
5.45)特開平03-136724
5.46)日経産業新聞, 1979/1/29 (1) 
5.47)ファナック, カタログ TC-07, (1979)  
5.48)日経産業新聞, 1980/10/14 (8)
5.49)西部電機社史
5.50)栗原治弥:牧野フライス製作所EDM開発の歴史, 電気加工学会誌, 51(126), pp.37-42, (2017)
5.51)ソディック提供資料
5.52)三菱電機, H1シリーズ取扱説明書BRN-49491
5.53)山田久, 大友陽一, 酒井明弘:高速ワイヤ自動供給装置“AT”, 三菱電機技報, 75(7), p.36, (2001)
5.54)牧野フライス製作所, カタログ EC Series_H136 8610
5.55)三菱電機, カタログ W-C7509-E 名-8909
5.56)特開平04-141322
5.57)特開平02-145215
5.58)西部電機, カタログ EWシリーズ No.40004-2(92.10.5G)
5.59)三菱電機, カタログ H Series W-C7801-A NA-8810
5.60)三菱電機, カタログ 110PH L(名)74113049-B(8810)
5.61)三菱電機, カタログ W-C7569-I 名-9111
5.62)ソディック, カタログ A series
5.63)天利英明:ワイヤ放電加工機の自動化とその応用, 型技術 4(7), pp.112-113, (1989)
5.64)牧野フライス製作所, カタログ UPN-01 H262 0711/3(SJ-M)
5.65)西部電機, カタログ MBシリーズ4133-O, (2017)

Contentsに戻る


 6 形彫放電加工機発展の系統化調査

 本章では、概ね1980年から2015年頃までに開発された技術の中で、形彫放電加工機の発展に貢献した技術について調査した結果を述べる。


6.1 生産性向上

 形彫放電加工機の生産性は、荒加工の速度を指標とする時代もあったが、現在は貫通穴加工の一部例外を除き、荒加工の速度を競う状況にはない。半導体電源が実用化した当時、電源容量を上げ大電流パルスを供給する電源が開発され、現在の視点から見ても十分に速い荒加工速度を達成していた。その後、形彫放電加工機の生産性は、目標の加工品質を得るまでの荒加工と仕上加工を含めた総加工時間が指標となり開発が進められるようになった。また、放電加工機への市場ニーズは、加工の難易度や品質への要求が年々高度化しており、メーカ各社は次々と新しい目標に向けて生産性向上の開発を続けている。

6.1.1 超低消耗電源

 形彫放電加工機の生産性は、目標の加工品質を得るための総加工時間が指標であると説明したが、総加工時間の短縮には電極消耗が鍵となることを以下に述べる。荒加工に於いて、パルス電流値を大きくして速度を上げると、電極の消耗が増えて加工精度や面粗さが悪くなる。パルス電流値が小さく加工除去量も少ない仕上加工の負担が増える形となり、却って総加工時間が長くなってしまう。従って、荒加工の速度は、仕上加工の負担が大きくならない様に制約を受ける。
 電極の消耗についてもう少し説明すると、加工に使用される電極表面は場所によって放電を受ける累積時間が異なり、また角部は平坦部に比べて放電の頻度が高くなる。電極の消耗量は局所的に不均一となり、工作物に加工される形状にも局所的な形状誤差が生じる。誤差の不均一が大きいほど、これを修復するために仕上加工の時間が長くなってしまう。荒加工の電極消耗率(または電極消耗比)を改善することができれば、仕上加工の負担を減らし、総加工時間の短縮につながる。電極消耗の改善は、こうした図式で生産性向上に直結する。
3章で述べた通り、RC回路の電源では電極消耗率が10%を超えていたが、その後に開発された半導体電源により電極消耗率が1%以下に改善した。ここでは、電極消耗率をさらに0.1%以下としたマイルストーン技術について述べる。


(1)超低消耗電源の研究開発

 1960年代に行われたデ・ブリュイン(H. E. De Bruyn)の研究は、電流波形の立ち上がりに傾斜(スロープ)を持たせることで電極消耗率を0.1%以下にできることを示したが6.1)、工業的に実用化する手段が開発されていなかった。三菱電機は1975年に「電流波形制御(特殊電流波形)による加工特性」と題する論文を電気加工学会に発表した。この論文では、トランジスタ回路による電流波形の制御方法の開発と、それを応用して電流波形を三角波や台形波に制御し、それらの加工特性に関する研究結果を報告した。
 図6.1は、この研究に用いられた実験用の回路で、プログラムボードのインサートピンでトランジスタのONまたはOFFを設定し、任意の波形形状をつくることが可能である。図6.2は三角波、図6.3は台形波に制御された電流波形の観察結果である。実験から得られた結論で、重要な点は以下の通りであった。
 ①電流波形の立ち上がりのスロープを緩やかにするほど、電極消耗率が急激に小さくなる。三角波の場合、方形波の1/10以下になる。(銅電極で鋼を加工した場合)
 ②加工速度は、立ち上がりのスロープを穏やかにしても大きな変化がない。三角波の場合、実験の範囲では、方形波より最大で約20%の低下に留まった。(同上)
 以上のことから電流波形の立ち上がりを緩やかなスロープにすることで、加工効率の低下を一定範囲に留めつつ、電極消耗を大幅に改善できることが見出された。この結果は、形彫放電加工の加工精度向上と総加工時間の短縮に大きく貢献する技術へと繋がった。

図6.1 電流波形制御回路

図6.1 電流波形制御回路6.2)


図6.2 三角波の電流波形

図6.2 三角波の電流波形6.2)


図6.3 台形波の電流波形

図6.3 台形波の電流波形6.2)

(2)超低消耗電源の製品化

 前述の論文が発表された当時は、波形制御をデジタル制御で行うことが目新しい時代であり、論文が示した回路技術は新規性や独自性に富んでいた。しかし、この技術が製品に反映されるまでには、長い年月を要することになった。当時の関係者の話では、製品化に時間がかかった最大の理由はコストであり、インダクタンスを使って電流の立ち上がりをスロープにする安価な方式の代替回路が暫く採用されていた。
 しかし、他メーカもスロープ方式を採用した回路を開発する状況となり、差別化を強化するため、デジタル制御によるスロープコントロール方式回路「SC回路」を完成し、1986年に発売した形彫放電加工機「Kシリーズ」に搭載した。図6.4は「SC回路」の電圧と電流波形を示し、図6.5は電流波形と加工特性(加工速度、電極消耗率、面粗さ)の関係を示す。

図6.4 「SC 回路」の電圧・電流波形

図6.4 「SC 回路」の電圧・電流波形6.3)


図6.5 電流波形と加工特性

図6.5 電流波形と加工特性6.3)


 図6.4には、前述のスロープコントロールとイグニッションパルスのふたつの回路の動作が示されているが、先にイグニッションパルスを説明する。図の左側の電圧波形は、開放電圧が印加されてから、適切な経過時間の範囲で放電が発生した場合の波形を示し、図の右側の電圧波形は、基準とする経過時間を超えても放電が発生しなかった場合を示す。経過時間の長さは、電極と工作物の極間距離と相関があり、極間が広いため放電が発生し難い状態と判定し、高電圧のイグニッションパルスを出力して放電を誘起している。この回路は、有効な放電パルスの数を増して加工効率が低下しないように動作する。電流波形は、放電が発生したタイミングに依らず、前述のスロープコントロールが働き、電極消耗が少ない放電となる。図6.5は電流波形のスロープ勾配と加工特性の関係を示すが、電極消耗率はスロープの勾配が緩やかになるに従い改善するが、加工速度は勾配が一定の値を超えた辺りから目立って低下する。電極消耗と加工速度がうまくバランスする最適な勾配を求めることが重要であるが、加工内容やIpなどの条件によって変わるため、加工条件のデータベース作りも膨大な実験量を必要とする開発作業であった。
 SC回路に関る特許は5件を登録し、その中の1件である特許第1120049号は、1990年度全国発明表彰、発明賞を受賞した。これら特許は米国、ドイツ、スイス、イタリアでも登録となったが6.3)、欧米メーカの先行特許に苦しめられてきた時代から、漸く日本のメーカが世界的に開発の先頭に立つ時代に変わったのがこの頃であった。


6.1.2 Z軸駆動機構 -ジャンプ動作の高速化-

 形彫放電加工を安定して行うには、加工状態に応じて電極を高応答で昇降させて電極と工作物の間隙を最適化するサーボ制御が重要である。また、2章で述べた通り、電極と工作物の極間に溜まるスラッジを排出するため、Z軸を一定周期で昇降させるジャンプ動作も高速な軸送りを必要とする。
 3章で述べた通り、初期の形彫放電加工機のZ軸駆動機構は電気モータとギアの減速機で構成する方式が主流であった。1960年代に入り、電気-油圧サーボ弁が利用可能となり、従来方式より応答性や位置決め精度が高い油圧サーボの採用が進み、1980年頃までは、油圧サーボがZ軸駆動機構の主流となっていた。


(1)ダイレクトドライブモータ方式サーボ

 1980年代に入ると、NC装置の普及、モータや位置検出器の性能向上などが進み、電動モータで構成する軸送り駆動機構が、油圧サーボを上回る性能を発揮できるようになった。各社ともモータサーボへ転換する流れとなったが、その一例を次に述べる。
 三菱電機は1981年に、ダイレクトドライブモータ(DDM)方式の駆動機構をXYZ軸に搭載した形彫放電加工機「Mシリーズ」(図6.6)を発売した。図6.7は駆動機構の構成で、高トルク・低回転型のDCサーボモータを採用し、減速機を排し、カップリングを介してモータ軸をボールねじに直結することで、歯車列のバックラッシュによる位置決め精度の悪化やサーボ系の不安定を防ぐ駆動機構となっている。

図6.6 三菱電機 Mシリーズ(M35C6)

図6.6 三菱電機 Mシリーズ(M35C6)6.4)


図6.7 DDM方式駆動機構

図6.7 DDM方式駆動機構6.5)


 また、この時代は、工作機械の軸送り案内が伝統的な滑り案内(V-平案内、他)から、NC装置の制御に適している転がり案内へ転換する時期であった。転がり案内はこの当時、3章で紹介した事例の様に各社が内製していたが、THK社がパッケージ方式のリニアガイドウェイの販売事業を始めた頃であった。Mシリーズでは、駆動機構の刷新を目指し、まだ業界では実績の少ないリニアガイドウェイ(製品名LMガイド)をいち早く採用した。但し、初期のLMガイドには剛性不足や油切れなどの課題があり、採用までにはTHK社と連携した評価、改善に多くの時間を費やす必要があった。この苦労は両社にメリットがあったと思うが、三菱電機に於いては、DDM方式と併せ、現在まで続くモータ送り駆動機構の基礎を固めることができた。

(2)リニアモータサーボの開発

 形彫放電加工機の加工性能の向上には、高精度、高応答な軸送り駆動機構が重要である。現在も主流となっているモータとボールねじによる送り駆動機構に対し、ソディックはリニアモータを採用した高速で高応答な軸送り駆動機構を開発し、1998年にZ軸にリニアモータを採用した「AM35L(図6.8)」、1999年にはXYZ軸にリニアモータを採用した「AQ35L」を発売した。

図6.8 ソディック「AM35L」

図6.8 ソディック「AM35L」6.6)


①リニアモータ駆動機構の概要
 図6.9はAQ35LのZ軸ヘッドの駆動機構の外観写真、図6.10は構造図である。推力を発生する磁石と電機子コイルは対になり、スライダー両側に取り付けられている。スライダー本体には軽量で高剛性なセラミックを採用し、推力が小さいリニアモータに対応して自重を抑えている。垂直軸にリニアモータを使う場合に問題となる重力落下防止と重力加速度を超える高応答を確保する方式として、エアシリンダを利用する方式を採用している。また、電機子コイルの発熱に対しては、冷却液を循環して温度上昇を抑えている6.7)
位置ループフィードバックには分解能0.1 μmのリニアスケールを用い、軸送りの最大速度36 m/min、最大加速度1.2 Gを実現した6.8)。当時のDCサーボモータとボールねじの駆動機構と比べて、軸送り速度、加速度が飛躍的に向上し、特にZ軸サーボの高応答化は加工の安定化や速度向上に直結する効果があった。

図6.9 リニアモータ外観

図6.9 リニアモータ外観6.7)

図6.10 リニアモータ構造図

図6.10 リニアモータ構造図6.7)


②リニアモータサーボの効果
 リニアモータサーボの高応答性により、加工中に短絡状態に陥った場合、瞬時に放電間隙を広げて短絡を回避し、加工が安定化すると考えられる。リニアモータサーボと従来サーボを比較するベンチマーク加工の評価結果の事例では、同一加工で加工時間が約40%短縮されることが報告されている6.8)
 また、リニアモータの大きな特長である高速性は、ジャンプ動作で大きな効果を発揮する。例として、リブ形状の加工で、従来サーボとリニアサーボを比較した結果を紹介する。図6.11は、ジャンプ動作の速度(Z軸送り速度)を、リニアモータサーボで30 m/minとした場合と、従来サーボで1.3 m/minとした場合で、加工時間と到達加工深さを比較した結果である。
 図6.12は実験に用いた電極形状と加工条件である。従来サーボでは、加工が深くなるに従い速度が遅くなっており、通常であれば加工条件やジャンプ動作を調整して速度低下を抑える必要がある。しかし、リアモータサーボの場合は、そうした調整を必要とせずに一定の加工速度が維持されている。尚、加工深さ20 mm付近までは、加工時間の差は小さいが、40 mm程の深さでは加工時間に2倍近い開きが生じている。

図6.11 加工時間と到達加工深さ

図6.11 加工時間と到達加工深さ6.8)

図6.12 電極形状と加工条件

図6.12 電極形状と加工条件6.8)

(3)リニアモータサーボのインパクト

 ソディックがリニアモータ搭載の形彫放電加工機を発売したことは、いろいろな面で市場に大きなインパクトを与えた。今まで述べた技術的な優位性の他に、リニアモータの言葉が持つ先進的な響きがユーザに訴求し、販売に追い風となる効果も大きかった。リニアモータは、工作機械全体では小物精密加工機などごく限られた機械での採用に留まっており、販売機種のほぼ全てに搭載するのは異例である。リニアモータを内製してコストを抑え、これをコア技術に据えると同時にブランド構築のシンボルとする戦略が窺える。
 また業界の潮流として述べておきたいことは、4章で述べた通り、1990年代は切削加工の新技術である高速ミーリングが金型の加工に急速に普及したことである。形彫放電加工機の適用分野が切削加工に侵食される局面に立ち、得意とする難削材や狭隘、微細形状の加工分野では、優位性をさらに強固とする開発が必要となっていた。こうした背景の中で、リニアモータの登場は、放電加工機メーカ各社がZ軸駆動機構の高速化に一斉に取り組む起爆剤となった。

(4)リニアモータ採用の各社取り組み

 ソディック社のリニアモータ採用が起点となり、放電加工機メーカ各社のZ軸駆動の高速化の取り組みが加速した。次に説明する通り、牧野フライス製作所、三菱電機でもリニアモータ採用の試みがあった。
1)牧野フライス製作所 「リブヘッド」
 牧野フライス製作所は1998年、リニアモータで駆動するリブ加工専用の加工ヘッド「リブヘッド(図6.13)」を大型機用に開発した。これは、自動車のフロントグリルやバンパーなどの大形金型に数多くあるリブを高速加工したいとのユーザの要望に応えたものであった。

図6.13 牧野フライス製作所「リブヘッド」

図6.13 牧野フライス製作所「リブヘッド」6.10)


 「リブヘッド」は、Z軸と並行に駆動するW軸で、リニアモータ駆動により最大速度40 m/minの高速ジャンプが可能である6.9)。「リブヘッド」は通常、Z軸駆動機構内に収納されているが、リブ加工の際は、電極を取り付けて加工できる位置に降下させる。大形の電極を用いる加工は、推力が大きいボールねじ駆動のZ軸で行い、リブ加工は、推力は小さいが、高速なリニアモータ駆動のW軸で行うことで、最適な駆動方式が選択できる。

2)三菱電機 MA2000
 三菱電機は2001年に、半導体、電子機器、コネクタなどの精密プラスチック型の高度な要求に対応するMA2000を発売した。業界で初めて加工精度±2 μmの保証*1を打ち出した超高精度機で、XYZ軸にリニアモータを搭載し、Z軸スライダー構造体は軽量で高剛性なCFRPを採用することで、Z軸の最大加速度4G、最大速度60 m/minを実現した。高応答なZ軸送りサーボは、微小電流パルスによる放電間隙の狭い加工で、従来を超える加工形状の微細化や精度向上を実現したが、一方で、リニアモータの激しい加減速による振動を抑制する機械構造体の高剛性化、リニアモータの発熱による熱変位を抑制する機械構造体の液循環温度制御などの対策も必要となった6.12) 6.13)

*1 所定のベンチマーク形状で保証


図6.14 三菱電機 MA2000

図6.14 三菱電機 MA2000 6.11)

図6.15 MA2000の構造

図6.15 MA2000の構造6.11)


 以上で述べた通り、ソディック以外のメーカでも、リニアモータを採用する動きがあった。しかしその後、他メーカはリニアモータ搭載の後継機開発には向かわず、ボールねじ駆動方式による高速化の方向へ向かった。リニアモータ駆動方式は、高速性やボールねじの経年摩耗が無いことなどがメリットであるが、推力が小さいことがデメリットになる。また、リニアモータ駆動は熱対策などで全体にコスト高になるが、ソディックの場合はリニアモータを内製し搭載機種の規模を確保してコスト削減を図ったと言える。一方、他のメーカは、重量のある電極を用いる用途分野の取り込みが、ボールねじ駆動方式を選択した理由のひとつと考える。両方式とも長所・短所があり、何れを選択するかは、製品全体の特徴を決める製品企画の違いで分かれたと考える。
 ソディックのリニアモータ駆動方式は、最大36 m/minのジャンプ速度が、長年に渡り優位性を維持したが、一方のボールねじ駆動方式で行われた高速化の開発経緯について次項で述べる。

(5)ボールねじ駆動方式の高速化

 ボールねじ駆動方式における高速化について、三菱電機と牧野フライス製作所の開発事例を以下に説明する。
1)三菱電機の開発事例 
 ボールねじ駆動方式によるジャンプ速度の高速化は、1994年に最大速度を3 m/minに増大し、その後も段階的に速度を上げ、2015年に最大速度25 m/min、加速度1.6 Gに達した6.14)。ここに至るまでに必要であった要素技術は、ボールねじのハイリード化(5 mmから10 mm)、サーボ制御の改良開発、Z軸駆動機構の空冷化などである。特にサーボ制御は、高速ジャンプ動作の加減速で生じる振動を抑制し精度の高い位置制御を実現するスムージング処理の開発に力が注がれた。
 また、リブやゲート加工など対向面積が小さい加工とは別に、推力が大きいボールねじ駆動方式の好対照となる大きな対向面積(目安2,500 mm2以上)の加工に対応し、ジャンプ速度の高速化制御が開発された。大きな面積の加工では、狭い隙間で対向する面を高速で引き離す際に、スクイーズ効果によって加工液から大きな反力を受け、電極、工作物、機械構造体などが変形、位置ずれを起こす問題がある。これを解決するサーボ制御としてスムージング処理を組み込んだ「SSジャンプ」が開発され流体反力を抑制することが可能になった6.15)
2)牧野フライス製作所の開発事例 
 牧野フライス製作所もボールねじ駆動方式による高速化に取り組んだ。2006年頃に最大速度が10 m/minに達していたが6.16)、2015年に発表した高速ジャンプ機能「HS-Rib」で、最大速度20 m/minに達した。ジャンプ速度が5 m/minの場合と比較して、リブ加工で従来比30%の加工時間短縮が報告されている6.17)。これら高速化の手段は公開されていないが、高速化によるボールねじの発熱に対応する技術では、ねじの軸芯に温度調整された加工液を循環させる「Z軸スタビライザ」(図6.16)が、2006年頃にEDGE2やEDAC1などの機種に搭載されるようになった6.16) 6.18)。これは、マシニングセンタで開発された技術であるが、放電加工機への適用は初めての事例であった。

図6.16 Z 軸スタビライザ

図6.16 Z 軸スタビライザ6.16)


 以上で述べた通り、ボールねじ駆動方式でもジャンプ動作の高速化が進み、リニアモータ駆動方式との速度差が縮小していった。リブなどの狭隘形状の加工では、ジャンプ速度が加工効率を左右する大きな要因であるが、その他にも、電源、サーボ、適応制御などジャンプ動作に関る技術を総合的に高度化することでボールねじ駆動方式による加工でも、リニアモータ方式と遜色ない加工ができるようになっていった。ここまで述べてきた様に、何れの駆動方式でも高速化が進んだが、ジャンプ速度の高速化による振動、発熱などの影響も大きくなり、現在に於いては速度向上はそろそろ限界に近付いてきたと思われる。


6.1.3 ファジィ制御 

(1)従来の課題

 放電加工の自動化は、電極や工作物の自動交換などの自動化機器に加え、加工中の加工条件の自動制御が重要である。そのため、工条件の適応制御の研究は1980年以前から行なわれ、極間電圧や有効放電率(有効に放電したパルスと全パルスの比)などを解析し、加工状態の良否判定を定式化し、その判定結果に基づいて、加工条件を制御するものが開発されてきた。しかしながら、これらの適応制御方法は、連続アーク放電を防止することに重点が置かれ、加工の進行を抑制する方向に働く場合が多いため、加工効率の面で熟練作業者(以下「熟練者」)が行なう加工操作に及ばない実態があった。
 こうした課題を解決する手段として、1990年代に家電などに利用され始めた制御技術であるファジィ制御を放電加工機に導入開発する流れがあった。三菱電機は1991年にファジィ制御を搭載した形彫放電加工機「Vシリーズ」を発売、ソディックは1993年にニューロ・ファジィ理論搭載の数値制御電源装置「NF」シリーズを発売した。


(2)ファジィ制御による適応制御

 ファジィ制御は、エキスパートシステムの推論エンジンにファジィ推論を用いる制御である。ファジィ推論のベースとなるファジィ集合は、あるデータが集合に属するか否か、すなわち1か0とするクリスプな集合と異なり、0から1までの中間状態を許容した集合である(図6.17)。

図6.17 クリスプ集合(左)とファジィ集合(右)

図6.17 クリスプ集合(左)とファジィ集合(右)6.19)


図6.18 安定/不安定状態における電極の動き

図6.18 安定/不安定状態における電極の動き6.20)(ダイアルゲージの読み)


 集合に属する度合いはメンバシップ関数により0から1のグレードで表され、グレードにより分岐する「IF…, then…」の言語的表現のファジィルールを記述する。そして、複数のファジィルールを組み合わせて、複雑な入出力関係を表記するファジィ推論を構築する。「少し」とか「大きく」と言った、数式では扱い難いあいまいな定性的表現を用い、従来は熟練者が行っていた経験則による非線形で複雑なシステムを制御することが可能になった。
ここでは、三菱電機が開発した形彫放電加工機Vシリーズのファジィ制御の事例について解説する。先ずは、ファジィ制御の手本となる熟練者が加工中に行う不安定回避操作と最適化操作について、分析した結果を説明する。

1)熟練者の不安定回避操作

①熟練者は放電加工の安定・不安定を、加工中の電極位置(図6.18)、加工電流値、加工音などを基にして、複数の経験則によって判定する。

②加工状態が不安定と判定したとき、その不安定度合いより比較的単純な規則で、電極のジャンプ動作の設定量や加工パルス条件の休止時間などを変更する。

③上記不安定の判定および操作内容の決定に於いて、電極や工作物の材質、及びその時点の加工深さ、加工面積、揺動条件などを考慮に入れる。

2)熟練者の最適化操作

①加工の安定状態が長く続くと、加工を促進するように加工条件の変更を試みる。安定であればさらに変更するが、加工速度の向上が見られない場合は元に戻す。不安定であれば、ひとつ前の加工条件へ戻す。

②不安定の認識は、前記の不安定回避操作と同じである。

③上記の操作を何度か試みて効果が無ければ、加工条件の最適化操作を暫く行わない。

  このように、熟練者が行なう操作は、対象となる放電加工プロセスの基本的なモデルや種々の成功例、失敗例に基づく複数の経験則から、制御対象の状態を定性的に認識し、その認識した状態に応じて操作量を決定していることがわかる6.20)

3)ファジィ制御放電加工機の構成

  ファジィ制御放電加工機の構成を図6.19に示す。図に示すファジィ制御器は、信号処理部、認識部、操作量決定部および知識ベース部で構成されている。この構成は、熟練者のもつ制御戦略を直接的に表現できるとともに、認識部と操作量決定部とを個々にチューニングすることができるので、制御システムのデバックがし易くなっている。以下、それぞれの機能について説明する。

①信号処理部

  熟練者が加工状態の安定・不安定を認識する際に基準とする状態量を求める。具体的には、加工電極の位置検出信号から電極の昇降動作の振幅値、トレンド値などの状態量を演算する。

②認識部

  知識ベース部に記述された熟練者の持つ知識と信号処理部より得られる状態暈から、加工状態の安定・不安定を推論する。電極や工作物の材質など加工内容の変更に対しては、それぞれに対応した最適なルールセットを用いて、熟練者と同等な加工状態認識を可能としている。

③操作量決定部

  認識部で得られた加工の安定度に従って加工条件を変更する。加工状態が不安定と判定すれば、加工を抑制するように加工条件を変更する。また、加工状態が安定に戻れば、不安定になる前の加工条件に戻し、安定が続けば加工を促進する加工条件に変更する。

④知識ベース部

  認識部と操作量決定部で利用される熟練者の経験的な知識に基づいたファジィルールセット、デシジョンテーブルなどを格納している。

図6.19 ファジィ制御放電加工機のブロック図

図6.19 ファジィ制御放電加工機のブロック図6.20)

 ファジィ制御の搭載で、熟練作業者が加工不安定と判定した際の不安定回避操作、加工の深さや放電面積の変化を判断して、適宜、最適と考える加工条件に変更する操作と同等の制御が実現できた。その効果の事例を次に述べる。
 図6.20は、φ10 mmの丸棒形状の電極を用いて工具鋼を加工した場合の加工時間と到達深さを示しており、上にあるほど加工速度が速いことを示す。ファジィ制御放電加工機を用いた場合、不安定な加工を回避し、かつ加工速度が最大となるように加工条件が変更されており、熟練作業者と同等の加工速度が得られている。なお、図中には放電加工中何の操作も行なわず、一定の加工条件で加工を続けた場合の結果を(1)、 (2)で示した。高速な加工条件(1)では、加工の途中で不安定となり、加工速度が徐々に低下しており、一方、安定な加工条件(2)では一定の速度で順調に加工が進むが、加工速度が遅いことが分かる6.20)

図6.20 丸棒電極による加工速度比較

図6.20 丸棒電極による加工速度比較6.20)


6.1.4 自動プログラミング

 NC形彫放電加工機が1970年代後半に誕生したことを3章で述べた。形彫放電加工機の自動運転に必要なNCプログラムは、他のNC工作機械と異なる特徴があることから説明する。

(1)形彫放電加工機のNCプログラムの特徴

 切削加工は、工具を3次元の軌跡で移動させて所望の形状を加工する方法であり、NCプログラムの大半は工具を移動させる数値情報で占められる。膨大な工具軌跡の演算が必要になるため、CAM(Computer Aided Manufacturing)と呼ばれるコンピュータシステムが早くから開発されNCプログラムの作成に利用されてきた。ワイヤ放電加工機の場合は、切削加工に比べると演算量は遙かに少ないが、2次元輪郭形状の移動軌跡を求める幾何学的演算に3章で述べた自動プログラム作成装置、即ち2次元のCAMが必要であった。
 それに対し、形彫放電加工は予め所望形状に加工された電極を用いて形状を転写加工する方法であるため、電極の移動軌跡は単純で、移動軌跡を演算するCAMの必要性が低い。しかし、加工工程については、加工条件や揺動を段階的に変えながら行う仕上加工、同一の加工プロセスを工作物の別の場所に移動して繰り返す多数個取り加工、電極の交換など、様々な手順をNCコード(言語)で指令する必要がある。形彫放電加工機のNCプログラムの特徴は、工具軌跡の数値情報よりも加工工程を指令する数値情報の割合が大きい点にある。

(2)1980年代の自動プログラミング

 NC形彫放電加工機が誕生して間もない頃は、NCプログラムを紙テープに打ち込んでNCに読み込ませるか、NCの操作画面に直接、NCコードを入力してプログラムを作成する方法が取られていた。囲み欄に示したごく簡単なプログラムの作成であれば、大きな負担にはならないが、複雑な工程の長いプログラムを組むのは入力ミスの恐れもあり現実的ではなかった。
 この課題に対して、各社が開発したソフトウェアである“自動プログラミング”を以下に説明するが、実態に即して言えば“プログラム作成支援機能”と言うのが適切かと思う。これら自動プログラミング(以下「自動プロ」)の目的は、NCコードを使わずに簡単にプログラムが組めること、入力ミスを防ぐことが主眼であった。

<NC プログラム例> 
G90G00Z5.000絶対座標のZ5.000へ直線移動
E181F150.0加工条件設定、移動速度設定
M88M80M84加工液急速充満入、加工液入、加工入
G90G01Z-4.895絶対座標のZ-4.895へ直線移動
G26L9000H200Z-4.895R50揺動量0.050で円揺動
M85M81加工切、加工液切
G90G00Z5.000M25接触無視で絶対座標のZ5.000へ直線移動
M02プログラム終了

 1980年代の前半、NCのハードウェア面では、16ビットCPUが普及し処理能力が向上した。また、表示器が7、14セグメントディスプレィからCRTへ切り換えが進み、さらにCRTの高解像度化により漢字表示やグラフィック表示が可能となった。画面上でデータを入出力する際の操作性や視認性が格段に向上しことも自動プロの開発が本格化した背景にある。

 ①三菱電機「FAP(Flexible Automatic Program)」

  三菱電機は1982年に対話型入力方式の自動プロ「SDI」を発表し、その後、スプレッドシート型の自動プロも並行して開発を進めた。スプレッドシート型の自動プロについて1986年に開発した「FAP」を例に説明する。
 NC内部にはマスターパックと呼ばれる荒加工から仕上加工までの工程パターンが登録されている。加工プログラムを作成する際は、加工内容に該当するマスターパック番号、加工深さ、電極の縮小代の3つを入力して、展開操作を行うと図6.21に示す4つの工程が4列に表示される。各列には加工条件、揺動量、Z軸加工深さを段階的に変更して加工するためのデータが設定される。FAPは他に各種のメニューがあり、例えば工作物の中心位置を機上で自動計測するプログラムを作成する画面などを備えていた6.21)

図6.21 FAP画面例

図6.21 FAP画面例6.21)


 ②牧野フライス製作所「モデルプラン」

  対話型では牧野フライス製作所が1987年に開発した「モデルプラン」を例に説明する。図6.22はモデルプランの対話入力画面のひとつで(他に位置、計測、補助画面)、対話入力で電極交換、揺動加工などの機能を用いたプログラムが作成できる。また、荒加工から仕上加工の工程パターンデータであるモデルデータを内蔵しており加工工程プログラムを組む際の雛形として利用可能である6.22)

図6.22 モデルプラン画面例

図6.22 モデルプラン画面例6.22)


(3)1990年代の自動プログラミング

 1990年代は、32ビットや64ビットCPUを搭載してNCの処理能力がさらに向上し、表示器の高解像度化も一段と進んだ。こうしたハードウェアの進化で実現したGUI(Graphical User Interface)を活用し、自動プロはより簡単に高度なプログラムが作成できる機能へと進化した。

 ①ソディク LNアシスト

 ソディックは1998年に発売した「AMシリーズ」から、本格的なGUIを導入した「LNアシスト」(図6.23)を搭載した。特徴のひとつは加工形状選択画面で、放電加工の様々な加工形状(形態)を類型パターン化し、該当するものを選択することで加工形状毎に特有の加工ノウハウが、初心者でも簡単に利用可能となっている6.23)

図6.23 LNアシスト画面例

図6.23 LNアシスト画面例6.23)

 ②三菱電機「E.S.P.E.R」「E.S.P.E.R Ⅱ」

  三菱電機は1994年に32ビットCPU搭載NC向けに自動プロ「E.S.P.E.R」を開発した。加工条件のデータベースと検索機能が強化され、画面上でパラメータを入力して最適な加工条件を検索できる“加工条件エキスパート機能”が加わった。また、自動化ニーズの高まりに対応するため、多数個取り加工の自動化に必要な電極芯ずれ測定、ワーク位置測定などを活用したプログラム作成を支援する機能が強化された6.24)
  1998年には64ビットCPU搭載のNC向けに自動プロ「E.S.P.E.R Ⅱ」を開発した。本格的なGUIを実現し、視覚的に分かり易い画面(図6.24)でプログラム作成を容易にした6.25)

図6.24 E.S.P.E.R Ⅱ 画面例

図6.24 E.S.P.E.R Ⅱ 画面例6.25)


図6.25 加工条件エキスパート画面

図6.25 加工条件エキスパート画面6.26)


(4)2000年以降の自動プログラミング

 2000年以降は、よりインテリジェントな機能、3D-CADデータとの連携などの開発が進んだ。また、近年はマウスや液晶タッチパネルを採用し、パソコンやスマホの操作と統一する操作方法を取り入れるようになった。


- 三菱電機 ESPERADVANCE -
 三菱電機が2008年に開発したのが「ESPERADVANCE」である。図6.25の加工条件エキスパート画面は、簡単なパラメータ入力で、高度なノウハウを必要とする加工形状の最適条件を設定し電極の移動軌跡も自動で生成するインテリジェントなプログラム作成機能である。図6.26の3Dチェック画面は、予め読み込んだ工作物などの3次元CADデータを用い、加工のシミュレーションをグラフィカルに表示し、プログラムの事前確認を容易にする機能である。
ここまで述べてきた自動プログラミングは、NCを直接操作する機能であり、現在も利用者が多い。しかし、ネットワーク経由でNCプログラムを機械に供給する方法が徐々に増えており、自動プログラミングをパソコン上で動作させることも可能となっている。また、稼働管理、保守、故障診断などを行うネットワークサービスが実用化されており、今後、自動プログラミングや工程管理などのソフトウェアもひとつの情報プラットフォームに統合されて行くと予想される。

6.2 精密加工技術

 1970年代は、電極の低消耗化により底付き穴の加工精度が向上し、形彫放電加工機の金型加工への適用が進んだが、さらなる適用拡大への課題は、実用的な加工で面粗さを向上することであった。1970年代末に、RC回路による低ピーク電流波形を用いて仕上面粗さを改善する試みがあったが6.27)、休止時間の制御ができないため加工が安定せず実用化には至らなかった。また、トランジスタのスイッチング回路の場合は、最良でRz 3~4 μmの仕上面が得られたが、スイッチング速度の限界で周波数が上がらず加工速度が遅く、コスト面からRz 5 μm程度が実用上の限界であった6.28)

6.2.1 光沢仕上回路

 面粗さを向上する技術として、従来の梨地面とは異なり、光沢のある仕上面で面粗さを向上する技術が開発された。1980年にソディクが開発した鏡面仕上回路「PIKA-1」や三菱電機の「GM-1」回路は、何れもRz 1 μm以下の面粗さで、かつ光沢のある仕上面を実現した。図6.27は「GM-1」によるサンプル加工事例である。
 「PIKA-1」も同様と推測するが、「GM-1」は通常の仕上加工より放電間隙を広くして揺動加工と組み合わせることで、光沢のあるRz 1 μm以下の面粗さを得ることができる6.28)。光沢面が得られる原理は、本報告書では触れないが、粉末混入放電加工6.29)と同様であると考えられている。放電加工の加工面は、面が粗く加工変質層が残っているため、時間をかけて手磨きを行うのが一般的だが、「GM-1」によるRz 1 μm以下の光沢面は、磨きを不要、或いは大幅に削減することが可能であった。また、手磨きによる形状精度の悪化(形状だれ)が抑えられることも顧客に喜ばれる点であった。「GM-1」が適用できる加工面積は、□20 mm程度と大きくはなかったが、小物精密金型を中心に適用が広がった。光沢仕上面の実現は、形彫放電加工機が精密加工の能力を備えた工作機械であることを示す事例となった。

図6.27 「GM-1」サンプル加工事例

図6.27 「GM-1」サンプル加工事例6.30)

6.2.2 微細仕上回路

(1)汎用仕上回路

 前項で説明した光沢仕上面は、最終段階の仕上加工に専用回路を用いて得られる。その前段階の梨地面の仕上加工は、汎用の仕上回路で行われる。放電加工に於いて、電極と工作物が対向する面積が大きくなると、静電容量が増し、電荷が多く蓄えられるため、ピーク電流の小さい放電ができなくなってしまう。従って、専用回路が適用できる面積には限界があり、それを越える面積では、汎用仕上回路の加工で打ち切りとなり、それが最終の仕上げとなる。
 三菱電機が1998年に発売したFPⅡ電源は、従来の仕上電源より微細短パルスな電流波形と休止時間の最適制御を取り入れた新仕上回路「PS回路」を搭載した。図6.28に加工面積に対する最良面粗さの関係を示すが、PS回路は加工面積□50 mm(2,500 mm2)に於いて最良面粗さRz 2 μm強、□10 mmでRz 1 μm弱が得られ、従来の汎用仕上回路から大幅な改良がなされた6.32)

図6.28 加工面積と最良面粗さ

図6.28 加工面積と最良面粗さ 6.31)

(2)微細仕上回路

 1995年に発売されたWindows95はLANやインターネットの一般利用を広め、パソコンやインターネットが爆発的に普及し、その潮流が1990年代後半における「IT景気」や「ITバブル」と言われる経済状況を創り出した。また、電子機器等ではダウンサイジングが急速に進み、部品製造を支える金型業界から微細化や高精度化の高い要求が放電加工機に向けられた。
 特に微細化が強く叫ばれた代表的な分野は、狭ピッチ化が進み始めた通信ケーブル用コネクタの金型であった。尚、ピッチとは端子の間隔を言い、狭ピッチとは概ね0.4 mm以下がその範囲に入る。端子周りの形状が微細化することで、コネクタ樹脂部品の金型で、従来には無かった微細形状の加工が要求されるようになった。
 前述の光沢仕上回路は、この様な要求に全て応えられる技術ではなかった。形状が微細複雑になると、高い形状転写精度が要求されるため、狭い放電間隙が必要となる。さらに、金型から成形品をスムーズに離型*1させることも重要である。表面粗さがRz 1 μm以下の場合、面が平滑な鏡面よりも梨地面の方が、樹脂の張り付き力が小さいと評価されている。こうした背景から、狭い放電間隙で細かい梨地面を実現する微細仕上回路が開発された。また、目標となった指標は、i)成型後に部品を金型から離型し易くするため、面粗さRz 1 μm以下で放電痕の小さい梨地面を得ること、ⅱ)部品の角Rの小径化に対応し、金型形状のインコーナRを30 μm以下とすることであった。

*1 金型で樹脂やゴムを成形した後、成形部品を金型から取り外すことを離型と言い、その取り出し易さの度合いを離型性と言う。

 こうした要求に応えたのが、1997年にソディックが開発した微細仕上回路「SNⅢ」、2001年に三菱電機が開発した「NP回路」などであった。例として三菱電機の「NP回路」の概要を説明する。図6.29に「PS回路」の回路構成と電圧・電流波形を、図6.30に「NP回路」の回路構成と電圧・電流波形を示す。「NP回路」の開発目標となった微細な梨地面と狭い放電間隙を実現するには、ピーク値が低く、パルス幅が短い電流波形が必要だが、特にパルス幅は放電痕の大きさと相関が強いため、パルス幅を短くすることに開発の重点が置かれた。「NP回路」が「PS回路」と異なる点は、回路内のコンデンサを廃止し、機械構造体や給電ケーブルが持つ静電浮遊容量が回路の主たるキャパシタンスとなる点である。これにより、ピーク電流が低く、パルス幅が大幅に短い電流パルスを実現した。

図6.29 PS回路と電圧・電流波形

図6.29 PS回路と電圧・電流波形6.33)

図6.30 NP回路と電圧・電流波形

図6.30 NP回路と電圧・電流波形6.33)

図6.31は「NP回路」の加工事例で、面粗さRz(Ry) 0.8 μm、インコーナR 25 μmの結果を得て、当初の目標を達成した。
図6.31 NP回路による加工事例

図6.31 NP回路による加工事例6.34)


6.2.3 インコーナRの微細化

 2000年代は、コネクタの微細化がさらに進み、金型のインコーナRは20 μm以下が要求されるようになった。形状微細化の進展に対応する微細仕上回路として、ソディックは2003年に「SVC回路」、2004年に「SVC-PIKA」回路を開発、三菱電機は2004年に「NP2回路」、牧野フライス製作所は2006年に「SPG回路」を開発した。
 これら電源回路は、パルス幅を短くすることで面粗さを向上し、狭い放電間隙を実現したが、一方で、パルス幅が短いために電極消耗が多いと言う問題がある。
 インコーナRを微小化するためには、前段階の中仕上げで低消耗かつ放電間隙の狭い加工を行い、予めコーナRを小さくしておく必要がある。三菱電機の例では、中仕上げで用いる従来の方形波形の電源用に、開放電圧を低く設定しても安定に放電間隙の狭い加工が可能な「狭ギャップ回路」を開発してこれに対応した。
 最小Rの追求では他に、加工制御、軸送り位置決め制御、機械熱変位対策など裾野が広い技術の向上が必要である。特に複数の電極を用いて微小な放電間隙で加工を行うため、電極の位置決め精度に高い再現性が求められる。こうした観点でソディックは前述のリニアモータ駆動方式と軽量セラミック製ヘッドの採用で繰り返し位置決め精度の向上を図った。牧野フライス製作所は、前述の「Z軸スタビライザ」により熱変位を抑えてZ軸の位置決め精度の安定化を図った。
 インコーナRの微細化は、投資が盛んであった高価格機の販売市場からの要求であり、各社とも開発スピードを上げて対応した。2000年代の半ばには、各社とも市場の要求を上回る10 μm以内のインコーナRを達成し、カタログで謳う最小コーナRは5 μm前後に収束していった。
 図6.32は、インコーナR微細化のニーズを牽引したコネクタ型の代表的な部品形状の加工事例である。櫛歯(くしば)形状のインコーナをR 5 μmに仕上げている。

図6.32 コネクタ型の部品加工事例(コーナR 5 µm)

図6.32 コネクタ型の部品加工事例(コーナR 5 µm) 6.35)

6.2.4 高精度形彫放電加工機

 5章で、ワイヤ放電加工機の高精度機が1970年代の半ばに開発されたと述べた。一方の形彫放電加工機は、その誕生が1950年代に遡るが、高精度機の需要が少なく、シャルミー社(スイス)の高精度汎用形彫放電加工機*1「D-10」が、その少ない需要を賄っていた。
 高精度機の需要が低調であった背景には、形彫放電加工機は油を使うため、消防法による総油量の規制や定期的な立会検査が必要であること、或いは油臭が充満し易いなどの問題が、機械を恒温室内で稼働することの妨げになっていた。また、2次元形状の寸法測定は、ブロックゲージ、マイクロメータ、測長顕微鏡など精度の高い測定手段が多々あるが、3次元形状の測定は、高精度で実用的な手段が無い状況にあった。結果として、3次元形状の加工精度は、許容誤差を大きくして管理せざるを得ないのが実態であった。

*1 NC を搭載した工作機械をNC 工作機械と呼ぶのに対し、NC を搭載しない工作機械は汎用工作機械と呼ばれる。


(1)1980年代の高精度機

 1980年代に入ると、恒温室内で稼働するワイヤ放電加工機の実績が増え、従来は考えられなかった高精度な加工が可能であるとの認識が広まった。形彫放電加工機も恒温室に設置し、NC機能を活用した高精度な加工を求める声が徐々に増えて行った。この状況を受け、1980年代の半ばに高精度NC形彫放電加工機が誕生した。以下、代表的な高精度機を解説するが、高精度化の要素技術はワイヤ放電加工機と共通するものが多いので、各機種の特徴のみ簡潔に述べる。

 ①三菱電機 M30P(図6.33)

  1985年に発売された高精度NC形彫放電加工機の先駆けとなった機械である。ダブルアンカー方式の大径ボールねじ採用などの高精度化が図られたが、主眼は機械本体の熱変位の徹底した抑制であった。温度変化時の構造体熱変位の計測実験とNASTRANによる解析を組み合わせ、熱変位の影響を最小とする構造体の研究開発に約1年を費やした。また、外気を構造体内部に通風し、構造体の外表面と構造体内部の温度差を最小とし、かつ温度の変化率を極力等価とする方式とした6.36)。販売台数は多くなかったが、時計などの精密分野で実績を作った。

図6.33 M30P

図6.33 M30P 6.33)

 ②ソディックAP3R(図6.34)

  1986年に発売された超精密プラスチック型、半導体リードフレーム金型、紡糸ノズルなどに対応する高精度機である。作業テーブルに石定盤を採用し、静電浮遊容量の削減による電流パルスの微小化で、仕上面粗さを向上した。軸送り案内には摺動抵抗の小さい特殊クロスローラガイドを採用し、ロストモーションを削減するなど、位置決め精度を向上した。また、主軸(Z軸)に旋回および角度割出し機構を内蔵した点が大きな特徴で、旋回する電極による輪郭加工、ヘリカルギアの加工やロール刻印加工など、幅広い用途で高精度加工を実現した6.37)

図 6.34 AP3R

図 6.34 AP3R 6.37)

(2)2000年以降の高精度機

 1980年代に誕生した高精度機は、暫らくは幅広い分野に跨る精密加工の小規模な需要を満たしていた。1990年を過ぎた頃からは、“軽薄短小”な製品づくりが盛んになり、微細精密加工の需要が増え、また技術的な要求が高度化して行った。2000年以降に開発された高精度機は、特に微細精密加工の技術強化に重点が置かれた。以下、代表的な高精度機を解説する。

 ①牧野フライス製作所EDAC1(図6.35)

  2006年に発売された小型高精度機で、高い位置決め精度や繰り返し精度を安定的に達成するため、様々な熱対策が施された。熱源となる加工電源や加工液冷却装置は機械の背面に配置し、機械本体との間に断熱材を挟んで熱伝導を遮断した。機械構造体の鋳物は全てカバーで覆い、周囲の温度変化の影響を抑制した。Z軸ボールねじは軸芯に冷却液を通して恒温制御し、Z軸の熱変位を抑制した。また、ベッドおよび各軸の鋳物をオーバーハングのないキュービック構造として、極めて高い静的精度を実現した6.38)

図6.35 EDAC1

図6.35 EDAC16.38)

 ②三菱電機EA8PV ADVANCE(図6.36)

  2008年に発売されたXY軸移動量300 mm×250 mmの小形高精度機で、指定ベンチマークテストで加工精度±3 μmを保証した。一般的な温度環境で高精度加工を実現するため、機械本体の温度変化をリアルタイムに測定し構造体の熱変位を演算し、位置決め座標を補正する熱変位補正機能を搭載した。微細仕上回路NP2と石定盤採用により面粗さRz 0.4 μm(Ra 0.06)を実現し、さらに狭ギャップ回路により最小インコーナR 5 μmを達成した6.39)。狭ピッチコネクタを中心に微細精密金型分野で販売実績を積んだ。

図6.36 EA8PV ADVANCE

図6.36 EA8PV ADVANCE6.39)

 ③ソディックAP3L(図6.37)

  リニアモータ搭載のAPシリーズ後継機AP1Lを2002年に発売し、最小インコーナRの微細化等で好評を得た。その後、AP1Lと同等の高精度加工を軸移動量の大きな機械で実現したいとの要望に応えて2008年にAP3Lを発売した。開発の主眼は、高精度かつ高生産性の実現で、例えば複数の小物精密部品をテーブルに取付け、効率的で高精度な多数個の連続加工を可能とした。
 機械が大形化することに対応する高精度化として、構造体に門型構造を採用し、またヘッドを小型軽量に設計し、位置決め精度の向上を図った6.40)

図6.37 AP3L

図6.37 AP3L6.40)

 ④牧野フライス製作所EDAF3(図6.38)

  2010年に発売されたXY軸移動量を拡大(450 mm×350 mm)した高精度械である。当時需要の高まっていた半導体封止金型の離型性を向上させるため「フラワーパタンサーフェス」と言う特殊放電面を形成する技術を開発した。封止金型は一般に面粗さをRz 5 μmからRz 10 μmに仕上げ、放電面をそのまま成形に用いるが、Rz値を変えずに、Rsm値(粗さ曲線要素の平均長さ)を例えば34 μmから125 μmにすることを可能とした。その場合、樹脂の張り付き力は約35%低下し、成形工程での金型保守作業を軽減した6.42)

図6.38 EDAF3

図6.38 EDAF3 6.41)

6.3 グラファイト電極利用の加工技術

 形彫放電加工用の電極材料として、古くから銅や黄銅と並んでグラファイトが使われてきた。しかし、その後は銅の利用が主流となり現在に至っている。一方、米国は当初からグラファイトが盛んに使われ、欧州も銅からグラファイトへのシフトがかなり進んでいる。電極に銅を使った場合、加工速度は遅いが、面粗さが細かく、電極の消耗を抑えて高精度な加工が可能である。それに対しグラファイトは、加工速度は速いが、面粗さが粗く、一般的に電極消耗が多い。米国での放電加工機の用途は、航空・エネルギー関連の難削材部品の加工が多いため、加工精度より速度を重視する傾向がある。逆に日本では、加工用途の大半が金型であるため、加工精度を重視する傾向が強いと言える。しかし、日本に於いてもグラファイト電極の特徴を活かした加工技術の開発が継続して行われており、近年、新しい適用分野の開拓が進んでいる。また、世界的には電極材料に占めるグラファイトの割合が高いので、世界市場での販売を見据えるとグラファイト電極を利用した加工技術の開発は今後も重要な課題である。ここでは、形彫放電加工機に於いてグラファイト電極を利用した加工技術の変遷を解説する。


6.3.1 グラファイト電極の初期の加工技術

 グラファイト電極を用いた放電加工の特性は前述の通りだが、グラファイトの物性に於いて放電加工に有利となる点は次の通りである。①耐熱性に優れ*1、高い電流による高速加工が可能、②熱膨張係数が小さく*2、加工中の電極の寸法安定性が良い、③比重が銅より小さく*3電極を軽量化できる。また、グラファイトは被削性が良く、銅と比べて切削加工時間が1/5程度に短縮できる6.43)。これらの特長により、グラファイトは大形の電極に利用するのが適している。一方、面粗さを細かくすることや加工精度には限界があるため、それらを許容できる対象として鍛造型を中心にグラファイト電極が使われてきた。図6.39は、1960年代に実施された鍛造型の加工事例である。

*1  銅の融点1,085℃、黒鉛の昇華点は3,350℃かつ2,500℃付近までは強度が上がる。
*2  銅の熱膨張係数銅は16.8×10- 6/℃、黒鉛の熱膨張率は4 ~ 6×10- 6/℃
*3  銅の比重8.9 g/cm3、黒鉛のかさ密度1.8 g/cm3 前後

図6.39 グラファイト電極による鍛造型加工事例

図6.39 グラファイト電極による鍛造型加工事例6.44)


6.3.2 グラファイト電極による高速加工

 1980年頃は、グラファイト電極の利用は、鍛造型などに限られ、なかなか適用が広がらない状況であったが、グラファイト材料、切削加工機、切削工具メーカなどは、グラファイト電極の適用拡大を予測して、以下に述べる開発が進められた。


(1)グラファイト電極の技術開発

①グラファイト材料

  放電加工特性や電極の被削性が良いグラファイトが各社から商品化された。等方性黒鉛は東洋炭素が1974年に製造を開始、また1980年前後に各社から微粒構造の黒鉛が販売されるようになった6.45)

②グラファイト電極加工機

  牧野フライス製作所は1984年にグラファイト電極加工用マシニングセンタSNC86を開発6.46)、三菱重工も同様のマシニングセンタM-G40Aを1980年代に発売した。SNC86は乾式加工用の負圧防塵機能を備え、グラファイト普及の阻害要因であった周辺環境の汚染を解決。また、スピンドルエアスルーにより加工くずの排出を効率化して加工速度を向上した6.47)

③グラファイト加工用工具

  1980年代半ば、栄工舎、日立ツールなどがグラファイト電極加工用のエンドミルを市販した。何れもエアホール付き超硬刃で、切りくずの詰まりを防いで加工の高速化や工具寿命を向上した6.48)
 この様にグラファイト関連のメーカ各社の尽力により、材料技術、加工技術が格段に向上し、グラファイトが放電加工の電極として性能が良く利用し易い材料へと進化した。
 ちょうどその頃、1985年の円高不況が発端となり、金型業界は大幅な納期短縮やコスト削減が課される厳しい状況に陥った。従来の延長線上の改善では対処できないとの危機感から、形彫放電加工に於いてはグラファイト電極の利用で活路を見出そうとの機運が高まり、従来は実績が無かった大形のプラ型などへの適用が拡大して行った。こうしたニーズに対応し、グラファイト電極を活用した形彫放電加工機の高速化の開発がますます盛んになった。

 

(2)不燃性加工液形彫放電加工機

 グラファイト電極を活用した高速化の代表的な技術が不燃性加工液(水溶性加工液)を使用する形彫放電加工機であった。三菱電機は1982年に不燃性加工液放電加工機M55Wなど4機種を発売6.49)、ソディックは1986年に不燃性加工液放電加工機EDMill 6.50)、牧野フライス製作所は1980年代後半に高速加工用のSL装置を発売した6.51)。不燃性加工液とは加工速度を上げるために各社が独自に開発した水溶性加工液で、例えばソディックは水溶性ポリマーの原液QL-100 を商品化し、これに水を50%配合したものを標準加工液とした。こうした不燃性加工液を用い、電流容量の大きな電源とカップルすることで、油加工液に比べて加工除去量が2倍から3倍、最大で80 g/min程度の高速加工を実現した6.50)。一方、一般的な銅電極による油中の荒加工と比べると、加工除去量が10倍以上となり、大量の加工くず(スラッジ、チップ)が発生するため、それに見合ったスラッジのろ過装置が必要となった。図6.40は、三菱電機が開発したオートフィルタ式ろ過システムである。フィルタエレメントはペーパウェハを積層したもので、加工屑をウェハの外周部で捕捉し、定期的に逆洗を行って、加工屑をスラッジボックスに排出する構成となっている。図6.41は、牧野フライス製作所が開発したSL装置で、吸引ユニットが極間から加工液と加工屑を強力に吸引し、マグネットセパレータ方式のチップ自動排出装置が加工屑を分離して排出、回収する構成となっている。

図6.40 三菱電機 オートフィルタ

図6.40 三菱電機 オートフィルタ6.52)


図6.41 牧野フライス製作所 SL 装置

図6.41 牧野フライス製作所 SL 装置6.53)


 不燃性加工液は、金型加工の合理化の目的や火災の心配がない点が評価されて、自動車系の大形金型などを中心に導入された実績がある。しかし、大量に加工屑が発生するため、ろ過装置で捕捉されない加工屑が各所に沈殿するなど、メンテナンスの負担が大きいことが難点であった。また4章で解説した高速ミーリングが1990年代後半から急速に普及し、複雑、狭隘な形状を除いて、切削加工への置き換えが進み、次第に不燃性加工液放電加工機は姿を消すことになった。


6.3.3 グラファイト電極による小物精密加工

 前述の通り、グラファイト電極を利用した高速加工は、金型加工では下火となった。一方、2000年以降はグラファイト電極の微細・狭隘形状への適用が徐々に進んでいった。その起点となったのは、素材メーカが開発した超微粒グラファイトである。表6.1は例として東洋炭素の代表的材種を示す。A、Bが既存の材種、Cが2000年以降に開発された超微粒グラファイトで、炭素粒子を数μm程度に微粒化し、かつ粒径を均一に揃え、硬さ、電気抵抗率、曲げ強さは何れも従来の材種を上回る。銅の電極は、放電加工で面粗さが良く、電極消耗率が少ない反面、熱変形し易い欠点がある。例えば、厚さ0.5 mm程のリブ形状の電極を切削加工すると、切削熱による反りで形状精度が不良となる。また、放電加工に於いても、同様に加工熱による電極の歪が問題となる。グラファイトは小寸法な電極においても熱変形がないため、小物精密加工に適している。一方、既存のグラファイトは、電極消耗や面粗さで銅に劣っているが、超微粒グラファイトはそれらを大きく改善し(電極消耗率1%以下、仕上面粗さ数μm)、小物精密加工に適用できる加工性能を実現した。

表6.1 代表的な放電加工用グラファイト6.54)

表6.1 代表的な放電加工用グラファイト

 こうした新素材の誕生を受け、形彫放電加工機メーカ各社は、グラファイト電極を小物精密加工に適用するための開発に力を入れるようになった。


(1)ソディック「SGF電源」

 ソディックが2007年に発売した「SGF電源」は、超微粒グラファイトを用いて電極消耗率0.1%(荒加工時)を達成した6.55)。グラファイト電極はパルス幅を長くすることで消耗し難くなるが、一方でカーボンが円柱状の突起に成長し、加工を不安定にする問題がある。詳細は開示されていないが、SGF 電源は加工状態を観察し高速で放電加工中に波形制御を行い突起物の成長を抑えると説明されている。


(2)三菱電機「GF制御」

 三菱電機は2006年に「GF制御(グラファイトファジィ制御)」、翌年に機能更新した「GF2制御」を発売した。従来のファジィ制御にグラファイトに適した制御ロジックを追加し、新たに加工状態に応じて放電パルスと休止時間を制御する機能を開発し、加工の安定と電極の低消耗を実現した6.56)。図6.42はGF2制御による、幅0.2 mmの薄リブ形状の加工事例で、銅では熱変形により加工できない微細形状の電極を、微粒グラファイト材を使えば可能であることを示した事例である。尚、電極消耗率は最良0.04%(長さ消耗比)で、その後も各社が数値を競い合う状況が続いたが、業界全体のマイルストーンとしては、2000年代後半にグラファイト電極の消耗率が0.1%以下に達したと記しておく。

図6.42 幅0.2 mm薄リブ加工事例

図6.42 幅0.2 mm薄リブ加工事例6.57)


(3)三菱電機「IDPM」

 三菱電機は「GF2制御」を進化させた新たな適応制御である「IDPM」を2013年に発売した。圧粉体であるグラファイト電極は、加工中に一部が崩落して異常放電を発生させる問題がある。この異常放電の前駆現象を放電電圧の変化から判別し、瞬時に放電パルスを遮断する仕組みを開発した(図6.43)。異常放電を適切に判別し、回避制御を最小限かつ有効に行うことで、加工速度の向上と電極低消耗の両方を実現した6.58)
 グラファイト電極の適用は当初、大形形状の高速加工に向かったが、2000年を越えた頃から、新しいグラファイト材料の開発により小物精密加工への適用が拡大し始めた。今後とも、電極材料の開発は、放電加工の加工特性を向上するための要素技術として重要である。

図6.43 IDPMの制御概要

図6.43 IDPMの制御概要6.58)



6.4 自動化・省力化

 ここでは、電極や工作物を機械に着脱する技術を中心に、自動運転を実現するために開発された主要な自動化技術を解説する。


(1)汎用治具

 初期の形彫放電加工機では、加工ヘッドに設けられた図6.44などの電極ホルダを用いて電極の取り付けを手作業で行っていた。また、電極を取り付けた後、電極の傾きをダイアルゲージなどで測りながら、調整ねじで傾きを修正する作業なども必要であった。荒加工から仕上加工への移行の際など、電極を交換する場合は毎回、こうした作業に時間が費やされていた。また、工作物を取り付ける作業は、テーブルに直接、または治具を用いて固定するか、マグネットチャックを用いて、磁力で吸着固定する方法が一般的であった。

図6.44 着脱式電極ホルダ

図6.44 着脱式電極ホルダ6.59)

(2)電極自動交換装置(ATC)と治具システム

 3章で述べた通り、1970年代後半にマイコンやミニコンを内蔵したNC装置を搭載した放電加工機が誕生した。NC装置は軸送りの自動化以外に、様々な機能を実現したが、その中でも電極自動交換装置(以下「ATC」)は放電加工機の普及に於いて重要な役割を担うものであった。国産初のATCの記録は確認できなかったが、NC装置の搭載と同時に、ATCも搭載されていたものと考えられる。
 初期のATCの事例としては、1979年発売の三菱電機「DK-280」に搭載されたATC(図6.45)がある。DK-280の発売当初は、国内の治具メーカと提携した内製のATCを搭載したが、電極ホルダを把持するクランプ精度に課題を抱えていた。当時、放電加工用治具メーカ大手は海外に数社あり、その一社であるシステム3R社(現:GFマシニングソリューションズ)が1978年に日本法人を設立し、「ミニシステム」と呼ぶ治具システムの販売を開始した。この治具システムを活用したシステム3R社のATC装置「Robomatic」のクランプ精度が非常に高いことが分かり、早々に採用を決定した。ここで治具システムと呼ぶものは、幅広い用途に対応するために体系化された基準を共有する組合せ治具製品群のことで、図6.46に示したATC用の様々な電極ホルダのセットがその一例である。これら電極ホルダは、加工機のヘッドに設置された油圧クランプで把持される仕組みであるが、電極ホルダのシャンク外径に対し、圧力開放時のクランプ内径を僅か5 μmのクリアランスとしたことが、クランプ精度が高い理由である。高精度なクランプを実現するATC装置「Robotics」は、1980年代の代表的なATCであった。

図6.45 ATC(System 3R 社製)

図6.45 ATC(System 3R 社製)6.60)


図6.46 ATC 用治具システム

図6.46 ATC 用治具システム6.61)


(3)治具システムの進化

 1988年、放電加工用治具メーカ大手のエロワ社(EROWA AG.)が日本法人を設立し、治具システム「ITSシステム」(図6.47)の販売を開始した。その2年後に、システム3R社が新製品「マクロシステム」(図6.48)を発売した。
 両製品は何れも以下の特長があり、自動化の進展に重要な役割を果たすことになった。
 ①高精度クランプ
 繰り返しクランプ精度が数μm以内で、高精度な金型加工への適用を拡大
 ②高剛性構造   
 最大取付重量が数10 kgに拡大し、大型電極だけではなく、工作物にも適用を拡大
 ③電極ホルダ搬入経路の精度緩和
 ④許容値が大きい電極ホルダ搬入位置決め精度
 電極ホルダをクランプに着脱する際の搬入位置決め精度は、旧製品では高い精度が必要とされた。新しい製品群はこれを大幅に緩和し、通常の多関節ロボットの位置決め精度でも着脱が可能になった。

図6.47 エロワ ITS

図6.47 エロワ ITS 6.62)

図6.48 システム3R マクロ

図6.48 システム3R マクロ6.63)


 以上の通り、高精度な治具システムが適用範囲を大型電極や工作物に拡大したことに価値があるが、最も有益であったのは、ロボットを利用した自由度の高いシステムを構築できる様になった点であると考える。以後、これら治具システムを利用した様々な自動交換システムが誕生することになった。


(4)ワーク自動交換装置

 放電加工に於いて、ワーク(工作物)の自動交換を行うには、オートパレットチェンジャー(以下「APC」)かオートワークチェンジャー(以下「AWC」)による方法がある。APCは、複数のパレットを用意し、機械の外でパレットに工作物の取り付けを済ませ、パレットを加工テーブルの上に自動搬送し、順番にパレットを交換しながら加工を進める方法である。マシニングセンタなどで実績が多い方法で、1枚のパレットに多数の工作物を搭載し、一度のパレット交換で多数の工作物を連続して加工することが可能である。放電加工機とAPCの組み合わせは、1980年代に特定ユーザ向けや展示会でのデモンストレーション用に特殊仕様機の実例があった。一般向けに仕様を標準化してカタログ販売となった製品は、調査の範囲では1992年に牧野スライス製作所が発売したPM10(図6.49)が最初の製品であった。写真の機械本体左側がPM10で、計10個のパレットを備え、複数の工作物を順番に自動で加工することができる。この装置は、パレットの形態になっているが、パレットが小型のため、工作物1個の交換に適用される場合が多いと考えられ、AWCに近いものと言える。

図6.49 牧野フライス製作所 EDGE1+PM10

図6.49 牧野フライス製作所 EDGE1+PM10 6.64)

(5)自動運転システム

 電極や工作物の自動交換が可能となった後、次に目標となったのは信頼性と柔軟性を備え稼働率を大幅に向上する完成度の高い自動運転システムであった。図6.50は三菱電機が1996年に開発したED-CELLシステムの構成図で、図6.51はシステムの外観写真である。

図6.50 ED-CELL システム構成図

図6.50 ED-CELL システム構成図6.65)


図6.51 ED-CELLシステム外観

図6.51 ED-CELLシステム外観6.66)


 ハードウェアの構成は、形彫放電加工機、ATC、AWCの他に、電極や工作物の治具基準の偏位量(芯ずれ量)を測定するメジャリングセンター(三次元測定機)、電極や工作物を個別認識するためのIDタグ、IDタグを非接触で読み取るIDリーダー、システム全体を制御するセルコントローラ(ED-CELL)で構成される。
 このシステムの主な特徴は次の通りである。
 電極や工作物の芯ずれ量を機械の外で予め計測し(外段取り)、ED-CELLにデータを格納し、運転時には自動的に芯ずれ量に基づき電極座標を補正し加工する。電極や工作物を機械に取り付けてから芯ずれ量を測定する内段取りを廃止し、アイドル時間を削減し、稼働率を大幅に向上できる。
 IDタグと読取装置で、電極や工作物のID番号を管理するため、芯ずれ量データとの紐づけができる。また、加工の際に誤った電極や工作物の使用を防止できる。例えば、作業者が電極をATCにセットする際、ストッカの順番に依らず、空いているストッカにセットすれば、システムが電極を正しく認識し、ミスの無い信頼性の高いオペレーションが可能となる。このED-CELLシステムは外段取りの自動運転システムの原型となったもので、現在の自動運転システムに必要な主要技術を網羅している。


(6)ATC、AWCハイブリッド装置

 ATCの電極本数は通常10本前後のものが多く、最大で48本程度が限界である。しかし、コネクタ、自動車用ECUなどの複雑なプラスチック金型の加工では、100本以上の電極を必要とすることがあり、その場合は機械と別置きのATCが利用されている。別置きATCは前述の海外メーカ製のシェアが高く、国内の放電加工機メーカのシステムにも多く組み込まれている。しかし、海外製品は設置スペースが大きいなど、日本のニーズに合わない点もある。国産の別置きATCの事例として、三菱電機が2013年に発売した装置を図6.52に示す。

図6.52 三菱電機 EDCHAGE SLIM

図6.52 三菱電機 EDCHAGE SLIM6.67)


 この装置は、日本の狭い現場環境を考慮し、設置面積の最小化を図った設計になっているが、加えてATCとAWCのハイブリットとしてコンパクト化を追求した装置である。図6.52の標準仕様は、電極84本、工作物(パレット)12個であるが、マガジンを追加した図6.53の拡張仕様では、電極150本、工作物22個を搭載できる。
図6.53 EDCHAGE SLIM 拡張仕様

図6.53 EDCHAGE SLIM 拡張仕様6.67)


 これまで解説してきた自動化の技術や装置は、カタログ販売となったものを対象としたが、カスタム仕様のシステムには様々な事例がある。例えば自走式ロボットにより、複数の加工機に対応した自動交換システムも実現している。今後は、投資効果をさらに向上する自動化システムが期待されるが、コスト削減はもとより、ICTを駆使したスマート化など、製造システム全体の効率化につながる開発が必須である。


参考・引用文献

6.1)H. E. De Bruyn: “Slope Control; A Great Improvement in Spark Erosion”, Annals CIRP, 16, pp.183-191, (1968)
6.2)小林和彦, 大泉敏郎:電流波形制御 (特殊電流波形) による加工特性, 電気加工学会誌, 8(16), pp.20-33, (1975)
6.3)三菱電機, カタログ Kシリーズ技術編 W-C7619-C, (1986)
6.4)三菱電機, カタログ Mシリーズ技術編W-C7150-A, (1982)
6.5)田中俊明, 加藤幸夫, 松田久和, 西川守久, 七沢貞文: NC型彫り放電加工機の最新技術, 三菱電機技報, 61(6), pp.440-447, (1987)
6.6)ソディック提供
6.7)原田武則:ソディックにおける放電加工の技術開発 電気加工学会誌, 51(126), p.46, (2017)
6.8)金子雄二, 山田久典, 豊永竜生, 正田和男:リニアモータを使った放電加工性能, 電気加工学会誌, 33(74), pp.32-41, (1999)
6.9)鈴木政治:短納期・原価低減をさらに進める高速リブ加工, 型技術, 14(3), pp.53-57, (1999)
6.10)牧野フライス製作所, カタログ EDNCシリーズ「リブヘッド」H-216, (1999)
6.11)三菱電機, カタログ 形彫放電加工機 K-174-6-C0011-D, (2007)
6.12)毛呂俊夫:ハイテクニーズに応える放電加工 第12回超高速サーボ機構搭載の超精密形彫放電加工機の開発(その1), 機械技術, 49(8), pp.102-108, (2001)
6.13)阿久根光明, 川口恒男, 杉山和永:超高精度形彫放電加工機MA2000について, 電気加工学会誌, 36(83), pp.46-49, (2002)
6.14)三菱電機, ニュースリリース EA8PS発売のお知らせ FA No.1514, (2015/10/16)
6.15)中川孝幸, 阿久根光明, 神谷聖人, 三平満司, 平田敦:ジャンプ動作制御による形彫放電加工の安定化, 精密工学会誌, 81(10), pp.963-968, (2015)
6.16)牧野フライス製作, カタログ EDGE2 EDGE3 H-254 0604, (2006)
6.17)佐藤康仁:形彫放電加工機の最新技術, 型技術, 30(7), pp.90-91, (2015)
6.18)牧野フライス製作所, カタログ EDAC1 H256a 0708/3, (2007)
6.19)著者作成
6.20)中村和司, 尾崎好雄, 佐々木史郎, 森田温:ファジィ制御放電加工機, 三菱電機技報, 66(3), pp.307-310, (1992)
6.21)三菱電機, カタログ Kシリーズ技術編W-C7619-C, (1986)
6.22)牧野フライス製作所, カタログ 新MGC電源 H-134 8607 , (1986)
6.23)ソディック, カタログ AQシリーズ AQ series Tech J2002,09.2000.06SP
6.24)三菱電機, カタログ VXシリーズ L(名)74113106-G, (1996)
6.25)三菱電機, カタログ EAシリーズ W-K02-9-C4426-A, (1999)
6.26)三菱電機, カタログ EA-V Advance Series K-174-6-C0011-H, (2008)
6.27)三菱電機, カタログ EP120M L(N) -7205001-A, (1972)
6.28)高橋義博, 伊東哲郎, 大泉敏郎, 中山建夫:揺動運動をもつNC放電加工機, 三菱電機技報, 55(2) , pp.107-111, (1981)
6.29)毛利尚武, 齋藤長男, 成宮久喜, 河津秀俊:粉末混入加工液による放電仕上加工, 電気加工学会, 25(49), pp.47-60, (1991)
6.30)三菱電機, カタログ 三菱NC放電加工機 NシリーズW-C6773-A, (1980)
6.31)三菱電機, カタログ 三菱形彫放電加工機 FPⅡ新加工電源 W-K02-8-C3883-A, (1998)
6.32)湯澤隆, 真柄卓司, 小川元, 冨士川和延, 後藤昭弘:形彫放電加工による高品位仕上加工, 型技術, 13(13), pp.62-63, (1998)
6.33)三菱電機提供
6.34)三菱電機, カタログ VAシリーズW-K02-1-B5425-B, (2001)
6.35)牧野フライス製作所, カタログ EDAC1 H-256a 0708/3, (2007)
6.36)真柄卓司, 荒槇淳, 福永時雄:超高精度NC放電加工機M30Pについて, 電気加工技術, 5(25), (1985)
6.37)ソディック, カタログ NC放電加工機MP・88・09・5000・8SP, (1985)
6.38)牧野フライス製作所, カタログ EDAC1_ H297a, (2011)
6.39)三菱電機, カタログ 形彫放電加工機 K-174-6-C0011-H, (2008)
6.40)ソディック, カタログ AP3L S1023700.AP3L, (2008) 
6.41)牧野フライス製作所, カタログ EDAF H296 1801/2(SJ-M)
6.42)牧野フライス製作所, Web機能紹介 https://info.makino.co.jp/intermold2021/products/ednc22/videos/video08.html, (2022/12/6閲覧)
6.43)平松萬彦, 葉石雄一郎:グラファイト電極の特性とプラスチック金型加工, 型技術, 7(13), pp.18-24 , (1992)
6.44)三菱電機, カタログ「放電加工の応用例」, C-20369-B, (1969)
6.45)東海カーボン,イビデン, 東洋炭素 :グラファイト電極材総覧, 型技術, 4(11), pp.71-73 , (1989)
6.46)日経産業新聞, 1984/10/29 (9)
6.47)鈴木信悟, 北島博之:高精度・高速加工機によるグラファイト電極製作のポイント, 型技術, 4(11), pp.25-29, (1989)
6.48)日立ツール, 栄工舎 :グラファイト電極加工専用ツール, 型技術, 4(11), pp.40-44 , (1989)
6.49)日経産業新聞, 1982/10/20 (8)
6.50)三水篁:超高速不燃性放電加工機EDMill, 型技術, 3(7), pp.112-113, (1988)
6.51)栗原治弥:牧野フライス製作所EDM開発の歴史 EDM開発の歴史, 電気加工学会誌, 51(126), p.37, (2017)
6.52)大泉敏郎:グラファイト電極のメリットを活かす放電加工機, 型技術, 7(13), pp.53-58, (1992)
6.53)牧野フライス製作所, カタログ SL装置 H114a 8801, (1988)
6.54)東洋炭素Web情報(https://www.toyotanso.co.jp/Products/Special_graphite/data.html)を参考に著者作成
6.55)佐野定男:グラファイト電極による極低消耗放電加工, 電気加工学会誌, 42(100), pp. 81-84, (2008)
6.56)岩崎健史, 佐々木史朗:形彫放電加工機「EA Advanceシリーズ」-グラファイト・イノベーション-, 機械技術, 56(10), pp.40-44, (2008)
6.57)三菱電機, カタログ K-174-C0011-H, (2008)
6.58)彦坂博紀, 鵜飼佳和, 森田一成, 尾畑朋孝:第25回型技術協会技術賞受賞講演「適応制御IDPMの開発と金型加工への応用」, (2015)
6.59)三菱電機, カタログ 特別付属品W-C6227-B 名-7910
6.60)三菱電機, カタログ N SeriesW-C6917-A NA-8110
6.61)三菱電機, カタログ YD500NW-C6944-A 名-8110
6.62)エロワ社Web https://www.erowa.co.jp/product/category_outline/its_chuck.html, (2022/10/05閲覧 引用)
6.63)GFMS社Web https://www.gfms.com/ja-jp/solutions/system3r/tooling/edming.html, (2022/10/05閲覧 引用)
6.64)牧野フライス製作所, 「S-EDMの変遷」, p.13
6.65)辛嶋利春、杉山和永、森下宏昭, 木谷基, 志田伸一:レーザと放電加工機及びレーザ加工機のシステム化. 三菱電機技報, 71(4) , p.55, (1997)
6.66)三菱電機, カタログ L(名)74113127-A, (1996)
6.67)三菱電機, カタログ EDCHANGE SLIMHAA001-B010A,(2013)

Contentsに戻る


 7 特殊な放電加工機

 本章では、特殊な用途に対応した放電加工機をいくつか解説する。今まで述べてきたように、放電加工機は金型を中心に利用されているが、部品加工の分野でも様々な用途に適用されている。著者の推定では、日本における放電加工機の用途は7,8割が金型であるが、米国では部品加工への適用が金型より多く、特に航空宇宙分野、医療機器分野等への適用が目立っている。今後の放電加工機の用途拡大では、そうした高付加価値な部品加工に期待がある。本章では、放電加工機の今後の発展への可能性を示す観点で、高付加価値な部品に適用する特殊な放電加工機をいくつか解説する。


7.1 放電表面処理

 通常の放電加工は金属の除去を目的とするが、微小な放電エネルギーにより電極材料を被処理材の表面に堆積し機能被膜を形成する技術が開発されている。この技術は、豊田工業大学による研究成果7.1)を基に、三菱電機が科学技術振興事業団(現独立行政法人・科学技術振興機構)の委託研究として開発したものである7.2)。  三菱電機はこの技術を放電表面処理EDC(Electric Discharge Coating)と名付けて1998年から販売し、主にTi系、Si系材料の機能被膜の市場開拓に注力した。
 その後、2003年に株式会社IHIと共同開発契約を結び、Co系材料の厚膜の被膜形成技術を開発した。この放電表面処理の新しい技術はMSCoating(Micro Spark Coating)の商標で、共同で販売することになった。本報告では、ジェットエンジン部品の補修に実用化されているMSCoatingを中心に解説する。

(1)加工原理と被膜の特徴

 MSCoatingの概要を図7.1に示す。被膜材料となる電極と被処理材の距離を数10 μm程度にサーボ制御し、両者の間に放電を毎秒数千~1万回程度発生させる。放電のエネルギーで溶けた電極材料は、被処理材の溶けた部分に移行し、凝固して被膜が形成される。微小な放電の繰り返しを加工液中で行うため熱の蓄積がなく、局部的には材料が溶融する温度になるが、被処理材全体は常温のままで処理が進行する7.3)
被膜形成の原理は図7.2のように考えられている。MSCoatingの電極は、粉末を原料とする圧粉体で造られており、通常の放電加工で使われる金属電極と異なり、熱伝導率が非常に小さくなっている。そのため、放電アーク柱から電極に伝わる熱は、アーク柱近傍の電極部分に集中し温度が早く上昇し、溶融が促進される仕組みとなっている。溶融した電極材料は、加工液の気化爆発力と電流から生じる電磁力により、被処理材側に移動する。

図7.1 MSCoatingの成膜プロセス

図7.1 MSCoatingの成膜プロセス7.3)

図7.2 MSCoating成膜の原理

図7.2 MSCoating成膜の原理7.4)


(2)ジェットエンジン部品の補修

 MSCoatingのジェットエンジン部品の補修への適応性は以下の通りである。

 ①熱影響が少ない
 適用対象とされたジェットエンジンの低圧タービン動翼の補修は溶接肉盛りで行うのが主流である。図7.3は溶接肉盛りとMSCoatingのサンプルを比較した写真であるが、MSCoatingは入熱が少ないため歪がなく、表面の酸化もほとんど見られない。

溶接肉盛り

MS C oating

電極:Co 合金  基材:Ni 合金  膜厚:0.8mm
図7.3 溶接肉盛りとMSCoatingの比較7.5)

 ②密着性が高い
 図7.4はMSCoatingでNi基合金の基材にCo系材料の被膜を形成し、界面付近を線分析した結果である。溶射やメッキの様に界面がはっきりとした成分境界とならず、電極材料のCoと基材のNiが10 μm程度の傾斜層を持つ組織となっており、電極材料が基材に溶け込んでいることが確認できる。
 他にもエンジン部品の補修工法として要求される高温耐摩耗性、疲労強度などの様々な評価試験で優位性が認められ7.6)、2007年にFAA(米国連邦航空局)の認証を取得して小型旅客機用のGE製ジェットエンジン「CF34」に採用、2016年にはGE製「GE90」にも採用された7.7) 7.8)

図7.4 界面付近の線分析

図7.4 界面付近の線分析7.5)

 MSCoatingの施工箇所(図7.5)は、低圧タービンブレード(動翼)のインターロック部である。隣り合うブレード同士は固着されておらず、エンジンが回転中はインターロック部が擦れ合うため、非常に摩耗し易い箇所となる。
これまでは、図7.6の様に溶接肉盛りで補修されていた。溶接肉盛りは余肉を付けて行われ、後工程で余肉を落とす工程が必要であるが、MSCoatingは施工が必要な領域に厚みを制御して成膜できるため、後工程を省くことができる。また、溶接による入熱でブレードが熱変形した場合、作業者が手作業で熱歪を修正していたが、歪が出ないMSCoatingはこうした作業を不要とした。
ジェットエンジンの製造や補修の新技術は、工法として認証を受けるハードルが高く、また、工法が確立している工程を新技術へ置き換えることに対し慎重である。MSCoatingはまだ、実績が多い既定の技術として広まっていないが、技術的な優位性があるので、今後の展開に期待がある。

図7.5 低圧タービンブレードの施工箇所7.5)


図7.6 溶接とMSCoatingの比較7.5)


7.2 特殊細穴放電加工機

 細穴放電加工機とは、穴の加工に特化した放電加工機で、価格が数百万円程の安価な製品が多い。一般的には、ワイヤ放電加工用の加工開始穴や精度要求の低い単純な穴あけ加工に用いられている。本報告書ではこれら一般の細穴放電加工機は調査対象外としたが、ここでは、高付加価値な加工に対応する特殊な細穴放電加工機を解説する。
 牧野フライス製作所は2012年、発電用ガスタービンやジェットエンジンタービンの穴あけ専用の細穴加工機EDBV3を発売、続いて2018年にジェットエンジンタービン専用の細穴放電加工機を発売した(図7.7)。
図7.7 タービン冷却穴用細穴加工機BX3

図7.7 タービン冷却穴用細穴加工機BX3 7.9)


 発電用ガスタービンやジェットエンジンタービンは、高温燃焼ガスのエネルギーを動力や推力に変換する熱機関である。何れも、燃焼温度を上げるとエネルギー変換効率が向上するので、タービンの開発で重要な課題が高温燃焼化である。しかし、その実現には同時に、前段の高圧タービンの耐熱性や冷却効率の向上が必要であり、耐熱性ではニッケル基合金の採用や、遮熱コーティングの開発などが行われてきた。また、冷却に関しては、図7.8に示すいくつかの空冷技術が開発され、その中でフィルム冷却が最も効率の良い方式となっている。図7.9はフィルム冷却方式のタービン構造で、タービン内部の空気は冷却穴から噴射され、冷却空気層を形成してタービン翼面を保護することができる。この冷却穴は、表面に向けて漏斗状に広がる異形状な穴となっており、難削材かつ傾斜面があることで、切削では加工が困難なため、放電加工の独壇場となっている。
図7.8 代表的なタービン翼冷却構造

図7.8 代表的なタービン翼冷却構造7.10)


 ジェットエンジンタービンの冷却穴の加工は、欧米のエンジンメーカや協業先で行われているが、ハイテクのイメージに反し、労働集約型の工程も多い。牧野フライス製作所のBX3は、こうした生産形態を改革し、自動化、省人化を推進する仕様となっている。
 図7.10は、工作物と加工ヘッド周囲の写真である。機械の主な特長を以下に挙げる7.9)

①回転、チルト2軸テーブル搭載:あらゆる方向の冷却穴に合わせて、加工物を自動でアライメント可能。

②水加工液:加工速度を優先して水を採用。同社の調べでは、油加工液より4倍速度が速い。(消耗は多い)

③電極長最大700 mm:一般的な電極長の約2倍。電極消耗により電極が短くなるまでの余裕を確保し、連続運転可能な加工穴数を増大。

④回転振れ防止フィンガ:電極を回転させながら加工する際、電極の振れを抑えるフィンガを5個搭載。加工中の電極の長さに応じて、自動的に保持、リリースを行う。

⑤貫通検知機能:穴が貫通後、即座に次の加工に移行。対向壁への不要な加工防止。

 尚、電力用ガスタービンに関する詳細は「産業用大型ガスタービンの技術の系統化調査」(第13集 2009)を参照願いたい。

図7.9 タービン翼の冷却構造例 空気冷却方式(GE 型-FA 型の例)

図7.9 タービン翼の冷却構造例7.11)
空気冷却方式(GE 型-FA 型の例)


図7.10 BX3の工作物と加工ヘッド周囲

図7.10 BX3の工作物と加工ヘッド周囲7.9)


7.3 マルチワイヤ放電スライス加工機

 マルチワイヤ放電スライス加工機の考案は、ジャパックスが1977年に出願した特開昭54-20485 に遡る(図7.11)。この特許は、特定のニーズを想定したものではなく、技術シーズの権利化であったと思われる。その後、この特許が製品化に結び付かず、具体的な用途が開拓されないままとなっていた。
図7.11 マルチワイヤ放電の考案

図7.11 マルチワイヤ放電の考案7.12)


 2006年(平成18年)、岡山大学と並んで7.13)、三菱電機はNEDOから超薄型多結晶シリコン太陽電池の研究開発として、多結晶シリコンの放電スライス加工技術の開発を受託した7.14)。当時は太陽電池の世界シェアで日系企業が約50%を占めていた時代である。NEDOの研究では所期の目標を達成したが、多結晶シリコンは比較的柔らかい材料であるため、ダイヤモンド砥粒を用いるワイヤーソーの生産性に敵わず、太陽電池向けに製品化するには至らなかった。そして、次のターゲットとして浮上したのが、次世代パワー半導体の材料として注目され始めた化合物半導体材料の単結晶SiC(炭化ケイ素)や単結晶GaN(窒化ガリウム)であった。両者の特性にはやや違いがあるが、何れもパワー半導体に用いた場合、従来のシリコンに比べ「高耐圧」、「低オン抵抗」、「高速」である点が圧倒的に優れている。一方、気相成長または液相成長で結晶を造る際に、欠陥や歪みを抑えて大きな結晶とすることが難しい。また、結晶のスライス加工工程に従来のワイヤーソーを用いた場合、シリコンと比べて高硬度な脆性材料であるため7.15)、生産性、カーフロス、砥粒ワイヤのコストなど、加工費を大幅に押し上げる要因が多々ある。現在に於いても結晶成長技術や加工技術の向上によるウエハ製造コストの削減が、化合物半導体普及の最大の鍵と言われている。
 三菱電機は、マルチワイヤ放電スライス加工機が化合物半導体材料に於いて優位性を発揮できると考え研究開発を続け、2013年に研究成果を広報した7.16)。その後、エンドユーザでの量産検証を経て、2019年にマルチワイヤ放電スライス加工機DS1000(図7.12)の発売に至った。
図7.12 マルチワイヤ放電スライス加工機

図7.12 マルチワイヤ放電スライス加工機


 図7.13はマルチワイヤ放電スライス加工機の構成である。1本のワイヤ電極は、スプールから供給され4つのローラの外側を旋回した後、巻取り装置で回収される。この旋回回数が、放電加工に供されるワイヤ電極の並列本数となる。ワイヤ電極は放電加工の特性や低コスト化を考慮した特殊材料のφ0.1 mm電線を用いる。加工電源は並列したワイヤ電極の1本ずつに、個々に加工パルスを供給するマルチ加工電源方式としている。即ち、並列本数と同じ台数の電源とフィーダ線を備え、個々のワイヤに独立して放電パルスを供給する仕組みとしている。通常の放電加工機と同様に1台の加工電源から複数の電極に給電した場合、放電現象を複数の電極で同時に発生させることはできないが、独立した電源を備えることで同時放電を可能とした。マルチ加工電源方式は、電極本数が増えても加工速度が低下しない仕組みであり、この点が過去の考案には無かった大きな特徴となっている7.18) 7.19)
図7.13 機械の構成概要 DS1000

図7.13 機械の構成概要7.18)
DS1000 7.17)


 ここで重要な点を述べると、放電加工が可能な材料の電気抵抗率は1Ω・cm付近が閾値となるが、SiCやGaNなどの化合物半導体材料の電気抵抗率は概ね10-2 Ω・cm前後であるため(図7.14)、例外はあるが殆どの材料が加工可能である。
図7.14 放電加工の適用領域

図7.14 放電加工の適用領域7.17)


 図7.15は、4インチ単結晶SiCインゴットをスライス加工した事例である。ワイヤ電極を600 μm間隔で10本を並列で加工し、平均板厚が428 μmのウエハ(アズスライス)が得られた。この後、研磨工程などの後工程を経て、デバイス用のウエハ製品が完成する。ウエハ製品の厚みは、デバイスメーカ毎に異なるが、将来はこれを薄化することで、部材のコスト削減やデバイスの冷却効率向上が期待できる。放電加工は、加工荷重が極めて小さい加工法であるので、脆性材料である化合物半導体材料を薄く加工しても割れ難く、今後さらにウエハを薄化できる余地がある。
図7.15 4インチ単結晶SiC 加工事例

図7.15 4インチ単結晶SiC 加工事例7.17)


 本報告書を執筆している現在、本機は一部のユーザで稼働が始まった段階であるが、今後、結晶の大径化、長尺化(厚み増大)への対応と加工性能向上により、本格的な普及を目指している。


参考・引用文献

5.1)三菱電機, カタログ Fシリーズ W-C7146-A, (1982)
7.1)毛利尚武, 齋藤長男, 恒川好樹, 宮川昭彦:放電加工による表面処理, 精密工学会誌, 59(4), pp.625-630, (1993)
7.2)後藤昭弘:放電加工で表面処理, NIKKEI MECHANICAL no.552, p.106, (2009)
7.3)岡根正裕, 後藤昭弘, 寺本浩行, 中村和司:航空機エンジン部品対応MSCoatingの開発, 三菱電機技報, 82(3), pp.49-52, (2008)
7.4)三菱電機, ASTEC先端表面技術展プレゼン資料, (2012)
7.5)三菱電機, MSCoatingカタログ, (2012)
7.6)落合宏行, 渡辺光敏, 荒井幹也, 吉澤廣喜, 齋藤吉之:放電を利用した革新的なコーティングおよび肉盛技術MSCoatingの開発, 石川島播磨技報, 45(2), pp.73-79, (2005)
7.7)日刊工業新聞, 2008/4/24 朝刊
7.8)㈱IHI , プレスリリース, (2016/4/21)
7.9)堀内貞則:放電加工による航空機部品の製作, 電気加工学会講習会「放電加工の基礎と応用」資料, (2020/12/2)
7.10)日本ガスタービン学会編, ガスタービン工学, 図3.2.6 代表的なタービン翼冷却構造, p.96, (2017)
7.11)火力原子力発電技術協会編, 火力原子力発電必携(第7版), ①空気冷却方式(GE型-FA型の例), p.391, (H19.3)
7.12)特開昭54-20485
7.13)岡山大学, 平成18年度 平成19年度成果報告書 NEDO太陽光発電システム未来技術研究開発, 次世代超薄型多結晶シリコン太陽電池の研究開発(放電加工スライス), 06990701-0
7.14)三菱電機, 平成18年度~平成21年度成果報告書 NEDO太陽光発電システム未来技術研究開発 未来型超薄型多結晶シリコン太陽電池の研究開発, 06990698-0
7.15)島田昌彦, 小泉光恵:セラミックスの力学的性質, 材料, 32(355), pp.451-457, (1983)
7.16)三菱電機, ニュースリリース, SiC用のマルチワイヤ放電スライス技術を開発, (2013/2/6)
7.17)三菱電機, カタログ マルチワイヤ放電スライス加工機DS1000 K-K02-8-CA300-A, (2019)
7.18)糸数篤, 橋本隆, 福島和彦, 湯澤隆, 佐藤達志:シリコンカーバイドのマルチワイヤ放電加工について, 精密工学会学術講演会講演論文集, pp.391-392, (2012)
7.19)糸数篤, 三宅英孝, 橋本隆, 福島一彦, 湯澤隆:シリコンカーバイドのマルチワイヤ放電加工(第2報), 精密工学会学術講演会講演論文集, pp.507-508, (2013)

Contentsに戻る

 8 おわりに

まとめ

 工作機械や半導体製造装置など、日本の製造装置産業は、現在も高い国際競争力を維持している。工作機械全体では、国別の生産シェアは、日本が2009年まで20年以上トップの座にあった。中国の急成長により、現在はドイツとの2位争いに転じているが、中級機以上の製品では、依然、高い競争力を維持している。
 放電加工機に関しては、正確な統計は無いが、本社所在国別の売上高で、日本が世界シェアの過半を占めているのは間違いないであろう。何故、放電加工機の国際競争力が高いのか、そして、将来の展望は如何にと言う点で、著者の個人的見解を少し述べたい。
 著者は放電加工機業界に長らく身を置き、その間、他の工作機械メーカと交流する機会にも恵まれた。その経験から認識を深めたのは、一般の工作機械は、工具メーカに加工技術を依存する部分が大きいのに対し、放電加工機では工具に相当するものが電源や様々な適応制御であり、放電加工機メーカは加工技術をほぼ完全に掌中で開発している点である。これら電源や制御技術には、デジタルの論理だけではなく、時間と労力をかけた試行錯誤から得られたノウハウも相当に蓄積されており、こうしたブラックボックス化されたノウハウが、新規参入を容易には許さない強みになっていると考える。また長年の海外勤務の経験から感じたことであるが、日本の技術者は、現場や顧客へ自ら出向いて、様々な開発課題を抽出し、解決策を迅速に製品へ反映する活動に長けており、そうした開発の姿勢が放電加工機の技術構築では非常に好ましい形で成果を生み出したと考える。今後も、この強みを失わず、世界中の顧客と向き合うことができれば、競争力は維持できると考える。
 一方、放電加工機の業界規模は、国内の工作機械業界全体で、台数シェアが3.8%、金額シェアが3.3%であり、ニッチな業界となっている。規模の面では、金型産業向けは横ばいを予想するが、7章で解説した事例の様に、新分野への普及については夢を描くことができると考えている。放電加工機に関る若い世代の技術者には、ニッチメジャーを目指し、また、新しい適用分野に積極的に挑戦して欲しいと考える。

あとがき

本報告書で述べた内容は、放電加工機の業界関係者から、重要な技術の調査が漏れているとの指摘を受けるであろうと覚悟している。放電加工機の技術は、機械、電気、制御(H/W,S/W)、加工技術など広い分野に跨っており、執筆者のバックグラウンドにより、報告内容が大きく変わるものと考える。また、今回の調査、執筆の方針は、様々なマイルストーン技術を網羅的に調査し、緻密に体系化して記録する作業は、私の力では短期間に成し得ないと判断し、比較的大きなマイルストーン技術に絞って調査することにした。その一方、一般の方が理解いただける様に、個々のマイルストーン技術はできるだけ詳しく解説するよう心掛けた。私の力の無さが程良いフィルタとなり、後世に残す記録として相応しいものにならないかと、不遜なことを申し上げて、結びといたします。

謝辞

調査、執筆にあたり、多くの方々から資料や情報、専門的知見、歴史に埋もれた情報などをいただいた。放電加工の原理に関しては、東京大学の國枝正典教授、東京農工大学の夏恒教授に懇切丁寧なご指導をいただき、感謝いたします。また、工作機械の統計に関しては日本工作機械工業会から詳細データをいただき、感謝いたします。放電加工機を利用する以下の企業各社からは、貴重な写真や利用技術に関する知見をいただき、感謝いたします。

 株式会社アタイス
株式会社岐阜多田精機
黒田精工株式会社
新光電気工業株式会社
株式会社放電精密加工研究所
放電加工機の以下のメーカ各社からは、カタログ、投稿記事などの提供を始め、技術史を確認する議論など、様々な支援をいただき、感謝いたします。
西部電機株式会社
株式会社ソディック
ファナック株式会社
株式会社牧野フライス製作所

 最後に、三菱電機OBを始めとする以下の個人の方々には、歴史に埋もれそうな貴重な情報の提供や編集校正への支援などをいただき、感謝いたします。
 荒槇淳氏、伊東哲朗氏、大泉敏郎氏、辛嶋利春氏、佐々木史朗氏、志田伸一氏、新開勝氏、鶴本和夫氏、葉石雄一郎氏

Contentsに戻る

 放電加工機技術の系統化調査の系統図


画像をクリックするとPDFが開きます。

放電加工機技術 産業技術史資料 所在確認

番号 名称 製作年 製造社 所在地(企業、団体名/公開状況/住所) 選定理由
1 形彫放電加工機
Japaxtron D3
1954㈱日本放電加工研究所
(現 ㈱ソディック)
日本工業大学
工業技術博物館(公開)
埼玉県南埼玉郡宮代町学園台4丁目1
実用形彫放電加工機の国産第1号機。日本の放電加工機の歴史を開いた。
2 形彫放電加工機
DM-50B
1963 三菱造船㈱&三菱電機㈱ 三菱電機㈱ FAコミュニケーションセンター
(顧客限定公開)
名古屋市東区矢田南五丁目1番14号
三菱造船(現三菱重工)と三菱電機との協業で1958年に放電加工機DM-101を生産開始。当機はDM-101に続いて開発された小型機の23号機(電源は435号機)。
3 ワイヤ放電加工機
DWC-50
1973 三菱電機㈱ 三菱電機㈱ FAコミュニケーションセンター
(顧客限定公開)
名古屋市東区矢田南五丁目1番14号
1972年に発売された日本初のワイヤ放電加工機の2号機。普及を図るため高額なNC装置を用いず、光学図面倣い方式を採用。機械本体のみ現存。
4 形彫放電加工機用電源
UF105C
1974 ジャパックス㈱
(現 ㈱ソディック)
株式会社ソディック 本社
(顧客限定公開)
神奈川県横浜市都筑区仲町台3-12-1
スィッチング素子にトランジスタを採用し、電極消耗を1%以下に大幅に改良したことで、「電極無消耗電源」と謳われた形彫放電加工機用の電源。
5 形彫放電加工機
E-202H
1974 西部電機㈱ 土居工業株式会社
(限定公開)
福岡県直方市上新入2594番地
当時の主流であった主軸駆動に油圧サーボ方式を採用した機種。また、高速加工と仕上げ加工の性能を向上させた重畳電圧回路(DP回路)を搭載。
6 ワイヤ放電加工機
FANUC TAPECUT-SERIES D
1976 ファナック㈱
ファナック株式会社 稲葉記念館
(顧客限定公開)
山梨県南都留郡忍野村忍草3580 ファナック最初のワイヤ放電加工機は1975年製造のFANUC TAPECUT-SERIES A であるが、現存が確認されるなかで製造時期がSERIES A に最も近い機械。
7 形彫放電加工機
EDNC64
1980 ㈱牧野フライス製作所
株式会社牧野フライス製作所 厚木事業所
(顧客限定公開)
神奈川県愛甲郡愛川町中津4023 当時の新技術であったトランジスタ回路電源、DCサーボモータ駆動装置を搭載し、その後に主流となる3面加工槽昇降式構造採用の先駆けとなった機械。
8 形彫放電加工機
22-NC
1980 ㈱ソディック 日本工業大学 工業技術博物館
(公開)
埼玉県南埼玉郡宮代町学園台4丁目1
マイコンNCを搭載した形彫放電加工機で、現存かつ公開されている最も古い機械。
9 ワイヤ放電加工機
FANUC TAPECUT-SERIES H
1980 ファナック㈱ 日本工業大学 工業技術博物館
(公開)
埼玉県南埼玉郡宮代町学園台4丁目1
現存かつ公開されているワイヤ放電加工機のなかで、初期型テーパ加工装置を確認できる最も古い機械。
10 ワイヤ放電加工機
330W
1982 ㈱ソディック 日本工業大学 工業技術博物館
(公開)
埼玉県南埼玉郡宮代町学園台4丁目1
工作物の腐食防止のため、油加工液の使用を可能とした日本初のワイヤ放電加工機。水と油の加工液タンクを備え、目的に応じて加工液の切り換えが可能。
11 ワイヤ放電加工機
DWC-90G
1985 三菱電機㈱ 日本工業大学 工業技術博物館
(公開)
埼玉県南埼玉郡宮代町学園台4丁目1
業界初のMOSFET電源を搭載したFシリーズの後継機。業界最高速度(200 mm2/min)を誇った。パイプガイド方式の初期型ワイヤ自動結線装置を搭載。
12 ワイヤ放電加工機
EWP-300A
1984 西部電機㈱ 株式会社深江工作所
(限定公開)
遠賀郡水巻町吉田南3-4-1
初期に開発された高精度ワイヤ放電加工機。高精度化のため門型構造を採用した点が特徴。
参考:電気加工技術,Vol10 N028, P31,(1986)
13 ワイヤ放電加工機
UPH-1
1993 ㈱牧野フライス製作所 株式会社牧野フライス製作所 厚木事業所
(顧客限定公開)
神奈川県愛甲郡愛川町中津4023
微細精密加工に特化した高精度機。極細線φ0.03 mmワイヤ自動結線、ワイヤ横走行構造が特徴。㈶ 機械振興協会H7年度「中小企業向け自動化機械開発賞」受賞。
14 形彫放電加工機
AM35L
1998 ㈱ソディック 株式会社ソディック 加賀事業所
(顧客限定公開)
石川県加賀市宮町力1-1
世界で初めてリニアサーボモータを駆動装置に搭載した形彫放電加工機。

Contentsに戻る