ミシン技術の系統化調査

Systematic Survey of Sewing Machine Technology


江端 美和 Yoshikazu Ebata

■要旨

 18世紀、産業革命の発端は「糸紡ぎ」、「機織り」の機械化の要望に応える紡績機、織機の発明である。そして、それに続く縫製の機械化が当然の如く求められ、ミシンの発明への挑戦が始まる。しかしながら、ミシンが社会に受け入れられたのは、それから約1世紀を経た19世紀半ばであった。時間がかかった最大の要因は「縫合技術」というミシンのキーテクノロジーの水準の問題であり、ミシンが社会に受け入れられたその時からミシン技術の進展が始まったのである。
 ミシンが日本に伝来したのは明治維新の前後であり、国産ミシン製造が始まるのは昭和初期となる。しかし、第二次世界大戦後までは“国産ミシンコピー時代”であり、日本の技術がミシン技術の進化に寄与することはほとんどなかった。日本のミシン技術が“世界のミシン技術をリードしてゆく時代”が始まるのは戦後の事である。
 日本のミシン技術の進化を含め技術全般に渡り進化を生む根幹要因は、素材(繊維製品)の生産技術(繊維産業)、技術(ミシン産業)の直接の市場(アパレル産業、縫製産業)及び最終消費市場(完成品すなわち衣服等縫製品の一般市場)が近接してあることである。この様な関連市場(産業及び消費市場)の時々刻々変化する要望に応えることによりミシン技術は進化してきた。
 しかし、ミシン技術のキーテクノロジーである“縫合をする縫い目を作る”技術は、ミシンが社会に受け入れられた19世紀半ばから約200年余の長い間「本縫い」、「環縫い」が延々と使われ、かつ、技術的進化もしていない。進化の根幹要因となる繊維産業、アパレル産業、縫製産業が海外に移転し傍からいなくなって、技術への要望が得られ難くなった今、日本のミシン技術の目指す方向は「ミシンのキーテクノロジーである“縫合をする縫い目を作る”技術」の研究、理論化を目指すべきである。すなわち、ミシン技術は、ミシン有史以来、市場の基本的要望であり潜在的要望であった先述のキーテクノロジーの進化に、正面から向き合う時が来ているのである。

 

 


■Abstract

 In the 18th century, the Industrial Revolution began with the invention of spinning and weaving machines to meet the demand for the mechanization of spinning and weaving. This was followed by a natural demand for the mechanization of sewing, which kicked off the quest to invent the sewing machine. However, it was not until the mid-19th century—about a century later—that the sewing machine was accepted by society. The main reason behind the delay was the level of stitching technology—the key technology of the sewing machine—with the advancement of sewing machine technology beginning only when the machine was accepted by society.
 Sewing machines were first introduced to Japan around the time of the Meiji Restoration, and domestic sewing machine manufacturing did not begin until the early Showa period. However, up until the end of World War II, Japanese sewing machine technology was merely copied domestically, and there was almost no contributions made to the evolution of sewing machine technology by Japan. It was not until after the war that Japan’s sewing machine technology began to lead the world.
 The fundamental factor that has led to the evolution of sewing machine technology in Japan, as well as the evolution of technology in general, is the proximity of the production technology (textile industry) of materials (textile products), the direct market (apparel industry, sewing industry) for the technology (sewing machine industry), and the end-consumer market (general market for finished products, i.e., garments and other sewn goods). Sewing machine technology has evolved in response to the ever-changing demands of these related markets (industrial and consumer markets).
 However, lock stitching and chain stitching, the key technology of the sewing machine that makes seams for stitching, have been in use for more than 200 years since the mid-19th century, when sewing machines were first introduced to society, and have not evolved technologically. Now that the textile, apparel, and sewing industries, which are the fundamental factors for the evolution of sewing technology, have moved overseas and are no longer around, it has now grown difficult to get requests for the technology and the direction that Japanese sewing machine technology should take is the research and theorization of the key technology of the sewing machine that makes seams for stitching. In other words, the time has come for sewing machine technology to face head-on the evolution of this key technology, which has been the fundamental and underlying demand of the market since sewing machines have been around.


■ Profile

江端 美和 Yoshikazu Ebata
国立科学博物館産業技術史資料情報センター主任調査員

1972年東京都立大学工学部機械工学科 卒業
1972年蛇の目ミシン工業(株) 入社
(技術研究所勤務)
2003年蛇の目ミシン工業(株)本社転属
2008年(株)サン・プランニング 転籍
2013年(株)サン・プランニング 退任
2013年蛇の目ミシン工業(株)顧問
2015年蛇の目ミシン工業(株)退職
2015年ミシンラボ・エバ 設立

■ Contents

 1. はじめに
 2. ミシンの歴史
 3. 日本のミシン技術発展の推移
 4. 日本独自のミシン技術
 5. まとめ
 6. おわりに
 7. 謝辞
 系統図



 1 はじめに

 よく「人類の進化は道具の利用から始まった」と言われるが、実際には、道具を使う動物は、敵を攻撃するのに物を投げたり飛ばしたり、さらには、貝を割るのに石を使うラッコや、物をとるのに棒を使うチンパンジーなど数多く存在し、また、その道具の適度な大きさを選別したり、適度な大きさに加工(折ったり、砕いたり)することも知られている。
 ではこれらの動物と人間との違いは何かと考えたとき、「人類の進化は物を接合するところから始まった」と言えるであろう。すなわち、遺跡の中から「釣針」や「矢じり」が見つかっているが、「釣針」は釣糸となる紐状のものと接合され、また、「矢じり」は柄となる棒と接合され使用されたと考えられる。そして、その最初の接合方法は、ひも状の接合材を使って「結びつける」方法であったと思われる。
 このように個々の物質を接合して新しい機能を持たせることにより、「巣」は木材やそのほかの素材を結びつけて「住居」となり、身につける保温材や保護材は「衣服」に進化したと言える。このように接合が人類の進化をもたらしたことは、接合に関しても「紐状のもので物を結びつける」ことから始まり、いろいろな接合方法、接合材が考えられ進化してきた。
 また、「葦」などの細くて長い材料は束ねたり結ばれたりして主に住居の外壁や屋根に使われていたが、新しい接合方法を用いてシート状にすることにより、可撓性に優れ、汎用性のある、現代の「むしろ」のような被接合材(シート)が考え出された。この新しい接合方法は「結びつける」接合方法ではなく、「素材の長手方向を縦方向と横方向に使い、“織り込む”」接合方法がとられた。
 この被接合部材の進化は、「葦」などの植物をそのまま使用する方法から、その繊維を抽出したり、動物の「毛」などを材料とする進化をすることにより、その可撓性がさらに滑らかに向上し「布」と呼ばれ、この「布」を利用することにより「身につける保温材や保護材」は「衣服」に発達していったといえる。
 このように進化した繊維材料「布」の接合には、同じ様に繊維を抽出したり、動物の「毛」などを材料とする「糸」を用いた「縫合」(手縫い)が使用された。
 現代においては、あらゆる分野において、接合材の進化と共に、様々な「化学的接合方法」、「機械的接合方法」が存在するが、「衣服」等可撓物の接合の分野においては、現在においても、なお、「柔軟性があり接合力が強い」、「細かい作業が可能で接合される素材の風合いを損ねない」、「接合部の美しさ」から、「糸」を用いた「縫合」が使用されている。
 ここで、「縫合」に焦点を絞ると、その縫合方法は、人類が進化を始めてから数千年の間、ほとんど進化をせず「手縫い」が行われてきた。新しい縫合方法が発明されたのは、「縫合」の機械化が実現した19世紀に入ってからであり、その縫合方法は「本縫い」と「環縫い」であり、これを実現した「機械」がまさに「ミシン」=Sewing Machineなのである。
 19世紀半ばにおける「縫合」の機械化により、縫合方法は「手縫い」、「本縫い」、「環縫い」となったのであるが、それから現在に至るまでの約200年弱の間、新しい縫合方法は公には出現していない。この間、他の分野での接合方法は、接合材も含め加速度的に進化しているにも拘らずにである。それだけ、上記の縫合方法が「可撓物の接合」においては際立った優位性を持っていると言えるのかもしれない。
 そこで、ミシンが19世紀に世に受け入れられた時からどのような変遷を辿ったのか、そしてミシン技術がどのように進化してきたのかについて記述する。特に、ミシンが日本へ伝来した時からの歴史を振り返り、日本のミシンが世界のミシン市場を席巻した現在、その礎となった貴重なミシン技術を再検証し、将来、日本のミシン技術の目指すべき方向性を考察する。

Contentsに戻る


 2 ミシンの歴史

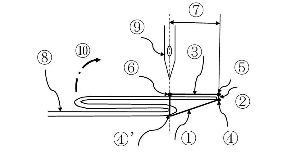
 機械(ミシン)で縫合する縫い目は、「本縫い」と「環縫い」の2種類がある。この2種類の縫い目は機械縫合の基礎であり、ミシン有史以来約200年間、この2種類は増えることなく、延々と使われ続けてきた。「ミシンの歴史」を辿る前に、この2種類の基礎的縫い目の形成過程と形態を説明する。
 本縫いの基礎的縫い目(JIS表示記号301)の形成過程を図2.1に、その縫い目形態を図2.2に示す。

図2.1 本縫い縫い目の形成過程

JIS L0120 表示記号3011)
図2.2 本縫い縫い目形態の代表例


 図2.1において、①針=上糸(針糸)を供給する ②シャトル(長舟)=下糸を格納、順次下糸を供給する ③シャトル剣先(釜剣先)=シャトルに付属し上糸ループを捕捉する ④上糸 ⑤下糸 ⑥布(被縫製物) ⑦押さえ=布を押さえる、また、送り歯(図示せず)に布を押し付け、送り力を発生させる ⑧針板=布を支え、針が布を貫通する時の貫通力を支える。
 (1)で針①は下方へ動き⑨、シャトル②は右方へ動き始める⑩。(2)で、布⑥を貫通した針①は、最下点で折り返し⑫上方へ動き⑭、針①の動きで、上糸④は上糸ループ⑪を形成する。上糸ループ⑪は、左から右へ動いてきた⑬シャトル剣先③に捕捉され、下糸⑤を格納したシャトル②が上糸ループ⑪を潜り抜け、下糸⑤は上糸ループ⑪を貫通する。この上糸④と下糸⑤の関係状態を示したのが(3)である。(3)で、針①は上昇⑭を続け布⑥から抜け出し、余分な上糸④は天秤(図示せず)により回収(引き締め)され、上糸ループ⑪は小さくなっていく。シャトル③は最右点で折り返し⑮、左方へ動き出す。(4)で、針①は更に上方へ動き⑭、上糸④の回収が続き、シャトル②は左方へ移動⑯し続け、布⑦は⑰の方向へ移動を始める。この結果、(1)の状態となり、1縫目の形成が完了する。
 以上のような本縫い縫い目形成過程に使われたシャトル(長舟)は、高速での縫いを可能にした回転釜に徐々に置き換えられ、現在では使われていない。
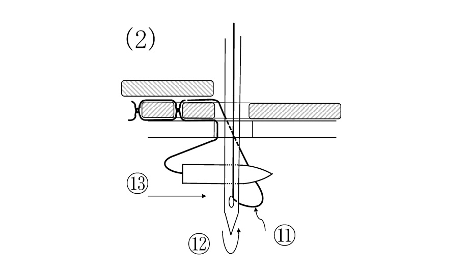
 環縫いの基礎的縫い目の形態(JIS表示記号101)を図2.3に、図2.3(1)の縫い目の形態の形成過程を図2.4に示す。

JIS L0120 表示記号101 1)
図2.3 環縫い縫い目形態の代表例


図2.4 環縫い縫い目の形成過程

 ①かぎ針 ②かぎ部 ③縫い糸 ④糸ループ ⑤布(被縫製物) ⑥針板。

 (1)で、縫い糸③は布⑤(針板⑥)の裏から供給され、前の縫い目でかぎ針①が捕捉した縫い糸③の形成した糸ループ④はかぎ部②に掛かっている。かぎ針①は下降し⑦、(2)で、布⑤を貫通し、糸ループ④はかぎ針①のかぎ部②から抜け出し布⑤の表面に残る。布⑤を貫通したかぎ針①は最下点で運動方向を反転⑧し上昇⑨を始める。(3)で、上昇⑨を始めたかぎ針①は、布⑤(針板⑥)の裏面にある縫い糸③をかぎ部②に引っ掛け、上昇を継続する⑨。(4)で、上昇⑨を続けるかぎ針①は布⑤を抜け出し、前の縫い目で形成した糸ループ④も通過し、布⑤は搬送される⑩。かぎ部②に掛かった縫い糸③は、布⑤と前の縫い目の糸ループ④を貫通し、新たな糸ループとなり、再び(1)の状態となる。この縫い目形成過程を繰り返すことで、図2.3(1)に示した環縫い縫い目の形態が形成される。
 環縫いの代表例は、図2.3(2)「JIS L0120表示記号101」に示す単環縫い(チェーンステッチ=一本の糸で縫い目を作る)だが、発明当初は、かぎ針を使った図2.3(1)の縫い目が利用されていた。歴史上最初に実用に供されたフランスのバルテルミー・チモニエ(Barthelemy Thimmonier)の環縫いミシンは図2.3(1)の縫い目である。図2.3(1)と(2)の違いは、布の上面に糸ループ(糸輪)の絡まり(結節)があるか、布の下面にあるかの違いである。ウォルター・ハント(Walter Hunt)が「尖端にメドのあるミシン針」を本縫いミシンに使用して以来、かぎ針を使った縫い目形成は、高速化が可能な「ミシン針」とルーパー(糸ループ保持部材=「3.3.3釜の構造と歴史」参照)を使った縫い目形成に置き換わった。「ミシン針」とルーパーを使った縫い目の形態は、糸ループ(糸輪)の絡まりが布の下面にある図2.3(2)の形態となる。
 以上に示した本縫いと環縫いの縫い目形成過程から、ミシンの縫い目形成原理について、おそらく、本縫いは機械化された織機の飛杼(flying shuttle)の機能を参考に発明され、環縫いは編み機のかぎ針の機能を参考に発明されたと考えられる。機械化された織機は産業革命の発端となる社会的要求に応えるべく発明され、編み機は1589年イギリスのウイリアム・リー(William Lee)が同夫人の労力を軽減しようと発明したとされている。従って、編み機は産業革命の頃は既に機械化されており、発明当初のミシンに環縫いが多いことも理解できる。
 このようなことから、ミシンの歴史において、ミシンの起源を1589年イギリスのウイリアム・リーの編み機としている記述があるが、ミシンの「1丁目1番地」すなわち主な目的は「可撓物(布)の接合」(縫合)であり、織機、編み機のように繊維縫製品素材(布、ニット)の製造ではないことから、織り、及び編みの機械をミシンの起源と考えるべきではない。


2.1 ミシンの発明から普及まで

 本当の意味で裁縫ができる最初のミシンの発明は、1790年イギリスのトーマス・セント(Thomas Saint)による環縫いミシンといわれている。

図2.5 トーマス・セントのミシン2)


 それ以前にも、1755年ドイツのカール・フリードリッヒ・ワイゼンタール(Charles F. Weisenthal )、1770年イギリスのロバート・アルソップ(Robert Alsop)がミシンを発明した等々、様々な説、文献がある。
 しかし、技術を主眼とした歴史展望にとって最も重要なことは、どの時代にどのような社会的要求によりミシンが世に出現したかということである。

表2.1 ミシン関連主要発明一覧(1900 年まで)

人名備考
1589ウィリアム・リー編み機を発明
1733ジョン・ケイ織機「飛杼(flyinng shuttle)発明
1755カール・フリードリッヒ・ワイゼンタールワイゼンタール針発明
1770ロバート・アルソップ衣服縫ミシン
1790トーマス・セント環縫い手廻しミシン
1801ジョセフ・M・ジャカードジャカード織機(紋織機)の発明
1804バルサザール・クレムス世界最古の現存ミシン
1804トーマス・ストーン ジェームズ・ヘンダーソン共同で環縫いミシンを発明
1804ジョン・ダンカン枠付き刺繍機械
1807ヨーゼフ・マデルスペルガー直線縫いミシン
1829ジョジュエ・アイルマン刺繍機械
1829バルテルミー・チモニエ木製ミシン
1832ウォルター・ハント二本糸使用本縫いミシン
1841ニュートン アーチボルトミシン針開発
1846エリアス・ホウ本縫いミシン
1851アレン・B・ウィルソンロータリー・シャトル
1851W・O・グローバー二重環縫ミシン
1851アイザック・メリット・シンガー本縫いミシン
1856ジェームス・E・A・キブス一本糸環縫いミシン
1858ライマン・R・ブレーク靴縫工業用ミシン
1862ゴードン・マッケー靴縫工業用ミシン
1865ボナ刺繍に環縫いミシンを応用
1871チャールズ・グッドイヤー靴縫工業用ミシン
1872レスリー回転釜開発
1872W・ハウゼウィルソン型改良ミシン
1877ジョセフ・M・メロー縁かがりミシン(鉤針編み機)発明
1879チャールズ・フィッシャージグザグ原理
1880シンガー社半回転釜の発明
1882ジョン・カイザージグザグミシン
1884J・ナイトリンガージグザグミシン
1889シンガー社電動式ミシン発売

 18世紀半ば、イギリスから始まった「産業革命」の発端は紡績機と織機の発明である。これは、当時頻発かつ大規模化する戦争を主要因に、衣服や布製品が大量に要求される社会的要望への対応であった。更に、インド、続いて新大陸アメリカから綿布の原材料である綿花の大量調達が可能となったことが紡績機及び織機の成功を後押ししている。「産業革命」は他の産業分野でも大量生産を可能にし、社会の経済基盤、技術水準を飛躍的に向上させた。しかしながら、縫製の機械であるミシンは紡績機、織機と同時期に当然要望されたにも関わらず、また、前述の発明家達の努力にも関わらず、縫製の大量生産を可能にする要望に応えられなかった。実際に縫製工場で稼動され始めたのは「産業革命」が既に安定期に入った19世紀後半であった。
 このことから、蒸気機関に代表される「産業革命の花形」である各種機械に比べ、「ミシンは“産業革命の失敗作”」3)と揶揄する歴史研究家もいる。
 この結果、紡績機、織機の発達で布が大量に生産される様になったが、縫製工場の生産効率が悪く生産が追いつかない。いきおい、家庭の中で女性が衣服の生産を担当する様になったことは容易に想像ができる。
 産業革命により、家庭内での生産性を伴う女性の仕事であった糸紡ぎ、機織りの作業は生産効率の高い工場生産に変わり、衣服製作だけが家庭内に残り、縫製は家庭内における数少ない製品生産手段として貴重な作業となったのである。このような状況の中で、ミシンは工場規模での生産性を上げるには不十分な機械であったが、家庭内規模での生産において労働の負荷を軽減する重要な機械となった。
 衣・食・住は人間の文化と生活を担う最も基本的な三要素であるが、衣文化が家庭内に残ることにより家庭内文化における衣服製作の重要性が増し、ミシンがその大きな担い手として、女性の経済的基盤を創出し、労働負荷軽減により余暇を生み、女性の地位や権利の確立に大きな役割を果たしてきたことは、ミシンがいかに「産業革命の失敗作」と揶揄されようとも、ミシンに携わる人々にとって大きな誇りとなっている。
 言い換えると、「ミシンは、文明は創造できなかったが、文化を創出してきた」と言える。このことは、ミシン黎明期においてミシンの発明に努力した発明家全てに脚光を浴びせ、かつ、現在においても、ミシンに携わる人々にとっての大きな自信の源となっている。
 ミシンの歴史に戻ると、実際に工場での使用に耐えうる性能を備えたミシンの出現は1824年フランスのバルテルミー・チモニエ(Barthelemy Thimonnier)の環縫いミシン、1844年アメリカのエリアス・ホウ(Elias Howe)の本縫いミシンである。

図2.6 バルテルミー・チモニエのミシン4)

図2.7 エリアス・ホウのミシン5)

 チモニエのミシンはフランスの軍服製造で威力を発揮した記録があるが、当時のぶち壊し(破壊)運動(いわゆるラダイツ騒動)により姿を消した。また、ホウのミシンもラダイツ騒動を恐れる工場経営者により敬遠され、縫製工場で稼働することができず姿を消した。
 ミシンの歴史に着目すると、ラダイツ騒動の社会的必然性が理解できる。両者の発明は共に1800年代前半で、産業革命が始まって既に半世紀以上を経過した状況にあった。この間、縫製業界が大量に生産される布への対応に手をこまねいていた訳もなく、多くの手縫い職人を擁する縫製工場が大量に存在しており、半世紀の間に布の生産量の伸び率も安定し、材料の布の供給量と、家庭内での生産も含めた縫製品の生産量、及び社会の要求する布製品の必要量の物質的需給バランスが一見保たれている様に見える環境下にあった。この様に需給バランスの取れた状況で、縫製の生産効率だけを上げるミシンの出現は、「縫製工たちの仕事を取り上げる」と認識されても不自然な事ではなかった。
 しかし、ミシンはこれで姿を消すことはなかった。19世紀半ば、産業革命に乗り後れたミシンを社会に受け入れさせ、浸透させたのがアメリカのアイザック・メリット・シンガー(Isaac Merrit Singer)であった。

図2.8 アイザック・メリット・シンガーのミシン6)


 シンガーのミシンは、後にホウとの特許権訴訟に敗訴した様に、改良されてはいたが技術的にはホウのミシンと同じ様なものであった。
 では、なぜシンガーのミシンが社会に受け入れられ、シンガーが世の脚光を浴び、“ミシンの元祖”と呼ばれるようになったのであろうか。
 彼とチモニエやホウとの違いは、シンガーがミシンの供給先を縫製工場ではなく、家庭での縫製に目を向けたことである。シンガー社は、当時、極めて高価であったミシンを個人が購入し易い様に割賦販売方法を取り入れ、ミシンをはっきりと家庭用として位置付けることに成功した。それにより、ミシンは、後に、女性の地位や権利の確立に大きく貢献し、存在価値を高める結果となった。
 ミシンの用途が縫製工場の生産性向上を目的とするのか、家庭での労働負荷軽減を目的とするのかは、物を供給する側の観点からは少しの違いでしかないが、製品を受給する側には大変大きな違いがあることを示す典型的な例と言える。また、新しい物を社会に供給するに際し、時代のニーズ、対象マーケットの選定等その時点及び将来の社会環境の情報収集・分析の重要性を如実に示しており、現代においても教訓となる実例と言える。すなわち、技術の有効性と共に、時々刻々と変わる「技術の市場性」の分析、考察が重要となる。
 他のミシン会社も、シンガー社の成功を基に追従し、認知され普及し始めたミシンの採用を余儀なくされた縫製業界からの要望に応え生産効率を高めるミシンの改良を繰り返し、19世紀後半には縫製工場を手縫い生産(家内制手工業)からミシン使用の生産体制(工場制大量生産)へと変貌させていくのである。
 シンガーの成功は、ミシンの社会的価値を高め、シンガーのみならず、それまでミシンの発明に努力した数多くの先人達をも、歴史の表舞台に登場させ脚光を浴びさせることとなった。
 多くの発明家の業績の中で、技術史的に重要な発明は1832年アメリカのウォルター・ハント(Walter Hunt)のミシンと、1851年アメリカのアレン・ベンジャミン・ウイルソン(Allen B. Wilson)のミシンである。
 ハントのミシンは尖端にメドのある針とボビンケースを持ち、この「針の尖端にメド(針穴)を穿つ」という常識を覆す奇抜な着想は、機械による縫製を実現する重要な発明となり、ミシン発達の起点となった。ただし、「針の尖端にメドを穿つ」針を使用したのは1804年ドイツのバルサザール・クレムス(Barthazar Krems)のミシンが最初という説もある。ただ、クレムスのミシンは環縫いミシンであり、かぎ針のかぎ溝に開閉自在の蓋を付けたものと思われ、かぎ溝に開閉自在の蓋を付けた針の構造は、編機用メリヤス針の構造で、機械編機からヒントを得たと思える。
 また、ウイルソンのミシンには画期的な回転釜が採用されており、この回転釜の発想こそ、ミシンの高速化、大型化を可能にした価値ある発明であった。ウイルソンはこの発明と同時期に事業家ナザニェル・ウィーラー(Nathaniel Wheeler)と協力し「ウィーラー・ウイルソン・アンド・カンパニー」を設立、日本人が初めて目にしたミシンはここの製品である。
 シンガーのミシンが世に出現した1850年頃の社会状況は紡績機、織機の発達で大量の綿布を主に繊維縫製品の素材の布が世に溢れ、縫製品製造に生産効率の良い機械=ミシンが待ち焦がれられており、この潜在的要求を満たし顕在化することで、ミシンが爆発的に普及した。アメリカでは1851年シンガーによる「I.M.シンガー社」を皮切りに1850年代から1860年代にかけ、前述の「ウィーラー・ウイルソン・アンド・カンパニー」を改称した「ウィーラー・アンド・ウイルソン製造会社」、更に「ニューホーム」、「ホワイト」、「ホウ」、「ユニオン・スペシャル」、「フリー」、「グローバー・アンド・ベーカー」等大量生産方式の大工場が設立された。
 ミシン普及の勢いは、瞬く間に、紡績機及び織機の発達したイギリスを始めヨーロッパに広がり、1860年代にはドイツを中心に「アドラー社」、「パフ社」、「ハイト・ウント・ノイ社」、「モントロス社」、「ナウマン社」、「デュルコップ社」、「ハスクバーナ―社」等が相次いで設立されミシン製造に着手した。しかし、家庭用ミシン分野では、スコットランドに設立されたシンガー社を中心としたシンガー社製の大量攻勢に太刀打ちできず、ヨーロッパのほとんどのミシン会社は、工業用ミシンの生産に活路を見出さざるを得なかった。
 シンガーの家庭用ミシンから始まったアメリカでの縫製の機械化は、南北戦争(1861年~1865年)を機に工業用ミシンとして縫製工場に採用されることとなる。南北戦争で成年男子の多くが兵士として駆り出され縫製工が不足し、かつ、軍服等の縫製軍需品は大量に必要とされた。この需要に応じる為に縫製の機械化が必要不可欠となり、ミシンは繊維縫製品の生産効率を上げる為、高速化の要求を満たす進化をし、“工業用ミシン”という分野を生じさせた。特に、ドイツのミシン会社が多いのも普仏戦争(1870年~1871年)で縫製軍需品を大量に必要としたためであると言える。



2.2 日本におけるミシンの歴史(第二次世界大戦直後まで)

2.2.1 伝来~国産ミシンコピー時代

 ミシンが日本に最初に紹介されたのは、1854年ペリー来航の際、将軍家定への献上品に含まれていた説と、1860年「日米修好通商条約」批准書交換の遣米使節に随行した咸臨丸に通訳として同行した中浜万次郎が持ち帰った説がある。将軍家定の未亡人天璋院敬子(篤姫)が使った記録があることから前説が有力である。しかしながら、いずれであっても歴史的記録として貴重だが、産業史や技術史にとってさほど重要ではない。それは、両説とも一般的社会への普及とかけ離れた存在であり、日本への伝来、普及に重要な意味を持ち実際に産業用に使用されたのは明治維新前後から輸入され始めたドイツ製ミシンだったからである。
 いずれにしても、シンガーの努力でミシンの価値が認められた数年後には日本に紹介されていたことは注目に値し、ミシンが実用化されてから急速に世界に広まり普及したことが推測できる。ただし、将軍家定への献上品の中のミシン、中浜万次郎の持ち帰ったミシンとも、ウィーラー・ウイルソン製のミシンであった。
 同時期に、日本は1854年日米和親条約、1858年日米修好通商条約の不平等条約を締結、次々に欧州列国と同様の条約を結ぶ。このような条約を結ぶことで日本は開国し、時代は1867年大政奉還、1868年明治元年を迎える明治維新を経て近代化の道を歩むこととなる。
 日本でのミシンの歴史を紐解く前に、欧米列強の当時の社会情勢と日本の近代化=工業化を考察する。
 当時、欧米各国は世界中で植民地獲得の覇権を争っていたが、植民地政策は産業革命を機に内容が変化していた。産業革命以前は、領地獲得、植民、統治優先だったが、産業革命以降、英国が先鞭をつけ、交易・貿易の名の経済侵略、すなわち、統治権を認めた上で貿易権及び徴税権のみを掌握した「経済的植民地」政策に変化していた。植民地から大量の原料を母国に運び近代的生産方式で大量に加工し、植民地での加工は禁止し、加工品を植民地に「押し売り」をする。もちろん、欧米各国間での正常な貿易も行われたが、余剰品は植民地に売りつけたのである。その結果、母国の経済は潤い、反対に植民地は疲弊することとなった。
 このことを如実に表すのは、インド独立の父マハトマ・ガンジーの平和独立運動である。「無抵抗の抵抗」と称された彼の要求は「インドでも綿製品の加工を許可してほしい」というもので、イギリスの加工綿製品の不買運動であった。
 この様な観点から欧米各国との不平等条約をみると、日本には「開国」であるが、欧米各国には日本を「経済的植民地」化したこととなる。更に、その利権は最初に条約を結んだアメリカに優先権があり、欧州列国はそれより利権の緩い条約を締結することとなった。
 日本の近代化=工業化に視点を移すと、欧米各国が日本産の「原料」に目をつけたのは、江戸末期より格段に品質が向上した「絹糸」であった。
 これは1854年から1855年にヨーロッパで発生した蚕の疫病で絹の生産が壊滅状態にあり、欧米市場で絹製品が欠乏したことに起因するが、これが日本に好条件を提供することとなった。また、アメリカが南北戦争(1861年~1865年)終結の時期にあり、国内情勢への対応から、国外での干渉、統治に手が回らなかったことも幸いした。この結果、工業化の進歩が、利権の緩いヨーロッパから技術導入された事と、「原料=絹糸」の加工品が欧米で消費され加工品を「押し売り」されなかった事で、経済的に発展できたと言える。また、第1位の利権を持たない欧州各国は加工品の製造を厳しく制限する必要もあまりなく、日本への加工品の輸出が伸び悩むなら、生産機械輸出、技術移転を輸入の対価とする事も選択肢の一つであったかもしれない。
 しかし、利権が緩いとはいえ、欧米各国の準「経済的植民地」化した日本への対応は、軍需品及び軍需品生産技術には厳しかったと思われる。欧米列強にとって、“植民地”日本が軍備を自由に増強することなどとんでもないことであったが、日本にとって欧米列強と対等に渡り合うためには軍事力の増強が必要不可欠な条件であった。そこで、交易で得た経済力を基に、欧米の軍需品の調査・研究を行ない独自で工業化せざるを得なかった。その成果は目覚ましく、二十年前後で欧米各国が1世紀を要した技術水準にまで達し「殖産興業」、「富国強兵」を実現することができたのである。
 これには欧米各国も驚嘆し、「日本の産業革命」と称するものもいた様である。ただ、同じ「産業革命」でも、本家の「産業革命」は社会全体の経済力を増大する結果となったのに比べ、「日本の産業革命」は軍事力増強に偏っていた。
 しかし、この時培われた技術力は第二次世界大戦後の復興の基礎となり、高度経済成長=技術立国日本の原動力として国民の生活レベルの飛躍的向上につながっただけでなく、世界の技術水準の向上に寄与したことを考えると歴史的に価値があり、「日本の産業革命」と呼んでも異論はないであろう。
 明治年間のミシンに戻ると、アメリカのミシンが最初に渡来した。しかしながら、他の産業と同様にアメリカの国内情勢の影響、また、最大のミシンメーカーシンガー社がヨーロッパ市場の開拓に総力を注いだことにより、明治以降、日本に入ったのはヨーロッパのミシン、特にドイツのミシンであった。しかし、基本的に日本は「原料=絹糸」の輸出のみで加工品は輸入を求める欧米諸国の側からは、衣服の加工機械のミシンの輸出に消極的だったこと、日本の衣服文化が和服文化だったことから一般市場へさして普及することがなかった。和服文化は、「洗いはり」で分かる様に分解・組立を繰り返す一種のリサイクル文化で、ミシン縫いより手縫いの方が作業し易く、かつ、当時の社会風潮は、洋服は指導者等高貴な階層を表し、一般人には洋服着用禁止令が出る程だった為、一般市場で衣服製作の需要がほとんどなく、ミシンは所有することのステータス、あるいは、高価なおもちゃ的嗜好品としてわずかな需要があるのみだった。
 しかし、軍服を中心とする制服、軍需縫製品は輸入に頼れず、このような生産現場では輸入ミシンが盛んに使われ、このミシンのメンテナンス部品の製造、修理・調整を行なう職業が成り立ち、これに対応した人・技術がミシンの国内生産の基礎となった。また、外国人居留地では、外国人居留者が持ち込んだミシンが居留民向けの“洋服”製作に使われ、洋服製作を商売とする居留民も現れ、その作業員として雇われた日本人が衣服制作を主とするミシンの使用技術を習得し、彼らの知識・技術もミシンの国内生産の基礎となった。
 このころ、日本人で初めて、外国製ミシンを分解、一部部品を手作りしたミシンを完成させて、あるいは、外国製品をまねて部品の大半を手作りし“国産ミシン”とした人物として有名なのは佐口鉄蔵と今井又三郎である。今井又三郎は1877年8月に上野公園の3万坪を会場にあてた「第1回内国勧業博覧会」に“縫製機械(ミシン)”を出品しており、彼が日本人最初のミシン製造者と考えられる。佐口鉄蔵は1881年3月開催の「第2回内国勧業博覧会」にミシンを出品し、有功賞状と賞牌を授けられている。
 ちなみに、「明治10年内国博覧会出品解説」で、今井又三郎の作品に次の説明がある。
 『・・・按スルニ俗間縫機ヲ「ミシン」ト称ス、英語機械ヲ「マシイン」ト云ウ、縫機ノ始メテ我邦ニ伝来スル当時、偶「マシイン」ヲ以テ称シ、遂ニ訛伝シテ縫機ノ名トナルカ・・・』7)
 この記述から「ミシン」という語は今井又三郎が考え出した“日本語”であると言える。
 当時、「Machine」は「マシン」、「マシネ」、「マシイン」と記述、発音され「機械」の事を指すことは既に認知されていた。また、縫製機械(ミシン)は「シウイン・マシネ」(慶応4年2月24日「中外新聞」第1号)と呼ばれていた。ミシンの仕事に携わる今井がこの事実を知らぬはずはなく、たとえ訛って「ミシン」と発音していたとしても文字で表す時「ミシン」と書くはずがない。従って、今井は「Machine」と区別する為に、「ミシン」という自作の造語で表したといえる。
 シンガー社の本格的日本進出は1901年横浜山下町に本拠を構えてからである。それ以前、シンガー社は1880年小型ミシンの日本市場投入を試みたが、欧米各国、特にアメリカの対日本政策、及び日本の一般市場の状況から深入りせず撤退していた。しかし、1900年代に入ると、急速に国力をつけた日本はミシンにとっても有望かつ未開拓な市場であった。日本市場へのシンガー社の参入手法は、当時普及していたドイツミシンを前金代わりに下取りしシンガー社の新品を購入させ、さらに下取りしたミシンは全て打ちこわし二度と使用不可能にするという、まさに、植民地における経済的侵略に近い強引かつ高圧的な手法で決して評判が良くなく、1932年~1933年の「シンガー大争議」の主原因ともなった。この様にシンガー社製ミシンは1903年頃から急激に増加、瞬く間に日本のミシン市場を席巻、参入から4~5年後にはほぼ独占状態を構築した。一方、シンガー社の日本進出戦略でも大いに評価でき、日本の経済発展に多大な影響を及ぼした施策がある。それは「洋裁学校」の設立である。
 シンガー社は、アメリカ市場での成功を教訓に、日本の家庭内文化でも衣服製作が家政にとって重要になると考え、洋服文化を普及し洋服の需要を増大させ、その生産が家庭内でされることで家庭用ミシンのマーケットを拡大する施策をとったと言える。それまでも和裁洋裁を問わず裁縫の重要性を認識し、1881年頃から渡辺辰五郎、鳩山春子、堀越千代らにより女子の為の学校が設立され、被服製作を家政学の一つに据える活動がされていたが、別行動とは言えこの様な活動にシンガー社の潤沢な資金が投入されたことで、被服製作が家政学の柱となり、被服製作の技術の習得が「良妻賢母」の必須条件となっていった。
 日本で家庭内での被服製作の啓蒙が花開くのは、第二次世界大戦後の1950年代から1970年頃までの高度経済成長時代であり、その恩恵を受けたのは皮肉にもシンガー社ではなく日本のミシン会社であった。
 シンガー社が日本のミシン市場を席巻した時代、この時期は第一次世界大戦(1914年~1918年)の時期にあたり、大戦中、敵国であるドイツからのミシン輸入が途絶え、軍用縫製品の生産に支障をきたした経験から、ミシンを外国から、特に一国だけからの輸入を危惧する政治的気運と、民間では、明治以降育っていたミシン業者やミシン技術者の間でシンガー1社の独占状態を危惧し、ミシン国産化の気運が高まっていた。
 この様な官民双方から湧きあがった国産ミシン開発への動きは大正末期に盛り上がり、国産ミシン製造を目指す多くの者が現れた。その代表的ミシン製造会社が、三菱電機、蛇の目ミシン工業(社名履歴・パイン縫製機械製作所からパインミシン、国産パインミシン、帝国ミシン)、ブラザー工業(社名履歴・安井ミシン商会から安井ミシン兄弟商会、日本ミシン製造)、福助足袋であり、特に、福助足袋は1895年購入ミシンを改良し「爪先縫ミシン」を考案、自社の足袋製造に活用している。また、パイン縫製機械製作所は1923年アメリカニューホーム社製「リトルワーカー」(小型手廻しミシン)を真似た「パイン500種」を生産、販売を開始した。更に、ブラザー工業は、「昭三式ミシン」(麦わら帽子製造用環縫いミシン)を1928年日本における独自考案の国産ミシンとして初めて市場要求に対応して市場で販売した。現在、以上の3機種は、「最初の国産ミシンであり、その後のミシン技術発展の基礎となった」と評価されているが、最初の国産ミシンは、今井又三郎、佐口鉄蔵を始め多くのミシン技術者が作成しており、この3機種ではない。また、「ミシン技術の基礎となった」ことについても、昭三式ミシンは「環縫いミシン」であり、その後のミシン(本縫いミシン)技術の基礎とはなり得ないし、3機種とも“一品料理”(1台1台部品合わせをした“芸術作品”)であり、その後の製造技術に影響を与えた痕跡はない。
 その中で、昭三式ミシンだけは、麦わら帽子を製造する機械という市場要求に対応し市場投入され、ミシンを“産業”とする原型(概念)を日本で初めて築いたことで、ミシン産業技術史にとって重要な意味を持つ。(爪先縫いミシンは、自社の足袋製造で威力を発揮したが、市場投入はされなかった。また、「パイン500種」は、「シンガー家庭用ミシン15種同等性能を有する」という市場要望を無視したミシンであった)

図2.9 爪先縫いミシン8)

図2.10 昭三式ミシン9)

 この時期、独自の考案により国産ミシン製造に挑戦した“技術者”は多く現れたが、いずれも製品化に至らなかった。三菱電機は1931年に西川式縫製機の特許権を譲り受け、独自設計のミシンを研究し試作品まで進んだが結局成功せず、1933年、シンガーミシン(103型)を参考に家庭用ミシン25種A形の生産、市場投入を行った。また、1934年にシンガー96K16型(3,000針/分)をモデルに工業用モデル35種A形の生産を始めた。
 上記4社を始め国産化をめざす会社の本格的製造開始は昭和初期(1928年~1932年)に集中している。1929年パインミシン(現・蛇の目ミシン工業)は「シンガー家庭用ミシン15種」を参考に以降の日本の家庭用ミシンの標準となる標準型ミシン「パインミシン100種」の量産を開始した。これを機に1932年の安井ミシン兄弟商会(現・ブラザー工業)、福助足袋を始め、国産ミシンの生産を始めるミシン会社の大半は「シンガー家庭用ミシン15種」を参考とした機種の生産を始めた。いよいよ“国産ミシンコピー時代”が始まったのである。この4社(三菱電機、蛇の目ミシン工業、ブラザー工業、福助足袋)のミシン技術はその後のミシン技術発展の基礎となった。この4社の開発したミシンは、部品のトレーサビリティが確保されていて、ミシン製造が“一品料理”ではなく、部品がどこで造られても、どの部品を使ってもミシンの機能を果たす製品であった。すなわち、ミシンが“産業”としての形が整ったと言える。その最初のミシンを「パイン100種」としない理由は、ミシンの一番重要な部品である中釜は、ブラザー工業が開発し製造した部品であったからである。すなわち、日本のミシン技術、及びミシン産業の礎は、筆者の閲覧できる資料の範囲では、この時期、この4社により確立されたのである。また、以上のような経緯を辿ると、「ミシン業界」と言う概念もこの時期に確立されたと言える。
 外国製のコピー製品製造が公に、かつ広範囲に行われ得た背景には、工業所有権に関わる日本での法律上の事情があった。日本政府は1909年、パリ条約加盟と同時に、外国人の申請した工業所有権を認めたが、シンガーを始め欧米のミシンはそれ以前から輸入され広く使われていたため、意匠登録以外の機構的な特許権は公知公用として除外されたのである。
 しかし、当初の国産ミシンはシンガー社の独占状態に近いシェアを切り崩せなかった。このことは、「シンガー大争議」(1932年~1933年)争議中にシンガー社極東代表のマックリアリーの「シンガーミシンを日本が輸入しなかったら、日本の軍部が困るだろう」5)という高圧的発言が如実に物語っている。
 しかし、コピーとは言え70年に渡る夢であった国内生産を実現したミシン技術者達の誇りと自負は、1943年6月から1944年2月まで「三菱電機(技報)」に連載の「ミシン発達史」で、第二次世界大戦中にミシン製造が平和産業として排斥され、「三菱電機」も次号から休刊となる逆境の中、三菱電機名古屋製作所伊東璋がミシン事業者の誇りと、ミシンの社会性への自信を熱く記述していることに代表される。伊東璋著「ミシン発達史」は、ミシンが社会に認められてから約90年、国内生産が始まってわずか7~8年でこのような内容の著書が日本で書かれたことは貴重な資料である。
 国産ミシンの第二次世界大戦前の最盛期は、アメリカとの外交関係が悪化し始め、シンガー社の攻勢が弱まる昭和10年代初期となるが、間もなく日本は1937年の日中戦争勃発を皮切りに第二次世界大戦へ向かう戦時体制となり、1938年の「国家総動員法」「鉄鋼配給統制規則」等、民需製品への締め付けが強くなることで衰退を余儀なくされた。
 日本は1945年8月15日ポツダム宣言を受諾し無条件降伏をする。終戦直後の日本は、空襲により都市部は焦土と化し、衣料材料である服地の欠乏から、手持ちの和服、洋服を分解した布や端布を使い、動きやすい洋服を自分の手で作製するようになった。これは当時「更生服」と呼ばれ、戦中よりあったが戦後爆発的に普及し、当然の如くミシン需要が増大し、マッカーサー指令により兵器生産が禁止される中、ミシン産業が唯一の平和産業として脚光を浴び、戦後のミシン産業の立ち直りは著しく早かった。このような社会情勢から、かつてミシンに関わった者の多くはミシン製造に参画し、兵器生産を禁止された製造業も続々とミシン産業に転換を図るようになった。
 当時ミシン業界に新参入した主な会社は、リッカーミシン、東京重機工業(現・JUKI)、愛知工業(現・アイシン精機)、日本製鋼所宇都宮製作所(パインミシン)、中島飛行機浜松工場(リズムミシン)、日立造船、津上製作所、石川島芝浦タービン、千代田工業等である。
 なお、日本製鋼所宇都宮製作所が名称とした「パインミシン」と戦前の「パインミシン」との関係を記述する。戦前のパインミシンは小瀬與作の出資のもと、亀松茂、飛松謹一が技術、製造面で参画して創立された。この時、社名を亀松、飛松共通の“松”を採用し「パインミシン」とした。その後、「国産パインミシン株式会社」時代の1931年亀松、飛松は国産パインミシンから離れ、亀松は「パイン縫製機械製作所」を、飛松は「ローラスミシン」を設立しミシン事業を継続した。1935年小瀬により継続経営されていた「国産パインミシン」は、亀松による「パインの称号は亀松、飛松の“松”からとったので使用をやめるように」という要求を受け、「帝国ミシン株式会社」と改称した。戦後、日本製鋼所宇都宮製作所は亀松より“パインミシン”の商標権を買い取り「パインミシン製造」と改称して、ミシンの製造、販売を行った。従って、シンガー日鋼(1971年「パインミシン製造」を改称)、蛇の目ミシン工業とも会社の源流を戦前の“パインミシン”としているが、この“パインミシン”は同じ会社である。
 当時のミシンはシンガー社の戦前のミシンを主に参考にしたが、ミシン製造に関し全く経験のない会社、ミシンに関わった経験があっても完成品の製造経験の乏しい会社が多く、更に戦後の極度のインフレ状況での資材不足から、部品はバラバラかつ粗悪なものが多く、品質の悪いものが市場に多く出回るようになった。
 この問題に対応すべく、1946年6月に発足した「ミシン製造会」(現・一般社団法人日本縫製機械工業会)内に同年10月「規格統一」のため「ミシン技術協議会」が設置される。相前後して同年10月GHQ(連合国軍総司令部)より商工省(後の通商産業省、現・経済産業省)へ“外国製品名称使用禁止”の覚書が通達された。GHQによりほとんどの工業生産が禁止され、ミシン製造は数少ない製造を許可された産業の中心であった状況から、覚書の実質ターゲットはミシン産業と受け取れ、「ミシン製造会」及び会員各社にシンガー社の「商標権侵害」問題と解釈され、業界危機として深刻に受け止められた。事実、覚書の通達の際、商工省はGHQより個別案件として「日本の国内で生産し、販売されているミシンはアメリカの有名品であるシンガーミシンの商標に類似のマークや、部品番号を使用しているが、これは外国品との不当競争であるから、速やかに全面的に中止の措置を講ずるように」10)とのGHQメモランダムを渡されている。
 このような背景で、シンガー社の製品を参考に、官民一体となり品質を重視する目的も加味し「規格統一」と「新名称」の制定が行われた。この中心となったのがミシン製造会(1948年日本ミシン工業会となる)のミシン技術協議会であり、1947年「HA‐1規格標準図面」を完成発表する成果を出し、徹底した規格統一は「ミシン製造会社は主にアッセンブルを行い、部品製造はミシン製造各社への供給を行う部品会社が担う」分業大量生産ネットワークシステムを生み出し、後にミシン業界に留まらず他業種でも採用された生産システムの基本となった。
 「規格統一」と「新名称」の制定は、さらに徹底して継続され、品質を重視する目的に沿い、他の外国製ミシンをも調査、研究を行い、部品呼称、部品番号、ねじ一本に至るまで全ての構成部品が「日本工業規格(当時)JIS」で規格化された。
 「規格統一」「新名称制定」から始まりJIS規格化に至る業界一丸となった活動は、国産ミシンの性能と品質を格段に安定、向上させ、モデルとなったシンガー社のそれをも凌ぐまでの技術水準を生み、規格化された各機種、針、部品等の国産ミシンの「新名称」は、現在、海外においてもシンガー名称を凌ぎ普及するまでになった。まさに、国産ミシンコピー時代の究極の姿となったと言える。
 ミシン技術協議会は現在も技術委員会として日本縫製機械工業会内に存続し、過去の実績が示すように、日本のミシン技術の発展を直接主導してきた。
 「商標権侵害」問題は、当時、「すわ、シンガー社の日本再上陸だ」、「GHQによる日本の工業化への干渉、弾圧だ」との認識であり、今もその認識が有力だが、客観的には、当時の国産ミシンはシンガー社の粗悪コピー商品であるとの見方は妥当であり、GHQ及びシンガー社の主張は正当性があるように思える。今、立場が変わり、日本のミシン産業が発展途上国のコピー製品に悩まされていることを考えると尚更である。
 JIS規格化による技術水準の向上は、1950年代から1960年代にかけ、国産ミシンが、国内では被服製作ブームと言える程の普及をもたらし、輸出では日本の工業輸出産品の柱となる程の隆盛をもたらした。
 1950年代後半から、向上した技術水準を基礎に、国内ミシン会社は、各社独自の個性を有する機能、性能を付加した各社独自の価値観に基づく製品を作り出す方向を歩み、“国産ミシンコピー時代”から “国内ミシン技術が世界のミシン技術の発展を主導する時代”へと向かう。この過程は、「3 日本のミシン技術発展の推移」で詳述する。
 “国産ミシンコピー時代”のミシンの普及、技術は、シンガー社、シンガーミシンが、常に日本ミシン産業の“先生”であった。それ故に、「商標権侵害」問題の様なシンガー社の日本市場参入の徴候は、日本のミシン産業界には最大の恐怖として受け止められた。この恐怖の徴候が1954年、「シンガー、パイン提携問題」としてミシン産業界に押し寄せてきた。シンガー社の副社長が来日「パインミシン(日本製鋼所の系列会社)との資本並びに経営参加を伴う技術提携」の許可申請を通産大臣に提出したのである。
 この動きに対し、すぐに、ミシン業界は「シンガー進出反対期成同盟」を全国組織として結成、猛烈な進出阻止行動を行った。この問題は、日米両国の政府を巻き込んだ問題にまで発展したが、結局、シンガー社は1956年パインミシンとのミシン製造委託契約という方法で、日本国内販売製品にシンガーの名前を付けず“日本進出”を果たす。更に翌1957年に国産パインミシン製“シンガーミシン”の名称で売り出されるが、日本の業界が危惧した結果とはならなかった。
 その理由を日本のミシン業界は「2年半の遅れは、以後のシンガーの活動を著しく制約する結果となり、この期間、日本のミシン産業の成長がめざましく、質、量ともシンガーの付け入る余地が既になかったからである」5)としている。しかし、「2.2.3 戦争とミシンの歴史の関わり」で記述するが、客観的に判断すると、この問題は日本業界の“からさわぎ”であり、シンガー社への不当な“いじめ”であるともいえる。それは、日本からアメリカへの輸出台数が1955年~1957年の間、65万台から100万台と伸びを示しており、その台数も日本国内の当時の需要台数よりはるかに大きく、一方、同時期の日本の輸入台数は、家庭用ミシンは輸入禁止に等しい措置が取られていたこともあり、数10台から100台前後で推移している。また、この時期以降、20世紀の終わり頃までの世界のミシン市場は、シンガーミシンが約30~40%のシェアを占めていることからも、シンガーの技術、製品が劣っていたわけでもない。
 なお、ミシン製造会社に“シンガー”の名前が使われたのは1971年、「パインミシン製造」が「シンガー日鋼」と社名変更した時である。
 以上述べてきた様に、1955年前後を境に日本のミシン技術は“国産ミシンコピー時代”の終焉を迎え“国内ミシン技術が世界のミシン技術の発展を主導する時代”へと向かうのだが、“国内ミシン技術が世界のミシン技術の発展を主導する時代”の先駆けとなる日本独自の技術として、1951年東京重機(現・JUKI)により「単軸回転天秤機構」いわゆる「回転天秤」が開発された。それまでシンガー社を始め世界各国のミシンメーカーが研究し、シンガー社が2軸回転天秤を商品化していたが、理論的にも実際的にも不可能とされていた単軸回転天秤機構が発明され、実機に搭載されたのである。

2.2.2 繊維産業の推移とミシンの歴史との関係

 ミシンは衣料等の製品を生産する加工機械であり、その対象とする材料の大半は繊維製品であることから、ミシンの歴史は繊維産業の推移に大きく影響されており、ミシンの歴史を客観的に考察するには、繊維の歴史を客観的に考察することが重要となる。
 繊維の歴史に目を向けた時、絹、綿の歴史に代表される様に、繊維の歴史は社会の、あるいは社会生活の推移に影響されてきた。むしろ、繊維は人類、あるいは人間社会の歴史を左右してきた。「シルクロード」、「産業革命」、「南北戦争」等、繊維が、人間社会の進化、変遷に直接影響した事例を挙げると枚挙にいとまがない。
 特に、産業革命以降、欧米各国の植民地政策が経済的侵略へ変化する主役はインドの綿花に代表される繊維であり、植民地化する側もされる側も、繊維産業がその国の国体の経済的基盤となった。日本でも、幕末、明治、また、それ以降でも繊維は日本の発展あるいは危機に直接関与しており、日本の繊維産業の歴史推移はミシン産業に限らず、他の産業への影響も多大なものがある。日本の繊維産業は19世紀末(明治維新以降)から20世紀において国体の基幹であったと言っても過言ではない。このことから、他の産業界から繊維産業の歴史推移を考察する時、より冷静で客観的でなければ自らの歴史推移を見誤り、その分析から結論づけられた施策に状況判断の誤りを生じる危険性がある。従って、ミシンの歴史から見た繊維産業の歴史推移を考察するには、以下の2点を考慮しなければならない。
 第1点目、歴史資料の多くは、社史、個人の伝記、あるいは国史である。これらの多くは、資料の中心になる会社又は個人の主体的行動の記録である。これは、社史、伝記等の目的の一つが会社あるいは個人の業績の価値を高め、かつ、行動の正当性、卓越性を主張、美化することであり、当然である。繊維産業は当時の国体の経済的基盤であり、国史における繊維の歴史推移の記述も同様である。しかし、幕末から明治、大正にかけての繊維の歴史推移は欧米各国の社会状況に基づく外圧依存型、すなわち、受け身的進展であり、繊維の歴史及びそれに影響されるミシンの歴史を考察する時、海外情勢も加味した客観的考察が必要である。それにより、時には会社、偉人の業績に傷つけるような表現となる場合があるが、決してその様な意図はなく、その様な環境の中で苦悶し、苦境を乗り越えた卓越性はより一層光を放ち受け止められることを望む。
 第2点目は、「繊維製品」の語意の曖昧さを認識していなければならない事である。
 「繊維製品」の一般市場の認識は衣料等の最終加工品を意味するが、辞書等では「繊維を原料とする製品。毛織物、綿布、綿糸、衣料等」となっている。これを見て、一般市場にいる我々は「おや?織物や綿布、綿糸も繊維製品に入るのか?」と感じる。『「繊維製品」とは衣料等の最終加工品を指し、織物や綿布、綿糸などは「繊維材料」ではないか』というのが一般市場の認識である。しかし、日本の繊維産業界では、その歴史から「繊維製品」とは織物、編物までの布状の製品までを意味してきた。衣料等の最終加工品は「繊維製品」を加工した別の分野(家政学)の製品としてきたのである。現在は、繊維産業界も一般市場の認識を受け入れているが、『「繊維製品」の定義は織物、編物、不織布などのいわゆる布の形態まで』との意識(定義)は根強く残っている。例えば、「繊維機械」は「繊維及び繊維製品を作る機械の総称」と定義されるが、一般市場が認識する「繊維製品」(繊維縫製品)の生産機械であるミシンは「繊維機械」に含まれない。本報告書を通し「繊維縫製品」と聞きなれない表現をするのはこの様な事情による。以上の様に「繊維製品」に対する一般市場と繊維産業界の認識の齟齬は、1950年代後半から1970年代の、日米間の繊維製品をめぐる貿易摩擦が最悪の結果を生む一因となったと言える。
 以上の2点を考慮に入れながら、日本開国以降の繊維の歴史的推移を考察する。
 欧米列強国は日米修好通商条約等の不平等条約を締結、アメリカを第1位の利権国として日本を準「経済的植民地」化した。更に、2.2.1で『欧米各国が日本産の「原料」に目をつけたのは、江戸末期より格段に品質が向上していた「絹糸」であり、「原料=絹糸」の加工品が欧米で消費され加工品を「押し売り」されなかったことで、経済的に発展することができた。』と記述したが、実際には、「絹糸」の加工品の代わりに、綿糸、綿布をイギリスから大量に「押し売り」されていた。すなわち、「絹糸」は日本から主にアメリカへ(安くたたかれ)輸出され、アメリカからイギリスへはアメリカ産綿花が輸出され、イギリスから日本へはアメリカ産綿花の加工品である綿糸、綿布が輸出されるという三角貿易が成り立っていたのである。この当事国の3国は当然対等ではなく、“ババ抜き”で例えるなら、不平等条約で準「経済的植民地」化された日本が“ババ”を引かされていたことは説明するまでもない。
 幕末から明治初期に大量に輸入された工場制大量生産のイギリス産綿糸、綿布が、室町時代から徐々に普及を始めて当時は一般庶民へも普及が広まっていた国内産綿布の流通及び家内制手工業を主とする国内繊維産業に壊滅的打撃を与えたことは想像に難くない。
 綿花は暖かい地方が原産で、当時の綿花栽培の北限は北緯35度前後、気候により北緯40度位でも栽培が可能な時代で、日本はぎりぎり可能な地域であり、長い年月に渡り苦労を重ね、細々とではあるがやっと安定供給を可能にした綿花栽培農業は、海外からの綿布の安価大量流入により一気にほぼ壊滅し、綿花栽培農家の多くは、桑の栽培に転作し養蚕、すなわち絹糸原料の生産農家へ転身した。綿糸、綿布の大量輸入の影響を直接受ける紡績、織布産業も大打撃を受けるが、この産業は問屋制家内工業として細々と継続した。これは、和服材料の反物の幅が約35 cm~45 cmで、洋服材料の生地幅は約80 cm~150 cmと異なるためである。細々と継続された国内産綿糸、綿布の原料の綿花は、国内生産壊滅の代替えとして中国産綿花が輸入された。
 この様に確立された三角貿易だが、明治10年代に内容が変貌する。イギリスから日本への輸出品目が綿糸、綿布からインド産綿花に変わりだした。
 綿花の流通推移を概観すると、産業革命での紡績機、織機の出現で、インドから大量の綿花がヨーロッパに、大半はイギリスに持ち込まれたが、19世紀初頭から中頃にかけアメリカ産綿花の供給が始まると、産地からヨーロッパまでの運輸面での時間、コストの有意差は歴然で、アメリカ産綿花の供給量は徐々に伸び、1840年代後半にはヨーロッパへの供給の大半を占めるまでなり、インド産綿花がだぶつきだした。しかし、南北戦争(1861年~1865年)が起き、アメリカ産綿花の供給が途絶えがちになり、再びインド産綿花が流通しだす。この状況は、南北戦争終結後もアメリカの社会状況が安定するまで徐々に変化しながらも継続された。
 日本へのインド産綿花輸出が始まる1877年頃は、南北戦争終結から約10年を経過しアメリカの社会状況も安定し綿花の生産、輸出も戦前の状況まで回復しており、イギリスにとって、だぶつき気味のインド産綿花を綿糸、綿布に換わり日本に売りつけるのは合理的であった。かつ、アメリカの綿花生産量が伸びるとアメリカ自身が日本に直接アメリカ産綿花の輸出を始める危惧があり、先手を打って綿花の輸出に踏み切ったと言える。事実、日本で紡績業が軌道に乗った1900年から1930年の日本の綿花輸入量は大幅に伸び、インド産とアメリカ産の綿花を合わせると約90%11)を占めた。また、この時期のインド産とアメリカ産の構成比率は約2:111)であったのが、1935年には約1:211)と逆転している。
 アメリカ-イギリス-日本の三角貿易の形態は崩れ、輸出品目を綿製品から綿花に切り替えた際、紡績機械の輸出及び製造技術移転を積極的に行ったイギリスにとって、大きく成長、成功を収めた日本の繊維産業の綿製品が、逆にアジアでの綿製品貿易の障害となった。
 綿花を「押し付け」られた日本は、1878年の官営愛知紡績所を皮切りに次々と官営紡績工場を設立、民間払い下げを行い、官民協力の基、紡績業に力を注いだ。紡績業界が軌道に乗り始めるのは1882年に大阪紡績が設立された頃で、これが刺激となり1892年頃にかけ次々と強力な紡績会社が設立され、紡績業が成功、活況を呈した。
 日本の国体の基幹である紡績業、繊維産業の成功は日本の国力を強め他の産業の発展を促し、1882年頃を始めとし、以降の約20年間を「日本の産業革命」と称している。本場の「産業革命」も「日本の産業革命」も、起点は繊維産業であったと言える。
 この時期、日本は2つの戦争、日清戦争(1894年~1895年)、日露戦争(1904年~1905年)を行っており、この戦争の結果、中国、朝鮮半島での繊維製品輸出市場を獲得でき、余剰生産分が輸出により消化されたことが繊維産業成功の要因の一つと言える。事実、1897年には、繊維関係の輸出高は輸入高を上回っている。この海外繊維製品市場の獲得に加え、戦争賠償金の一部を紡績会社設立にあてるなど、綿紡績産業に力を注いだ結果、世界の繊維製品(綿製品)市場で日本の繊維産業の国際競争力を高めていった。
 欧米各国では、「産業革命」の始めから約1世紀半、完了から約半世紀が経過しており、工業製品の生産高は、自国及び交易需要量を大幅に超える余剰生産品が顕在化している時代であり、各国が植民地(経済的植民地)貿易の積極的開拓に力を入れている時期であった。このような国際情勢において、日本が海外市場を確保するのは大変な労力を必要とした。
 このような国際情勢の中で、第一次世界大戦(1914年~1918年)が勃発する。第一次世界大戦はヨーロッパ戦争とも呼ばれ、ヨーロッパ列強国のほぼ全ての国が主戦国となったため、世界中の国、特にアジア諸国へヨーロッパからの工業製品の供給が途絶え、繊維製品に関しては、日本の繊維製品がその代替え供給品として市場を拡大した。この市場拡大の勢いは、戦後も継続し1933年には日本の綿布輸出量は世界一位になる程の成長を見せた。それだけ、第一次世界大戦が大規模であり、ほとんどのヨーロッパ各国は戦争により受けたダメージが大きく戦後処理が大変であったことを物語っている。
 また、第1次世界大戦では、戦闘機(航空機)、潜水艦、戦車(自動車)、化学兵器、機関銃等の新しい軍備、武器が使用され、ほとんどの分野の工業製品、技術は、程度の差こそあれ軍需品生産につながる可能性が確証され、産業界への評価も“軍需産業”と軍需品生産につながる可能性のない“平和産業”という概念が芽生えだした。ミシンは生産機械であるが、シンガー社が家庭用として社会に広めたことから民生機器の印象が強く“平和産業”と受け止められた。繊維産業も、戦争あるいは国際紛争に深く関わる歴史を持ちながら、使用技術の性格から”平和産業“と受け止められた。
 この“平和産業”の概念が、第二次世界大戦後のミシン産業も含めた繊維産業の歴史、日本が辿る工業技術、工業生産の歴史の方向性に大きく影響する。
 第二次世界大戦中、日本は工業生産力を“軍需産業”へ集中し、“平和産業”の繊維製品生産に厳しい規制を強いた。この結果、戦後、繊維製品の不足を招き、市場は古布の再利用で繊維製品需要に対応した。しかし、実際には、繊維産業は“平和産業”として戦後早期に復活していたが、生産の大半が輸出にあてられ、国内市場への供給まで余力がなかったのが実情である。このことは、1945年~1955年の輸出品構成比をみると「綿織物」「生糸」「絹織物」でほぼ100%を占めていることから分かる(図2.11)。

図2.11 輸出総額に占める構成比の推移12)


 戦後日本の経済復興が朝鮮戦争特需景気によるとの説は否定しないが、実際には、繊維産業の早期復活が戦後日本の経済復興の柱であった。
 このような状況を生んだのは、戦後の世界の政治情勢、経済事情によると言える。
 第二次世界大戦後の日本は、アメリカの占領下におかれ、GHQ(連合国軍総司令部)に政治、経済の全てを掌握されることとなる。GHQが日本統治で最も恐れたのは、世界を脅かした日本の“軍事専制政治”の復活であり、そのため取った施策は、軍需に繫がる工業生産の徹底した活動禁止と、皇室の政治活動からの分離、民主主義の啓蒙であった。これは、新憲法の三つの基本原理「平和主義」、「国民主権」、「基本的人権の尊重」として国是となった。すなわち、戦争及び国際紛争の武力的解決を放棄し、戦争情勢からの完全離脱意思を世界に表明したのである。
 一方、世界各国は、第二次世界大戦は終結したが、戦勝国も敗戦国も東西冷戦、植民地独立運動、内戦の状況下にあり、軍事的緊張は継続され、繊維産業を主とする“平和産業”は厳しい生産活動規制下にあった。このような世界情勢、アメリカの社会状況から、アメリカは自国産綿花の行き場がなく在庫が嵩む状況を踏まえ、国際紛争の武力的解決の放棄を宣言した日本で戦前実績のある繊維産業を後押しし、綿花の大量輸出を実現する政策をとったと言える。戦後、いち早く生産活動を開始した日本の繊維産業は急激に輸出量を増やし、繊維製品を素材とする繊維縫製品の輸出も新たに加わり、国内アパレル産業、縫製産業も活況を呈し出す。それに伴い、ミシン産業も“平和産業”として輸出が大きく伸び、縫製産業への供給増加という新市場を獲得し、これに刺激された衣服製作ブームの発生で、ミシンの国内需要量が大きく膨らんだ。
 アパレル産業、縫製産業も含む日本の繊維産業の伸長は、世界の軍事バランスが安定し、軍事的緊張が少しずつ緩んできても進展するが、日本繊維産業の進展と、規制が緩んできた海外地場繊維産業の進展との軋轢が表面に出てくる時代を迎える。その典型が、最大の対輸出国のアメリカとの繊維貿易摩擦である。
 1955年アメリカで繊維製品の関税引き下げを機に、“ワンダラー・ブラウス”と呼ばれた日本製の安い綿製品が大量にアメリカ市場に押し寄せた。これに対して生産規制の緩んできた米国繊維産業界で日本の綿製品輸入制限運動が高まり、1957年「日米綿製品協定」が締結され、日本は綿製品の対米輸出を5年間自主規制する。ここに、日米間の「繊維製品」の貿易不均衡問題が顕在化した。これを発端に、他産業界も対象に、協議、改善施策が繰り返される「日米貿易摩擦」問題が日米両国間の重要課題となった。
 「繊維製品」に関する「日米繊維交渉」は、「綿製品の交易問題」から始まり、途中から、合成(化学)繊維製品も加わり1972年に一応の決着を見た。同年10月に仮調印された「日米繊維問題の政府間協定の了解覚書」、正式調印された「日米繊維協定」の内容は米側原案に近い形で締結され、日本の繊維産業は、急激な衰退を招く大打撃を受ける結果となった。
 しかし、日本の感覚は、衣料等の「繊維縫製品」は「繊維製品」に含まれないとの解釈から、「繊維縫製品」の生産、対米出荷は継続され、ファッション・アパレル産業界及び縫製産業界は国内需要の伸長を主要因に、若干の陰りを含みながら成長し続けた。
 日米繊維貿易摩擦は以上の様な経緯を辿るが、1960年代から「日米貿易摩擦」問題の主流は繊維、農産物、鉄鋼から自動車、半導体、電機、電子製品へと変化しており、日米繊維貿易摩擦問題が一応の決着を見ても、「日米貿易摩擦」問題はより深刻な状況となった。
 1988年、米国政府は「スーパー301条」を含む「包括通商法」を成立させ、翌1989年スーパー301条を日本に適用、スーパー301条の交渉枠外は「日米構造問題協議」を設定、そこの協議で扱うことを提案してきた。日本市場の開放を阻害しているとアメリカが判断する「非関税障壁」の撤廃を要求、協議しようというのである。
 この日米構造問題協議は1989年に始まり1990年に最終報告を発表するが、その内容項目に、「流通の構造改革」、「排他的取引慣行の構造改革」があり、「繊維縫製品」はこの項目に完全に当てはまったのである。その結果、「構造改革機構」が設立され、衣料を主とする繊維縫製品の流通機構が改革され、アパレル産業、縫製産業に壊滅的打撃を与えた。
 繊維産業は、その歴史上、綿花等天然繊維素材の時代から、市場の需要量を大きく上回る過剰原料を押し付けられ、それを処理してきた。更に、1960年代から急激に増加した合成(化学)繊維の時代になっても原料過多の状況は変わらず、むしろ過剰原料は増大した。化学繊維の多くは石油から造られ製造が大規模プラントなため、繊維素材に適した原料を得るには大量発注なしでは受注されない状況にある。従って、紡績産業も織物産業も大量の注文なしには製造、供給ができない。その結果、アパレル産業と縫製産業は繊維縫製品を市場需要量より多量に生産する。この余剰生産リスクを引き受けていたのが繊維縫製品の流通システムであった。この繊維縫製品の流通システムは、製造業から小売業に至る流通で、「川上」「川中」「川下」という言葉の様に、「川中」には数多くの問屋が介在し、「流れ」の其々の位置にいる問屋が相応の余剰生産リスクを分担、「川上」のアパレル産業と縫製産業は成り立っていた。「川中」では、7~8社の問屋を経由するのが一般的であった。この流通システムが、外国製品の日本市場への参入を妨げる排他的取引慣行の「非関税障壁」として構造改革が求められたのである。
 構造改革により、余剰生産リスクを一手に背負ったアパレル産業、縫製産業は成り立たなくなり、廃業あるいは規模の大幅縮小を余儀なくされた。特に、縫製産業が生き残るには生産の海外移転に活路を見出さなければならない状況となった。
 アパレル産業と縫製産業の急速な衰退は、ミシン産業の方向性にも大きな影響を与えた。
 ミシン産業は、1960年代からのアパレル産業、縫製産業の急速な成長を受け、1982年、「産官学共同プロジェクト」(「大型プロジェクト」通称「大プロ」)の「自動縫製システムの研究開発」が開始された。この「大プロ」が完了する間際に、繊維縫製品流通業界に構造改革の波が押し寄せ、アパレル産業、縫製産業が衰退し、衣料の生産は開発途上国への海外移転にシフトされる状況となった。産官学を結集した「大プロ」はその完了を間近にして「はしごを外された」形で1991年に終了する。その後、「大プロ」の研究開発成果は一部を除きほぼ活かされることなく、ミシン産業は開発途上国の環境に応じた従来タイプのミシンの生産供給にかじをきったのである。
 以上の様に、日米繊維貿易摩擦が最悪の結果を招いてしまった要因には、技術の優劣、両国の政治経済環境の外に、繊維あるいは繊維産業の歴史認識に関する両国間の違いがあげられる。
 1955年「日米繊維貿易摩擦」が表面化した時のアメリカ側の感情的認識は、「産業革命以来、各国の植民地政策は、原料(綿花)を安く買い取り、工業加工品(綿布)を高く売りつける経済的侵略であった。事実、アメリカも日本に不平等条約を締結させ「準植民地化」した時には、原料(絹糸)を安く買い取り、工業加工品(綿布)を、三角貿易を介してイギリスから売りつけた。今回、第二次世界大戦の結果、日本をアメリカの統治下に置き「準植民地化」したはずなのに、日米繊維貿易の形は、日本がアメリカから綿花を買い(買い取られ)、アメリカはそれを原料とする加工品の「繊維製品」を買う(売りつけられ)、その結果の貿易収支はアメリカの大幅な赤字である。これは、アメリカが日本の植民地になった構図であり容認できない」というものであったと考察できる。
 一方、日本側の認識は、『幕末から明治、大正にかけての繊維および繊維産業の推移を、(客観的に判断すると外圧依存型、すなわち受け身の経緯であったが)主体的な推移ととらえ「繊維産業の隆盛は、新政府及び偉人の卓越した状況判断と行動力によるもので、成功は日本の国体の経済的基盤となった。」として、「日米繊維貿易摩擦の原因は、技術の優劣、米国内の政治経済環境の影響であり、繊維貿易摩擦は、米国内の問題解決、改善により解消されるべきで、日本に自主規制を求めたり、輸入制限を実施したりするのはアメリカの横暴である」』というものであったと考察できる。
 この認識の違い、特に日本の認識は、1972年の「日米繊維協定」に対する評価判断によっても露呈する。当時、沖縄返還問題でのトップ会談で、日米繊維貿易摩擦に対するアメリカの厳しい要求があり、沖縄返還後の核の扱いと、日米繊維貿易摩擦に対するアメリカの厳しい要求を日本が飲むという佐藤=ニクソン密約があったとされ、沖縄返還と「日米繊維協定」が同時期になされた。繊維産業に壊滅的打撃を与えるという最悪の結果となったにも関わらず「日米繊維協定」の原因を徹底的に分析、考察することなく、『「“糸”を売って、“縄”を買った」佐藤=ニクソン密約で、アメリカの“わがまま”を受け入れた。“繊維産業は“人身御供”にされた被害者だ”』という認識で巨額の補償金が政府から繊維産業界に支払われ解決されたとする判断は、今もって驚きに堪えない。
 まさに、技術史や産業史が、技術の優位性や、社会の秩序、論理に基づき形成されていくだけでなく、技術の優劣、社会の論理とは全くかけ離れた歴史観から導かれた感情によりもたらされる人間活動により大きく影響されることを物語る事例と言えよう。

2.2.3 戦争とミシンの歴史の関わり

 17世紀から18世紀にかけてのヨーロッパは戦争が多発した時代である。
 欧州の強国は領土拡張のために常に戦争を行い、次第にその手法は、強国同士の“同盟”により戦争を効率よく優位に進め、弱小国の領土を分割獲得し、時には弱小国を消滅させる結果を生み、戦争自体の規模も拡大していった。当時強国として存在したのはイギリス、フランス、ドイツ(プロシャ)、オーストリア、スペイン、オランダ、ロシア等であり、戦争多発の根幹をなすのは三十年戦争(1618年~1648年)の結果、神聖ローマ帝国とハプスブルグ家の衰退による領土分割と領土内の独立に伴う欧州強国の出現であった。
 幾多の“同盟”で対立する中心となったのはイギリスとフランスであり、両国の対立は、北アメリカ植民地での戦争のウイリアム王戦争、別名第二次インディアン戦争開戦(1688年)からナポレオン戦争の終戦(1815年)まで繰り広げられた。この時期の英仏間の数々の戦争を総称して第2次百年戦争と呼ばれる。
 ナポレオン戦争の終結は、ヨーロッパ域内での領土獲得紛争に一応の決着をつけ、ヨーロッパ域内での戦争は激減し、19世紀は“平和の世紀”と呼ばれた。しかし、“平和の世紀”とは言え戦争がなくなった訳ではない。ヨーロッパ域内における権益バランスが取れた欧州列強国は、基盤が安定したことで、より一層植民地獲得戦争に力を集中した。特に、対立関係にあったイギリスとフランスは、”同盟“関係に近い協力の基、植民地獲得戦争の主導権を握るようになった。
 一方、アメリカは、アメリカ独立戦争(1775年~1783年)でイギリスから独立を勝ち取ると、独立戦争でフランスから受けた負債は「フランス王国からの負債であり、フランス革命後のフランス第一共和政政府への返済義務はない」とした疑似戦争(1798年~1800年)と米英戦争(1812年~1814年)を通し、英仏からの圧力、干渉を阻止すると、先住民族(インディアン)から領地を獲得する戦争を継続していく。領地拡大戦争は、北アメリカ大陸の他の国及びその宗主国との戦争に継続され、更に、フィリピン等東アジア諸国への植民地獲得戦争へ発展していく。その間に、国内紛争の南北戦争(1861年~1865年)、その後も、第一次、第二次世界大戦、第二次世界大戦後の諸外国への「内政干渉」戦争、東西冷戦など20世紀にかけ常に戦争を継続し、「世界の警察」とまでいわれるほど戦争に関与し、まさにアメリカの歴史は戦争の歴史とも言える。
 ここで、戦争と科学技術との関係に目を向けると、18世紀に入り一段と頻発かつ大規模化する戦争を主要因に、衣服や軍需布製品を大量に要求する社会的要望で紡績機や織機の機械化が始まり、これを起点に産業革命が始まった。
 衣服や布製品を大量に要求する社会的要望は、当時、ヨーロッパ域内の人口が急激に増加したことと、社会の文化が進化したことにより衣服の需要が増大した為とする分析が一般的であるが、その説は否定しないまでも、その後の衣服を主とする布製品の増大や産業革命の実績が辿る社会的推移や政治状況を考察すると戦争に関わる要望が主要因だと考えるべきである。
 すなわち、戦争の形態の高度化、大規模化が産業革命という科学技術の進化を生んだと言える。
 科学技術の進化をこの様に分析すると、ミシン技術及びミシン産業の辿る進化は、他の科学技術あるいは他の産業の進化とは全く異質の推移を辿ることとなる。
 ミシン技術及びミシン産業の辿る進化が、異質の推移を辿った根本要因は、ミシンは繊維製品(繊維材料)を繊維縫製品に加工する生産機械なのだが、最初に社会に受け入れさせたシンガーミシンが家庭用機器すなわち民生用機器として認知されたことである。
 戦争により民生用機器、家庭用ミシンの生産が抑制されるのに反し、ミシンは南北戦争の時期、縫製工場の縫製作業に導入された。更に、普墺戦争(1866年)、普仏戦争(1870年~1871年)と戦争が散発するヨーロッパ大陸でも同様に縫製工場にミシンが導入された。このようなミシンは「家庭用ミシン」と区別され、産業用機器「工業用ミシン」という新しい分野を生んだ。
 アメリカの企業であるシンガー社はこのような社会状況へ対応し、アメリカでは「工業用ミシン」の製造を拡大、「家庭用ミシン」の生産の主力を、1867年スコットランドグラスゴーの家庭用ミシン製造工場に移し、同様の社会状況のヨーロッパ各国に輸出した。
 このような海外ミシン産業の状況は、日本へのミシン伝来にも影響を及ぼし、明治時代の日本は、一般社会でのミシン需要はほとんどなく、軍服、制服の生産工場のミシン需要は「工業用ミシン」の範疇にあり、ドイツからの輸入が大勢を占めた。ちなみに、シンガー社が1901年に日本市場へ本格進出した際、日本向け輸出の「家庭用ミシン」はイギリスの工場で製造された「シンガーミシン」であった。
 第1次世界大戦(1914年~1918年)では、戦闘機等の新しい軍備、武器が使用され、その結果、産業界への評価も“軍需産業”、“平和産業”という概念が芽生えた事は先に述べた。
 第二次世界大戦では、それまでの戦争と比べ規模、戦争経費、戦闘技術とも、かけ離れて大きく膨らんだ。その結果、日本を含む参戦各国では、家庭用ミシンを含む民需製品生産は全面的に禁止される状態となった。
 第二次世界大戦後の日本はアメリカの占領下におかれ、GHQに政治、経済の全てを掌握される。GHQの日本統治下で、ミシン産業は数少ない平和産業として生産が許され、戦後の衣料不足による需要増加に後押しされ、戦後の立ち直りは著しく早かった。一方、世界各国は戦後も、ミシン産業を含む“平和産業”は厳しい生産活動規制下にあった。
 この状況下で、「家庭用ミシン」の各国国内需要の不足分は日本に任され、ミシンの輸出は大きく伸び、ミシン産業は、戦後から1950年代後半(昭和30年代前半)にかけて日本の輸出軽工業産品の主流を担うほどの活況を呈した。特に、アメリカは、朝鮮戦争(1950年~1953年)を始めとして、各国での植民地独立運動、内戦に関与し戦争状態が続き、「家庭用ミシン」の最大消費国である自国での供給不足分を自国主導のGHQ統制下にある日本からの輸入としたのである。
 1954年、アメリカは戦後生産規制を若干緩めた民需品生産を一時全面禁止した為、アメリカ国内ミシン産業は全面的に生産活動を中止せざるを得なくなった。この間に、日本製ミシンやヨーロッパ製ジグザグミシンにアメリカ国内の家庭用ミシン市場を席巻されてしまい、ミシン製造会社は廃業もしくは転業を余儀なくされた。しかし、シンガー社は、1870年代に家庭用ミシンの生産をイギリスにシフトした経験に基づき、家庭用ミシンの生産を海外へ移管する施策を行った。その施策の一つが、主に東南アジア市場向けの生産拠点として日本を選択し、1954年の「シンガー、パイン提携」認可申請であった。この認可申請の「提携の説明書」の「提携の目的」に「2.その世界的名声(注・シンガー)、世界的販売網を通じて販路を拡大し現状以上に、日本の外貨獲得に貢献する。」10)とある。この申請は、日本のミシン産業界に、「巨大企業シンガーの日本侵攻」と受け取られ、日本を挙げての反発により難航することとなった。日本への生産拠点の移行が遅れると判断したシンガー社は、急遽、生産拠点候補地を、日本ほど世情が安定していないが、アメリカの重要な同盟国となった中華民国(台湾)に切り替え、実行に移す。「シンガー、パイン提携」の実現はシンガーの予測通り長引き、申請から2年半後の1957年に初期の提携内容から大幅に後退した内容で実現する。この頃には、台湾でのシンガーミシンの生産はすでに稼働しており、「2.その世界的名声・・・」の重要度が薄れていたが、その後、パインミシンの技術力を活かし、家庭用ミシンの生産と共に、シンガー工業用ミシンの開発、生産が行われた。このように、“平和産業”とは言え、ミシン技術及びミシン産業は戦争に深くかかわり影響を受けてきたと言える。


2.3 日本におけるミシンの歴史(第二次世界大戦以降)

 第二次世界大戦後の日本のミシン産業は、日本及び世界での需要の伸長により隆盛を迎え、それに伴う技術的発展を遂げ、国産ミシンコピー時代を脱し、世界のミシン技術をリードしていく時代へと進んでいく。
 その技術的基盤は前述の「規格統一」と「JIS化」であったことは間違いない。「規格統一」と「JIS化」で、ミシン産業に従事した人々の努力は理解しきれない程の辛苦に満ちたものだったことは想像に難くない。
 この事は2.2.1で記述したが、資料としたのはミシン各社の社史、工業会編纂「日本ミシン産業史」等である。これらの多くは主体的行動記録であるが、戦後日本の歴史推移は戦勝各国、特にアメリカの社会状況に基づく外圧依存型、受け身的進展であり、戦後ミシンの歴史を考察する時には海外、特にアメリカの社会環境、政治状況を加味した客観的考察が必要である。
 日本は、GHQの占領下にあり、世界、特にアメリカの社会情勢は、皆無と言っていい程伝わってこなかったことは事実であり、講和条約締結で日本が「独立国」として世界に認められた後もしばらくは世界情勢の情報が伝わってきても、量的不足は否めなかった。
 しかし、社史、産業史等を詳細に読み解くと、節々にGHQからの外圧、アメリカの施策が読み取れる。また、時代を経た現在では当時の世界情勢、アメリカの社会情勢が明らかで、戦後10数年のミシン産業の隆盛、ミシン技術の推移を“客観的”に改めて解析する。それにより、戦後日本の技術の発達史、更には、日本のミシン技術が世界をリードするまでの推移を正確に理解できる。また、このことが、現在、日本のミシン産業を取り巻く環境が大きく変化していること、世界の情勢が時々刻々と変動していることへの日本のミシン産業、ミシン技術の適切な方向性が示唆されると確信する。
 第二次世界大戦中からの世界情勢を展望すると、連合国側諸国は、戦況が有利に展開されだした段階から、主戦国であるイギリス、フランス、中国(中華民国)、更には、戦況が有利に転換する原動力となった途中参戦のアメリカ、ソ連により枢軸国及びその支配地域の戦後処理計画を協議する為、首脳会談を頻繁に行う様になった。この様な会談で強い影響力を持ったのが戦況を有利に導いた米ソ両国であった。特に、全国土を占領されたフランスは戦争末期まで会談に出席する余裕がなかったし、中国は第二次世界大戦勃発の引き金となった主戦国とは言え、他の連合国が欧州を主戦場としたことが背景にあり影響力は極めて小さい状況にあった。ただ、イギリスは、ドイツの攻撃に国土の多くが打撃を受けながらも、連合国をまとめるリーダー的存在であり、首脳会談への影響力を堅持していた。
 一連の会談で、重視すべきは1945年2月ヤルタ会談、1945年7月17日~8月2日までのポツダム会談である。
 ポツダム会談は、日本との終戦がポツダム宣言受諾を条件としたので有名だが、ポツダム宣言に隠れている重要な決定がある。それは、ヤルタ会談、ポツダム会談でドイツへの戦後処理の具体的計画が決定した事で、この決定が日本の戦後処理方法に影響し、ポツダム宣言にもその思想が盛り込まれている。ヤルタ会談では、ドイツ、イタリアとの戦争目的が大きく変更され、それに基づく戦後処理が議論となり、それまで内在していた米英とソ連との軋轢が鮮明となった。戦後の深刻な世界情勢となる東西対立、冷戦の姿が表面に出てきたのである。重要な決定とは、次の2点である。
1)領土保全、国体の安泰
 枢軸国(敗戦国)及びその侵略した国々の領土、国境を第一次世界大戦後の状態に戻し、国の体制も同様である。しかし、講和条約締結の条件あるいは独立国承認のためには軍国主義的体制の排除、民主的体制となること、それまでの間は、武力により対戦国を制圧し、枢軸国から解放した連合国軍の国が連合国から委託を受け統治を行う。
2)戦争賠償は物品による現物賠償
 膨大な戦争賠償金での戦争賠償は、第一次世界大戦の戦後処理において世界恐慌、ナチスの台頭を促す原因となったことから、現物での戦争賠償とすること。この項目では、ポツダム会談において、軍需工場設備からの現物賠償であり、一般市民の生活に影響を与えるべきではないと修正、確定した。
 講和条約、平和条約の締結条件は、1)および2)の条項の遂行、または遂行計画の承認である。
 アメリカの戦後処理は、ポツダム宣言に従いGHQが日本の統治を開始するが、アメリカの内政は東西冷戦の影響、枢軸国が侵略した国々の扱い、中国の内戦への対応から戦時体制は継続せざるを得ず、民需品の生産抑制は強弱があるものの継続せざるを得なかった。
 このような背景から、GHQは占領と同時に工業製品の生産全面禁止をするが、すぐに、“平和産業”である民需品類の生産を「許可」する。すなわち、「許可」を得れば、ミシンの生産が可能となった。工業用ミシンを含めてであった。この「許可」は、その工場が戦前戦中を通してミシンを生産していた過去の実績が審査条件に加えられていたはずである。当時の日本の工業生産における工業用資材はスクラップとなった機械類を解体したり、わずかな払下げ物資の中から資材として使えるものを探していた状態であった。このような状況で、GHQは軍需産業工場がミシン生産に転換する工場に「許可」を与えた。その数は約12社に上るが、その代表的例が、東京重機工業(現・JUKI)、日本製鋼所宇都宮製作所である。
 このような会社に工業生産を許可することは、軍需生産の再開ができる下地を与える事になるし、戦争賠償として“差し押さえた”軍需用工業用資材が流用されることが火を見るより明らかである。事実、JUKI社史「JUKIグローバル50 1938-1988」には「銃の材質はミシン部品の材質とはあまりにも異なりすぎて、それをミシン部品にするには非常な困難を強いられ、結局はミシン部品用材料を新たに調達せざるを得なかった」旨、記されている。また、日本製鋼所宇都宮製作所は、戦前にミシンを生産していた「パインミシン」の称号及びその生産実績を買い取り系列別会社「パインミシン」としている。この会社には戦中戦後を通して「パインミシン」会社の経営者、社員、生産工場、生産機械が参加、あるいは買取が行われておらず、「許可」の審査条件である過去の実績を確保するための施策であったと思われる。
 以上のことから、GHQのミシン産業への施策、特に、軍需生産工場がミシン生産に転換する工場に「許可」を与えた施策は、アメリカの国内政策への対応と判断できる。アメリカは世界情勢から戦時体制の長期化により民生品(ミシン)の生産抑制を継続しなければならず、アメリカ市場でのミシンの供給量不足を補う為、日本からの製品供給を計画した為であったと解釈される。事実、その後日本のミシン産業の推移、発展はアメリカの思惑通りに推移している。それは、戦後15年間程の日本ミシン産業の方向性、マイルストーンとなる技術にアメリカ(GHQ)の関与が見え隠れする事がよく表している。その最初の関与が、GHQが旧軍需生産工場のミシン生産工場への転換を許可したことである。当時のミシン産業は中小の生産工場が大半を占め、アメリカの施策の生産量及び品質を安定、確保するには、生産能力、生産技術の高い軍需工場をミシン生産に利用することが最善策であった。このことは、当時、商工省の一ノ瀬技官の手記に現れている。
 『昭和21年、物資需給調整が公布され、…(略)…(筆者(注)、資材の統制が行われ、一ノ瀬技官がミシン生産用資材のメーカーへの配分を行っていた)…たまたまどこかのメーカーが割当てが少いという苦情をGHQのミシン担当官(メリヤン氏)に話したところ、直ちに同氏のところに呼び出された。行ってみたらミシン製造会の土岐さん、三菱電機の渋谷さん、パインミシンの武田さん等業界の人達が数人呼び出されており、その前で突然「ゴー・ツー・スガモ」「ゴー・ツー・ゼエール」とどなられた。私は何のことか判らずビックリした。よく理由を聞くと「お前はミシンメーカーに対する資材の割り当てが不公平だ…。」…(以下略)』10)
 三菱電機、パインミシン(日本製鋼所)は、ミシン業界にとどまらず日本の大企業である。
 このアメリカの戦後政策が日本のミシン産業の隆盛をもたらしたという分析は、2.2.1で記述した「日本ミシン産業に従事した人々の自発的努力により得たミシン技術の進展が日本のミシン産業の盛隆をもたらした」という評価を決して否定するものではない。2.2.1の評価は事実であるし、アメリカの政策で、戦後最初に日本が要求された「品質の良いミシンのアメリカ市場への安定供給」という、日本国にとっては“押し付けられた”責務を完遂し、それ以上の結果を示したことは「日本の国体すなわち日本を救った」と言っても過言ではない評価を与えられるべきである。
 このことは「3.1.1ミシンの規格統一とJIS化」で詳述、解析するが、結論を先に記述する。
 当時の社会情勢として、日本国への干渉と見えるGHQ“指令”をそのまま表に出すと敗戦意識の一般市民を含め国民の反発は必至であり、また、事情を説明してから行う以降の具体策実施は業界内部からの反発が必至である。このような状況で、GHQ指令を表に出さずアメリカの要求を完遂すること、すなわち「日本のまだ固まっていない国体を守る」ことへのミシン産業界の必死の努力、辛苦は想像するに余りあるものである。これは、一般には未だよく知られていない戦後の繊維産業界の綿花輸入、綿布輸出の状況と似ており、ともに、その責務を完遂し、戦後日本の復興の礎となった事は如何なる敬意をもってしてもしきれない価値がある。
 この様にして、戦後の日本のミシンの歴史が始まるのであるが、それは同時に、日本が国産ミシンコピー時代を脱し、世界のミシン技術をリードしていく時代の始まりでもある。従って、戦後ミシンの歴史を、ミシン技術の進展、推移、及びその技術内容に焦点を絞り、次章にて記述する。

引用

1)日本産業規格,ステッチ形式の分類と表記記号,JIS L0120-1984.
2)Saint's sewing machine, 1874; https://collection.sciencemuseumgroup.org.uk/objects/co44734/saints-sewing-machine-1874-sewing-machines, 2022/1/15閲覧.
3)松浦京子 2005 学術講演「19世紀イギリスの衣類縫製業と女性ミシン掛け工」(2005/07/02 京都橘大学)での発言。
≪参考≫松浦京子,「19世紀イギリスの衣類縫製業と女性ミシン掛け工」,京都橘大学女性歴史文化研究所紀要,第14号,2005年度.
4)Copy of Thimonnier's chain-stitch sewing machine, 1830; https://collection.sciencemuseumgroup.org.uk/objects/co44718/copy-of-thimonniers-chain-stitch-sewing-machine-1830-sewing-machines, 2022/1/15閲覧.
5)Sewing machine by Elias Howe; https://collection.sciencemuseumgroup.org.uk/objects/co44744/sewing-machine-by-elias-howe-sewing-machine, 2022/1/15閲覧.
6)Sewing Machine Patent Model; Isaac Singer, 1855; https://americanhistory.si.edu/collections/search/object/nmah_1070391, 2022/1/15閲覧.
7)蛇の目ミシン社史編纂委員会編纂,「蛇の目ミシン創業五十年史」,蛇の目ミシン工業,1971.
8)福助株式会社足袋縫い鉄輪ミシン; https://www.fukuske.co.jp/contents/history/, 2022/1/15閲覧.
9)写真提供; ブラザー工業株式会社
10)日本ミシン協会日本ミシン産業史編纂委員会編,「日本ミシン産業史」,日本ミシン協会,1961.
11)黄孝春,「戦前期日本における綿花輸入機構の変容とその論理」,弘前大学人文社会論叢社会科学篇, 1号, pp. 45-59, 1999. (https://hirosaki.repo.nii.ac.jp/?action=pages_view_main&active_action= repository_view_main_item_detail&item_id=379&item_no=1&page_id=13&block_id=21)を基に筆者が推定.
12)社会実情データ図録(https://honkawa2.sakura.ne.jp/4750.html, 2021/9/4閲覧.)を基に筆者が加筆.

参考

蛇の目ミシン社史編纂委員会編纂,「蛇の目ミシン創業五十年史」,蛇の目ミシン工業,1971.
JUKI株式会社50年史編纂委員会編,「JUKIグローバル50 : 1938〜1988」,JUKI, 1989.
ブラザー工業株式会社100周年事業推進部編,「ブラザーの「一世紀」:ともに歩んだ100年の軌跡」,ブラザー工業,2009.
三菱電機株式会社社史編纂室編,「三菱電機社史:創立60周年」,三菱電機,1982.
https://ja.wikipedia.org/wiki/日米繊維交渉, 2021//4閲覧.
https://ja.wikipedia.org/wiki/Category:18世紀の戦争, 2021//4閲覧.
https://ja.wikipedia.org/wiki/Category:19世紀の戦争, 2021//4閲覧.

Contentsに戻る


 3 日本のミシン技術発展の推移

 第二次世界大戦後の日本のミシンの歴史は大きな転換期を迎える。
 国産ミシンコピー時代を脱し、世界のミシン技術をリードしていく時代が始まったのである。
 本章では、戦後ミシンの歴史をミシン技術発展の推移、技術内容に焦点を絞り記述する。また、技術の推移に伴い日本固有の概念で確立されたミシン技術の定義、分類等も独立して記述する。
 ミシン技術全般を概観すると、19世紀半ばから戦後までの約100年間に縫合のメカニズム、ミシンの機能、機構の解析、要素技術の発明は完成している。この時代の日本の技術は、「国産ミシンコピー時代」であり、世界の技術の進化に寄与することはなかった。しかし、戦後、世界の社会情勢による需要の変化は、日本製ミシンの供給を大幅に伸長させ、それに伴い日本のミシン技術の進化が始まり、世界の技術をリードする時代となった。その先駆けが、「国産コピーミシン」の究極の姿「ミシンの規格統一とJIS化」の完成である。「ミシンの規格統一とJIS化」は、部品製造から組み立て完成までの製造工程で“企業間分業システム”の確立に結び付き、この分業システムで製造したミシンは、完成品の品質が安定し、ミシンを使った縫製品の品質も高く、ミシンの性能向上に繫がった。
このような技術の方向性は、その後の日本のミシン技術に引き継がれ、それまでの約100年間に世界で考案、発明された要素技術を、実機で現実化、普及させる卓越した応用技術へ進化、世界のミシン技術をリードしてきた。従って、ミシンの縫製技術及び機械としての評価、解析への日本の向き合い方は、世界のそれとは若干異なっている。このような視点から、日本のミシン技術の進化、発達を考察する。

3.1 日本のミシン業界発展のマイルストーンとなった技術

 世界のミシン技術をリードしていく時代になると製造会社個々のマイルストーンは異なってくる。それは、ミシン業界のマイルストーンとなることもあり、ならないものもある。しかし、それが個々の会社の個性であり、強みとなり企業としての存在価値となっているのは間違いなく、それを含め日本のミシン技術力と言える。そこで、製造会社個々のマイルストーンとなる技術は本論と切り離し「3.4主な国内ミシン製造会社にとってのマイルストーン」として取り上げる。

3.1.1 ミシンの規格統一とJIS化

 戦後、戦時中の日本ミシン製造工業組合が、GHQにより戦時下の統制団体として解散させられた。更に、生産資材の配給、配分等戦後のミシン業界は幾多の難題を抱えていた。そこで、戦後いち早くミシン生産を再開した有力メーカー、帝国ミシン(現・蛇の目ミシン工業)、三菱電機、原田製作所(現・ハッピージャパン)、日本ミシン製造(現・ブラザー工業)、福助足袋、朝日ミシン、精研舎の7社が発起人となり1946年6月「ミシン製造会」を新結成した。
 同会は、同年10月に「ミシン技術協議会」を設置し、「規格統一」の検討を始めた。同協議会の発足主旨の説明で「ミシンの輸出には部品の互換性が不可欠の条件である」1)、「国内においては近い将来、シンガーの再進出が必至である」1)との発言が注目される。
 この発足と前後して、ミシン産業界が震撼する事が起こった。同年10月GHQより“突然”「外国製品名称使用禁止」の通告がされた。「外国製品名称」とは言え、当時、製造が許可された工業製品はほとんどなく、対象はシンガーナンバーなことは明白であった。国内外で使用されているミシンは、家庭用、工業用を問わずそのほとんどでシンガーナンバーが通用していた。
 後に、当時商工省の担当者であった一ノ瀬技官は次の如く述懐している。
 『次にシンガー商標と類似の問題である。昭和21年10月であったと思う。…(略)…(筆者(注)一ノ瀬技官はGHQに呼び出される)…「日本の国内で生産し、販売されているミシンは米国の有名品であるシンガーミシンの商標に類似のマークや、部品番号を使用したりしている。…(略)…各種部品に至るまでシンガー社でつけた部品番号を使用して取引をしているが、これは外国品との不正競争であるから、速やかに全面的に中止の措置を講ずるように」とGHQメモランダムを渡され、…(略)…機種の呼称、部品番号は当然いけないのみならず「S」の字のついているブランドでシンガー社の字体の「S」に似ているものや、アームの下部につける金属板の小判形マーク形はみな不可であるということであった。…』2)
 当時、日本の貿易はGHQ統制下で、基本、輸出入禁止の状況で、「ミシンの輸出には部品の互換性が不可欠…」、「…外国品との不正競争…」の2件の事案は、日本国内の外国製品に対抗する品質向上、不正競争でなく、アメリカの内政施策に基づく要求で、GHQ“指令”での実施なのは明白である。このことは、輸出、特に対米輸出の推移と「ミシン製造会」の施策の推移が一致することで証明される。
 1946年4月、貿易庁が発足した。当時、日本の戦後復興資材は、GHQ占領政策で輸入されていた。敗戦で外貨が乏しい貿易庁(日本)は見返り物資の輸出制限の限定的解除を得る。貿易庁は見返り物資指定項目に“ミシン”を上げ、完成ミシン800台の初輸出を三菱電機(250台)、帝国ミシン(250台)、日本ミシン製造(200台)、福助足袋(100台)に割り当てた。しかし、この800台の輸出は解決すべき難題があり、実施は1947年10月となる。難題とは品質改善(規格統一)と、「外国製品名称使用禁止」対応の「機種及び針の新名称」、「国産ミシン部品新番号」であり、これらの難題を検討し解決したのが「ミシン製造会」であり「ミシン技術協議会」であった。
 「ミシン製造会」発足と「ミシン技術協議会」設置は800台の受注が決まった時期と一致する。また、「ミシン製造会」、「ミシン技術協議会」発足、設置の発起人の中心は800台受注の割り当てを受けた4社であった。
 この800台の受注は、当時の契約としても極少量だが、業界の将来展望へ「輸出」と言う希望を持たせた。従って、800台の受注が貿易庁一括で、台数は貿易庁の裁量で有力製造会社に割り振られたことで、業界内部に「民間業者に直接貿易をさせよ」との強い要望が噴出し、新発足した「ミシン製造会」はそれに対応した。800台の受注は、政府管理貿易で、民間の貿易業者が外国の貿易業者と直接契約を交わすことを許さず、かつ、同一形状、同一外観の製品(HA-1型)であった。GHQに提出したカタログのコピーが残っており、不鮮明だが頭部にブランドも、ペットネームも記載されないまさに「カラスミシン」であり、カタログ上の製造、販売を示す「ブランド」は「BOEKI-CHO」となっている。

図 3.1 GHQに提出した当時のカタログ2)

 「民間業者による直接貿易」、すなわち、戦後の正式な民間輸出交渉は1947年8月貿易公団の発足と共に開始された。しかし、政府管理の条件付きの貿易で個々のメーカーが直接バイヤーと交渉することは許されても契約を結ぶことは許されず、ミシン製造会を通しての取引であり、GHQに登録した会社は、三菱電機、帝国ミシン、日本ミシン製造、福助足袋、愛知工業(現・アイシン精機)リズムミシン(中島飛行機)、パインミシン(日本製鋼所)、朝日ミシンの8社の製造による家庭用直線ミシンHA-1であった。
 この時期は、1947年10月ミシン製造会(ミシン技術協議会)の「HA-1規格標準図面の完成」発表の2カ月前で、GHQから要求された難題の品質改善(規格統一)と、「機種及び針の新名称」、「国産ミシン部品新番号」は解決していた。ちなみに、前出800台の輸出は1947年10月である。
 HA-1とはシンガー15種の新名称であり、国産ミシン新名称番号の公示は1948年8月だが、ミシン技術協議会では1947年6月に“家庭用ミシンHA-1型ミシンの寸法規格統一”を計画しており、この段階でHA-1の新名称は固まっていたと言える。
 1948年8月、輸出品取締法の施行1948年7月12日に伴い民間貿易の許可が下りた。これは同年同月の国産ミシン新名称番号の公示に呼応している。しかし、民間貿易により契約の自由度を広げたことも要因となり製品品質は安定せず、検査機関の充実、機種の厳格化を目的に1951年9月1日通産省告示221号で双眼鏡、家庭用ミシン及び同部分品、軸受鋼球を第1回品目として輸出品取締法7条に指定し、併せて民間検査機関の登録を開始することとし、登録基準と依頼検査に応じる政府機関(機械金属検査所)が発表された。
 このような一連の流れにおいて、寸法規格統一が家庭用直線ミシンHA-1に特化され、かつ厳しい外国製品名称使用禁止が行われたのは、アメリカ国内での家庭用ミシンの流通事情、及びアメリカ政府の家庭用ミシンの輸入政策によるものであると分析できる。
 アメリカ国内における民需品(家庭用ミシン)生産抑制は、家庭用ミシン製造会社及び流通を苦境に追いやるが、シンガー社は家庭用ミシンの生産の主力を早い時期からイギリスに移しており、ほとんど影響を受けなかった。従って、日本から供給される家庭用ミシンはシンガー社以外の製造会社の生産及び流通を補填するもので、シンガー社製のミシンの匂いを感じさせる名称番号、更には意匠関連を厳しく禁止しなければならなかったと言える。また、品質においても、シンガー製品と同等のものを必要としていた。
 更に、時期的には遅れて日本のミシン業界も知ることになるが、アメリカは、将来、家庭用ジグザクミシンが市場でシェアを大きく伸ばすと予測し、ジグザグミシンはシンガー製を含めヨーロッパから輸入、直線ミシンは日本から輸入する施策をとっていた。このことが、現在、日本が規格化した呼称番号等がシンガー呼称をしのぐほどに普及した一因となっていると思える。
 ミシン技術協議会について、その設立主旨が公表と若干異なることは上記で詳述した。この主旨に基づきミシン技術協議会の概要をまとめると、ミシン技術協議会の構成と規格統一を主とする活動の推移、及びその結果、効果の理解度が高まるので、以下に記す。

図3.2 HA-1 図面3)

図3.3 HA-1 型4)

 HA-1型規格統一に対し製造会会員社から、「ここまで規格統一をし、特長も単一化する必要があるか、むしろ、弊害を生む」と指摘があったのは当然である。
 “それに応え”関西地区ミシン技術協議会及び大阪府工業奨励館で図面によるアーム・ベッドから部品に至るまでの試作をし、1949年2月21日、大阪府工業奨励館で、組み立て及び性能試験発表会を行った。その結果、組み立て作業効率、互換性、そして何よりその性能が、出席者に期待以上の結果を示し、GHQの要求以上の成果を示した。「ミシン製造会」は1948年5月に改組し、「日本ミシン工業会」となり、その際、「ミシン技術協議会」も「技術委員会」と改称し当初目的の「規格統一」完了後も、ジグザグミシン、工業用ミシンの研究、検査、規格化に関与し、日本のミシン産業発展の一翼を担った。

表3.1 国産ミシン生産台数及び輸出台数2)

(昭和)年(西暦)生産台数①輸出台数②②/①
21年1946年36,91200.0
22年1947年133,949(2,000)0.01
23年1948年165,726(10,000)0.06
24年1949年274,468(95,000)0.35
25年1950年493,029(466,000)0.95
26年1951年1,030,289842,4940.82
27年1952年1,260,293865,2980.69
28年1953年1,318,059798,1420.61
29年1954年1,372,1151,176,7180.86
30年1955年1,696,3341,510,9900.89
31年1956年1,722,3661,452,3140.84
32年1957年2,181,4211,715,9650.79
33年1958年2,216,0621,709,5120.77
34年1959年2,571,6181,940,6610.75
35年1960年2,749,4711,747,2670.64

注:生産は動態統計、輸出は通関統計( )内は統計システムになく、筆者が資料から推定した台数


 「家庭用ミシンHA-1型の規格統一」の成果は、JES(日本標準規格)で順次規格化され、1949年JIS〔日本工業規格(現・日本産業規格)〕制定、施行に伴い、JESの規格はJISに移管、その後も順次JISで規格化された。
 JESは国際標準(ISO)準拠の標準規格だが、当時のアメリカは国際標準準拠の機関(AESC・現在のANSI)はあるが実質はMILスタンダード(United States Military Standard)が軍、民間を問わず使われていた。戦後、アメリカ特にGHQ統治下の日本の工業製品の大半はアメリカ向け輸出及びアメリカ軍が納入先であり、その基礎となる標準規格の違いが障害となっていた。そこで、基本は国際標準準拠だが、MIL規格を大幅に取り入れたJISという国際的には特異な標準規格を制定した。結果は一目瞭然で、朝鮮戦争特需も関係するが、アメリカ向け輸出及びアメリカ軍への供給が大幅に増加した。

表3.2 ミシン関連JIS 一覧

B分類(一般機械)
規格番号名称制定廃止
B0226ミシン用ネジ1954/06/262001/02/20
B9001家庭用ミシン用語(頭部部品名称)1961/03/011999/03/20
B9002工業用直線本縫いミシン頭部部品用語1968/03/011998/09/20
B9003家庭用本縫いミシンの裁縫用語1972/12/02
B9004家庭用ミシン用語(技術編)1977/03/011999/03/20
B9005工業用へり縫いミシン頭部部品用語1974/07/011998/09/20
B9006工業用送り出し腕形二本針二重環縫ミシン頭部部品用語1976/03/011998/09/20
B9007工業用一本針本縫い総合送りミシン頭部部品用語1977/03/011998/09/20
B9008工業用単環縫いボタン付けミシン頭部部品用語1977/03/011998/09/20
B9009家庭用ジグザグ本縫いミシンの縫い性能試験方法1981/01/151999/03/20
B9010家庭用本縫いミシン頭部の分類及び表記方法1955/11/25
B9011家庭用本縫いミシン1950/05/081994/04/01
B9012家庭用ミシン針1951/09/18
B9013家庭用ミシンテーブル1952/10/311994/02/01
B9014家庭用直線本縫いミシン頭部1957/10/301999/03/20
B9015家庭用ミシンのアームベット1958/03/291994/04/01
B9020家庭用ミシン部品の公差1983/06/01
B9021家庭用ミシンの押え1953/07/241995/02/01
B9022家庭用ミシンの垂直半回転かま1953/07/241999/03/20
B9023家庭用本縫いミシンのボビンケース1953/07/241999/03/20
B9024家庭用本縫いミシンのボビン1953/07/241999/03/20
B9025家庭用ミシンの上軸1975/11/01
B9026家庭用ミシンの下軸1975/11/01
B9027家庭用ミシンの針棒1975/11/01
B9028家庭用ミシンの押え棒1975/11/01
B9029家庭用ミシンのクランクロット1975/11/01
B9030家庭用ミシンの水平送り軸1975/11/01
B9031家庭用ミシンの上下送り軸1975/11/01
B9032家庭用ミシンの大振り子1975/11/01
B9033家庭用ミシンの二又ロッド1975/11/01
B9034家庭用ミシンのVベルト1957/09/181995/09/01
B9035家庭用ミシンの天秤1975/11/01
B9036家庭用ミシンの天秤カム1975/11/01
B9037家庭用ミシンテーブル用丁番及び錠類1958/12/161993/10/01
B9038家庭用ミシンのオネジ部品1962/06/01
B9039家庭用ミシンのメネジ部品1962/06/01
B9040家庭用ミシンの針板1959/03/301993/10/01
B9041家庭用ミシンの滑り板1959/03/301993/10/01
B9042家庭用ミシンモータ1959/02/272000/09/20
B9043家庭用ミシンの送り歯1960/09/011995/09/01
B9044家庭用ミシンの頭部受金具1983/06/01
B9045家庭用ミシンの二又ロッド接合ねじ1975/11/01
B9046家庭用ミシンのクランクロッド接合ねじ1975/11/01
B9047家庭用ミシンのねじセンタ1975/11/01
B9048家庭用ミシンの送り台ねじセンタ1975/11/01
B9049家庭用ミシンの二又ロッド接合ねじナット1975/11/01
B9050家庭用ミシンのクランクロッド接合ねじナット1975/11/01
B9051家庭用ミシンのねじセンタナット1975/11/01
B9052家庭用ミシンの送り台ねじセンタナット1975/11/01
B9053家庭用ミシンの足踏式駆動装置1963/02/011992/01/01
B9054家庭用ミシンの三つ巻押え1964/03/011993/10/01
B9055工業用ミシンの縫い縮み・縫いずれ試験方法1986/11/011998/09/20
B9056工業用ミシンの糸締り試験方法1986/11/011998/09/20
B9057工業用ミシンの糸張力測定方法1990/11/011998/09/20
B9061家庭用ジグザグ本縫いミシン頭部1961/01/011999/03/20
B9062工業用ミシンの針温度測定方法1985/03/011998/09/20
B9064工業用ミシンの騒音レベル測定方法1981/12/01
B9065工業用ミシンの振動測定方法1983/02/01
B9067工業用ミシンのラバーヒンジ1976/03/011993/10/01
B9068工業用ミシンの押さえ棒1974/07/011998/09/20
B9069工業用ミシンの送り台1974/07/011998/09/20
B9070工業用ミシンの分類に対する用語と表示記号1962/03/01
B9071工業用LS1低速ミシン頭部1964/03/011998/09/20
B9072工業用ミシンの垂直全回転釜1964/03/01
B9073工業用ミシンのボビン1964/03/01
B9074工業用ミシンのボビンケース1964/03/01
B9076工業用ミシン針1962/03/01
B9078ミシン用歯形ベルト1968/07/011993/10/01
B9079ミシン用歯形ベルト車1968/09/011993/10/01
B9080工業用ミシンの押さえ1970/02/011998/09/20
B9081工業用ミシンの送り歯1970/02/011998/09/20
B9082工業用ミシンの針板1970/02/011998/09/20
B9083工業用ミシンのリンク天秤1971/02/011998/09/20
B9084工業用ミシンの針棒1971/06/011998/09/20
B9085工業用ミシンの針棒抱き1971/06/011998/09/20
B9086工業用ミシンの針棒クランクロッド1971/06/011998/09/20
B9087工業用ミシンのすべり板1973/07/011998/09/20
B9088工業用ミシンの針止め1974/07/011993/10/01
B9089工業用ミシンのクランクロッド1974/07/011988/12/01
B9090工業用ミシンの二又ロッド1974/07/011988/12/01
L分類(繊維)
規格番号名称制定廃止
L0120ステッチ形式の分類と表示記号1984/07/01
L0121シームの分類と表示記号1984/07/01
L0122縫製用語1987/08/01
L1093繊維製品の縫目強さ試験方法1978/11/01
L1116輸出綿縫糸の検査標準1961/03/01
L1306輸出絹縫糸の検査標準1964/03/01
L1406輸出麻縫糸検査標準1964/08/01
L1905繊維製品のシームパッカリング評価方法1994/03/01
L2101綿縫糸1958/04/26
L2310絹縫糸1957/11/25
L2403麻縫糸1958/10/07
L2510ナイロン縫糸1968/10/01
L2511ポリエステル縫糸1968/10/01
L2512ビニロン縫糸1968/10/01
L2513ポリノジック縫糸1978/08/01
Z分類(その他)
規格番号名称制定廃止
Z0705輸出家庭用ミシンの包装1953/07/241989/03/01

 国際標準規格とMIL規格の違いで、特に重要なのは度量衡の違いであり、単位の違いは取引に大きな障害となった。しかし、MILがinch/pound表記なのに対し、JISは国際標準規格のm/g表記とした。これは、国際標準規格に従い測定器、産業用加工機器がm/g系でできていた為である。JISはこの違いに、標準規格の換算表記単位を、小数点以下の桁数まで下げる対応をとった。
 ミシン分野では、国産ミシンコピー時代、シンガー製ミシン部品(inch)をメートル(mm)で読み取り製造しており部品が不揃いでバラバラだったのは当然である。「HA-1の規格統一」では性能と互換性を重視し、図面表記寸法を小数点以下、下2桁まで下げ規格化したことで成果を上げた。このような対応と、部品加工技能の優秀さが、期待以上の性能を生む結果となった。HA-1の成功例が、JIS制定に多大な影響を及ぼし、JIS制定後、日本の工業産品がアメリカ向け、アメリカ軍向け製品急増の結果となったことは明白である。また、現在、日本が規格化したミシン関連呼称番号等がシンガー呼称をしのぐ程に普及した一因となっている。
 表3.2に廃止された規格も含めミシン関連JIS一覧を示す。制定が空欄になっている規格は、JESから引き継がれた規格である。


 

3.1.2 電気技術の導入

 機械製品であるミシンに、電気技術、電子技術がどのように導入されてきたかを、「図3.4家庭用ミシンの構成概念図」を用いて説明する。
 図3.4で家庭用ミシンの概念上の構成は入力系、制御系、出力系に大別される。また、「動力源」から縫製品を構成する「出力」までの駆動力伝達の流れを矢印で示す。

図3.4 家庭用ミシンの構成概念図


(1)構成概念図の説明

 最初に、電気技術を導入する前の機械技術だけを使った具体的構成を説明し、その後、電気技術を導入することで、具体的構成がどのように変化したかを説明する。
 機械技術だけを使っての駆動力伝達の流れと具体的機構の説明をする。駆動力伝達の流れを黒塗り矢印(含・斜線矢印①)で示す。「動力源」は人力で、それを伝える「入力機構」は、手廻し式ではフライホイールと、回転を倍速し「駆動軸(上軸)」に伝達する歯車機構である。足踏み式では踏板を踏みベルト車を回転させる機構であり、回転を「駆動軸」に伝達する伝達ベルトである。また、「調節機構」のレバーやダイヤル、ボタンは、指先等の人力で動かされる。ただし、ミシンの起動、停止及び速度調節は「動力源」の操作、人力で行われる。「駆動軸」は、「出力機構」のうち、縫い目を形成する基本機構、「針を上下動する機構」、「送り歯を動かす機構」及び「釜を動かす機構」を直接駆動する。「出力機構」のその他の機構は「制御機構」で駆動される。「制御機構」は2機能を持つ。1番目の機能及び機構は、「布送り量(縫い目長さ)を制御する機能及び機構」と、「振幅(針が布を貫通する位置)を制御する機能及び機構」である。この二つの機能及び機構を組み合わせ布に模様を縫い付ける。模様を自動的に形成する機械式記憶装置の模様カム(回転カム)が「制御機構」に複数種類積層され、積層模様カムを回転させる機構も1番目の機能及び機構である。「制御機構」から発生した駆動力は、ロッド等を介し「出力機構」へ伝達される。この1番目の機能及び機構の駆動源は「駆動軸」である。(図3.4では斜線矢印①で示す。)
 2番目の機能及び機構は「調節機構」から“指示”を得て「布送り量を制御する機構を調節する機能及び機構」、「振幅を制御する機構を調節する機能及び機構」「模様を選択する機能及び機構」(積層カムを選択する機能及び機構)である。2番目の機能及び機構の「動力源」は「調節機構」を介した人力である。
 次に、ミシンに電気技術が導入されると、図3.4の流れと各機構がどのように変わるかを説明する。
 「動力源」にモーターを導入すると、「動力源」から「入力機構」への駆動伝達が人力から電動モーターに換わる。変換に伴い「入力機構」の手廻し式、足踏み式に使われる機構は、「動力源」に属するフットコントローラーに置き換わる。フットコントローラーの操作は人力で行われる。「入力機構」は「動力源」(電動モーター)から「駆動軸」へ駆動力を伝達する伝達ベルトのみとなる。
 電子技術の利用では、「ミシンの停止位相((針の上位置停止、下位置停止)」機能及びその選択機能が付加され、「ミシンの起動、停止及び速度調節」も含め「調節機構」に新設、移管され、「調節機構」から「電動モーター」に指示(信号)のみが伝達される(図3.4でその流れは表記せず)。このような機能を指示(信号)する電源(低電圧)としてトランスが「動力源」に新設される。また、フットコントローラーを使い「起動、停止及び速度調節」機能を従来通り使用する事も可能で、切り替えはフットコントローラーとミシン本体との接続、切り離しで自動的に行われる機能も付加される。
 コンピューターの導入では、「制御機構」の1番目の機能及び機械式記憶装置が全てコンピューター機能及び電子機能に置き換わり、駆動力伝達は「駆動軸」から切り離され②、「動力源」にステッピングモーターが新設され、「制御機構」のコンピューター及び電子機能から指示(信号伝達)を得て「制御機構」を駆動し②、「制御機構」からの駆動源となりロッド等の伝達機構を介し「出力機構」へ伝達される。ただし、「制御機構」の2番目の機能及び機構の糸調子調節機能は、「調節機構」、『「調節機構」から「制御機構」への指示と動力伝達』、及び「制御機構」の全てが従来通りであるが、家庭用刺繍機能付きコンピューターミシンの出現により、(指等による)選択入力以外は全てコンピューター及び電子機能に置き換わる傾向にある。家庭用刺繍機能付きコンピューターミシンでは、選択入力を受ける「調節機構」のインターフェースは、ミシンにとって新しい電子部品「液晶表示」と「タッチパネル」の組み合わせが使用される。このように「調節機構」は「糸調子調節機構への選択入力」「スタート、ストップ」「返し縫い」「定位置停止切り替え」の各ボタン操作以外の機構が電子技術に置き換わり、「制御機構」の各機構は「動力源」に新設されたステッピングモーターから駆動力が伝達される②。この結果、糸調子発生部材〔糸調子皿(ディスク)、(ディスク)押圧ばね、ばね調節部品〕と、「駆動軸」及び「制御機構」から受ける駆動力の伝達機構を含め「出力機構」のみが「機械技術」だけを使用し、従来と何ら変わることはない。

(2)ミシンの駆動源にモーターを導入

 電気技術の導入は動力源(モーター)としての導入が最初である。一般的機械製品で動力源が人力又は馬力(動物の力)から科学的な力への変換はエネルギー革命であり、その方法は熱機関、空気圧、水圧、電気技術等様々である。産業革命では、熱機関(主に蒸気機関)が主力であった。工業生産工場では、熱機関で駆動され回転するメインシャフトが工場全体に設置され、各機械類はそのシャフトからベルトを介して動力を受け取るシステムが使われ、かつ、空気圧による駆動源として工場全体に渡り高空気圧の配管がされていた。
 実際に、日本でも、1960年頃まで熱機関又は電動大型モーターで回転されたメインシャフトが工場全体に設置された生産工場が残って稼働していたし、工場内に高空気圧の配管がなされた設備は1980年頃まで利用されていた。熱機関及び大型モーターは駆動系に、高空気圧は制御系に使われていた様である。

図3.5 メインシャフトのある工場内風景5)


 この様な工業生産の状況を踏まえ、ミシンを生産機械として導入した時期の縫製工場の状況を推測する。ミシンは生産効率を上げる為に高速化が要望された。ミシンが高速に耐えても、人力が動力源では1,300~1,800針/分が限度である。しかし、当時の縫製工場の主たる生産手段は縫製工の「手縫い」であり、動力伝達のメインシャフトを工場全体に配置するシステムは装備されていなかった。当時の工業用ミシンの仕様は最高回転数3,000針/分で、一機械に一駆動源、すなわち、ミシン専用電動駆動モーターが必要であった。各種文献によると、「1889年(シンガー社)初の電動式ミシン発売」とある。当該電動式ミシンが「家庭用ミシン」か「工業用ミシン」か定かでないが、「電動式ミシン」を必要としたのは「工業用」で、「家庭用」は人力で十分であり、時期的に当該電動式ミシンは「家庭用ミシン」と判断でき、この時期「工業用ミシン専用電動モーター」は既に使われていたと推測できる。
 ここで、あえて「工業用ミシン専用」と記したのは、ミシン用モーターが、ミシンの特殊性に対応し、電動モーターの常識と異なる特殊モーターだからである。
 ミシンの特殊性の1番目は、ミシンの駆動軸の回転方向が他の機械類及び人間の社会生活で常識の正回転(右回転、時計方向回転)に対し、逆回転(左回転、反時計方向回転)である。これは、ミシンが社会で使われ始めた時の駆動源が「手廻し(式)」なことに起因する。手廻し式の駆動機構は正回転(右回転)で駆動するフライホイールの回転が歯車の組み合わせで倍速され駆動軸に伝達する。歯車による駆動力伝達方法がミシンの駆動軸を逆回転(左回転)とした。駆動軸の回転方向は、入力機構が「手廻し(式)」から「足踏み(式)」、すなわち、ベルト伝達になっても変わらなかった。「足踏み(式)」駆動力発生方法は、駆動機構を回転するのでなく踏板(ペダル)を上下往復運動する方法で、駆動軸の回転方向を変える必要がなかった。ミシン専用電動モーターは、市場で足踏み式と混在することから、一般的モーターと回転方向が逆回転(左回転)の特殊モーターである。
 2番目のミシンの特殊性は、使用状態にある。ミシンが対象とする縫製品は様々な箇所の細かな縫合を行い連続駆動時間は長くても数十秒であること、使用区間は正確な長さが必要であることから起動、停止が頻繁に繰り返され、起動、停止の位置が正確であること、駆動時間内の速度が一定であること(1縫目長さの変化に影響を与える速度特性が生じてはならない)が要求される。また、ミシン全体の機構は、色々な機能を持つ其々の機構が同期して動かなければならない。駆動軸はその同期を担っており、起動、停止も含め動きを各部へ正確に伝達、制御しなければならない。他の生産機械の大半は単一機能、単一機構なので、駆動軸は常に回転し、単一機構との間にクラッチを設けて接続、切り離しをするのみである。駆動軸の回転をON、OFFするより、駆動軸が常に回転し、クラッチで接続、切り離しをする方が、駆動力及び速度の伝達を即時ほぼ一定に保てる。すなわち、ミシンの駆動軸は一般生産機械の駆動軸とは真逆な機能を必要とされている。このようなことから、現代の分野、分類で言うなら、ミシンは「機械分野」より「ロボット分野」に近いとも言える。
 ミシン専用電動モーターは、ミシンの駆動軸の特殊性に対応する為、常に回転し、特殊なクラッチ装置を内蔵している。すなわち、ミシンの起動、停止に合わせモーターをON、OFFしたのでは、ON時の時定数が問題となる。ミシンの連続使用時間は数秒~数十秒で、時定数の時間内に縫製が完了し、所望の縫い速度が得られず、かつ縫製中の縫い速度も変化する。更に、OFF時には慣性力で正確な停止位置が得られない。この為、ミシン専用電動モーターは常に回転し、縫製開始時に回転しているモーターへの接続、及び、縫製終了時にモーターへの接続を切り離し慣性力にブレーキをかけるクラッチ機構が必要となる。
 ミシンの駆動源に電動モーターを導入しただけのことを詳細に説明したのは、電動モーターの導入が、単にその後のミシン技術の発達に影響したからではない。この導入でなされた「1機械、1駆動源」のシステムが、他の産業用機械、及び他の産業の発展に大きく影響、寄与したからである。「1機械、1駆動源」の方法は、様々な機械が1つの生産工場で稼働し、仕事を分業していた生産方式から、一工程を別の場所で行うことを可能にした。企業間分業を可能にしたのである。これにより、一部品製造の専門企業の存立が可能となり、特定製造分野の専門技術向上につながり、製造の効率化、製品の品質向上が促進され、各分野の産業の発展に寄与した。ミシン技術に導入した電動モーターは、ミシン産業、及び縫製産業に変革をもたらしたのみでなく他の産業発展の試金石となったと言える。

技術と技能

 「ミシンの規格化とJIS化」の話をすると、必ずと言ってよいほど次の質問がされる。
「ミシンの規格統一及びJIS化は、シンガーミシンが機種毎に部品の形状、寸法が異なっていた(バラバラだった)のに対し、国産ミシンが部品の規格統一をして対抗し、成果を上げたのではないか?“規格統一前、各製造会社の部品の形状、寸法がバラバラだった”という根拠は何か?戦前(規格統一前)のミシンがそんなに品質の悪いものだったのか?信じられない。」
 確かに、「ミシンの規格化とJIS化」の結果はその通りなのである。
 戦前のミシンの品質についても素晴らしいものであり、2.2.1でも述べているように、昭和初期の「シンガー家庭用ミシン15種」のコピーミシン製造において部品のトレーサビリティが確保され、企業間分業を可能にしている。このコピーミシンは、「コピー」と言うよりは「純国産」と言ってよく、日本のミシン技術発展の起点となった。
 このような結果をもたらしたのは、優秀な加工技術者の“技能”である。「針の幹の太さ」を例にとると、彼らの指先は千分の一ミリ単位(ミクロンオーダー)まで判別できる感覚が磨き上げられていた。すなわち、参考とする「針」そのものと同じ太さの「針」を加工、判別できたのである。戦前、ミシン事業に成功した会社にはこのように優秀な技能者が複数人いたのであろう。例えば、其々の会社社史から推測すると、ブラザー工業では安井実一、蛇の目ミシン工業では亀松茂がおそらくそのような技能者であり、三菱電機、福助足袋にも同様な技能者がいたと思われる。
 戦後、ミシン製造の経験のない会社が参入したことにより、部品の形状、寸法がバラバラなミシンが製造され、その中には品質の悪いものもあり、その主な原因はインチのミリ換算にあった。そこで、規格統一として、インチのミリ換算を100分の一ミリ単位まで明記した。この数値(精度)は図らずも優秀な技能者の判別能力に近いものであった。この規格により、製品品質が安定したばかりでなく、JISに採用されることにより、他の産業でも品質が安定し、あるいは海外製品(特に米国製品)とのトレーサビリティが、むしろ精度よく可能にし、特に米国向け輸出が増大する結果となった。
 しかし、換算精度を上げはしたが、測定器具の精度がなければ、「絵に描いた餅」でしかない。その対策として、「通り止まりゲージ」(例えば軸の測定には基準になる二つの穴を設け、その一つには通り、一つは通らない)などを使った。すなわち、寸法を測定(定量的測定)するのではなく、”技能“の測定具化(定性的測定)であった。また、換算精度を上げたことに対応することにより、昭和20年代から30年代にかけて、日本の測定機器(定量的測定)の精度が急速に向上し、後に、世界的水準としても日本の測定機器が評価される結果を生んだ。
 以上を総括すると、総論的に「技能」は「技術」より優れているが、生産性の観点からは「技術」の利用の方が、効率が良い。更に、技術の伝承は「記録の伝承(定量的伝承)」であるが、「技能」の伝承は「人から人への伝承」(“経験”と定性的伝承)である。このことから、社会環境の変化に伴い技能の伝承は難しい環境となっており、現在は、ほぼ途絶える状況となっている。日本での技能の伝承は、“工芸品”等のいわば“芸術品”としての伝承の領域でのみ継続されている状況にあると言える。
 現在、高度な技術が要求される時代を迎え、「技能」の「技術」化、あるいは、「技能」の伝承をどのように継続するかが、日本のあらゆる工業界が抱えた21世紀の課題と言えよう。


(3)電子技術の利用

 ミシン技術のマイルストーンに「自動糸切装置」がある。自動糸切装置は、ミシン技術が目指す縫製作業の自動化の基本的機能である。「自動糸切装置」は欧米のミシンで搭載されていたが、「完璧な性能、品質を備えた自動糸切装置」搭載は、日本の縫製産業隆盛に伴い工業用ミシンに求められた最大の課題であった。1960年代後半から1970年代にかけ製造各社は「完璧な性能、品質を備えた自動糸切装置」の開発にしのぎを削った。自動糸切機構の動作は、各機構の作動タイミングに合わせ非常に短く正確な位相範囲での作動と低速での駆動を要求した。これを満足しないと、自動糸切機構の部品のみでなく、周辺部品間の干渉が発生し、ミシンが壊れてしまうのである。また、自動糸切装置は、その機構の一部が縫い目を形成する各機構の稼働スペースに割って入ることから、縫い品質に悪影響が出ないよう、部品は薄く小さく、糸切断機能は確実かつ切断残糸長さが正確で、繰返し動作での糸長の安定確保が必要な開発難易度の高い機能である。この位相検出及び駆動モーターの速度制御に電子技術が使われた。しかし、開発当初の電子技術、位相検出及び電気部品では自動糸切機能の要求を満たせなかった。例えば、自動糸切装置の駆動源に電気部品を使うと、糸切装置の稼働位相が狂い事故につながり、最終的には自動糸切装置の駆動源を下軸とし、連結、切り離しをするクラッチ機構に位相検出から得た位相信号でトリガーをかける方法を採用するが、それでも、位相検出の精度、糸切機構の慣性力に起因し稼働位相がばらつく問題が残った。開発当初の自動糸切装置はこれらの問題を解決する技術水準になく、干渉時の事故を防ぐ為、縫い品質への影響を許容し糸切装置部品を厚く大きく頑丈にする手段をとっていた。
 日本の工業用ミシン製造各社は、自動糸切機能を単なるコピー技術として導入するのではなく「完璧な性能、品質を備えた自動糸切装置」の開発を目指したのである。その努力が電子技術の応用技術として実を結び、実機として具体化したのは1970年前後となる。その開発での辛苦のすさまじさは、ミシン業界自らが『1960年代後半から1970年代にかけて「自動糸切の時代」』と呼んでいることに表される。実機搭載の時期に、その後の自動糸切装置すなわち縫製の自動化の方向性に重要な影響を及ぼすエピソードがある。「完璧な性能、品質を備えた自動糸切装置」のほぼ完成を見る段階で、各社其々が工業所有権を獲得する為特許出願をしたが、JUKIがわずかに早く出願しており工業所有権を獲得する見通しとなった。JUKI以外の各社は、独自に開発した技術を実機搭載できなくなるという事態に陥った。しかし、JUKIは出願のわずか一カ月前に公の展示会で、新自動糸切装置搭載の新機種を発表していた。この事実が発覚し、この新機種が公知事例となりJUKIを始めミシン各社の出願は(内容の一部を除き)全て工業所有権が認められなくなった。その結果、ミシン製造各社は、独自で開発した自動糸切装置を実機に搭載でき、自動糸切装置すなわち縫製の自動化の方向性が現実のものとなったのである。
 「完璧な性能、品質を備えた自動糸切装置」の完成で重要な役割を果たしたのが、1980年前後に、ミシン駆動源のモーターがクラッチモーターからDCサーボモーターへ転換されたことである。ミシン本体に装備された検出器から得た信号から制御を精度よく解析する電子回路、及びモーターの速度制御機能を搭載したミシン専用DCサーボモーターの開発は「完璧な性能、品質を備えた自動糸切装置」の完成になくてはならない役目を担ったと同時に、その後の縫製自動化を担う周辺機器の開発でも重要な意味を持つ技術となった。
 一方、日本での家庭用ミシンへの電子技術の利用は1970年を起点に始まる。
 しかし、この時の電子技術の利用は、ミシンの最高速度を切り替えるだけのものであり、その技術は既にシンガー社のミシンで利用されていた技術であった。
 国内ミシンが、「電子ミシン」と謳いだしたのは1975年前後であり、低電圧電源を利用するためのトランスを内蔵して電子回路を装備し、ミシンの定位置停止機能(針の上位置停止、下位置停止)、手元スイッチ機能(ミシン機能の起動、停止スイッチ)、ミシンの速度調節機能(速度調節ボリューム)をミシン頭部に搭載した段階である。特に、手元スイッチ機能と速度調節機能は日本市場独特の需要に対応した日本製ミシン独特の機能である。電動ミシンは、足踏みのコントローラーがその機能を担ったが、欧米の文化が椅子を使う文化なのに対し、日本文化は床(畳)に直接座る文化である。つまり、動力源がモーターに変わった段階で椅子でのミシン操作が必要なくなった。しかし、床に直接座ってのコントローラーの使用は非常に困難であった。従って、上記2件の機能のミシン頭部搭載は日本市場の願望を満たすものであった。すなわち、電子技術が非常に有効に利用されたことになる。ちなみに、「電子ミシン」という言葉と、電子ミシンをミシン技術発達の象徴として日本市場に浸透させたのは、当時、リッカーミシンの電子ミシンに付けられた「電子のお針箱」というペットネームである。

 

(4)コンピューターの導入

 日本でのコンピューター技術の導入は「家庭用ミシン」が1980年を前後して導入され、「工業用ミシン」も同時期ミシン用DCサーボモーター、及び、縫製自動化に伴う縫製システム全体の制御で利用している。だが、家庭用ミシンでの導入は、ミシン技術を大きく変革し、はっきりとその変革が前面に現れた。
 家庭用コンピューターミシンは1970年代前半に、シンガー社がアメリカ市場に投入した。それを入手した日本のミシン各社は驚愕した。シンガー社製コンピューターミシンはとてもミシンと呼べない品質(特に縫い品質)の悪いものであった。おそらく、電気技術者が数値通りに開発し、機械技術者の手が加えられていなかったと思われる。従来のミシン技術者は、ミシンの設計から製品化までに、送り量、振幅量、糸調子、速度特性等、縫製物の品質に関係する要因は、主に実験を通し設計値に補正をかけていたからである。
 それにも関わらず、このコンピューターミシンに驚愕したのは、ミシンの将来性が明確に見えたからである。まさに、HA-1型の成功以後培われた、「単にコピー商品を忠実に作るのではなく、それを上回るミシンを作る」という観点から当該機を見ていたといえる。
 例えば、カムを使った機械式記憶機構では縫い模様データー1サイクルの運針数が限定されるが、コンピューターミシンではフリーになる(模様1サイクルの運針数を制限なく多くできる)こと、1針毎に速度を変化、制御できること、限定されていた模様数がフリーになる(もっとも当該機は、当時のメモリー機能(ROM)の容量により限定され、模様数はそれまでのミシンと変わらなかった)ことなど、今までに苦労しても成し得なかった課題が一挙に解決されると直感したのである。
 世界最先端の技術を搭載した国産コンピューターミシンを日本のミシン製造各社が市場投入したのは、シンガー製コンピューターミシンを見てからほぼ10年弱が経った1979年から1980年代初期にかけてである。
 この開発の辛苦を物語るエピソードを是非紹介したい。当時、筆者はミシン開発の機械技術者であったが、ある日、公私ともに親しかった先輩でコンピューターミシン開発の電機部門担当リーダーの電気技術者(リーダーと言っても長引く開発で途中からほぼ1人になっていた)が突然職場に入ってきて「おい、動いたぞ!直ぐに来い!」と半ば強制的に開発していた部屋に連れていかれた。そこには、確かに満足できる素晴らしい「コンピューターミシン」があったのである。しかし、筆者の発した感想は「先輩!このミシンを回路の中に組み込むことはできても、この回路をミシンの中に組み込むことは、少なくとも俺にはできないね」と言ってしまったのである。確かに、当時最先端の電子技術のシーケンスで組まれたプリント板が整然と収められた棚が部屋の壁一杯に並べられていたのである。「ばかやろ!」といつもの様に明るく反応すると思っていた筆者の予期に反して、先輩電気技術者は「そうなんだよな~」と意気消沈してしまったのである。

図3.6 ジャノメ家庭用コンピューターミシン6)

図3.7 ブラザー家庭用コンピューターミシン3)

 しかし、当時のマイコンと集積回路(IC)の急速な発達もあり、それから2年足らずで国産コンピューターミシンが現実のものとして市場投入された。
 このコンピューターミシンの開発開始から上記エピソードを経て実機(製品)に至るまでの経緯は、「不可能と思われる課題も、自らの開発技術を駆使し可能にする」という開発技術者の神髄が、先輩電気技術者の行動を教訓に筆者の心に深く刻まれた。他の国内ミシン製造会社でも同じ事が繰り返されたと思う。一方、コンピューターミシン開発の先駆者であるシンガー社は、その後、日本の製造会社からOEM供給を受け、家庭用コンピューターミシンの開発をやめてしまった。
 科学者は別として技術者にとって「他人の発明を参考にしたり真似をすることは決して恥ではなく、その発明をより完璧なもの、その発明以上のものを現実のものにすることは、発明をしのぐ価値がある」と言えるのではないか。「何を、何のために」自分の“正義”と“信念”に従い、困難な課題でも自らの技術力により現実の“もの”とすることが技術者の矜持と言える。
 このような観点から、過去の技術を精査し、かつ、現在及び将来の社会環境あるいは市場環境を予測し、的確な製品開発をして行くことが技術者の使命と言える。
 工業用ミシン本体へのコンピューター搭載は1993年発売のブラザー電子ミシンDB2‐DD7000でのモーターの内蔵化、ドライヘッド化に端を発する。工業用ミシンは機構部分の潤滑の為強制循環給油がされており、モーター、コンピューター及び電子回路を搭載するには強制給油機構を排除する必要がある。しかし、自動機、外部モーター等でミシンのコンピューター制御は従来から導入されている事、業界規定の家庭用ミシン分類定義に準拠して「電子ミシン」と表記している。
 工業用ミシン本体へのコンピューター機能搭載が遅れた要因には縫製業界の推移が大きく影響している。
 工業用ミシンの電子化は「自動糸切装置」の開発に始まるが、それは、縫製の自動化の始まりであった。
 縫製の自動化は、縫製産業界の最大の課題であり、課題の解決には、「縫合」以外の縫製作業の自動化が重要になった。縫製自動化の方向性は、ミシンを縫製システムの一部「縫合工程」を担う機材とし、ミシンの制御はミシン本体ではなくシステム全体の制御に委ねられることになったのである。しかし、繊維業界に大打撃を与えた1972年「日米繊維協定」は、縫製産業に影響し、急速に進む縫製自動化にも陰りを与えた。更に、1990年の「繊維縫製品の流通改革」は、日本のアパレル産業、縫製産業に壊滅的打撃を与え、縫製の自動化の方向性もほぼ消滅してしまった(縫製の自動化の推移の概略は3.4の「友縫機械」の製品の時代的経緯から理解できる)。この結果、日本のアパレル産業、縫製産業の多くは国内生産から、生産コストの低い発展途上国へ生産を移行し生き残りを模索した。発展途上国では、国の発展に工業化は必須条件であり、設備投資で極めて低額の縫製産業に最初に着手するのが、既に“常識(常態)”であり(ミシンは、他の産業の生産機械に比べ価格は2桁も3桁も違う)、発展途上国の目論みと日本の縫製産業の目論みが一致し、生産工場の移行は歓迎されスムースに達成された。このような時代環境で変化した市場要求に工業用ミシンの機能が過去の技術に“後退”することとなる。極端な例は、この時点での市場要求は自動糸切装置の必要ないものである。ミシン作業の後、ミシンの後ろに縫い糸の糸端末を切りそろえる作業員を配置することでこと足りるのである。むしろこのような作業方法は、製造コストを上げることなく、工業生産に多くの人が従事できることとなり、国民の生活水準の向上に寄与する結果を生むことになる。
 一方、国内に残った縫製工場は「1品1生産」か、それに近い生産に活路を見出していた。いわゆる、多品種少量生産である。この生産は、注文から供給までのリードタイムが重要な要素となり、国内生産の優位性が高い。この生産に使われるミシンの汎用性が、自動縫製システムよりはるかに求められ、工業用ミシンの電子化、コンピューター化が再び始まったのである。
 このように、地域又は社会環境で異なる市場要求に事細やかに対応した日本の工業用ミシン産業は、現在、世界のミシン供給の大半を占めるようになった。


(5)刺繍機能付きコンピューターミシン

 日本発祥の家庭用刺繍機能付きコンピューターミシンは、日本の各ミシン製造会社に留まらず世界の有力ミシン製造会社が市場投入し、世界中の市場で家庭用ミシンの「最高級機種」と認知され、市場シェアも拡大を続けている。
 この機種はコンピューターミシンと刺繍機の複合ミシンであり、開発起源は、筆者が「コンピューターの導入」で紹介した先輩電気技術者のバックアップを得て考案、開発し、「原型」を作成したことにある。この「原型」は正にコンピューターミシンと刺繍機の複合機そのものであった。しかし、本機種が1989年~1991年にかけて、順次、世界の市場に投入された時には、当時の最先端の電子技術が数多く搭載されたミシンとなっていたのである。
 当時の最先端の電子技術とは、ステッピングモーター、液晶表示装置、タッチパネル、メモリーカードである。特に、現在はどの産業製品でも欠かせない技術となったタッチパネルとメモリーカードの製品利用は、当時、他の産業分野を含め利用例は少なく、このミシンでの本格的製品使用の結果が、他の産業分野でのタッチパネル、メモリーカードの利用範囲の拡大に寄与したと言える。ステッピングモーターは、既に、コンピューターミシンの開発時に採用されていたが、刺繍機能付きコンピューターミシンではその使用範囲が広げられた。また、表示装置もミシンでは、機械式表示装置からセブンセグメント表示へ推移し、更に、液晶表示装置が採用され始めていたが、刺繍機能付きコンピューターミシンでは、液晶表示装置がタッチパネルと組み合わされその機能の応用範囲が拡大し、それに伴い大型となった。

図3.8 刺繍機能付きコンピューターミシン6)


 タッチパネルとメモリーカードの導入に当っては、電子部品供給会社の親身な協力が成功へ結びついた。
 電子部品の製造販売を行う電気産業に属する「電気会社」はとてつもない大企業である。それが中小企業であり、彼らにははるかに小さな市場規模しか持たないミシン会社に親身に対応したのである。彼らの新しい技術の製品は当然既に出来上がっており、商品として市場投入するに当って残す工程はフィールドデーターの収集、及び解析による検証治験段階であった。ミシン市場の大きさはフィールドデーターを取るには丁度良い規模だったのである。製品数量の小ロット発注(ミシン会社にとっては大ロット発注だが)に対し対応を得られたことも含め、本機種は大成功を収め、電子部品供給会社も本機種でのフィールドデーター収集が起点となり、上記の新技術が市場に認められ巨大な新規市場を獲得した。時期的に両者の思惑が一致した事は幸運であったと言える。
 本機種の成功は、「縫合」関連の機構を除き、大半の機構及び調整、操作部分の「機械部品」が「電気部品」に置き換わり、世間一般の認識も「機械製品」から「ミシンは電気製品」と言う認識に変わってきた。
 ただ、ミシンの準電気製品化の流れは弊害も生んでいる。ミシンの流通経路の一番川下に「ミシン販売店」がある。ミシン販売店は他の小売店とは特異な「単一商品群(ミシン)1販売」を行う小売店である。この販売形態をとって経営が成り立つのは営業の内容がミシンの販売はもちろんであるが、ミシンの修理、メンテナンスすなわち専門技術の販売を柱としているからである。ところが、電装部品の修理、メンテナンスは電装部品の総取り換えであり、そのほとんど全てが製造工場で行わなければならない環境になった。すなわち、ミシン販売店は技術販売と言う経営の重要な柱の1本を失い、更に、ミシン販売は一般の小売店でも行える状況となり、経営のひっ迫した状態に陥り、街から次第に姿を消していっているのが現状である。


3.1.3 工業用ミシンのマイルストーン

 第二次世界大戦後の日本の工業用ミシンの発達は目を見張るほどで、現在、世界の工業用ミシン市場の大半のシェアを獲得し、その機種は3,000機種を超える。
 工業用ミシンでは、環縫い系ミシンも、本縫い系ミシンと同等の使用頻度があり、一企業が全ての機種を保有することができず、ミシンの使用目的毎の専門機種を生産する会社が存在し、互いに補完し工業用ミシン市場および縫製技術のクオリティーを支えている。このような会社を大別すると、環縫い系の会社と本縫い系の会社に分けることができるが、世界の工業用ミシン市場への供給シェアを会社別にみると、環縫い系ミシン市場、本縫い系ミシン市場共に、その第1位、第2位は日本のミシン製造会社が占めている。
 日本の工業用ミシン業界がこの様に推移したことから、「工業用ミシンのマイルストーン」を特定することは難しく、わずかに「電気技術の導入」で詳述した「自動糸切装置」と、後述する「官・民・学共同大型プロジェクト」が特定できる。
 また、同じような理由から、「ミシンの歴史」のここまでの記述は、家庭用本縫いミシンを主とする、いわば「家庭用本縫いミシンの歴史」であった。
 そこで、工業用ミシンに焦点を絞り工業用ミシンの歴史を記述すると共に「官・民・学共同大型プロジェクト」を記述する。(「自動糸切装置」は3.1.2で詳述したので、再参照願いたい)
 工業用ミシンの分野が確立したのは、19世紀後半、欧米で繰り返される戦争、内戦で軍服等軍需繊維縫製品の需要が急増し、更に兵士の徴用で縫製工が不足したことで、縫製工場に生産機械として採用されたことによる。家庭用民生用機器として普及しだしたミシンが、産業用機器、生産機械として使用されたのである。
 当時の縫製工場は、作業が「手縫い」であり、規模が小さく多数存在する「家内制手工業」であった。だが、軍需繊維縫製品を製造する軍(国)の被服廠は需要も多く大規模縫製工場であり、工業用ミシンは高速化等の生産効率向上が求められた。
 ミシンの発明は単環縫いに始まる。実際、歴史上最初のミシンの実用化は、バルテルミー・チモニエ(Barthelemy Thimonnier)の環縫いミシンで、フランスの軍服製造に活用された。しかし、このミシンは「ラダイツ騒動」で姿を消し、その後、本縫いミシンの登場で、縫合力、縫い目のほどけ易さで劣り、環縫い自体も「ミシンの歴史」の表舞台から退くこととなった。
 1851年、アメリカのグローバー(William.O.Grover)により二重環縫いが発明される。

図3.9 二重環縫いの縫い目7)


 二重環縫いは、単環縫いに比べ、縫合力、ほどけ難さで「本縫い」に近いものである。しかし、本縫い全盛の時代では、その弱点から(縫製品のハンドリングの難しさ、縫い目の後処理が必要等)、結局、「ミシンの歴史」の表舞台に立つことができなかった。
 しかし、その縫合形態は、本縫いの縫合形態が下糸の長さを限定するのに対し、理論的に縫い糸を無限供給でき、工業用ミシンに要求される高速化、作業内容の省力化で格段に優位性が保たれる。現在も作業服、制服のズボンのわき縫い等の長い距離を縫う特定の工程で、二重環縫いが使用される例を数多く見ることができる。典型的な例として、ジーンズズボンのわき縫いは二重環縫いが伝統のごとく使われている。
 環縫いの一種の縁かがり縫い(オーバーロック縫い)も特殊な発達を示す。1877年、アメリカ人ジョセフ・M・メロウ(Joseph.M.Merrow)は、男性用靴下の上部を仕上げる「かぎ針編み機」を発明した。この機械は縁かがりミシンそのものであった。「かぎ針編み機」が「縁かがりミシン」として使われだすと急速な発達を遂げる。それまで、衣料品の布端処理はJIS L1212「シームの分類と表示記号」で示す本縫いで布端を巻き込んだり、別布をあてて縫合したり手の込んだ作業が行われていた(現在もJIS L1212に基づく布端処理が本流であり、特に、高級品の布端処理に使われる)。それが、縁かがりミシンを用いると一回のミシン掛けで機能を果たし、生産効率が格段に向上する。これは、大工場であり、視的品質より生産性を優先する被服廠には理想通りのミシンであり、普及速度が急速だったことは理解できる。
 この機械は元々ミシンとしての発明ではなく、駆動軸(主軸)の回転方向は正回転(右回転)であった。被服廠の縫製工場は大量生産工場であり、熱機関で回転されたメインシャフトが工場全体に設置され、ミシンを高速で運転する環境が整っていた。
 縁かがりを使用する縫製箇所の特性は、布の端から端まで長い距離を縫い続け、起動、停止の正確な位置を必要とせず、布がなくても縫い目(編み目=空環)が形成できる。このことに駆動軸の回転方向の正回転を加え、一般的な電動モーターも使用できる。従って当時の一般縫製工場でも導入可能なミシンであった。
 このように、アメリカが発祥の環縫い系ミシンだが、発達、普及したのはヨーロッパであった。当時のヨーロッパは、頻発する戦争の為被服廠は軍服を始め繊維縫製品の大量生産が求められ生産効率の向上が最大の課題であった。更に、家庭用本縫いミシンはシンガー社に席巻されており、ヨーロッパ特にドイツのミシン製造会社は、工業用ミシンで生産効率の良い環縫いミシンの開発、製造に全精力を傾注した。現在も、ヨーロッパでは「環縫い」が「工業用の縫い目」として分類されている。
 日本のミシンの歴史で、幕末期、最初に紹介されたミシンはアメリカ製だが、伝来、実績を残したのはドイツ製であった。アメリカ製ミシンも日本に入ってきたが、日本の和装文化はミシンを必要としなかった。アメリカ製ミシンは日本で普及が進まないことに加え、アメリカの国内情勢も影響し、日本市場からほぼ撤退を余儀なくされた。一方、ドイツ製ミシンは、工業用ミシンの機能に長けていて、軍需品の縫製、特に軍服の製造に適しており、制服製造に市場を得て普及したと言える。
 明治維新後の日本は、礼装に洋服を取り入れ、特に1971年統一された軍服が制定されたのを機に、制服が次々と採用されたことで、単一形態の洋服の大量生産が可能となり、工業用ミシンの需要が拡大し、1886年被服廠条例により、官営の大規模縫製工場(被服廠)ができたことがドイツ製ミシンの普及を促進させた。
 国産ミシン製造の時代では、三菱電機が1934年工業用ミシンの開発、生産に成功し、市場投入した。その機種はシンガー95K16形(3,000針/分)をモデルにした「35種A型」(図3.10)であった。その後、三菱電機は戦時下にかけて工業用ミシン9種類を次々と開発し、日本の工業用ミシンの基礎を築いた。その一例は特殊ミシン靴甲縫用ミシン65種(図3.11)であり、現在のポストミシンである。

図3.10 三菱工業用ミシン35種A形4)


図3.11 三菱靴甲縫用65種4)


 2.2で国産ミシンを製造する動機の一つに、「・・・敵国であるドイツからのミシン輸入が途絶え、軍用布製品の生産に支障をきたした経験から、ミシンを外国から、特に一国だけからの輸入を危惧する政治的気運」と記述した。文中の「一国」はドイツの様に思えるが、「ミシン輸入が途絶え、軍用布製品の生産に支障をきたした」のは確かにドイツ製ミシンだが、「一国だけからの輸入を危惧」されたのはアメリカである。シンガー社は1901年日本ミシン市場に本格参入し、この時期、既に日本の工業用ミシンを含めたミシン市場を席巻していた。すなわち、「軍用布製品の生産に支障をきたした」ミシンを補完したのはアメリカシンガー製ミシンであり、それを契機に工業用ミシン市場を席巻していたのである。
 また、国産ミシンを製造する動機の2番目に、「民間では、・・・シンガー1社の独占状態を危惧しミシン国産化の気運が高まっていた。」とある。昭和初期、ミシンの国産化を行ったミシン製造会社は、三菱電機も含め全てが家庭用ミシンを対象としたこの動機によるものである。「・・・特に一国だけからの輸入を危惧する政治的気運」という工業用ミシンを対象とした動機に正面から対応したミシン製造会社は三菱電機1社であったと言える。三菱電機社史に、当時の状況を「(ミシンは)電動機とも関連があるため、会社幹部の間には当社のような電機会社で製造するのが適しているという意見があり、ミシンの製造販売を行うことに決定した」と記されていることからもわかる。当時の社会環境は、まだ、和装文化が主流であり、(ミシンを必要とする)大規模縫製工場はほとんどなく、衣服製造は注文品一品小売りの「仕立て屋」が担っていて、ここで使用されるミシンは「足踏み式ミシン」で十分だったのである。従って、三菱電機社史に記されている「電動機とも関係がある」工業用ミシンの供給先は(軍の)被服廠であったと言える。一般市場向け衣服製造の大半を「仕立て屋」及びその下請け(内職)が担っていたことが日本独特の「職業用ミシン」という分類を生んだ。この領域に使用されたミシンは「家庭用ミシン」と「工業用ミシン」が入り混じっていた。分類上「職業用ミシン」がはっきりと定義付けされたのは「機種及び針の新名称」においてである。
 国産オーバーロックの第1号は、記録上、美馬ミシン商会(現・ペガサスミシン製造)製「81-6型(現在の呼称・DC-1型)」で、1937年に市場投入された。ペガサスミシン製造と並び日本を代表する環縫い系工業用ミシン会社のヤマトミシン製造は、昭和2年近藤ミシン商会を創立、「81-6型」の企画、製造を始めるが、実質的生産開始は、満州国奉天に工場(本社も含め)を建設してからで、本格的生産開始は美馬ミシン商会と同時期である。しかし、生産が満州で生産時期の正確な記録はない。ただ、戦後、ミシン協議会の規格統一で「DC-1型」の基準図面としたのは同社の図面であった。
 「81-6型」とはシンガー製オーバーロックの呼称である。美馬ミシン商会製「81-6型」は、系統化調査報告でペガサスミシンから協力提示された資料に興味深い記述がある。「当時の縫製工場は、大きなモーターからベルトで連結したシャフトを回転させ、連動台というテーブル上に、横に何台か並んでいる工業用ミシンとシャフトを、さらにベルトでつないでミシンを動かすという方法であった。」縫製工場とは軍の被服廠の事で、被服廠には駆動伝達システムが設備されていた事が解る。
 昭和10年代初頭からの日本の社会情勢は、国際間の緊張状態が緊迫し戦時体制へ向かい始め、1937年日中戦争(日華事変)勃発に繋がるが、ミシン製造会社は、工業用ミシンの生産か軍事産業への転換を推奨され、1941年太平洋戦争勃発時は、ミシン生産実績の多い会社は工業用ミシンの生産に特化、それ以外は軍事工場への転換か廃業が求められた。このようなミシン産業の状況は、第二次世界大戦終結(1945年)まで続いた。終戦後、三菱電機はいち早く工業用ミシンの生産を再開した。「三菱電機社史 創立60周年」には「戦後昭和21年6月にはいち早くミシンの生産を再開し、工業用ミシンとクラッチモートルは名古屋製作所で、家庭用ミシンは名古屋から疎開した岩倉工場と、名古屋製作所の分工場となった和歌山工場の両方で生産を行った。」とある。
 1946年6月に「ミシン製造会」が結成され、業界を挙げて家庭用ミシンHA-1の開発、生産に集中し、三菱電機はその中心で業界をけん引していた。一方で、工業用ミシンの生産、供給を開始したのである。この時期の工業用ミシンを取り巻く社会環境は、戦前、戦中を通し“縫製工場”はほとんどなく、衣服の生産は注文品1品小売りの「仕立て屋」(テーラー)が担っていた。また、戦後の衣文化が、和服文化から洋服文化へ急激な変化を遂げたとはいえ、内実は「更生服」と旧軍服や国民服の古着であった。更に、市場では、衣服素材の布が極度に不足していた。このような環境の中で、戦前からの衣服製造業の「仕立て屋」は戦災を逃れたミシンを生産機械に「生地を持ってくれば洋服を仕立てます」という方法で何とか生計を立てようとしていた。しかし、大半の「仕立て屋」は戦災によりミシンを焼失し、生活もままならない環境にあった。三菱電機はこの様な社会状況の改善を目的に工業用ミシンの生産、供給を再開したと言える。ここで言えるのは、家庭用ミシンの需要に対し工業用ミシンの需要が極々少量であるにも関わらず、三菱電機が工業用ミシンの生産、供給を開始したのは、日本の大企業としての社会的責任感と、前記したミシン事業に参入した動機を“社是”としていたことにあると推測、判断できる。
 戦後日本の社会環境を縫製産業に焦点を絞り概観すると、戦前の衣文化での洋装は軍服に代表される制服等に始まり、1932年「白木屋火災事件」を機に一般社会でも注目され始めていたが、和装文化が洋装文化に急変したのは、戦後である。この事は、縫製産業が対象とする市場が一気に拡大した事となる。しかし、「繊維製品」の極度の不足、繊維の統制、衣料配給制は、縫製産業に拡大した市場需要を満たす供給を許さなかった。大量生産を行う縫製工場の設立あるいは継続ができなかったのである。このため、縫製工場を直接の供給先とする工業用ミシンは、当時の工業用資材の不足も影響し、生産再開ができなかった。この結果、ミシン製造会社は家庭用ミシン(HA-1型)の生産、市場供給に特化し、配給制で不十分な量の工業用資材を全て家庭用ミシン製造にあてた。戦前戦中を通し工業用ミシン専門製造会社であったミシン会社は、製造再開をしたとしても家庭用ミシンの部品製造に特化せざるを得なかった。具体例としてペガサスミシン製造を挙げると、1946年に操業を再開したが、内容は「戦災で焼けたミシンの再生修理、販売を開始」であり、家庭用ミシンの部品製造であった。
 環縫い系工業用ミシンは、本縫い系より早く生産を再開した。これは、繊維製品及び工業用資材が徐々に調達可能になったことによる。洋装文化に急変した市場で、最初に、かつ大量に要望されたのは下着、メリヤス肌着であり、その生産に必要な工業用ミシンは、環縫いミシンである。例えばペガサスミシンは、1948年にDC-1型(旧81-6型)を生産開始、1949年筒型3本針飾り縫ミシン「DW-1型」を開発、販売を始めた。環縫いミシンは戦後初期の日本の縫製工場への需要対応と共に、同様な社会環境の東南アジア各国の需要にも対応し、輸出を含め生産台数が確保できた。従って、国内環縫い系工業用ミシン製造会社は、続々と生産を再開した。メリヤス素材のアメリカ産綿花の大量輸入と、綿繊維製品の輸出先をアジア諸国に求めたGHQ施策が後押しした。
 日本の戦後不況は朝鮮戦争勃発(1950年)を機に解消された。不景気から好景気への急変は、「朝鮮戦争特需」と呼ばれ、「日本の戦後は終わった」との言葉ができる程だった。繊維の統制は1949年5月で終了、衣料切符制は1950年9月、全ての衣料配給制は1951年7月に終了した。この結果、衣料の製造販売は全て自由となり、多くのアパレル企業、縫製業が出現した。これに伴い、工業用ミシン需要も増大し、本縫い系工業用ミシン製造会社、更には「家庭用ミシン」に特化していたミシン会社も工業用ミシンの製造を再開し始める。ブラザー工業を例にとると、1950年「工業用ミシンクラッチモーター」の開発、市場投入を機に、本格的に工業用ミシン事業を再開した。
 しかし、新しく台頭してきた縫製工場が採用したのは、輸入工業用ミシンであった。工業用ミシン事業の再開で製造された国産ミシンは戦前に開発されたミシンだったが、戦中戦後を通し海外の工業用ミシンは大きく進化していた。工業用直線本縫いミシンを例に挙げると、国産ミシンは最高運針数3,000針/分に対し、輸入ミシンは4,000針/分ないしは5,000針/分であった。この結果、国産工業用ミシンンの需要はほとんどなく、工業用ミシン事業は街のテーラー(仕立て屋)向けの最高運針数1,800針/分にスペックダウンした「職業用ミシン」の実績に頼らざるを得なかった。
 しかし、輸入工業用ミシンの価格は非常に高価で、使用頻度の少ないミシンは一般的縫製工場では導入できず、一つの用途のミシンのみを導入し、複数の縫製工場からその工程(ボタン穴かがり工程、ボタン付け工程など)のみを引き受ける「まとめ屋」という縫製業が成り立つほどであった。
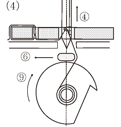
 このような状況で、市場要求を満たす国産工業用ミシン開発の先鞭をつけたのは、JUKIであり、その機種は1953年単軸回転天秤機構搭載DDW-Ⅱ型(3,000針/分)であった。
 ここからの単軸回転天秤機構搭載ミシンの解説は、当時当該機種も含めJUKIでミシン開発の中心であった松原亨(元・常務、単軸回転天秤機構開発当時は研究室主査)がJUKIを引退後に博士号取得の為に作成した学位論文「本縫いミシンにおける縫の解析と縫自動調整ミシンの試作研究」(「上糸強制繰り出し方式」に関する論文)にある記述の要約を主に記述する。
 朝鮮戦争特需を機に多くのアパレル企業、縫製業が現れたが、そこで使われたミシンの大半は輸入工業用ミシンであった。JUKIは、輸入工業用ミシンの中でも戦後日本に大々的に輸入され縫製工場でも大きな反響を呼んでいた「シンガー400W」に焦点を絞り、その上を行く技術水準のミシンを目指した。「シンガー400W」とは、全給油機構搭載、縫い速度4,500針/分の複軸回転天秤機構搭載高速直線工業用ミシンである。JUKIが目指したのは複軸回転天秤機構の上を行く技術水準の単軸回転天秤機構の開発であった。当時の海外工業用ミシン業界では、単軸回転天秤機構は、複数の海外工業用ミシン会社で開発に挑戦した経緯があったが、いずれも成功せず、単軸回転天秤機構の開発は不可能に近いとの認識であった。JUKIは戦後、ミシン産業に参画した企業で、当時の生産機種は家庭用ミシンHA-1型1機種であり、工業用ミシン事業、特に単軸回転天秤機構の開発への挑戦は会社の命運を左右する大英断、大きな“賭け”であった。図3.12、図3.13に機構の概略を示す。詳細は割愛するが構造がシンプルになっているのが解る。

図3.12 複軸回転天秤8)

図3.13 単軸回転天秤8)

 単軸回転天秤機構は1951年に完成、他の改善もされ1953年単軸回転天秤機構搭載DDW-Ⅱ型(3,000針/分)が市場投入された。仕様は3,000針/分だが、複軸回転天秤機構と単軸回転天秤機構の比較から5,000針/分も可能と思われる。
 DDW-Ⅱ型の成功を起点に、環縫い系も含めた工業用ミシン製造各社も輸入工業用ミシンの技術を凌ぐ本格的工業用ミシンの開発、生産を始め、日本のミシン産業は世界の工業用ミシン市場のシェアを獲得、拡大していくこととなった。
 しかし、単軸回転天秤機構は、その後、工業用本縫いミシンのサブ機種化、多様化が進み、構造設計上回転天秤を頭頂に装着することが困難となり、現在は一部の回転天秤を除きリンク天秤が使用され、今日、天秤の主流機構は再びリンク天秤機構に戻っている。
 この単軸回転天秤機構は、職業用ミシン、家庭用ミシン用にも採用され、1954年に職業用ミシン(JUKI)TR-7型、家庭用ミシン(JUKI)HW-8形として市場投入された。両機種とも市場で注目されたが、その後、工業用ミシンと同様の理由から現在の天秤機構は再びリンク天秤機構に戻っている。
 DDW-Ⅱ型の成功を起点に、日本の工業用ミシン技術が世界の工業用ミシン技術をリードしだすが、技術的に国産工業用特殊ミシン機種開発の拡張を伴うことになり、工業用ミシンのマイルストーンの特定は難しく、工業用ミシンの歴史上、次にマイルストーンとして特定できるのは自動糸切装置の装備となる。「自動糸切装置」は3.1.2で詳述したが、重要な意味を持つのは縫製自動化の基礎となったことである。
 この縫製自動化の推移の技術的集大成は「官・民・学共同大型プロジェクト」であった。

(1)官・民・学共同大型プロジェクト

 日本の国家プロジェクト「大型研究開発制度(産業技術分野)」の中に、1966年度から始まった「大型工業技術開発(大プロ)」がある。この「大型工業技術開発(大プロ)」の一環「システム開発」分野の中に「自動縫製システム」(1982年度~1990年度)があった。
 「官・民・学共同大型プロジェクト」(以降「大プロ」と表記)は、この「自動縫製システム」の事である。
 「大プロ」には民間より28企業1協会が自動縫製システム技術研究組合を結成して参加したが、当時のJUKI社長山岡武夫が自動縫製システム技術研究組合の理事長を務めるなど、ミシン産業界から多くの企業が積極的に参加し開発実務の多くを担当した。しかし、表題が「自動縫製」でなく「(自動縫製)システム」であることが示す様に、課題を直接課せられたのはアパレル産業界及び縫製産業界でありミシン産業界ではなかった。この状況を小川成夫(繊維工業試験所⇒自動縫製システム技術研究組合技術部長)は「自動縫製システムの研究開発」9)の中で以下の様に記している。
 「研究開発が開始されたほぼ10年前、アパレル製造業は次の諸要因より体質改善を迫られていた。

 これ等の諸問題を技術面より解決し、繊維産業の活性化を図るため、実需に直結した多品種少量生産のできるアパレル生産工程の自動化、システム化技術の開発が望まれていた。」
 すなわち、「自動縫製システム」とは、ソフト面(アパレルCAD⇒デザイン、パタンニング、グレーディング、マーキング)からハード面(裁断⇒ワークの搬送⇔縫合⇒梱包)、搬出(流通先ごとの選別⇒一次搬送)をトータル制御する自動化システムであった。
 具体的事例を図3.14「自動縫製システム実験プラントレイアウト」、図3.15「3次元縫製の概念図」、図3.16「多機能縫製ステーションの概念図」に示す。

図3.14 自動縫製システム実験プラント10)

図3.15 3 次元縫製の概念図9)

図3.16 多機能縫製ステーションの概念図9)


 各図からミシンを見つけるのが難しい様に、ミシンは各縫製ステーションの「縫合を担当する一部分」となった。従って、ミシン開発担当に課せられた課題は、最終縫製品完成のための各縫製工程ステーションで縫合を担当する専門機種の開発、更に、一部の縫製ステーションでは縫製ステーションがワークの全体搬送を一括制御することに委ね、送り機構なしで機能を果たすミシンの開発、すなわちミシンの多機種開発が求められた。
 「大プロ」開始時期は、1972年正式調印された「日米繊維協定」の影響でアパレル産業、縫製産業に見え始めた“陰り”が現実味を帯びた時期で、終了時期は、1990年繊維縫製品の流通機構が改革され、アパレル産業、縫製産業が壊滅的打撃を受けた時期であった。「大プロ」はその終了時期で“梯子を外された”状態となり、完成した「自動縫製システム」はアパレル産業、縫製産業で実現されることはなかった。
 しかし、「大プロ」で培われた一部の技術は、“生き残った”アパレル産業や縫製産業が規模を大幅に縮小する中でも個々に採用されている。その代表的例は「アパレルCAD」と「工程間搬送システム」である。
 ミシン産業でも、「大プロ」で開発された多機種の一部は若干の変更が行われ、多くの工業用特殊ミシン機種に加わり、主に近隣新興工業国で発展する縫製産業向けに、単一機能ごとの需要に対応して輸出されている。その結果が、現在もなお工業用ミシンに3,000種もの機種が存在する結果を生んでいる。更に、「自動縫製システム」の思想は、現在も残る縫製産業の“多品種少量生産”に対応する「3.1.2電気技術の導入 (3)コンピューターの導入」で記した汎用性のある工業用ミシンの開発に生かされている。

 

3.1.4 職業用ミシン

 「職業用ミシン」の制定は、1946年10月GHQの「外国製品名称使用禁止」通告に応じた1948年8月公示「機種及び針の新名称」による。ミシンの分類を「Hは家庭用(HOME)、Tは職業用(TAILOR)、Dは工業用(INDUSTORY)」とし、職業用ミシンの代表例はシンガー「103D-10型」タイプの「TA-1型」である。
 戦前の日本の縫製業界は、外衣の供給を街の「仕立て屋(tailor)」業が担った。「仕立て屋」業の使うミシンは、家庭用ミシンと工業用ミシンが半々か、家庭用ミシンの方が多かった。そこで、「職業用ミシン」の代表例を、1933年シンガーミシン「103型」を参考として開発された三菱電機製家庭用ミシン25種A型とし、「シンガー103D-10」の新名称を「TA-1型」とした。

図3.17 三菱電機25 種A型4)

図3.18 家庭用ミシン25 種の機構図4)

 戦後のミシンの市場環境は、洋装文化の普及で縫製工場が次々と現れることが予想され、工業用ミシンの需要は急増するが、国産工業用ミシンは旧式で、戦前戦中に性能向上したシンガー製ミシンに需要を奪われる状況が予想された。一方、戦後日本の貿易権はGHQが掌握しており、戦後復興のため産業用機器の工業用ミシンは輸入が許可されたが、(外貨不足のため)民生用機器である家庭用ミシンは輸入禁止であった。
 結論として、国内ミシン産業界はGHQの「外国製品名称使用禁止」通告を逆手にとり、日本独特の「職業用ミシン」という分野を設け、その代表例として三菱電機製家庭用ミシン25種A型、すなわち「103D-10型」=「TA-1」を規定し、「職業用ミシン」は大まかに「家庭用ミシン」の範疇にあることを暗示し、この範疇にある機種は輸入禁止であるとの印象を与え、「仕立て屋」業を供給先とする国産工業用ミシンの需要を守ったと言える。
 戦前の「仕立て屋」業が使用した「家庭用ミシン」が、三菱電機25種A型だけだったかは定かでないが、図3.18の機構図を見ると、リンク天秤、フックタイプ全回転釜を採用しており、確かに工業用ミシンに近いミシンである。各ミシン製造各社も職業用ミシン「TA-1型」の開発、製造を始めるが、TA-1型の規格化も始まり、工業用ミシンの規格化と同時に進められ、工業用ミシンの規格の中に併記されている。後に職業用ミシンも輸出が行われるが、海外では「職業用ミシン」の分類がなく、産業用機器「工業用ミシン」として輸出されるようになる。
 職業用ミシンの“役割”は、昭和30年代に入り、国産工業用ミシンが国内市場も含め世界の工業用ミシン市場に進出を始めると、“終焉”を迎える。事実、「103D-10型」をモデルとした「TA-1型」は昭和20年代後半から30年代前半にかけ、各社独自にデザインを開発し「新TA-1型」を市場投入するが、それ以降20年以上もモデルチェンジをしない時期が続くのである。
 「Hは家庭用(HOME)、Tは職業用(TAILOR)、Dは工業用(INDUSTORY)」の分類定義、ミシン市場の概念に衝撃を与えたのは、1967年(昭和42年)ジューキ(現・ベビーロック)から発売された「ベビーロックEF-205」である。この機械の開発経緯、及び技術については「4.1.1 小型ロック」で詳述する。
 「ベビーロックEF-205」は「縁かがり専用ミシン」であり、工業用縫い目に分類される環縫いの1種、縁かがり縫いができる専用機で、工業用ミシンのオーバーロックを、小型、簡略化したものであった。工業用に分類されていた縫い目形式(環縫い)及び機種が、家庭用ミシン市場及び職業用ミシン市場に投入されたのである。

図3.19 ベビーロックEF-20511)


 「ベビーロックEF-205」は発売と同時に、ミシン市場に衝撃を与え、急速に普及しだす結果となり、ミシン産業に今までなかった新しい市場、新しいニーズを掘り起こすことになる。この現象を理解するには、アパレル産業及び縫製産業が対象とする市場、あるいは社会環境の変遷に注目しなければならない。
 人類が集団社会生活を始めた頃、集団や個人の識別のため衣類の装飾が始まり、やがて階級を表す手段に用いられ、衣類の装飾の美しさを誇示する役目が付加された。この経緯が、第二次世界大戦後の世界各国で、衣服文化の変遷で急速に繰り返されたのである。
 第二次世界大戦の激しさと規模の大きさは、戦勝国、敗戦国を問わずその財産、社会体制、社会生活の全てを破壊、奪い去った。社会の全てが、戦後、どの国も「0」からのスタートを余儀なくされたのであった。衣服文化でも同様であった。特に日本は、和装文化から、より活動に適した洋装文化へ一気に転換をする「マイナス」からのスタートであった。
 戦後の衣服文化の第一歩で、「衣服」は「自然」から「身を守る」形、又は、自由に活動できる「機能性」が求められた。それが、経済発展に伴い社会生活が安定しだすと、個性の意思表示を衣服の装飾に求め、装飾の美しさを競うこととなる。ファッションデザインの変遷が始まったのである。この先陣を切ったのが、戦勝国で伝統ある国イギリスとフランスで、イギリスは紳士服、フランスは婦人服であった。特に、フランスの婦人服はファッションに“流行”という意味が加わるほど次々と新しいデザインを繰り出し、その華やかさと共に世界中の衣服文化に影響を与えた。時代としては後になるが、筆者の若いころは皆、『ローマの休日』のオードリー・ヘップバーンが着た「ジバンシー」、『007シリーズ』のショーン・コネリーが着た「バタク」に憧れたものである。(もっとも筆者は衣服より、俳優に憧れたのだが・・・)
 日本がファッションデザインに注目しだしたのは、1953年、フランスの有名ファッションデザイナー、クリスチャン・ディオールの来日がきっかけである。ディオールの来日以降、日本の衣服市場は流行ファッションへの関心が高まり、アパレル会社が、フランスを始めヨーロッパのファッションデザイナーブランドと国内独占販売契約を次々と締結、デザイナーブランドの輸入衣料品の販売を開始し、更には、有名ファッションデザイナーブランドの使用権契約を締結し、自社製造又は自社開発の衣料品に有名ファッションデザイナーブランド(ブランドロゴ)を冠し、市場投入を行った。このデザインを担当したのは、その時期、次々と誕生してきた日本のファッションデザイナーであった。また新たに育ってきた日本のファッションデザイナーは、自らのデザイナーブランドブティックを開業し、その数は徐々に増えていった。ディオールの来日以来、この間のブランド衣料品の需要は年々急増する結果となった。
 この間の縫製業の状況は、もちろん大量生産する縫製工場は活況を呈すが、大手アパレル会社の試作品、サンプル品、更にデザイナーブランドブティックの製品を自宅の一室で製作する縫製業が成り立つ様になった。この従来からの「仕立て屋」と同じ業態の縫製業者は、「仕立て屋」の様に店舗を持たず、自宅の一室で作業する業者が多いことから「マンションメーカー」と呼ばれた。このマンションメーカーは店舗を持たないこと、サンプル作成は重要な秘密作業であることからその所在が明確でなく業者数は把握できず、最盛期には「原宿近辺だけでも一万軒ぐらいあるのではないか」とうわさされた。
 「ベビーロックEF-205」が発売開始された1967年は、デザイナーブランド製品、ファッションデザイン製品の最盛期であった。マンションメーカー、更には「自分のデザイン服を作りたい」と願う主婦や若者の需要要求にマッチした「ベビーロックEF-205」は、所在の解らない市場に吸い込まれるように次から次へと売れていったのである。
 この状況に、他のミシン製造会社も、次々と独自開発の同型機種の生産を始め、「ベビーロックの○○ロック(ペット名)」として販売を始め、更に、この流れは、3本糸仕様、4本糸仕様と機種を増やしていった。
 当然、このような国内ミシン市場の状況は、海外、特にヨーロッパでも注目され海外ミシン製造会社も製品化しようと企画するが、おそらくその工業所有権の確認が曖昧なことから、リスクを避け日本の同型機種のミシン製造会社からOEM製品供給を受けることとなる。ヨーロッパでは、「環縫いは工業用の縫い目」という“定義”があることから、当然、同型機は、輸出、輸入は「工業用ミシン=産業用機器」として扱われた。
 このように国内外の流通環境が無視できない程大きくなってきたことから、『いつまでも「ベビーロックの○○ロック(ペット名)」と言っていては問題がある』との風潮も踏まえ、「小型ロック」という分野を新設し、「職業用ミシン」の分類に属すると定義された。
 小型ロックの成功は「工業用ミシン」に属する他の機種にも注目が集まり、「職業用刺繍機」、「職業用すくい縫いミシン」、「職業用扁平縫い片面飾り(2本針二重環縫い)ミシン」「職業用ボタンホール機」等が「職業用ミシン」の分類に新設される様になる。特に、「職業用刺繍機」はサンプル作成用として、また、体操着等のネーム付け、オリジナルマーク付けで洋装販売店に普及するなど、まさに「職業用ミシン分野の市場」は拡大し、更に新しい市場を開拓する結果となった。
 一方、ベビーロックは、1993年「エアースルー」を装備した「BL55衣縫人」を発売、更に、1997年「自動糸調子器(蓄糸器)」を搭載した「BL23糸取り物語」を発売し、家庭用ミシン市場に重きを置き、家庭用ミシン市場での需要を拡大していく。ベビーロックの推移が代表するように、小型ロック製造各社は、ますます家庭用ミシン市場の需要を増やし、2021年現在、「小型ロック」は「家庭用ミシンの分類」に分類移転している。結果として、小型ロック隆盛の起点となった「ベビーロックEF-205」の基である鈴木製作所製「オーバーロック MS-1」は、「工業用ミシン」と「家庭用ミシン」の“定義”すら変えてしまったのである。
 「エアースルー」とは、上ルーパー及び下ルーパーの糸通しに、手動ポンプで発生させた空気流を使い自動的に各糸道部品及びルーパー糸穴に縫い糸を通す装置で、この装置をミシンに装備することで、簡便に糸を通せると同時に、糸道の通し間違いを防止できる。
 「自動糸調子器(蓄糸器)」は、「4.1.2 上糸強制繰り出し方式」で記述する縫い糸間の糸張力バランスを自動調節する装置である。
 また、このような「職業用ミシン」市場の活性化は、開発が途絶えていた従来のTA-1系直線本縫いミシンにも影響し、モーター内蔵、コンピューター制御搭載、筐体(アーム・ベッド)のアルミ化、JIS規格からの逸脱等の新開発が行われ、現在は、ほぼ家庭用ミシン化する状況にまで進化している。


3.1.5 家庭用ミシンのマイルストーン

 戦後、日本のミシンの歴史で、家庭用ミシンのマイルストーンとなる技術、機種は、次の様なものがある。
 Ⅰ.その後の家庭用ミシンの基盤となったHA-1型「ミシンの規格統一とJIS化」で記述。
 Ⅱ.ジグザグ機能の搭載
   (1)ジグザグ機能搭載で記述。
 Ⅲ.シャトルタイプ垂直全回転釜搭載(1971年ジャノメ・トピア=以降トピアと表記)
   (2)シャトルタイプ垂直全回転釜搭載で記述
 Ⅳ.コンピューターミシン〔1979年(ジャノメ)メモリア、1979年(ブラザー)オーパス8〕
   「3.1.2 電気技術の導入」で記述
 Ⅴ.国内開発水平釜搭載〔1979年(ジャノメ)メモリア〕

水平釜は工業用特殊ミシンで古くから使用されており、家庭用ミシンではエルナミシン、シンガーミシン等で使用された。しかし、メモリアに搭載された水平釜は、JIS規格品のボビンが使える等、利便性を追求し独自開発された。この機種が市場投入されて以降、国内家庭用ミシン製造各社も水平釜を次々と独自開発し実機搭載するが、現在は、JIS規格品のボビンが使えることから、蛇の目ミシン工業開発の水平釜を使用する傾向にある。このような理由からも、メモリア搭載の水平釜技術をマイルストーンとした。

 Ⅵ.複合ミシン〔1980年(ジャノメ)Combi-Two in One〕
   (3)複合ミシンで記述。
 Ⅶ.上糸強制繰り出し方式搭載〔1985年(JUKI)ザ・ミシン、1988年(ブラザー)テンディスペシャル〕
   「4.1.2 上糸強制繰り出し方式」で記述
 Ⅷ.刺しゅう機能付きコンピューターミシン〔1991年(ジャノメ)SECIO〕
   「3.1.2 電気技術の導入」で記述
 「Ⅲ.シャトルタイプ垂直全回転搭載」及び「Ⅶ.上糸繰り出し方式搭載」は、現在はミシンに採用されていないが、内容の詳述から解るように、「4.2 縫いの理論化」が重要視された将来において必ず必要となる技術であり、家庭用ミシンのマイルストーンとなる技術とした。

(1)ジグザグ機能搭載

 ジグザグミシンの発明は、1880年代である〔「表2.1 ミシン関連主要発明一覧(1900年まで)」参照〕。
 国産家庭用ジグザグミシンを始めて製品化したのは、1950年三伸ミシンである。同年3月に東京日本橋の三越で開催された国産ミシンの展示会で、三伸ミシンは欧州のジグザグミシンの類似製品を出品した。同時に、「ジグザグ」の商標の登録申請、機械の特許を申請したが、ジグザグミシンは戦後の日本でも既に知られており、業界多数メーカーから異議の申出があり問題となった。「日本ミシン産業史」によると“欧州品との間に意匠、特許権のトラブルを生じ、1951年より1952年にわたり輸出禁止の措置を取らざるを得なくなり、折角軌道に乗りつつあったジグザグミシン製造を停止した。”としている。しかし、当時の家庭用ミシン市場の需要環境から、別の要素が大きな原因である。国内市場は、直線本縫いミシンの供給が急務で、使用用途を広げるジグザグミシンに需要を見出せなかった。ジグザグミシンの存在さえ一部の人しか知らなかった。従って、海外市場がターゲットだが、輸出の環境は「ミシンの規格統一とJIS化」で記述した状況にあり、1948年に“完全”な民間貿易の正式許可が下りたとはいえ、正式許可の条件には、機種、機能共に登録されている製品に限られていた。1950年での輸出検査基準(登録された機種、機能)は家庭用直線本縫いミシン(HA-1型)のみで「ジグザグミシン」は審査項目になく、輸出承認が得られなかったのである。「ジグザグミシン」が審査項目に加えられたのは1953年であった。1950年末のブラザー工業社長安井正義のアメリカ市場及びシンガー社の動向を探る為の渡米以来、アメリカ市場の動向、シンガー社の動向が徐々に解る様になり、アメリカ市場が「ジグザグミシンの時代」に入っており、「家庭用直線本縫いミシン」の輸入を日本から、「家庭用ジグザグミシン」をヨーロッパから輸入するすみ分けがなされていることが解った。
 三伸ミシンの「ジグザグミシン」は市場投入時期が早すぎ、まだ国内市場環境及び輸出環境が整っていない上に、アメリカの市場環境の情報が乏しかったと言える。
 1953年の「ジグザグミシンの審査項目追加」を機に、三菱電機、ブラザー工業、福助足袋、トヨタ、リズム、丸善ミシン(三伸ミシンと提携)他のミシン製造各社は、1953年~1954年にかけ一斉にアメリカ向けに輸出を開始した。一方、国内は、戦後急速に普及した洋服文化が、「実用性(機能性)」から「多様性(ファッション性)」へ変化している時代であり、市場は、この「時代の変化」に対応し使用用途を拡大した「ジグザグミシン」を受け入れる時代となっていた。ミシン製造各社は、輸出開始を機に、国内家庭用ミシン市場にも相次いで投入を始めた。
 ここで、ジグザグミシンの進化について記す。
 進化の基本機能に「基線変換」があり、図3.20により「基線」の説明をする。

図3.20 基線の説明12)


 図3.20に示す様に、ジグザグ幅(振幅)を変化させる場合、一定の直線を基準にジグザグ幅が変化する時、その直線を「基線」という。図3.20で、Ⓐは「中基線」、Ⓑは「左基線」、ⓒは「右基線」である。
 ジグザグ機能には、次に示す機能がある。

 ①セミジグザグ
振幅だけを手動で変化させる事ができる。基線は固定で、基線位置は中基線、左基線のものが多い。

図3.21 基線の位置による手動ジグザグ模様12)


②フルジグザグ
 振幅と基線の両方を手動で変化させる事ができる。
③オートマチックジグザグ
 振幅及び基線を自動的に変化させる事ができる。振幅、基線を自動的に変化させる為に機械式記憶機構が使われる。機械式記憶機構とは、回転カム(ディスクカム)を固定した軸を上軸(駆動軸)に同期伝達させ、凹凸したカム外周(針位置あるいは基線位置を“記憶”)を従動子がなぞり、従動子の動きに従い針位置あるいは基線位置を決める機構である。
 オートマチックジグザグには次のものがある。

図3.22 フルオートジグザグ模様例12)


④スーパーオートジグザグ
 フルオートジグザグに、前進、後進を含めた送り量を自動的に変化できる機能を付加して使用されることから「スーパー(フル)オートジグザグ」と呼ばれる。

図3.23 スーパーオートジグザグ模様例11)


 国内家庭用ジグザグミシン製造会社の市場投入時期が前記の特異な条件(1954年市場一斉投入開始)であったため、市場投入機種は、ジグザグ機能の進化過程の途中から始める等、各社ばらばらであった。
 ジグザグ機能の進化は、他のミシン機能の変化をも促したが、最も顕著な例は、家庭用ミシンの駆動源に影響したことである。ジグザグミシンが普及しだす前の時期の駆動源の種類別の最高運針速度は、「手廻し」450針/分、「足踏み」700針/分、であり、実質的な使用運針速度は「手廻し」約300針/分、「足踏み」450~600針/分であった。ジグザグミシン、特にオートマチックジグザグミシンは、ミシンの駆動負荷(トルク)が直線本縫いミシンに比べ大きく、「手廻し」「足踏み」では使用運針速度が15~30%減少する現象が現れ、電動モーターの搭載が求められた。海外では電動モーターが使用されていたが、国内では家庭用ミシンに合うモーターがなく、家庭用ミシン専用電動モーターが開発され家庭用ジグザグミシンに使用された(モーター仕様は最高運針速度700~1,100針/分)。この様に、ジグザグミシンの市場投入を機に家庭用ミシンの電動化が始まった。その仕様は、最高運針速度700~800針/分が一般的である。
 ジグザク機能の進化は、釜のシステムにも影響した。
 通常、直線本縫いミシンは、垂直釜機構の配置を縫い方向(布の送り方向)と平行に配置する(側面釜タイプ)。これは、釜剣先の運動平面を縫い方向に平行に配置することで、ミシン機構全体の簡略化に寄与するからである。しかし、この釜機構の配置で針棒運動機構を縫い方向と直角方向に移動すると(ジグザグ縫いをすると)、釜機構全体も針棒運動機構の移動に追従して縫い方向と直角方向に移動しなければならない。このように針棒駆動機構の移動と同期して側面釜タイプの釜機構を移動するジグザグ機構のタイプを「ネッキ」タイプという。
 一方、釜機構の配置を縫い方向と直角に配置する(正面釜タイプ)と、釜剣先の運動平面は縫い方向に直角となり、縫い方向と直角方向に移動する針棒運動機構との距離は一定に保たれ、釜の配置位置を固定できる。このようなジグザグ機構のタイプを「パフ」タイプという。
 「パフ」タイプ、「ネッキ」タイプという呼称は、それぞれのジグザグ機構を最初に実機として実現したイタリアの「NECCHI」(ネッキ)社、ドイツの「PFAFF」(パフ)社の社名からとられている。
 図3.24にネッキタイプの概念図、図3.25にパフタイプの概念図を示す。

図3.24 ネッキタイプ概念図

①釜機構 ②(釜)剣先=上糸ループを捕捉する ③針 ④(針の)針穴=上糸が通る ⑤上糸(針糸) ⑥上糸ループ ⑦針板 ⑧(針板の)「針穴」=針が通る ⑨布(被縫製物) ⑩針棒駆動機構の移動方向 ⑪針棒駆動機構の移動に同期して釜機構が移動する方向


図3.25 パフタイプ概念図

①釜機構 ②(釜)剣先 ③釜機構及び釜剣先の回転方向 ④針 ⑤(針の)針穴 ⑥上糸(針糸) ⑦針板 ⑧(針板の)針穴 ⑨布(被縫製物) ⑩針棒駆動機構の移動方向


 この両機構への針棒駆動機能の対応は、「パフ」タイプに、「円弧式横振り型」(図3.26)を使用すると釜機構と針棒駆動機構との距離が変化するので「振り子式横振り型」(図3.27)を採用し、「ネッキ」タイプに、「振り子式横振り型」を使用すると釜剣先の運動平面に対し針棒駆動機構が直角方向に傾き両機構間の距離(針釜スキマ)が変化するので「円弧式横振り型」を採用することとなる。この場合、円弧の半径を大きくし、その軌跡を直線に近づける工夫がされる。
 両タイプの特徴を比較すると、縫い品質については「ネッキ」タイプが優れている。

図3.26 円弧式横振り型

図3.27 振り子式横振り型

 これは「ネッキ」タイプは針棒駆動機構と釜機構が同期して釜剣先の運動平面と直角に移動するため、針と釜剣先との交差条件は変わらないが、「パフ」タイプでは、釜の位置は固定されており、針棒駆動機構は釜剣先の運動平面上を移動するため、針と釜剣先との交差条件が変化するためである。(公差条件については「4.2.1 本縫いのモーションダイヤグラム」で詳述する)
 一方、「ネッキ」タイプは大きな質量を持つ釜機構全体を針棒駆動機構と同期して往復運動をさせるため、ミシン全体の機構が複雑になり、振動、騒音の問題、ひいては運針速度の制限等の問題が内在する。更に、同期がとれたとしても往復運動の距離の一致を取るのが難しく、ミシン自体の品質に不安がある。
 また、「パフ」タイプは、左針落ちが「ヒッチステッチ」となり易く、縫い目形態が安定しない欠点を内包している。(ヒッチステッチについては「(2)シャトルタイプ垂直全回転釜搭載」で詳述する。)
 このような課題の総合評価として、現在の家庭用ミシンは「パフ」タイプか「水平釜」を採用している。その理由は、現在のジグザグ機能は、「縫合」用途ではなく「糸で模様を描く」用途であるため、縫い品質より、確実な縫い目形成、及び一目毎の正確な針位置が優先されるという考え方による。
 国内家庭用ジグザグミシンは、当初ネッキタイプだったが、昭和30年代前半にパフタイプが現れ、昭和30年代後半にはほぼパフタイプに置き換わった。それに伴い、ジグザグミシンは、当初「千鳥縫いミシン」と呼ばれていたが「ジグザグミシン」と呼ばれるようになった。「千鳥縫い」とはジグザグ機能を縫合目的で使った縫い目を表す呼び名であり、工業用のジグザグミシンの中には、ジグザグ縫いを縫合目的で使うものがあり、この様な機種の多くは「ネッキ」タイプを採用し、機種分類は「千鳥縫いミシン」と呼ばれる。しかし、ネッキタイプもパフタイプも前記欠点が障害となり、「千鳥縫いミシン」は機種、需要共に少数にとどまる。工業用ミシンでは、ミシンの送り機構を取り除き、「枠送り機構」を設け枠の動きをミシンの動きと同期させて「縫合」を行う「サイクルミシン」が開発され、現在は、ラベル付け縫い等に使用され、使用用途を広げている。
 家庭用ジグザグミシンの将来においては、ネッキタイプの欠点であった「釜機構の移動と針棒駆動機構の移動との同期及び位置決め」及び「釜機構全体の“ガタ”の累積により発生する騒音、振動、及び慣性力による影響も含めた位置の不安定さ」が、進化してきた電気技術を駆使することで解決される可能性が高く、ネッキタイプの復活の可能性が予測できる。
 ミシン製造会社は、過去の技術として忘れ去られようとしている「ネッキタイプジグザグミシン」の技術を再検証し、「新ネッキタイプジグザグ(千鳥縫い)ミシン」の開発を手掛けるべきである。


(2)シャトルタイプ垂直全回転釜搭載

 「トピア」が市場投入された1971年は国内の家庭用ミシン市場の需要が絶頂期を迎えた時期であった。また、各家庭用ミシン製造会社が、新しい機能を備えた数々の新製品を市場投入した時代でもあった。「トピア」は一連の新製品の中の1機種であり、上下軸の連結に始めてタイミング(歯付き)ベルト(クリップベルト)駆動を採用する等新機能が搭載されたが、その中にシャトルタイプ垂直全回転釜があった。家庭用ミシンの釜は、1887年シンガー社開発の垂直半回転釜が主流であった。この時期、各家庭用ミシン製造会社の新機能開発競争で、運針速度の向上は1つの課題であり、全回転釜を使う機種が散見されるようになる。その全てがフックタイプの垂直全回転釜であった。
 垂直半回転釜と垂直全回転釜との縫い速度への影響の違いは、垂直半回転釜が円弧上を往復運動するのに対し垂直全回転釜は円周上を一定方向に運動することであるが、さらに重要な要素は、垂直半回転釜がシャトルタイプであるのに対し、工業用ミシンに使われる全回転釜はフックタイプなことである。
 シャトルタイプの釜は、上糸ループを捕捉した釜剣先が上糸ループを潜り抜けるタイプであり、釜剣先がループの中を潜り抜けるため、その動力伝達機構を一時分離しなければならない。一方、フックタイプの釜の釜剣先は、下糸(中釜)が上糸ループを潜り抜けると、上糸ループを解放し、上糸ループを潜り抜けない。従って、釜剣先への伝達機構を分離する必要がない。この伝達機構の分離の有無が、縫い速度及び騒音に影響を及ぼすのである。
 このような特徴がある中で、シャトルタイプ垂直全回転釜を採用した「トピア」は動力の伝達機構を改善し最高運針速度1,100針/分を実現、全体騒音も、上下軸の連結にタイミング(歯付き)ベルト(クリップベルト)駆動を採用したことも含め改善された。
 本報告でシャトルタイプ全回転釜を取り上げたのは、以上の理由ではない。シャトルタイプ垂直全回転釜とフックタイプ垂直全回転釜が縫い性能に及ぼす影響に差があるからである。フックタイプ垂直全回転釜は構成上、上糸ループを捕捉した剣先が上糸ループに下糸を潜らせる時、上糸ループを半回転ねじらなければならず、この時、「半回転ねじる」ことが上糸にかける負荷、及び縫い目形成過程での上下糸バランスの不安定さを生じさせ、ミシンの基礎機能である縫い性能に悪い影響を与えるのである。図3.28、図3.29を用いて、シャトルタイプ全回転釜と、フックタイプ全回転釜の縫い目形成過程における釜の動作と上下糸の挙動を解説する。

図3.28 シャトルタイプの縫い目形成過程

 ①針 ②釜 ③釜剣先 ④ボビン(下糸格納部材)=ボビンケース(図示せず)に回転自在に格納されている。ボビンケースからは“角”が伸び、大釜蓋(図示せず)に敷設された溝と隙間をもって嵌合し、ボビンケース及びボビンが釜②の回転により連れ動きするのを防いでいる。ボビンケースの“角”と大釜蓋の溝の隙間は上糸ループ⑩が通過するためである。ボビンケースは釜②の回転中心に伸びた軸により支えられている。大釜蓋は、筐体(ミシン本体=図示せず)に固着された大釜体に取り付けられ、大釜体と共同して釜②のレース面を形成している。 ⑤釜剣先の回転方向 ⑥針板 ⑦布 ⑧縫目結節点 ⑨上糸(針糸) ⑩上糸ループ ⑪下糸 ⑫(針板の)針穴=上糸、下糸とも針板の針穴一か所に集中するが、図3.28右の列では、上下糸の挙動が解り易い様に各糸の針穴通過位置を離して示している。 ⑬布の上面につながる上糸 ⑭針の針穴(糸穴)につながる上糸 ⑮、⑯上糸ループと釜及び釜剣先との接触点
 図3.28で、左の列はシャトルタイプの本縫い縫い目形成過程で、針、釜 及び上下糸の動きを簡略化した説明図である。右の列は、更に簡略化して、上下糸の挙動を解り易くした説明図である。
 (1)で釜剣先③は上糸ループ⑩を捕捉する。(2)で上糸ループ⑩は釜剣先③及び釜②により広げられる。(3)で釜②、釜剣先③及びボビン④は上糸ループ⑩をほぼ潜り抜け、上糸ループ⑩は天秤(図示せず)により布上面に引き上げられていく。(4)で、釜②、釜剣先③及びボビン④は完全に上糸ループ⑩を潜り抜け、下糸⑪が上糸ループ⑩を貫通して縫目結節点⑧を作っていく。

図3.29 フックタイプの縫い目形成過程

 ①針 ②外釜 ③釜剣先 ④釜剣先の回転方向 ⑤ボビン ⑥中釜=上部にある溝が筐体(ミシン本体=図示せず)から伸びた釜止めと隙間をもって嵌合し、中釜が回転することを防いでいる。この隙間は上糸ループが通過する為のものである。また、ボビンはボビンケース(図示せず)に回転自在に格納されており、ボビンケースは中釜に着脱自在に取り付けられる ⑦針板 ⑧布 ⑨縫目結節点 ⑩下糸 ⑪上糸(針糸) ⑫上糸ループ ⑬針の針穴(糸穴)につながる上糸 ⑭布の上面につながる上糸 ⑮(針板の)針穴=上下糸とも針穴一か所に集中するが、図3.29右の列は、上下糸の挙動が解り易い様に各糸の針穴位置を離している ⑯、⑰上糸ループの釜及び釜剣先との接触点。
 図3.29で、左の列はフックタイプの本縫い縫い目形成過程で、針、釜、及び上下糸の動きを簡略化した説明図である。右の列は、更に簡略化して、上下糸の挙動を解り易くした説明図である。
 (1)で、釜剣先③は上糸ループ⑫の捕捉に向かい捕捉する。(2)で、捕捉された上糸ループ⑫の針の針穴につながる上糸⑬は中釜⑥の裏側に入り込み、布の上面につながる上糸⑭は外釜②及び中釜⑥の表側に導かれる。釜剣先③は外釜②のレース面より図の手前側に敷設されているため、張られた布の上面につながる上糸⑭と外釜②のレース面との間に図の奥行き方向(図の面に垂直方向)で差ができ、布の上面につながる上糸⑭は外釜②及び中釜⑥の表側に導かれる。(3)で、中釜⑥及びボビン⑤は、針の針穴につながる上糸⑬を奥側に、布の上面につながる上糸⑭を手前側にした上糸ループ⑫を右から左に潜り抜ける。この上糸ループ⑫を図に平行に右方向から見ると半回転ひねられているのが解る。(4)で、中釜⑥及びボビン⑤が潜り抜けた上糸ループ⑫は釜剣先③の向き、及び天秤(図示せず)の引き締めにより釜剣先③から外れ、布上面に引き上げられていき、下糸⑩が上糸ループ⑫を貫通して新たに縫目結節点⑨を作っていく。この時、下糸⑩と上糸⑪の結節時の張力により、上糸ループ⑫の“半回転ひねり”は解消される。
 以上の様にフックタイプ全回転釜は「上糸ループが半回転ひねられる」、「釜剣先から上糸ループを外すのに上糸の張力を必要とする」等、縫い目形態に影響を及ぼす糸張力変化が、シャトルタイプ全回転釜より大きく、理論的に、シャトルタイプ全回転釜の方が縫い性能が良いと言える。逆に、生産性(縫い速度性能)ではフックタイプ全回転釜の性能の方が良いと言える。
 なお、図3.28 シャトルタイプでは釜の回転方向が右回転(時計回り)で、図3.29 フックタイプでは左回転(反時計回り)と逆だが、これはフックタイプでは上糸ループを半回転ねじるため同じ撚り方向の縫い目を得るために、釜剣先の回転方向が逆になっている。
 以上の様に縫い性能で、シャトルタイプに有意性が認められるが、「トピア」の宣伝文句は「高速、静音」であり、縫い性能にほとんど言及していない。「縫い品質が良い」という評価は、市場評価である。縫い性能に言及していないのは、当時のジグザグミシンは全てパフタイプ(正面釜)で、「トピア」もまたパフタイプ(正面釜)であったからである。パフタイプとネッキタイプ(側面釜)の長所、短所は「(1)ジグザグ機能搭載」で記述したが、パフタイプの縫い性能上の致命的欠陥は、ジグザグ縫いの左針落ちで「ヒッチステッチ」が発生することである。図3.30に、正常縫目「パーフェクトステッチ」と不正縫目「ヒッチステッチ」の図を示す。

図3.30 「正常縫い目」と「不正縫い目」


 図3.30から解る様に、ヒッチステッチは上糸が下糸に半回転巻き付いて「縫い目の張力バランスを狂わせる」、「糸切れの原因になる」、「縫い目間の糸の相互供給に影響する」、「縫い目間の糸量がばらつく」、等、縫合力にばらつきを及ぼしたり、ステッチラインの乱れを生む結果となる。図3.31でシャトルタイプでのヒッチステッチ形成過程を、図3.32にフックタイプのヒッチステッチ形成過程を示す。

図3.31 シャトルタイプのヒッチステッチ形成過程

①針 ②釜 ③釜剣先 ④ボビン(下糸格納部材) ⑤釜剣先の回転方向 ⑥前の縫い目=縫い方向は図の面に直角方向、奥の方向へ向かって布が送られる ⑦下糸 ⑧上糸(針糸) ⑨上糸ループ ⑩布の上面につながる上糸 ⑪針の針穴(糸穴)につながる上糸
 図3.31(4)で、上糸⑧と下糸⑦が絡んでいることが解る。Aは、上糸⑧と下糸⑦が絡んでいることを解り易く、上糸⑧と下糸⑦のみで表示している。

図3.32 フックタイプのヒッチステッチ形成過程

 ⑦下糸 ⑧上糸(針糸) ⑨上糸ループ ⑩布の上面につながる上糸 ⑪針の針穴(糸穴)につながる上糸 
 図3.32(4)で、上糸⑧と下糸⑦が絡んでいることが解る。Aは、上糸⑧と下糸⑦が絡んでいることを解り易く、上糸⑧と下糸⑦のみで表示している。

 このように、ヒッチステッチの原因はシャトルタイプとフックタイプの違いにあるのではなく、下糸(ボビン)が上糸ループをくぐる位置が、前の縫い目からボビンに渡った下糸の(図3.31、図3.32、各縫い目形成過程図の)右にあるのか左にあるのかの違いである。従って、側面釜では(前の縫い目が釜剣先軌跡平面の左方向にあり)安定的に針落ちが下糸の右方向にあるためヒッチステッチが起こりにくい。しかし、側面釜では、返し縫い(バック縫い=布が手前に送られる)では、前の縫い目が右方向にあり、針落ちが下糸の左方向にあるため、“理論的には”ヒッチステッチが多発する。
 また、返し縫いでは別の要因でヒッチステッチが発生する。
 返し縫いで、針の正面(針の糸溝側)から見て上糸が針の左側を通るとパーフェクトステッチ、右側を通るとヒッチステッチとなる。糸の結節過程の状態を「図3.33パーフェクトステッチ」、「図3.34ヒッチステッチ」で示す。この原因で起こるヒッチステッチを、通称「自糸ヒッチ」あるいは「上糸ヒッチ」と呼び、図3.31及び図3.32で説明したヒッチステッチと識別している。

図3.33 パーフェクトステッチ

図3.34 (自糸)ヒッチステッチ

(両図共通)①ボビン ②下糸 ③糸駒につながる上糸 ④布の上面につながる上糸

 図3.33は、針の正面(針の糸溝側)から見て上糸が針の左側を通っており、図3.34は右側を通っている。図3.33で上糸と下糸が交差しているのが解るが、図3.34では、更に上糸が上糸とも交差しているのが解る。
 このように、自糸ヒッチは、針の正面(針の糸溝側)から見て、上糸が針の手前にある縫い目から針の後ろ側に渡っていることが原因である。
 ここで、興味深いのは、上下糸の挙動である。側面釜において、図3.33の様に上糸が針の左側を通ると、すなわち、前の縫い目からの上糸が、針の正面から針の左側を通って(針に巻き付くように)針の針穴に導かれると、通常のヒッチステッチの形成過程で前述した“理論的”なヒッチステッチが解消されパーフェクトステッチとなる。また、図3.34の様に針の右側を通っても、ヒッチステッチが累積されることも相殺されることもなく、通常のヒッチステッチの縫い目形態をしている。この理由はコラム「ヒッチステッチ」で解説する。
 また、自糸ヒッチは、上糸が針の尖った針先の右を通るか左を通るかで発生の有無が決まり、直線縫いでも縫い糸、送り、布のわずかな変化により発生する。従って、直線本縫いミシンは、特殊ミシンを除き全てが側面釜を採用している。一方、家庭用ミシンでは、ほぼ全ての機種が正面釜又は水平釜を使用しており、返し縫いでの自糸ヒッチを許容しなければならなく、電子ミシン及びコンピューターミシンでの返し縫いを5~10針程度で自動停止する機能を備えている。更に、一部の機種では、上糸を針の左側に導く細工をした「押さえ」で対応している機種もある。また、国内家庭用ミシン製造会社が、家庭用直線本縫いミシンを製造、販売をしない主要原因ともなっている。
 結論として、縫い品質の観点から、ジグザグミシンの最高の品質は「シャトルタイプ垂直全回転釜使用ネッキタイプジグザグミシン」によると言える。
 ネッキタイプジグザグの欠点は、急速に進化する電子技術、コンピューター技術で解消でき、当該機種は十分に実現可能である。この様な意味で、ミシンの歴史の影に埋もれてしまっているシャトルタイプ垂直全回転釜の技術及びネッキタイプジグザグ機構の技術を掘り起こし、その技術の再検討が必要である。
 シャトルタイプの全回転釜を開発、使用したのは「トピア」が最初ではない。筆者が若いころ先輩から「アレン・B・ウィルソンの発明した回転釜はシャトルタイプである」と聞かされた。また、別の先輩からは「ウィルソンの発明した回転釜はフックタイプである。シャトルタイプの回転釜は1880年シンガー社が発明した半回転釜が最初である」とも聞かされた。確かに、シンガー社のシャトルタイプ半回転釜以前の家庭用ミシンの釜は「シャトル(長舟)」であったし、工業用ミシンの運針速度は「シャトル(長舟)」や半回転釜では出せない速度である。ウィルソンの発明した回転釜は「ロータリー・シャトル」あるいは「シャトルフック」と呼ばれており、現在の「釜」を表す英語「フック(Hook)」ではないこと、また、「1872年レスリーが回転釜発明、W・ハウゼがウィルソン型改良ミシン開発」の記録があることから、この時期にフックタイプ全回転釜が開発されたとも考えられる。
 また、「戦前の輸入家庭用ミシンにシャトルタイプの全回転釜を使った機種を見たことがある。現存していれば日本のどこかにあるはずだ」とも聞いたことがある。
 いずれにしても、シャトルタイプ全回転釜の技術はミシンの歴史の陰に埋もれてしまっているわけで、これらの技術を掘り起こすことは意味のあることである。

 

 (3)複合ミシン

 複合ミシンとは、全く異なる縫い目形成をするミシン(例えば本縫いミシンと環縫いミシン)、アウトプットの目的が全く異なるミシン(例えば本縫いミシンと刺繍機)が1台の中に収まっているミシンを言う。
 複合ミシンの先駆けは、1980年「(ジャノメ)Combi-Two in One」(図3.35)である。Combi-Two in One は本縫いミシンとオーバーロックとの複合ミシンである。図3.35で、図の左側に本縫い縫い目形成ステーションを持ち、図の右側にオーバーロックの縫い目形成ステーションを持ち背面から作業を行う。

図3.35 Combi-Two in One 6)


 この複合ミシンは、当初、海外で市場投入され評判を得、その結果を受け、国内市場でも投入され話題となった機種である。その後、時代の流れにより市場から忘れ去られてしまった機種でもある。
 しかし、この複合ミシンの考え方は、「3.1.2 (4)家庭用刺繍機能付きコンピューターミシン」で記述した「SECIO」(図3.36)に引き継がれた。

図3.36 SECIO(図3.8 を再掲)


 「SECIO」は家庭用コンピューターミシンと刺繍機の複合ミシンである。
 ここで、戦後の縫製産業界に目を向けると、戦後のアパレル産業界、及び縫製産業界は「3.1.3 工業用ミシンのマイルストーン」で記述したように、1990年以降、短期納入の市場供給に優位性を持つ多品種少量生産に活路を見出した。多品種少量生産の、将来行き着く先は多品種1品生産である。多品種1品生産は、より市場に近く、短期情報伝達、短期納入に優位性を持つ縫製業であり、かつて1時代を築いた「仕立て屋」(テーラーあるいはマンションメーカー)の再台頭を促す事が予測できる。この「仕立て屋」業の要求を的確に満たすミシンは間違いなく、「職業用複合ミシン」である。
 まさに、将来、縫製業界が、多品種1品生産を求められたとき、「複合ミシン」は、「4.1.3 (2)疑似オーバーロック縫い目」で記述する「縁飾り縫い搭載(複合)本縫いミシン」も加え、新分野として確立されることとなる。

ヒッチステッチ

 ヒッチステッチの縫い目形態は古くからよく知られている。また、ヒッチステッチが縫合力に悪影響を及ぼすこと、時には“縫い糸糸切れ”を発生させることもよく知られている。しかし、ヒッチステッチの発生メカニズムを解説したのは本報告書が最初であろう。
 ヒッチステッチの原因に関する一般的認識は(ヒッチステッチは連続的に発生せず、“たまに”発生する現象で)縫い糸が弛んだ時に糸が暴れ、制御できない糸の暴れが縫い目に影響を与えるため、予測できなくかつ制御できない“突発的な”“不正”縫い目である。従って、縫製品質の評価基準を「特定縫い長さ(○○cm)の間にヒッチステッチが△個以内であること」として、ヒッチステッチの発生を容認している。また、返し縫いでのヒッチ多発は防げないという判断から数針でミシンを強制停止させる対策をとっている。
 「一般的認識」は、間違っているわけではない。通常のヒッチステッチは、針先が下糸の右か左に落ちるかにより決まるのであるし、上糸ヒッチも針先が上糸の右か左に落ちるかにより決まるのであるから、縫い糸の挙動形態により発生頻度が変わるのである。ただし、ヒッチステッチを制御できないと言う判断は早計であり、針の尖端が尖っていること、縫い糸が細いことからちょっとした対策でヒッチステッチの発生を防げるのである。上糸ヒッチの解説については、次のような反論が予想される。
 「“上糸が針の右側を通ると上糸ヒッチとなる”というが、側面釜タイプでの返し縫いで、上糸は典型的な“針の右側(90°)を通る形態”であるのにもかかわらずヒッチステッチは発生しないではないか」
 側面釜タイプでの返し縫いでヒッチステッチが発生しない現象は、糸の特性か、上糸に接触する部材が図らずも上糸が針に巻き付く(針の左側から針の前面を通る=図1)挙動をさせているためである。実際に、紐等を使い“手”で縫い目を作るプロセスを再現すると(針の右側90°から“上糸”を前の縫い目につなげると=図3)まぎれもなく理論通りのヒッチステッチを形成することがわかる。

図1

図2

図3

図4

 実は、通常のヒッチステッチと自糸ヒッチ(上糸ヒッチ)は、見た目は違うが同じ現象である。図2、図4は針の上から見た針と上糸、下糸の状態を示し、針は布を貫通している状態であり、(1)~(4)は前の縫い目位置である。(1)の位置は、図2では図3.28、図3.29のパーフェクトステッチ、図4では図3.31、図3.32のヒッチステッチが発生する位置である。図2において、前の縫い目位置を(針が下糸を横切らない様に)左回転して行くと、(2)は側面釜の送り位置、(3)は正面釜の返し縫い位置(上糸は針の左側を通っている)、(4)は側面釜の返し縫い位置で、上糸は図1のように針に巻き付いている。図4において、前の縫い目位置を(針が下糸を横切らない様に)右回転して行くと、(4)は側面釜返し縫い位置、(3)は正面釜の返し縫い位置(上糸は針の右側を通っている),(2)は側面釜の送り位置(上糸は針に巻き付いている)である。図2(4)の位置、図4(2)の位置での上糸が針に巻き付く条件は同じであるが、図2の巻き付きが安定的に発生し、図4の巻き付きが発生しない要因は、糸の特性(糸の撚り方向)か、または、上糸に接触する部材が図らずも上糸の挙動を決めているためである。


3.1.6 刺繍機

 刺繍の起源は、人類が集団社会生活を始めた頃にさかのぼる。それは、集団あるいは個人の識別のための装飾を始めたことであり、やがて階級を表す手段に用いられ、また、装飾の美しさを誇示する役目が付加される。更に、布を主とする衣服等に繊維製品が使われだすと、装飾に刺繍が使われた。すなわち刺繍技術は、多色染色技術よりも先行していたのである。織布製造技術では、“先染め織布”は“後染め織布”より高品質な織布との評価を受けているが、刺繍技術のデザイン性、あるいは刺繍を施した織布はさらに高品質な織布として評価されている。
 このような目的の刺繍機(embroidery machine)は、「縫合」を目的とした縫合機(sewing machine)とは別の分野に属し、むしろ織機(weaving machine)の分野に属する。事実、現在においても、針を使用し布に糸を貫通させることを、手刺繍では「(刺繍を)刺す」と表現され、手縫いでは「(布を)縫う」と表現される。
 ミシンで頻繁に使われる「ジグザグ密着縫い」は「サテン縫い」と呼ばれ、模様を「サテン模様」と呼ぶが、「サテン」とは「朱子織」の事である。
 しかし、刺繍糸を布に着ける(織り込む)工程と、布と布を接合する(縫合する)工程の技術が近似していることから、刺繍及び縫合の機械化では、「縫合機」の「本縫い」又は「環縫い」の基本技術が使われている。
 刺繍及び縫合の機械が、「縫合機」の「本縫い」又は「環縫い」の基本技術が使われることから、ミシン製造会社が刺繍機製造も行う場合が多いが、刺繍機専門製造会社も多く、刺繍機製造の生産及び技術水準の評価では刺繍機専門製造会社が上位を占めている。
 日本では「ミシン」という言葉の定義に刺繍機も含まれており、刺繍機専門製造会社も「日本縫製機械工業会」で会員会社として行動を共にしている。また、日本でも、刺繍機製造は、刺繍機専門製造会社が上位を占めており、TISM(タジマ)、バルダンは世界的にも刺繍機のトップメーカーとして世界の刺繍機技術を先導している。
 ミシンの歴史を振り返ると、ミシン発明の初期、むしろ実用に供せる本縫いミシンより早く、刺繍機械の発明が記録されている。これらの発明は、太い刺繍糸をミシンの縫合原理で布に縫い付けたり、単環縫いのチェーン形状を刺繍糸代わりに使用したもので、布の移動は刺繍枠または布そのものを手で移動したものであった。現在のハンドル刺繍あるいはサガラ刺繍の原型となった機械であったと思われる。
 しかし、その後のミシンの歴史で、発達したハンドル刺繍機、サガラ刺繍機、更には、刺繍機技術を飛躍的に発達させた自動刺繍機(ジャガード式刺繍機)の記録を見つけることができない。これらの刺繍機は早い時期に、ミシンの分野から離れ新たな分野を作ったか、他の機械分野へ移行したと思われる。
 刺繍機技術を革新的に発達させたのはジャガード(式)刺繍機(自動刺繍機)であるが、この機械が何時、誰によって開発されたのかは定かでない。これは、ジャガード刺繍機が、ジャガード織機(紋織機)の開口装置(機械式記憶装置)を使い刺繍枠の移動を自動的に行っただけだからである。すなわち、ミシンと開口装置との同期も、織機の飛杼(frying shuttle)と縦糸の開口を同期させるのと同じであり、発明とは言えなかったのであろう。それだけ、ジャガード織機の開口装置(機械式記憶装置)は画期的発明であった。ジャガード織機(紋織機)は、1801年フランスのジョセフ・マリエ・ジャカール(Joseph Marie Jacquard)によって発明された。この織機は画期的であることから発明者の名を取りジャガード(またはジャカード)織機と呼ばれている。ジャガード織機の「開口装置」は、記憶媒体として紙に穴をあけたパンチカードあるいはパンチテープ(穿孔紙テープ)を使い、その穴をピンが貫通した時、ピンがトリガーし、縦糸の位置を動かす機構を動かし縦糸を開口させる、すなわち、紋様を作る装置である。この縦糸を開口させることから「開口装置」と呼ばれる「機械式記憶装置」である。すなわち、パンチカード、パンチテープは穴の「ある」「なし」を使って「信号(データ)」を記憶しているわけで、これは「2進法」を使った記憶媒体であり、初期の大型コンピューターでも利用された。穴を通過するピンが機構を動作させるか、穴を通過した光が電気信号に替わりコンピューターに信号を送るかの違いである。
 ジョセフ・M・ジャカールは1834年に没している。一方、ミシンが社会に登場したのは1851年アイザック・M・シンガーによってである。従って、ジャガード(式)刺繍機はジョセフ・M・ジャカールではなく、他の人物により開発された機械である。それも、ミシンより織機に精通している繊維機械関連の人物であろう。開発された自動刺繍機は枠移動の自動化にジャガード織機の「開口装置」を使用したが、「開口装置」の「開口」は枠移動の表現には当てはまらず、「紋織機」をジャガード織機と呼んでいることを参考に、自動刺繍機自体を「ジャガード刺繍機」と呼んだと言える。
 このジャガード刺繍機の枠の移動及び機械式記憶装置をミシン本体と別体としたことは、多頭自動刺繍機を可能にした。枠の移動を含む機械式記憶装置の動力及び同期はミシンの駆動軸から取り出しているが、駆動源でもある駆動軸を新たに設け、ミシンの駆動軸、枠の移動を含む機械式記憶装置の駆動軸が、新設された駆動軸から、共通の動力及び回転速度、同期位相信号を伝達されるシステムを組むことで、ジャガード多頭自動刺繍機が実現した。
 このジャガード多頭自動刺繍機の開口装置を最初にコンピューター化、電子化したのが日本の刺繍機製造会社のバルダンであり、1977年電子制御装置付き高速刺繍機(BEH-UF)であった。(図3.37)

図3.37 電子制御付き高速刺繍機(BEH-UF)13)


 この電子制御装置の改良は急速で、特に模様データフォーマットは、TISM(タジマ)が先行し「タジマフォーマット」として世界的に普及した。
 現在もなお、バルダンとTISM(タジマ)は実績と刺繍機技術において世界の自動刺繍機の分野でトップメーカーとして君臨している。

 

3.2 ミシンの分類

 しばしば「ミシンの分類の定義」の質問がされるが、質問への的確な回答がなかなか見つからない。そこで、ミシンの分類を、「使用目的による分類」、「家庭用ミシンの業界分類」、「技術的分類」に分け記述する。

3.2.1 使用目的による分類

 ミシンの分類には、「工業用ミシン」と「家庭用ミシン」に分類する方法、更に、日本では「職業用ミシン」を加えた分類方法がある。
 この分類方法は、機械の違いではなく、縫製工場等産業分野で使われるか、家庭内で使われるかの使用目的による分類方法である。従って、厳密に表現すると、「家庭用ミシン」と呼ばれるものでも縫製工場で使われるミシンは工業用ミシンと呼ばなければならないし、家庭内で使われた場合は、いわゆる「工業用ミシン」でも家庭用ミシンと呼ぶべきである。しかし、「工業用ミシン」は、縫製品等の各製造工程の生産効率向上、品質の安定化、高品質化を目的に、各工程での使用目的に特化した高性能化が図られ、色々な種類の形・機能に分化・進化してきた。この事から、日本では、一つの縫製品(商品)を数台のミシン作業を経て製品化するシステムに使うミシンが工業用ミシン、一方、一つの作品(商品ではない)を一台のミシンを使い作成するのが家庭用ミシンという理解が一般化された。一方、市販される縫製品の多くが一般縫製店や内職により一台のミシンで仕上げられ商品化されてきた。ここで使用されるミシンは、工業用ミシンと家庭用ミシンだけの分類には当てはまらず、日本独自に「職業用ミシン」という独立した分類が設けられた。(海外では、職業用ミシンは工業用ミシンに分類される。また、日本でも輸出入統計では工業用ミシンに分類される。)このように“もの”としての定義付けが曖昧な一方、『「工業用ミシン」は商品を生産する産業用機器の分野に属し、「家庭用ミシン」は民生用機器の分野に属す』という明確な定義付けがされている。元来、ミシンは、繊維素材を縫合により組み立て繊維縫製品を製造する生産機材であり、直接人々の生活活動を便利にする等、個人に喜楽を与える民生用機器と距離を置く存在である。しかし、シンガーが家庭の主婦を対象に供給したことで社会に認知されたミシン誕生の歴史が、「家庭用」すなわち民生用機器の分野に属すという概念を確立させた。ミシンは民生用機器として社会に認知されたが、欧米諸国で繰り返される戦争で繊維縫製品の需要が増大し、縫製工場が生産効率向上の為ミシンを導入した。ここで初めて、ミシンは本来の目的「繊維縫製品を製造する生産機材」すなわち産業用機器として扱われた。
 このように、ミシンの主流は民生用機器の「家庭用ミシン」、その分流の新しい分野として産業用機器「工業用ミシン」という分類の概念が発生した。
 『主流は民生用機器「家庭用ミシン」、分流が産業用機器「工業用ミシン」』の概念は、その後のミシンの歴史推移、技術進展に大きく影響した。縫製工場へ導入されたミシンへの要望は、生産効率向上の為の高速化であり、この要望への対応から、「工業用ミシン」の分流、分化が始まる。「工業用ミシン」の技術的進化は、各製造工程の生産効率向上に特化し、様々な種類の形・機能に分化・進化してきた。現在では、その機種が数千種とも言われ、「工業用ミシン」とはそのような多機種の総称であり、其々の機種は「特殊ミシン」と言った方が適切である。
 戦前の日本のミシンは、「家庭用ミシン」も「工業用ミシン」も、大半が直線本縫いミシンであった。「特殊ミシン」も少数縫製工場で使われたが、ほとんど人目に触れなかった。従って、「家庭用」と「工業用」の違いは速度の違いでしか実感できず、「家庭用ミシンと工業用ミシンの分類定義」が、今なお、速度等技術的分類を混同した曖昧なものとなっていると言える。

3.2.2 家庭用ミシンの業界分類

 色々な機能や性能をもつ家庭用ミシンは、様々な表現で宣伝、広告され消費者を混乱させる可能性がある。特に、駆動、制御関係は、呼称からイメージする機能と実際の機能との乖離が大きく、工業会を中心に機能と整合性をとった業界分類を定義した。

  Ⅰ.機械式ミシン:手動、足踏み、テーブル等に設置された外部動力源から動力を得て動くミシン。

  Ⅱ.電動ミシン:モーターを内蔵しているミシン

  Ⅲ.電子ミシン:定位置停止機能(針上死点停止あるいは針下死点停止)を有しているミシン。

  Ⅳ.コンピューターミシン:振幅、送り量をコンピューターで数値制御し、プログラムした模様データーを複数個以上内蔵、記憶しているミシン。

  Ⅴ.刺繍機能付きコンピューターミシン:刺繍枠移動機能を備え刺繍枠の移動で刺繍をする機能を有し、駆動制御部と、刺繍データーを複数個以上内蔵しているコンピューターミシン。


3.2.3 技術的分類

 「使用目的による分類」及び「家庭用ミシンの業界分類」は社会通念上の分類、消費者対応の業界分類であるが、技術的要素を含んでおり、技術的分類であるかのように思える。そこで、ミシンの目的、「一丁目一番地」は布に代表される可撓物の接合であるので、「布の接合」から始め、接合あるいは縫合の歴史を加味しながらミシンの技術的分類をする。ミシンの基本的目的から出発した本来の技術的分類のチャート図を図3.38に示す。

図3.38 ミシンの技術的分類


(1)布の接合

 可撓物である布の接合は、大きく「化学的接合方法」と「機械的接合方法」に分けることができる。
 「化学的接合方法」は、「接着」と「融合」に大きく分類され、「接着」は文字通り各種接着剤を用いて接着がなされ、「融合」は布そのものを溶融して接合するが、方法は「高周波を用いる方法」「超音波を用いる方法」更に「その他の加熱方法を用いる方法」がある。
 「機械的接合方法」は、「リベットによる方法」、「ホッチキスによる方法」、「糸による縫合」が代表的接合方法だが、「ファスナーによる方法」、「ボタンによる方法」も広い意味で接合に入る。更に、ニット製品に使われる「リンキング」も有力な接合方法であり、「紐による結びつけ」は現在も使われている。なお、「リンキング」は広い意味で「糸による縫合」に属すが、メカニズムは地糸を含めた「編み」による接合であり「縫合」の概念から外れると判断される。

(2)縫合

 布の接合技術は、特殊な場合を除き「縫合」に優位性があり最も適している。個々の優位性の項目に絞り「縫合」は技術的に分類される。「縫合」を技術的に分類すると「手縫い」「本縫い」「環縫い」がある。
 「本縫い」と「環縫い」は縫合の機械化で発明された縫い目で、手縫いに比べ生産性が格段に良く、縫合力でも優れている。「手縫い」は分解、再組み立ての機能が優れており、現在も和服の製作や、仮縫い、しつけ縫い等に幅広く使用される。しかし、「手縫い」は縫い目構成上機械化が難しく、工業用分野でのみ縫い長さを数メートルに限定し実用化されている程度である。
 従って、ミシンで行う縫合は「本縫い」と「環縫い」となり、技術的分類では、ここで初めてミシンが登場し、ミシンの技術的分類が始まる。
 以上の「手縫い」「本縫い」「環縫い」の分類知識はミシンの存在価値を理解する基礎的かつ必須条件である。

図3.39 手縫い縫い目7)


図3.40 本縫い縫い目7)

図3.41 環縫い縫い目7)

(3)本縫いの分類

 本縫いを形成する基本的機械要素には「針棒駆動機能」、「釜機能」、「天秤機能」、「送り機能」、「糸調子機能」、「押さえ機能」がある。ミシン全体ではその他にも重要な機械要素として「模様発生機能 (ジグザグ発生機能)」、「ミシン駆動機能」等があるが、いずれも縫合の為の基本要素とは言えず、「使用目的による分類」及び「家庭用ミシンの業界分類」を技術的分類と区別した理由でもある。特に「模様発生機能」は、「縫合」(sewing machine)よりは「ミシン刺繍」(embroidery machine)で威力を発揮することから、本分類では除外した。
 なお、縫い目形成の記述は「2 ミシンの歴史」冒頭で記述したので、「技術的分類」では、各機能の役割あるいは歴史的推移、及び機構形態の記述をする。

 1)針棒駆動機能

 本縫い縫い目は、上糸(針糸)と「釜」に格納された下糸を絡めて形成するのが基本で、「針」の動きを制御する針棒駆動機能と、「釜」の動きを制御する釜機能がミシンの機械要素として最も重要な機能である。
 針棒駆動機能は、「固定(直線縫い)型」、「振り子式横振り型」、「円弧式横振り型」がある。針は、布(被縫製物)の上面から布を貫通し、布の下面にある釜に上糸を捕捉させ再び布上面に復帰する直線往復運動を行うので、「固定(直線縫い)型」の構造と動作が基本となる。ジグザグ縫は、針が直線往復運動をする位置が布平面に平行に移動する。その機能による分類が「振り子式横振り型」、「円弧式横振り型」である。
 また、針棒駆動機能には、「その他」として、曲針を使って縫い目を形成する機構の「曲針駆動型」、針が布を貫通している位相で送り機構と連動して布を送る「針送りミシン」に搭載される「針送り型」がある。

 2)釜機能

 釜機能は「シャトルタイプ」と「フックタイプ」とに分類される。「シャトルタイプ」は、上糸ループを通過する釜剣先が設置された下糸格納部材が、ほぼ直線往復運動をする「長舟(シャトル)」、円弧状を往復運動する「垂直半回転釜」及び円運動をする「垂直全回転釜」に分類される。一方、「フックタイプ」は、外釜と呼ばれる回転体に釜剣先が設置されており、釜剣先は上糸ループを通過しない。「フックタイプ」は「垂直全回転釜」と「水平全回転釜」に分類される。

 3)天秤機能

 天秤機能は、縫い目形成機能として、針棒駆動機能、釜機能に次いで重要な機能である。縫い目の原型である上下糸の「絡み」は針棒駆動機能と釜機能が行うが、縫い目を安定的かつ連続的に形成するには、上下糸の制御が必要となる。この制御の原理は、下糸の張力を一定に保ち、一縫目形成の間の上糸の供給量を変化させ、その供給量を制御することである。この一縫目形成での上糸供給量の変化を制御するのが天秤機能である。天秤機能は、被縫製物の特性、特に厚み、摩擦係数、あるいは下糸格納部が潜り抜けるための上糸必要量、縫い目ピッチの条件により、形状、運動軌跡が変わってくる。このような諸条件に対応して、「カム天秤」、「リンク天秤」、「スライド式リンク天秤」、「ロータリー天秤(回転天秤)」が適宜採用される。

 4)送り機能

 送り機能は、布を搬送する機能である。一縫目の間の布の動きは、針が布を貫通している間は静止し、針が布の上にある間に搬送する間歇運動をしている。送り機構は楕円軌跡運動をしていて、楕円運動の上半分が針板の上部に出て布を送り、機能する。
 また、送り機能には、隠れた重要な機能がある。それは、布(縫い目)を送ることにより縫い目を引き締める、すなわち、天秤機能を補助し縫い目バランスを安定確保する機能である。
 送り機能は簡単な機能の様だが、布の様な可撓物を送ることから複雑な条件への対応が必要となる。
 布は伸び縮みするので、「送り歯」に当たる部分とその他の部分で伸び縮みが発生すること、また、縫い糸の張力によっても縮みが発生することで布に「縫い縮み」、「縫い伸び」、「縫いずれ」が発生する。「縫いずれ」とは2枚又は複数枚の布を縫合する際、上下の布間にずれが生じることを言う。更に、布は細い糸を織ったり編んだりしており、その表面は、糸に沿って糸間に細かな溝が大量に存在している。このことと縫い糸張力、送り歯表面の形状が送り方向によって直線性能に影響を与える。また、平面の布を形ある縫製品に仕上げる為曲線的縫い機能も要求される。この機能はミシンの送りと別に、“人の手”又は他の装置によりなされることが多いが、送りの直線性を確保する為にこの曲線縫い操作の障害になってはならない。
 この様な条件に対応し、送り機能は「標準送り」「上下送り」「差動送り」「針送り」「総合送り」に分類される。「総合送り」とは「上下送り」「差動送り」「針送り」の全てを採用した送りである。「その他」として、布を枠に固定し、枠を移動させる「枠送り」があり、これはポケットの縫い付けやラベルの縫い付け等に用いられる「サイクル縫い」機種や、刺繍機などに用いられる。

 5)糸調子機能

 縫い目の機能及び形成過程で、上下糸の張力の制御は重要な役割を持つ。一般的な縫いでは、下糸の張力を固定し、上糸の張力を調整し、縫い条件の異なる縫い調子に対応する。この上糸の張力を調整する機能を糸調子機能、機構を糸調子器という。
 ミシンが、糸を織った(又は編んだ)布、すなわち素材(地糸)の特性と異なる複雑な特性を示す布を扱う為、糸調子機能は理論通りの結果が得られず、(上下)糸間、縫糸と布、機構部品と縫糸や布との摩擦に頼る「経験則」で成り立っている。一般的な糸調子器は「摩擦(ディスク)方式」で、2枚のディスクの間に上糸を挟み、ディスクに調節可能なばね圧を加えて上糸の張力を制御する方法である。下糸は、直接、板バネが下糸を挟むことで、下糸張力を得ている。
 不安定要素の多い摩擦に頼らず、一縫目で消費される糸長を算出し、それを強制的に供給する方法で、縫い品質を「理論的」に安定させる試みが、1970年代後半から1980年代に、JUKIおよびブラザー工業で行われ、両社共実機に採用し市場投入、一定の成果を収めた。この方式が「縫糸強制繰り出し方式」である。

 6)押え機能

 押さえ機能は、布を「押さえ」の下面と「針板」の上面で挟み込むだけだが、多岐に渡る機能が要求される。第1の機能は、布を押さえることである。針落ちの近辺を押さえ、針の布貫通力で布が針板の針穴に引き込まれない様にする事と、針が上昇し布から抜ける際、針と布の摩擦で布が持ち上がるのを防いでいる。この押さえ機能が不安定だと、釜剣先に捕捉される上糸ループの大きさが安定せず、目飛び等の縫い不良が発生する。第2の機能は、送り機能を補助し安定した送り性能を確保する機能である。布送りメカニズムの標準は、押さえが布を送り歯に押し付ける圧力で発生した布と送り歯の摩擦力で布が移動する原理である。従って、押さえの下面は、布との間に発生する摩擦力を小さくする様に鏡面に仕上げられる。第3の機能は、縫われた縫い目の糸を確実に押さえ、縫い目形成中の縫い糸張力で布(縫い目)が移動しない事、縫い目形成中の縫い糸に挟み込み等で抵抗を与えない事である。具体的には、上糸に抵抗力を与えない様押さえ下面に溝を設け、その溝に縫い糸を案内し、上糸に与える抵抗力を極力小さくしている。以上を総括すると、第2の機能、第3の機能は、第1の機能には不利な要素となり、そのバランスをとることが重要となる。以上の機能を持つ押さえ機構は、押さえ圧のみ調整可能な「押さえ圧一定型」と上下送り機構等に対応した「押さえ圧変動型」に分類される。「押さえ圧変動型」には一縫目形成間の位相により押さえが上下する機能も含まれる。上下送り機構は、布の上下に配置した送り歯が布を挟み送る機構で、布送りの抵抗を回避する為、布送りの間、押さえ圧を0、又は、押さえを上方に移動する機能が要求される。また、刺繍機(枠送り)や、“しつけ縫い”では、針が布を貫通している間布を押さえ、それ以外では布の上方に移動する装置となっている。

(4)環縫いの分類

 環縫いは「縫合」に使われる機会より「縁かがり」など布の端末処理や補強に使われる事が大半を占め、「布の接合」から「環縫い」までの技術分類の脈絡と、「環縫い」から先の脈絡は異質であり、縫い目形式による技術分類をするのが妥当である。しかし、縫い目形式による分類は「3.3.4 縫い目形態」で記述し、ここでは、図3.38の一点鎖線で示す本縫い分類と同様の基本的機械要素による技術的分類について記述する。

 1)針棒駆動機能

 針棒駆動機能は、「本縫い」の針棒駆動機能とほぼ同じであり、「本縫い」での「固定(直線縫い)型」が「直線往復運動型」に相当する。「本縫い」での針棒駆動機能と異なるのは、上糸ループ捕捉が、釜剣先ではなくルーパーであることと、針がルーパー糸ループを捕捉することである。また、ルーパーが捕捉する上糸ループを針の形状(曲針)で形成する方法の「曲線往復運動型」を採用している機種がある。代表的な機種に「すくい縫いミシン」があり、縫目形態は「単環縫い縫い目」のオーバーロックタイプである。

 2)ルーパー機能

 (ルーパーについては「3.3.3釜の構造と歴史」参照)
 「環縫い」と「本縫い」で全く異なる機構は、針糸ループを捕捉する機構で、本縫は釜機構で、環縫はルーパー機構である。この違いは「環縫い」と「本縫い」の縫い目構成の違いによる。「本縫い」は、釜が上糸ループを捕捉し下糸に上糸ループの中を潜らせ上下糸を絡ませて縫い目を作るが、「環縫い」は上糸ループをルーパー(下糸ループ)が捕捉し、ルーパーが捕捉した上糸ループ、又はルーパーの下糸ループを針(上糸ループ)が捕捉し、1本又は複数本の糸を「編みこみ」縫い目を作る。このループがループを捕える状態を「ルーピング」といい、本縫いの様に上糸ループの中を下糸が通過する状態を「レーシング」と呼ぶ。しかし、糸の結節状態がループの中を糸が通過することが同じであり、「レーシング」も簡便に「ルーピング」と呼ぶことも多い。

図3.42 糸捕捉の種類7)


 縫い目形成は、針糸とルーパー糸のルーピングの「1ルーパー使用型」と、針糸と1番目のルーパー糸のルーピング、1番目のルーパー糸と2番目のルーパー糸のルーピング、2番目のルーパー糸と針糸のルーピングで縫い目を形成する「2ルーパー使用型」がある。

 3)天秤機能

 本縫いは下糸の状態をほぼ一定にし、大半の位相の上糸繰り出し引き締めで一縫目が完成するので、天秤機能による効果は上糸に集中する。下糸の天秤機能は、釜のカム面等による少量の引き締めだけである。しかし、環縫いは、一本糸は例外として、複数本の糸による編み目を縫い目とし、糸のバランスを均等にする為、其々の糸が天秤機能を必要とする。更に、一縫目形成サイクル間に、前の縫い目サイクルの糸の引き締めを行う等、複数回の複雑な繰り出し引き締めを行う。しかし、本縫い釜機構の様に大きな部材(中釜)が上糸ループを潜ることがなく、一縫目の糸消費量を大きく上回る余剰糸量を供給、回収する必要がない為、繰り出し引き締めの糸量は本縫い天秤機能に比べ少量である。従って、環縫いの天秤機構は、糸が部品のカム面をなぞり機能を果たす構造が一般的である。
 この結果、天秤機能による分類は、針棒の上下直線往復運動機構に取り付けられた「カム面天秤」、主に二重環縫いのルーパー糸に使われる「回転天秤」、オーバーロックで上ルーパー糸、下ルーパー糸に使われる「交互運動2振子型天秤」に分類される。

 4)送り機能

 送り機能は、本縫いの送り機能分類の「標準送り」と「差動送り」が一般的で、ニット製品の様な伸縮性の大きな素材には「差動送り」が頻繁に使われる。

 5)糸調子機能、押さえ機能

 糸調子機能、押さえ機能は、本縫いで標準の「摩擦(ディスク)方式」、「押さえ圧一定型」が使用される。ただ、糸調子機能は、針糸、複数ルーパー糸が其々糸調子器を備えている。また、「貝殻縫い」等の特殊模様では、其々の糸調子器の糸調子を、一縫目毎に変更する装置を備えている。更に、小型ロックでは、独特の「縫糸強制繰り出し方式」装置を備えた機種もある。


3.3 既存技術の解析と定義

 ミシンの技術水準はユニークで、他の機械製品の大半が回転運動機構を主に機能を果たすのに比べ、回転運動機構はもちろん、直線往復運動機構、揺動運動機構、間歇運動機構、早戻り機構、機械式記憶機構、摩擦を用いた運動制御、等々あらゆる機構学的要素が使われ、動いている機械式ミシンの中を覗くと、色々な部品が其々異なった動きをして、どの部品がどの様に動き仕事を伝達するかを追っていくと、ついつい時を忘れて見とれてしまう程である。
 動くミシンの中はまるで“からくり屋敷”の様で、「ミシン=Machine」という”俗説“もかくありなん、ミシンはまさに「機械の王様」と言える。

3.3.1 リンクを使った機構

 ミシンの機構は、全ての運動形態の運動を制御する必要から限定連鎖=自由度1の4節リンク機構が基本となる。単純に4節リンク機構と言え、機構形態は様々で、同じ形態でも固定節(固定リンク)又は原動節を変えると動きが変わる。また、5節リンク機構で機構を組み、1節を固定節、隣の節(リンク)の位置を変え固定して4節リンク機構とし、他の節(リンク)の動きや、対偶(ジョイント)の描く軌跡が変わることを利用して「位置を変え固定する節」の移動を調節機能とする機構、「位置を変え固定する節」を4節リンク機構で制御し、固定節を1個、原動節を2個とし5節リンク機構を自由度1とし、機構全体を制御する機構、固定節を1個、他の任意の節の運動を制御して5節リンク機構を自由度1とする機構も応用されている。
 様々なリンク機構の解析と解説は専門書に譲り、ミシンが使っているリンク機構の概略を解説する。
 針棒駆動機能の針の運動は直線往復運動である。この運動を作り出すのはスライダクランク機構である。
 この機構における原動節は上軸端末に固定され回転するクランクであり、針棒(スライダ)は針棒軸受けに支持され直線往復運動をする。特筆すべきは、針棒直線往復運動の最下点近辺での力のバランスである。針棒最下点近辺でのスライダクランク機構の形態は、トグル機構の倍力機能を発生させ、上軸トルクよりはるかに大きな布貫通力が担保されている機構である。
 ここで使われたスライダクランク機構は「往復スライダクランク機構」だが、同類の「回転スライダクランク機構」は、「スライド式リンク天秤」で用いられる。
 スライダ構造の特徴「2個の対偶の機能を持つスライダとそれと嵌合し1個の節の機能を持つ溝」の構造は家庭用ミシンでは多用され、その大半は、「偏心円カム」又は「偏心等径三角(ルーローの三角形)カム」が使われる。スライダクランク機構と似ている機構に「てこクランク機構」がある。この機構は、スライダクランク機構の溝とスライダが節(てこ)と2個の対偶に分離された典型的な4節リンク機構である。ミシンの典型的使用例は、足踏み式ミシンの駆動源伝達機構である。てこクランク機構は、垂直半回転釜の駆動にも用いられる。上軸のクランク部が原動節となり、下軸(釜の駆動軸)に固定された“てこ”が従動節となり、上軸の回転運動が下軸の往復半回転運動として伝達される。てこクランク機構は、「リンク天秤」でも用いられる。リンク天秤でのてこクランク機構の使用方法はユニークである。原動節は上軸端末に固定され回転するクランクであるが、天秤機能に利用されるのは、従動節の動きではなく中間節(連接棒)の動きであり、中間節がリンクの動き(対偶の位置)から飛び出した形状の先に設けられた糸穴の描く軌跡である。この4節リンク機構の外にある糸穴の軌跡は4節リンク機構内部にある部位の軌跡とは大きく異なり、中間節の傾きが影響を及ぼし、各節の長さの比を変えることで、糸穴の軌跡に「早戻り機能」を発生させたり、往復運動の往復の軌跡が大きく異なる現象を生む。「リンク天秤」の天秤機能は、この早戻り機能を主に、往復の軌跡の違いも利用し、上糸の繰り出し引き締めを行う。

3.3.2 カムを使った機構

 送り機能を創出している機構に着目する。
 布の動きは、針が布に刺さっている時は停止し、布から抜け上方にある時に移動する間歇(直線)運動をする。しかし、布の送り機構が間歇運動をしているわけではない。送り機構は、「送り歯」に楕円運動をさせ、その楕円運動軌跡の約上半分が針板の上面に現れ布を搬送する。
 針が布に刺さっている間は、送り歯は針板の下面で動き、針が布の上方にある時、針板の上部へ出て動くことで、布に間歇運動をさせる。
 楕円軌跡を作るのは、送り歯を上下方向に運動させる「上下送り量」(楕円短径長さ)と水平方向に運動させる「水平送り量」(楕円長径長さ)の合成運動である。この合成運動は5節リンク機構で、固定節(ミシン筐体)の両端に隣接する2個の節の両方を原動節として制御し、5節リンク機構を自由度1とし、5節リンクの送り歯のついた節が楕円運動をする。この2個の原動節の1個が「水平送り」を作り、他の1個が「上下送り」を作る。水平送りを作るのは固定スライダクランク機構で、上下送りを作るのは固定スライダを上下運動させるカム機構である。偏心カムの回転運動が上下送りの原動節となる。水平送り原動節の駆動源にも、上軸に偏心カムを設けたスライダクランク機構が用いられ、上下送り、水平送りを作る偏心カムの両方に偏心等径三角カムを使うことで、楕円軌跡ではなくほぼ長方形となる送り歯軌跡を作ることができる。長方形の送り歯軌跡は、送り機能の正確さにとって理想的な軌跡であり、家庭用ミシンでは「箱型送り歯軌跡」と名付けられている。しかし、高速で運転される工業用ミシンでは、「箱型送り歯軌跡」を使うと「押さえのジャンピング現象」が起きるので、この現象を起こさない為、あえて送り歯軌跡を楕円軌跡としている。
 さらに、この「スライダ=溝」構造は、送り量(送りピッチ)の調節機構でも使わる。
 この送り量の発生機構と調節機構の構造を使用例の代表として記述(図3.43、図3.44)、解説することで「3.3.1リンクを使った機構」と「3.3.2カムを使った機構」のまとめとする。
 図3.43は水平送り軸の回転揺動運動を発生させる機構と揺動量(揺動角)を調節する構造の説明図である。「送り量」を作り出す基本構造は多節リンク機構であり、基本的には4節リンク機構の組み合わせで構成されている。すなわち、多節リンク機構のいくつかの節の動作を制御することで、その機構の自由度を1にする。その制御される節が中間節「二又ロッド」であり、その構造にも「スライダ=溝」構造が用いられる。図3.43を基に、動作の伝達を順に追って説明する。

図3.43 「送り量」を作り出す基本構造


 図3.43で、上軸①(駆動軸)に固定された偏心カム②が回転し二又ロッド③(中間節)の溝を左右に揺動する④。二又ロッド③のロッド上に軸⑤が固定されており、軸⑤は「移動量調節部材の溝」⑥と嵌合し、溝の中を往復運動する。二又ロッド③は溝⑥に沿ってロッド方向に往復運動する⑦。二又ロッド③は水平送り軸⑪に固定された従動節⑧と連結されており(対偶⑨)、従動節⑧は、二又ロッドの往復運動⑦で揺動運動する⑩。この揺動運動⑩は従動節⑧を固定した水平送り軸⑪の回転揺動運動⑫となる。溝⑥は円弧状で半径は二又ロッド③に固定した軸⑤と対偶⑨との距離に等しく、その半径中心の位置と対偶⑨の位置を一致させることで、二又ロッド③のロッド方向の往復運動⑦は発生しない。その結果、水平送り軸⑪の回転揺動運動⑫は発生せず送り量は0となる。すなわち、「移動量調節部材の溝」⑥の傾きを変え⑬、送り量を調節する。
 この機構原理を、図3.44の機構線図で、説明する。

図3.44 「送り量」を作り出す基本構造の機構説明


 図3.44で「T」は対偶を「L」は節を表す。T1は駆動源の上軸、T6は水平送り駆動軸で、T1、T6の位置は筐体(ミシン本体)に固定され、L1(筐体)は機構全体の固定節である。L2は上軸に固定された偏心カムの偏心量で機構全体の駆動節となる。T2はT1を回転中心として回転運動をする。T1、L2、T2、L3、L4(L4a+L4b)は変則スライダクランク機構を形成している。通常のスライダクランク機構は、スライダが動く溝がT1、T3を通る直線上に固定されT3の動きを作り出すが、本機構は、T1、T3を通る直線とほぼ直角方向、L4(二又ロッド)上の長さ方向に設置されている。また、L4上に固定されたT4は、位置や傾きが固定した「移動量調節部材の溝」と嵌合し、溝形状に沿って運動する自由度を持っている。この「移動量調節部材の溝」は円弧状で、中心位置がT7に位置し半径がL6である。T7の位置は固定され、T1-T7の距離をL7(固定節)としたL7、L2、L3、L4a、L6の5節とT1、T2、T3、T4、T7の5対偶は5節リンク機構を構成する。一方、T6-T7の距離をL8(固定節)としたL8、L6、L4b、L5の4節とT4、T5、T6、T7の4対偶は4節リンク機構を構成する。L4aとL4bは二又ロッド上一体(L4)である。従って、L4aの動きは4節リンク機構に制約、制御され5節リンク機構は自由度1の限定連鎖機構となる。
 L8、L6、L4b、L5の4節とT4、T5、T6、T7の4対偶は4節リンク機構で、T6は水平送り駆動軸で、位置は筐体に固定されている。T7はT4の移動を制限する円弧状溝の円弧中心でL6は円弧の半径である。T7の位置は円弧状溝の傾きを変えると移動するが、円弧状溝は「送り量」を作り出す機構運動では固定され、T6とT7を結ぶ節L8は固定節となる。T4とT5の位置はL4上にありその距離は節L4bで、L4bは4節リンク機構の原動節である。この4節リンク機構は、L8を固定節、L4bを原動節としてL5を揺動運動させ、L5が固定された水平送り軸(T6)の回転揺動運動を発生させる。
 以上を要約すると、L4aとL4bが一体の部材L4(二又ロッド)が、5節リンク機構と4節リンク機構を関連付け5節リンク機構を限定連鎖とし、L4aの運動が4節リンクの原動節L4bの運動となり、上軸の回転運動を水平送り軸の回転揺動運動として伝達している。
 また、対偶T4が勘合する円弧状溝の半径L6とL4bの長さは等しく、円弧状溝の中心位置T7をT5と同位置に移動させると、4節リンクはL4bとL6が同一揺動運動だけとなり、L5は運動を停止する。従って、水平送り駆動軸の回転揺動運動は停止し、送り量は0となり多節リンク機構はT1とT5(T7)の距離L7’を固定節とした L2、L3、L4(L4a+L4)、L7’の4節とT1、T2、T4、T5の4対偶からなる4節リンク機構となる。このように円弧状溝の角度を調節する(T7の位置を変える)ことで、水平送り量を調節できる。
 以上の様にミシンには様々な機構が使われているが、機構学的には古くから確立され実用化されてきた技術(理論)の組み合わせである。ただし、その理論に基づきミシン技術が確立されたわけではない。コンピューター出現以前の理論計算は「手計算」で、様々な機構を有するミシンの理論計算は膨大な量となり不可能であったからである。いきおい、ミシンの開発は、トライ・アンド・エラーの繰り返しの「経験則」に支えられ、今もその開発手法は変わっていない。「ミシン技術」は「技術」というより「匠」の領域にあると言える。コンピューターが発達し普及した現在、若いミシン技術者に望むことは、3世紀に渡り蓄積されたミシン技術を、コンピューターを駆使して解析し、新しい「ミシン技術理論」を確立してもらいたい。それは、新しい技術を創出する魅力的挑戦であるはずである。
 ミシン技術は、機構学的に古くから確立され実用化されてきた技術の組み合わせである事、ミシンは低速・低荷重注1であることから、一般的技術評価からすると“ローテク”であり、地味な技術である。しかし、布の様な可撓物を扱うことから理論的な結果が得られず、他の技術分野では考えられない難しさがあり、これを「経験則」に基づく“技能”で補っている。ミシン技術は極めて難解な技術であると言える。

注1)低速=軸回転は5,000回転/分~10,000回転/分、するが、他の機械類に比べ軸径が極端に細いため、周速は遅い
低荷重=布を貫通する負荷は軽い

3.3.3 釜の構造と歴史

 本縫い縫い目形成の原理は、「2 ミシンの歴史」冒頭図2.1で記述した。図2.1の釜は、ウォルター・ハント(Walter Hunt)発明の本縫いミシンで使われたシャトル(長舟)で、その後、新しいタイプの釜が次々と開発されたにも関わらず1930年代まで約100年もの間使われた。それだけ、シャトル(長舟)は本縫い縫い目形成の原理に忠実であったと言える。
 アレン・ベンジャミン・ウィルソン(Allen B. Wilson)のミシンは画期的な回転釜が使われた。回転釜はその後のミシンの高速化を可能にし、ミシンが産業用機器として縫製工場で使われた事で普及し、現在は、工業用、家庭用とも回転釜が採用されている。半回転釜は1880年シンガー社の発明であり、ウィルソンの回転釜が全回転釜なことが解るが、シャトルタイプかフックタイプかは定かでない。シャトルタイプの説が有力だが、早い時期にフックタイプも開発されたことは、釜を英語で「hook」と呼ぶことから解る。半回転釜も含めシャトルタイプは「shuttle hook」と呼ぶ。
 シャトルタイプとフックタイプの縫い目形成過程の違いは3.1.5で詳述した。「フックタイプは縫い目形成過程で上糸ループを半回転ねじり上糸に負荷をかけ縫い目形態に影響を及ぼす可能性を秘めている」、すなわち、シャトルタイプの釜の方が「本縫い縫い目形成の原理」に忠実である。しかし、現在、工業用、家庭用とも釜は、半回転釜を除き、全てフックタイプ全回転釜である。高速性、騒音、振動、更には使用の容易さでフックタイプに優位性が認められるからである。
 釜の分類上、この他に水平全回転釜がある。水平全回転釜はフックタイプ全回転釜を水平(布平面に平行)に配置したタイプである。従って、上糸ループを半回転ねじる上に、水平方向に90°大きく曲げるため「本縫い縫い目形成の原理」から大きく逸脱している。それにも関わらず、家庭用ミシンでは高級機種を主に、国内ミシン市場を中心に世界のミシン市場で普及し続けている。これは、ボビン(下糸)の交換が極めて簡単で、ボビンケースがいらないという使用の容易さに極めて高い優位性があるためである。
 環縫いで、釜に相当するのがルーパー機構である。
 一般的なルーパー形状を図3.45に示す。また、単環縫いルーパー形状を図3.46に、2本糸小型ロックの鉤ルーパーを図3.47に示す。この他、すくい縫いルーパー、オーバーロックの上ルーパーがある。

図3.45 ルーパー形状

図3.46 単環縫いルーパー形状

図3.47 鉤ルーパー形状14)


 一般的なルーパー形状は、1851年グローバー(William.O.Grover)の二重環縫い発明時に原型ができ、形状が釜形状より極端に薄く、ルーパーを積層状に並べた多本針二重環縫ミシンを可能にしている。
 環縫い縫い目形成の原理は、「2 ミシンの歴史」冒頭図2.4で記述した。また、図2.3で初期の単環縫い縫い目を(1)図で、現在の単環縫い縫い目を(2)図で表した。初期の単環縫いはかぎ針を使い、図2.3(1)の形態であった。この縫い目形態は1824年バルテルミー・チモニエ(Barthelemy Thimonnier)の環縫いミシンとして実用された。その後、チモニエは1845年改良型を作成し、このミシンの縫い目形態は図2.3(2)、すなわち現在の縫い目形態、JIS L0120表示記号101であった。この縫い目形態の実現には、ミシン針(かぎ溝ではなく穴)とルーパーが必要であり、図3.46単環縫いルーパー形状の原型ができたと言える。また、この縫い目形態と単環縫いルーパーのアイデアは、グローバーの二重環縫いの発明につながったと言える。


3.3.4 縫い目形態

 縫目形態の種類は「JIS L0120 ステッチ形式の分類と表示記号」で規格化されている。その内訳は、手縫い13種(表示記号200番台)、本縫い27種(表示記号300番台)、環縫いが単環縫い7種(表示記号100番台)、二重環縫い17種(表示記号400番台)、オーバーロック(縁かがり)15種(表示記号500番台)、扁平縫い9種類(表示記号600番台)の合計48種類であり、総計88種類が規格化されている。「インターロック」は二重環縫い(表示記号401)と3本糸オーバーロック(表示記号504)の複合縫目(401+504)でありJIS L0120では規格化されていない。従って、実質的に縫目形態は89種類とも言える。

図3.48 インターロック(401 + 504)


 インターロックは「安全縫い」又は「セーフテーステッチ」とも呼ばれる。地縫い(二重環縫いによる縫合)とかがり縫い(3本糸オーバーロック)を同時に行う生産効率の高さと、環縫い同士の機能複合機であることからニット製品の製造で威力を発揮することが期待され、一時期は非常に注目されたが、ニット製品の製造では、二重環縫いとオーバーロックが独立していることから、糸切れによる縫目のほどけ易さが欠点となり、「4本糸オーバーロック」にとってかわられ、現在は「ワイシャツのわき縫い」等、使用用途は限定されている。
 代表的な「ステッチ形式」と、用途について記述する。
 手縫い(表示記号200番台)はミシンの縫目ではない。本縫い(表示記号300番台)は、「縫合」の基本的縫目である。両縫い目共使用用途は多岐にわたる。
 単環縫いは一本の糸で編まれた編み目を縫い目にしたもので、「チェーンステッチ」とも呼ばれる。チェーン状に糸が絡んでいる形状が美しいことから飾り縫いとして使われる他、裾まつり(すくい縫いミシン)、ほどけ易いことを利用した仮縫い、袋口縫い等に使用され、特殊な用途では傘の縫製に使われる。
 単環縫いの代表例には、ズボンの裾上げ等に使われるすくい縫い縫い目(表示記号103)がある。

図3.49 手縫い縫い目形態(209)7)

図3.50 本縫い縫い目形態(301)7)

図3.51 単環縫い縫い目形態(101)7)

図3.52 すくい縫い縫い目形態の代表例(103)7)

 二重環縫いは2本の糸で編まれた編み目を縫い目としている。環縫いの長所は効率の良い生産性であり、アパレル製品では頻繁に使われる。特に、ジーンズのわき縫いへの使用は有名で、「黄色く太い綿糸での二重環縫い」はジーンズの代名詞として、ファッション的価値も創出している。

図3.53 二重環縫い縫い目形態(401)7)

 針糸を二本にした「2本針二重環」は、ベルトループの作成に使われてよく目にする。また、縫製品の布端末処理に使われ「カバーヘム」とも呼ばれる。下着等では縫合部のゴロツキ(厚み)を避けるため、布を重ねず突合せ、その部分に接合布をあて、2本針二重環で縫合する方法がとられる。また、数本の針糸に布表側で「飾り糸」を縫い合わせる「扁平縫い」は縫製品の縫合部の補強に使われる。この様に「2本針二重環」は二種類あり、JISでは区別の為布表に飾り糸を使う「2本針二重環」を「扁平縫い」として別分類している。また、「多本針二重環」にも「2本針二重環」が存在することから、上飾り糸のない「2本針二重環」を「扁平縫い片面飾り」と呼ぶことがあり、この時、「扁平縫い」を「扁平縫い両面飾り」と呼ぶ。
 「多本針二重環」は、一本の針に一本のルーパーが対応する二重環縫いが複数以上一台のミシンに搭載された複合ミシンであり、縫い目形式では分類されていない。多本針二重環は、スモッキング縫いなどに威力を発揮する。多本針二重環で2個の二重環縫い機能を装備したミシンは「2本針二重環」となるが、分類上で上記説明をした「2本針二重環」とは、ミシン構成、縫目形態、使用目的とも全く異なるものである。
 オーバーロックの縫い目の代表例に、2本糸オーバーロック(表示記号503)がある。

図3.54 2 本糸オーバーロック縫い目形態(503)7)

 2本糸オーバーロック(表示記号503)は、縫目間の長さに対し針糸の消費量が多く、縫製品の縫い方向の伸縮を阻害しないので、ニット製品等、伸縮性のある素材の縁かがりに多用される。環縫いは、糸のループどうしが結節し「編んでいる」ので、布なしても縫い目を作り、できる紐状を「空環(からかん)」と呼ぶ。2本糸オーバーロックの空環は二重環縫いと同じである。ルーパー糸ループを針が捕捉する場所が2本糸オーバーロックでは布の上方であり、二重環縫いでは布の下方である違いだけで、布がなければ同じ縫目となる。
 「2本糸オーバーロック」の基本縫い目形態は、針糸ループとルーパー糸ループが布端で結節するので針糸が縫い目ピッチより多く使用され、布の伸縮に幅広く対応し布の風合いを損ねない特長を生かし、伸縮の大きいニット製品の縁かがりに多用される。また、「3本糸オーバーロック」に比べ針糸が布を貫通している近辺の糸が1本少ないことによるゴロツキの少なさから巻き縫いの仕上がり品質に有意差があり、巻き縫いには「2本糸オーバーロック」が使われる。また、「3本糸オーバーロック」と比べゴロツキが少ないことは縁かがりに太い糸を使えることを意味し、この特徴を生かし、絨毯や毛布の縁かがりにも使用されている。
 オーバーロックの代表例として、最もポピュラーな3本糸オーバーロック縫い目がある。
 3本糸オーバーロックの代表的縫い目には、縁かがり用縫い目形式(表示記号504)と裾引き用縫い目形式(表示記号505)がある。表示記号504及び表示記号505は共に一般縫製品に多用されている縫い目である。

縁かがり用(504)

裾引き用(505)

図3.55 3 本糸オーバーロック縫い目形態7)

 「3本糸オーバーロック」は、針糸と2本のルーパー糸の3本の糸で筒状に編み上げる編み目を使用したもので、針糸が布を貫通することで、布端が筒状の中に納まり布端処理の「縁かがり縫い」の原型となる。3本の糸のどの糸を引き締めるかで使用用途が異なり、引き締める糸の違いで縫目形態の分類も異なる。「3本糸オーバーロック」の標準の縫い目形態は針糸を引き締めた縫目形態(表示記号504)で、これは一般布帛(織布)の縁かがりとして適している。織布は縦糸と横糸を90°方向に配置して織りあげられるが、例えば、縦糸方向に縁かがりをした場合、織りが甘い布に「2本糸オーバーロック」を使うと、横糸方向に力が生じた時、縦糸が引っ張られ、簡単に滑落してしまう危険性がある。同じ条件で「3本糸オーバーロック」で縁かがりをすると、引き締められた針糸が布の横糸をしっかり保持し、横糸方向の力に抵抗する力が発生し縦糸の滑落を防止する。
 「裾引き」は「ブラインドステッチ」とも呼ばれる。表示記号504と表示記号505の違いは、針糸、下ルーパー糸のどちらを引き締めるかによる各糸の糸張力バランスの違いである。図3.56~図3.58で裾引き縫いを行った縫製品で504,505の効果の違いを示す。

図3.56 裾引き縫いをした縫製品

図3.57 裾引き縫いをした縫製品

図3.58 裾引き縫いをした縫製品

 ①は針糸、②は下ルーパー糸、③は上ルーパー糸、④は針糸と下ルーパー糸の結節点、⑤は下ルーパー糸と上ルーパー糸の結節点、⑥は針糸と上ルーパー糸の結節点、⑦は縫い代(かがり幅)、⑧は布、⑨は針である。
 S字状に折り曲げられた布⑧の下の曲げ位置で針⑨が布⑧全体を貫通し表示記号505の縫い目を完成させる(図3.56)。縫われた布⑧は袋状の部分を回転⑩させ、表面を平らにした状態で使われる(図3.57)。表示記号505は下ルーパー糸②を引き締め針糸①を緩めている(図3.56)。この縫いで、下ルーパー糸②を引き締めず針糸①を引き締める表示記号504を使うと、針糸①と下ルーパー糸②の結節点は図3.56④´の位置にできる。この縫目形態の状態で布⑧の袋状の部分を回転⑩させたのが図3.58である。針糸①と下ルーパー糸②の結節点④´が布⑧と縫い代⑦の間に挟まり、結節点④´の厚みが縫い代⑦を立ち上げ、縫製品の品質を落としている。
 「4本糸オーバーロック」は「3本糸オーバーロック」の針糸が2本になった縫い目である。この縫い目は、近年多くなったニット製品を対象に、「縫合」と「縁かがり」の機能を併せ持つ縫い目である。従来、ニット製品の「接合」は「リンキング」という、編み目を一つ一つ拾い上げ接合糸で編み上げる手法であったが、「4本糸オーバーロック」による「縫合」の採用で、生産効率の大幅な向上が可能となり、ニット製品は「4本糸オーバーロック」による縫合が主流となった。

図3.59 扁平縫い縫い縫い目形態の代表例(602)7)

図3.60 2 本針二重環縫い縫い目形態(406)7)

 扁平縫い(表示記号600番台)の代表例は表示記号602であり、その縫目形成過程は2本針二重環(表示記号406)とほぼ同じで、布の上面の2本の針糸間に渡り糸(飾り糸)を絡ませる違いがある。その使用用途も2本針二重環とほぼ同じで、縫い上りに縫い代がなく、縫製品の着用感で縫目の“ゴロツキ”感がないことから、下着等の縫製品に多用される。

 

3.4 主な国内ミシン製造会社にとってのマイルストーン

 今回の「技術の系統化調査」では一般社団法人日本縫製機械工業会の全面的協力を得て、会員各社に「各社のマイルストーンとなる機種」の提示をお願いした。
 本報告書は、礼を失することを承知の上で会社名の「株式会社」等会社形態を示す表記を省略して記述したが、本節での各社提示の回答では省略せずに記述する。
 日本縫製機械工業会は、戦後、ミシン業界の技術構築及び市場調査、分析を主導し、ミシン事業、更には日本の産業界の発展に深く関わった団体である。
 ミシン業界は誇るべき伝統はあるものの、繊維業界、アパレル業界及び縫製業界という大きな産業界に寄り添う小さな業界である。それは、繊維業界やアパレル業界が“風邪をひけば”ミシン業界は“寝込んでしまう”と比喩できるほどである。
 ミシン業界は、戦後、すぐに復興した数少ない産業として、他の多くの産業からの参入を歓迎し、ミシン製造あるいはミシン部品を製造する会社が急増し“大所帯”となったが、他産業から参入した企業が“本業”が軌道に乗った段階でミシン事業から撤退したこと、また、1990年繊維縫製品の流通機構改革で、縫製産業及びアパレル産業が大打撃を受けたことの影響で、ミシン事業からの撤退を余儀なくされた企業が、廃業や他の産業へ転換し日本縫製機械工業会も会員が大幅に減少した。このような社会情勢の中、戦後ミシン産業の隆盛に深く関わった福助足袋、リッカーミシン、シンガー日鋼、リズムミシン、アイシン精機等が、ミシン事業撤退、あるいは廃業したことにより各社の技術が埋もれてしまったことは残念である。
 現在も世界の社会生活、社会文化の変化は流動的で、ミシン事業もその荒波の中で苦悶している。その様な状況にも関わらず、今回の系統化調査に協力頂いた会員各社に、感謝し、敬意を表したい。今回の回答を基に系統化調査報告書を作成したが、対象を「ミシン単体」に絞ったため、日本のミシンの歴史に深く関わってきたミシン部品製造の歴史、ミシン周辺機器の歴史には触れなかった。特に、1970年代から日本のミシンの歴史に深く関わり、ミシン技術の進むべき方向性を共に模索した「自動縫製省力機」を取り上げなかったことは筆者の浅学、無知によるところが大きく無念である。「自動縫製省力機」については、工業会会員会社株式会社友縫機械の回答(当該会社のマイルストーン)を記載するので、ミシンとの関係、「自動縫製省力機」の歴史推移を読み取って頂きたい。また、対象ミシン製造各会社についても回答された詳細な系統図の中から筆者が独断で抽出したもので、当該会社には不満が残ると思うがご容赦頂きたい。同時に、読者には本報告書をもって会社判断をされないことを望む。現時点(2021年)での日本縫製機械工業会の会員名簿を表3.3に示す。(「日本ミシン産業史」によると1961年時の会員会社数82社)(以下、記述会社は順不同)

表3.3 一般社団法人日本縫製機械工業会会員名簿(2021 年)15)

正会員
企業名本社所在地
1株式会社アックスヤマザキ大阪府
2株式会社イツミ長野県
3株式会社エース岡山県
4株式会社エヌシーエー大阪府
5大阪電機工業株式会社大阪府
6オルガン針株式会社長野県
7株式会社川上製作所岡山県
8木下精密工業株式会社愛知県
9株式会社佐分工業所新潟県
10株式会社ジャガーインターナショナルコーポレーション大阪府
11蛇の目ミシン工業株式会社東京都
12JUKI株式会社東京都
13株式会社鈴木製作所山形県
14株式会社鈴民精密工業所新潟県
15セイコーミシン株式会社千葉県
16株式会社TISM愛知県
17株式会社 TOWA JAPAN新潟県
18直本工業株式会社大阪府
19株式会社中根製作所栃木県
20株式会社ナムックス広島県
21株式会社西製作所新潟県
22株式会社日進製作所京都府
23株式会社ハシマ岐阜県
24株式会社ハッピージャパン山形県
25ハムス株式会社京都府
26株式会社バルダン愛知県
27株式会社広瀬製作所大阪府
28ブラザー工業株式会社愛知県
29ペガサスミシン製造株式会社大阪府
30瑞浪精機株式会社岐阜県
31三菱電機株式会社東京都
32美馬精機株式会社徳島県
33株式会社森本製作所大阪府
34ヤマトミシン製造株式会社大阪府
35株式会社友縫機械愛知県
小計(35社)
賛助会員
1アサヒ繊維機械工業株式会社大阪府
2エリゼ株式会社大阪府
3JUKI販売株式会社東京都
4株式会社島精機製作所和歌山県
5東レACS株式会社東京都
6株式会社ベビーロック東京都
7株式会社ムラコシ精工東京都
8株式会社ユカアンドアルファ東京都
9一般社団法人日本繊維機械協会東京都
小計(8社・1団体)
会員合計(43社・1団体)

ブラザー工業株式会社

 ブラザー工業株式会社のミシン事業は家庭用ミシン分野、工業用ミシン分野において、出荷数、ミシン技術で世界の1、2を争う世界におけるトップクラスのミシン製造会社である。

ブラザー工業株式会社のマイルストーン
・1928年昭三式ミシン(麦わら帽子用環縫いミシン)「昭三式ミシン」は2007年、日本機械学会により「機械遺産」第15号、経済産業省「近代化産業遺産」に選定されている。
・1947年HA1-B3型(家庭用ミシン)
業界主導共通機種、戦後復興の礎
・1953年HZ1-B1型(家庭用ミシン)
ジグザグミシン、ジグザグミシンは、戦後の家庭用ミシンの方向性を決めた。
・1961年DB2-B755(工業用ミシン)
本縫い全自動給油ミシン、累計100万台突破のベストセラー製品。ブラザー工業用ミシン事業を軌道に乗せた。
・1979年ZZ3-B820 オーパス8(家庭用ミシン)
世界のミシン市場にコンピューターミシン時代を造る
・1981年BAS400(工業用ミシン)
コンピューター刺繍機
・1988年ZZ3-B778テンディスペシャル(家庭用ミシン)
「上糸強制繰り出し方式」の実用化
・1993年DB2-DD7000(工業用ミシン)
ダイレクトドライブ、ドライヘッドを採用、工業用ミシン高速汎用化の先駆け

株式会社ジャノメ

※株式会社ジャノメは、本報告書作成中に「蛇の目ミシン工業株式会社」から社名変更をした為本報告書中では「蛇の目ミシン工業」で表記している。

 株式会社ジャノメのミシン事業は家庭用ミシン分野で、出荷数、ミシン技術で世界の1、2を争う世界におけるトップクラスのミシン製造会社である。

株式会社ジャノメのマイルストーン
・1921年パイン500種53型(家庭用ミシン)
 シャトル(長舟)使用小型ミシン。ニューホーム社「リトルワーカー」がモデル
・1929年パイン100種30型(家庭用ミシン)
 本格的国産ミシン製造を開始
・1948年HA-1 102型(家庭用ミシン)
 業界主導共通機種、戦後復興の礎
・1957年532型(家庭用ミシン)
 ジグザグミシン、ジグザグミシンは、戦後の家庭用ミシンの方向性を決めた。
・1971年ジャノメ・トピア(家庭用ミシン)
 シャトルタイプ垂直全回転釜搭載
・1979年メモリア(家庭用ミシン)
 世界のミシン市場にコンピューターミシン時代を造る。水平釜搭載
・1980年Combi-Two in One(家庭用ミシン)
 本格的複合ミシンの先駆け
・1991年SECIO(家庭用ミシン)
 刺繍機能付きコンピューターミシン(1989年完成、1990年発表されたが、商標権問題により、発売は1991年となった)

三菱電機株式会社

 三菱電機株式会社は日本有数の大企業である。従って、同社展開の全事業の中で、ミシン事業はかなり小さな寄与率でしかない。しかし、国産ミシン産業にとって、その黎明期から現在まで、重要な役目を担い、多大な貢献を果たしてきた。その活動内容は2.2.1、2.3、3.1で記述した。国内ミシン産業黎明期から第二次世界大戦中までの時期では、官、民からの要求をバランスよく受け止め、国産ミシン会社が偏った方向を向いた時は、反対の方向の補填をする施策をとる等、国内ミシン産業の進むべき方向性を指し示した。戦後では、工業会の会長を15年以上に渡り輩出(岸本久雄)する等、ミシン産業、ミシン技術の進むべき方向を、身をもって実践、指し示してきた。
 実際に同社の行ってきたミシン技術を含むミシン事業の方針、施策は我々ミシン技術者にとって不可解なものであった。2.2.1で記述した様に、国産ミシン産業の黎明期では海外で使われている工業用特殊ミシンを9機種も開発、市場導入し、戦後でも国内ミシン会社の先陣を切って海外で使われ日本では新しいミシン機能の機種開発、技術導入を行っていながら、他のミシン会社で当該同一機種の生産が安定軌道に乗ると、競うことなく早々と改良機種の開発を中止し、別の新しい機種に挑戦を始めたのであった。その極めつきは、家庭用ミシンの隆盛が最盛期に達した1980年前後に家庭用ミシン事業から撤退したことである。当時の家庭用ミシン隆盛の大きな要因は電子技術、コンピューター技術の導入であり、同社の最も得意とする分野であったにも関わらずであった。しかも、同時期、同社は、業界に先駆け工業用ミシンに電子技術、コンピューター技術を導入する開発を始めていた。同社は、同社のミシン事業の発展より、国内ミシン産業の発展、進むべき方向性を指し示すことを優先してきたとしか思えない。
 同社のこのような方針はアジアのミシン産業界の発展をも助成している。1980年前後に、台湾、韓国で技術提携ベースによる生産を始め、その後、中国のミシン生産会社へ、技術移転も行っている。
 筆者は、このような同社の活動結果に何度か遭遇しているので一例を記す。1990年頃、筆者の所属していた会社がドイツのミシン会社と技術協力をするということで先方の会社と技術検討交渉の会議を行ったとき、先方の技術者の発言にしばしば出てきた「日本のミシン技術」の対象ミシンは「三菱ミシン」であった。
 ここまでの記述は、あくまでも筆者の感想から出た推測で、三菱電機株式会社の方針とは異なっているかもしれない。しかし、筆者の推測に基づき、筆者が本報告で評価した「シャトルタイプ垂直全回転釜使用ネッキタイプジグザグミシン」(工、職業用千鳥縫いミシン)、「職業用複合ミシン」の開発、実機化を、是非、三菱電機株式会社で実現してもらいたいと願うものである。
今回の「技術の系統化調査」協力依頼の回答の中に2.2.1で記述した「三菱電機(技報)」に連載された「ミシン発達史」のコピーの資料提供があった。この資料は、ミシンの歴史だけでなく、当時の外国製特殊工業用ミシンの紹介、及び、ミシン機構の解析及び解説が載っており、技術的にも価値のある文献である。

三菱電機株式会社のマイルストーン      
・1933年25種A形(家庭用ミシン)
戦後の職業用ミシン「TA-1型」の基となる。
・1934年35種A形(工業用ミシン)
国産工業用ミシン最初のミシン
・1947年TA-1職業用ミシン
・1982年PLK-109(工業用ミシン)

 PLKシリーズはいわゆる「サイクル縫いミシン」である。サイクル縫いミシンと刺繍機は両機とも枠送りであるが、刺繍機は糸で模様を描く機能のみであるが、サイクル縫いミシンは、ラベル等を縫合する機能も必要で、模様は単純だが、同時に縫合力を必要とする高度なミシン技術が要求される。PLKシリーズの代表機種PLK-J6040Rのイメージ画像を図3.61に示す。

図3.61 工業用電子ミシンPLK-J6040R 4)



JUKI株式会社

 JUKI株式会社のミシン事業は工業用ミシン分野において、出荷数、ミシン技術で世界の1、2を争う世界におけるトップクラスのミシン製造会社である。また、家庭用ミシン分野でも、日本国内でトップクラスの開発、販売実績をもち、海外向けはOEM供給を主に豊富な実績を持つ。今回の「技術の系統化調査」協力依頼の回答では、「官・民・学共同大型プロジェクト」の多くの貴重な資料の提示協力があった。

JUKI株式会社のマイルストーン
・1947年HA-1(家庭用ミシン)
 業界主導共通機種、戦後復興の礎
・1953年DDW-Ⅱ(工業用ミシン)
 単軸回転天秤搭載、日本の工業用ミシン発展の礎となった。
・1954年HW-8(家庭用ミシン)
 単軸回転天秤搭載家庭用ミシン
・1954年TR-7(職業用ミシン)
 単軸回転天秤搭載職業用ミシン
・1959年HZ-25(家庭用ミシン)
 ジグザグミシン、ジグザグミシンは、戦後の家庭用ミシンの方向性を決めた。
・1969年DDL-555-2(工業用ミシン)
 自動糸切装置搭載、縫製自動化へ道を開く。
・1982年HZL-5500(家庭用ミシン)
 コンピューターミシン
・1985年HZL-7000ザ・ミシン(家庭用ミシン)
松原式上糸強制繰り出し方式の採用

株式会社鈴木製作所
株式会社ベビーロック

 株式会社鈴木製作所は小型ロックの開発と共にミシン製造業に本格参入した会社で、同社で開発、製造された大半の機種は株式会社ベビーロック(旧・株式会社ジューキ)を通し販売されている。ベビーロック(小型ロック)をミシン市場に持ち込み、工業用ミシンと家庭用ミシンの分類概念を大きく変革し、新しい市場を開拓、確立したのは株式会社ベビーロックの有能なサービス/セールスエンジニアであった。
 両社は、経営は異なるが、ミシン事業はほぼ一体となって行動している。これは強力なミシン事業の推進力となっているが、弊害もある。本報告4.1.3で記述する「縁飾り縫い機構搭載複合ミシン」が市場に投入されないのは株式会社ベビーロックの「このミシンに市場性はない」との評価によるもので、筆者の評価とは異なっている。多分、市場性評価では、小型ロックでの実績が示す様に株式会社ベビーロックが優れているので、正しい選択であると判断できるが、実社会では「正解がいくつもある」のであり、本報告書で記述した筆者の評価にも注目してもらいたいのであるが・・・。
 「技術の系統化調査」協力依頼の株式会社鈴木製作所の回答は、株式会社ベビーロックを介し両社合同での回答であった。

株式会社ベビーロックのマイルストーン
・1968年EF-205 ベビーロック
家庭用ミシン、工業用ミシンの概念を変えた
・1993年BL55 衣縫人(いほうじん)
エアー ルーパー糸通し搭載
公益財団法人日本発明振興協会主催の第 21 回発明大賞受賞(1997 年)
・1997年BL23 糸取物語(いととりものがたり)
自動糸調子器(畜糸器)搭載
・2009年BLQK-J刺し子ミシン(さしこみしん)
新縫い目形態=疑似ハンドステッチ縫い目

ペガサスミシン製造株式会社

 ペガサスミシン製造株式会社は環縫い系工業用ミシンの分野で、世界で1、2を競う、環縫い系工業用ミシンのトップクラスのミシン製造会社である。

ペガサスミシン製造株式会社のマイルストーン
・1937年DC-1型オーバーロック(工業用ミシン)
当初機種名「81-6型」、戦後「DC-1型」
・1948年DW-1型筒型3本針飾り縫ミシン(工業用ミシン)
・1957年DCPシリーズ(工業用ミシン)
DCPシリーズで開発のDCP型クランクシャフト方式は,ペガサスの代表方式になった。
・1960年DC-MS安全縫ミシン(工業用ミシン)
・1961年HR装置(周辺機器)
HR装置は針先を一針毎にシリコンオイルで自動的に冷却する装置でミシンの高速回転使用を現実のものとした。
・1963年DCR-600曲針オーバーロック(工業用ミシン)
6,500回超高速曲針オーバーロックミシン。
・1973年W63シリーズ(工業用ミシン)
超高速偏平縫ミシン
・1977年Eシリーズ(工業用ミシン)
毎分8,000回転超高速オーバーロックミシン
・1988年W600シリーズ
超高速シリンダーベッド型偏平縫ミシン
 

ヤマトミシン製造株式会社

 ヤマトミシン製造株式会社は環縫い系工業用ミシンの分野で、世界でも1、2を競う環縫い系工業用ミシンのトップクラスのミシン製造会社である。

ヤマトミシン製造株式会社のマイルストーン
・1946年DC-1オーバーロック(工業用ミシン)
・1955年DW-100(工業用ミシン)
扁平縫い縫いミシン
・1959年DCS(工業用ミシン)
6,000回転超高速オーバーロック
・1959年DC-51安全縫いミシン(工業用ミシン)
・1968年DV-1400高速平ベッド扁平縫いミシン(工業用ミシン)
・1980年DS-100(工業用ミシン)
超高速二重環縫いミシン
・1980年DW-1645/LK(工業用ミシン)
左メス機構付き扁平縫いミシン
アメリカを始め世界の注目を集めた。
・1983年ZF1000(工業用ミシン)
上下差動送りオーバーロック
・1990年VCF(工業用ミシン)
上下差動送り扁平縫いミシン
 

株式会社TISM(タジマ)

 株式会社TISM(タジマ)は刺繍機の分野で、世界で1、2を競うトップクラスの刺繍機製造会社である。

株式会社TISM(タジマ)のマイルストーン
・1964年M-J106多頭式刺繍機(ジャガードタイプ)
日本初の自動刺繍機
・1986年シークイン刺繍機
シークイン刺繍と平刺繍の併用
・2001年TFGNシリーズ
大量生産向け多頭式刺繍機
・2017年コンパクト刺繍機「彩」

株式会社バルダン

 株式会社バルダンは刺繍機の分野で、世界で1、2を競う、トップクラスの刺繍機製造会社である。

株式会社バルダンのマイルストーン
・1959年国産工業用刺繍機第1号
・1972年自動色替装置付3本針刺繍機BEU
・1974年自動色替装置付5本針刺繍機BEUF
・1977年電子制御装置付高速刺繍機BEHUF
コンピューターの導入

株式会社友縫機械

 株式会社友縫機械は「自動縫製省力機」(工業用)の製造販売を行っている会社である。その機械の一部である工業用ミシンは工業用ミシン製造会社による製品を使用している。「自動縫製省力機」から見れば「工業用ミシン」は機械の「(構成)部品」であるが、「工業用ミシン」から見れば「自動縫製省力機」はミシンの周辺機材となる。実際のユーザーから見れば、「自動縫製省力機」が欲しいのであるから、前記の“定義”が正しいが、工業用ミシン会社の販売形態が、システム受注契約をすることも多く、その工程毎の各種専用ミシンを一括受注することが多いことから後記の“定義”も成り立つ。このことから、ミシン業界は「自動縫製省力機」製造会社を「改造ミシン製造会社」と認識しミシン製造会社として扱い、「自動縫製省力機」製造会社も了解している。この状況の理解を助ける意味で図3.62に「自動縫製省力機」の一例を示す。

図3.62 自動縫製省力機の一例16)


 自動縫製省力機は、1970年頃を期に工業用ミシンが縫製業界の自動化の方向性に対応し自動機の開発を目指した頃から重要度が増し、工業用ミシンが縫製業界の要望に応える重要な役割を果たした。このような状況から、同社の機種は100種を超え、製造の多くは客先要望に応える1品生産のカスタム品である。
 今回の「技術の系統化調査」の対象を「ミシン単体」に絞ったことで、日本のミシンの歴史に深く関わってきた「自動縫製省力機」を取り上げなかった。そこで、今回の協力依頼に対する株式会社友縫機械からの回答を以下に示すので「自動縫製省力機」の歴史推移とミシンとの関わりを読み取って頂きたい。

株式会社友縫機械のマイルストーン
・1972年U-7201
全自動縁かがり縫い機(同社初の自動機)
開発当時、国産ミシン頭部が自動機として使用可能なものが未開発であったため、独・PFAFF社のミシン頭部、独・エフカ社のミシンモーター、針コントロールモーターを搭載、電圧、周波数等の影響を受けない米・ハンフリープロダクツ社の小型エアバルブを使用したエアー制御を採用、全自動制御を実現。
・1981年U-8101シリーズ
ダーツシーマー
・1981年U-8103/900シリーズ
ショートシーマー
両シリーズ共に、立石電機株式会社(現・オムロン株式会社)が開発したシーケンス・コントローラー(SCY-P1型)を用いた制御システムを縫製自動機に導入した。その後、JUKI社の自動糸切りミシンを採用。
・1986年BAS-102
ブラザー工業社とのコラボ自動サージング機
・1986年ADU-332
JUKI社とのコラボ自動ダーツシーマー
この両機種は、ブラザー工業社、JUKI社の販売力が力となり、国内外において縫製自動機の普及を促進する役目を果たした。
・1998年U-9802-D
シャツ剣ボロ自動折込ステッチ縫い自動機。
JUKI社の当時の最新鋭高速電子閂止めミシンを採用、Dürkopp Adler社のシャツ剣ボロ自動機に対抗し小型化と低価格化を実現した。

引用

1)蛇の目ミシン社史編纂委員会編纂,「蛇の目ミシン創業五十年史」,蛇の目ミシン工業,1971.
2)日本ミシン協会日本ミシン産業史編纂委員会編,「日本ミシン産業史」,日本ミシン協会,1961.
3)写真提供:ブラザー工業株式会社
4)写真提供:名菱テクニカ株式会社
5)撮影: 亀井修(国立科学博物館)
6)写真提供:株式会社ジャノメ
7)日本産業規格,ステッチ形式の分類と表記記号,JIS, L0120-1984.
8)松原亨,「本縫ミシンにおける縫の解析と縫自動調整ミシンの試作研究」,東京大学学位論文,1984.
9)小川成夫,「大型プロジェクト「自動縫製システムの研究開発」の現状」,繊維機械学会誌,Vol. 39, No. 3, pp. 107-111, 1986.
10)小川成夫,「自動縫製システムの研究開発」,繊維学会誌,Vol. 1, No. 1, pp. 107-111, 1991.
11)写真提供:株式会社ベビーロック
12)蛇の目ミシン工業株式会社小金井工場編, 「ミシンの基礎知識」〔社内文書(非売品)〕,蛇の目ミシン工業,1976. を参考に筆者作成.
13)写真提供:株式会社バルダン
14)写真提供:株式会社鈴木製作所
15)資料提供:一般社団法人日本縫製機械工業会
16)写真提供:株式会社友縫機械

参考

蛇の目ミシン社史編纂委員会編纂,「蛇の目ミシン創業五十年史」,蛇の目ミシン工業,1971.
日本ミシン協会日本ミシン産業史編纂委員会編,「日本ミシン産業史」,日本ミシン協会,1961.
松原亨,「本縫ミシンにおける縫の解析と縫自動調整ミシンの試作研究」,東京大学学位論文,1984.
三菱電機株式会社社史編纂室編,「三菱電機社史:創立60周年」,三菱電機,1982.

Contentsに戻る


 4 日本独自のミシン技術

 第二次世界大戦後、「国産ミシンコピー時代」から抜け出した日本のミシン技術の進化が本格的に始まった。その進化は「それまでの約100年間に世界で発明、考案された要素技術を、実機で具現化、普及させる卓越した応用技術であった。」として「3 日本のミシン技術発展の推移」で記述した。
 そのような進化の過程でも日本独自の新しい技術の発明、考案への挑戦は行われており、それらの中から実現された技術及び将来有望と思われる技術について記述する。


4.1 日本独自の技術開発

4.1.1 小型ロック

 1963年、鈴木製作所は「縁かがり機」の試作品を完成させた。同機は量産化を完了し、1966年「2本糸オーバーロック MS-1」として発表したが、工業用オーバーロックとしては、縫い速度が1,500針/分と極端に遅く、かつ、小型、軽量で、産業用機器としては受け入れ難いものだった。
 しかし、ジューキ(現・ベビーロック)が、その縫い速度、小型、軽量に着目して販売権を得、1967年家庭用又は職業用の分野に「ベビーロックEF-205」として販売開始した。すると、一般市場に大きなインパクトを与え、加速度的に普及する結果となった。まさに、アイザック・メリット・シンガー(Isaac Merritt Singer)が、対象市場を家庭の主婦に絞りミシンを社会に受け入れさせた手法の再来であった。

図4.1 オーバーロックMS-1 1)

図4.2 EF 205 型
(図3.19 再掲)

 「ベビーロック EF-205」がミシン産業及びミシン市場に与えた影響の推移は「3.1.4 職業用ミシン」で詳述した。同機は職業用ミシン分類に「小型ロック」という分野を新設し、その後、家庭用ミシン分類に移転する等、新しいミシン市場を開拓、「工業用ミシン」と「家庭用ミシン」の“定義”まで変えてしまった。
 「MS-1」は、技術的にもいくつかのユニークな機構が開発され搭載されている。その代表的なものが、ルーパーの形状と機能、運動軌跡である。
 オーバーロック及び2重環縫いのルーパーは、表面で針又は他のルーパーの糸ループを捕捉し、裏面でルーパーの作った糸ループを針又は他のルーパーに捕捉される。針、上ルーパー、下ルーパーの3部品を使うオーバーロック縫い目形成過程は、3部品の運動が三すくみの軌跡を描き、この軌跡を描く為に針の運動軌跡が布平面に対し傾いている。工業用ミシンは高速の為、糸保持部品の運動速度及び運動軌跡が縫い糸に慣性力を与え糸ループに“あばれ”が生じ、三すくみは“あばれ”を最小限に抑えるため小さく作成される。また、2本糸オーバーロックと同じ縫い目形成の2重環縫いでは、ルーパーの厚みを針避け運動の為薄くする。この観点から、「MS-1型」のルーパー形状及びルーパー軌跡をみる。上ルーパーの形状を図4.3に示す。このルーパーは、「鉤ルーパー」と呼ばれる。 鉤ルーパーの運動軌跡を、機構線図を用いて図4.4に示す。

図4.3 鉤ルーパー(図3.47 再掲)

図4.4 小型ロックの鉤ルーパー機構線図

 ①は鉤ルーパーで、ルーパー糸を縫い目に供給する糸穴②と、針糸を捕捉、保持するルーパー剣先③が形成されている。④は糸穴②の運動軌跡、⑤はルーパー剣先③の運動軌跡である。⑥は針の運動軌跡で針は直線往復運動⑦をする。⑧は駆動軸で揺動回転運動⑨をする。⑩は本体(筐体)に位置が固定された対偶である。⑪は針板で、針板に巻き付いた「編み目」が軌跡平面の後方に抜ける形状をしている。⑫は布、⑬は原動節で駆動軸⑧の揺動回転運動⑨で揺動運動⑭をする。⑮は従動節で、⑯、⑰、⑧、⑩の対偶、及び⑧-⑩の固定節、原動節⑬、中間節(鉤ルーパー)①と共に4節リンク機構を組み、中間節①の動きを制御している。図4.4は、4節リンク機構の3状態を実線、一点鎖線、二点鎖線で示す。この4節リンク機構で動きを制御された鉤ルーパー①の糸穴②とルーパー剣先③は、其々④、⑤の運動軌跡を描く。針は運動軌跡⑥上を下降し、布⑫、針板⑪を貫通し、下死点から上昇に転じ、針糸ループを作る。この針糸ループを、ルーパー剣先③が捕捉する。針は上昇を続け、上死点で下降に転じ、針先が布⑫の上方に位置した鉤ルーパー①のルーパー糸ループを捕捉する。この縫い目形成過程を繰り返し、2本糸オーバーロックの縫い目が形成される。
 3本糸オーバーロック機の縫い目形成は、(縫い糸を持たない)スプレッダーが下ルーパー糸ループを捕捉し、布の上に持ち出して針に捕捉させ縫い目を形成する。しかし、MS-1型では、鉤ルーパー1部品で縫い目を形成する。2本糸オーバーロックの縫い目から布を取り除くと、空環は二重環縫いと同じである。両縫い目とも布の裏側でルーパーが針糸ループを捕捉するが、針がルーパー糸ループを捕捉する場所が、二重環縫いは布の裏側で、2本糸オーバーロックは布の表面であることが違う。二重環縫いのルーパーは針避け運動をする為薄く作成されるが、小型ロックでは、針避け運動を針の軌跡を傾け機能させ、更に、低速を利用してルーパー軌跡を大きくとり、鉤ルーパーの厚み、形状共、家庭用ミシンとして安定した形を形成する。
 この独特の縫い目形成方式を開発した鈴木製作所は、鉤ルーパーの意匠登録(昭和42年登録第274021号かがりミシンのルーパー)以外の工業所有権(特許)を申請しておらず、後発日本ミシンメーカーの市場参入を容易にし、更に、工業所有権侵害を危惧した海外ミシンメーカーが日本のメーカーからOEM供給を受ける判断に繋がり、日本のミシンメーカー生産の「小型ロック」が世界中、広域に渡って普及する結果を生んだ。
 各ミシン製造会社は、その後、工業用ミシンと同じ構造を用いた3本糸オーバーロック機種、4本糸オーバーロック機種を開発し市場投入、更に、2重環縫い機能を搭載したインターロック機種、インターロック機種の2重環縫い機能のみ稼働した2重環縫い、2本針2重環縫い(扁平縫い片面飾り)の機能を搭載した機種、更に、上飾り機構を搭載し扁平縫い両面飾りのできる機種が現れる等、使用用途の範囲までも拡大した。


4.1.2 上糸強制繰り出し方式

 本縫いミシンは布帛を縫い合わせる機械である。従って、性能は可縫性により評価される。「可縫性」の定義は、日本工業ミシン協会(現・一般社団法人日本縫製機械工業会)の昭和56年度事業の「工業用ミシンの可縫性についての試験方法及び評価基準確立のための事前調査事業報告書」で「可縫性とは、ミシンを所定の条件で縫製したときの縫いの品質を言う」とされる。ミシンの品質及び性能は「機械」としての品質及び性能の他、最も重要な評価基準として「機械」そのものではなく縫製品の品質が評価される。
 縫いの品質とは、「縫い目の美しさ」、「縫合強さ」及び「縫合部分の縫製品構成材料との外見的自然さ(視的及び風合いの外見的な溶け込み)」である。すなわち、縫い目形状のバランス(布及び複数の縫い糸の相互バランス)、縫い形成範囲での縫合力の平滑性である。
 この縫い品質は、ミシン有史以来、布(被縫製物)、縫い糸、及びミシンの部品間で発生する摩擦力を利用した縫い目形成メカニズムにより保たれてきた。図4.5に示す様に、縫合及び縫い品質を直接担当する縫い糸は糸調子器より供給されるが、糸調子器は2枚のディスク(糸調子皿)に上糸を挟み、そのディスクにばねで押し圧を加えて発生した摩擦力と、縫い目形成プロセスで発生する摩擦力、糸の繰り出し引き締めで発生する糸張力とのバランスをとり、縫い糸の供給、及び縫い目の糸張力を制御している。

図4.5 従来の縫い目形成メカニズム概略2)

 しかし、摩擦の解析は理論的な扱いが難しく、実験データも再現性に乏しく、なかなか現象が明確にならない。従って、縫い目形成メカニズムは、摩擦力の理論的解析ではなく、開発者のアイデアに基づくトライ・アンド・エラーの積み重ねにより改善が加えられ、その約200年間の積み重ねで、現在の縫い品質が維持されている。すなわち、従来からの縫い品質は「経験則による奇跡のバランス」で維持されている。このことは、縫い条件の変化、被縫製品の材質の変化に対応が取れない結果を生む。このような現状に対し、「経験則による奇跡のバランス」すなわち摩擦力に頼るのではなく、理論的解析が可能な「縫い目に必要な糸長」で縫い目形成メカニズムを制御し縫い品質を理論化する試みが上糸強制繰り出し方式である。この方式は「松原式上糸強制繰り出し方式」と呼ばれる。
 上糸強制繰り出し方式は松原亨により発案され、1980年代、JUKIとブラザー工業が、異なる方式で実機搭載した。搭載された機種JUKI「HZL-7000ザ・ミシン」とブラザー工業「テンディスペシャル ZZ3-B892」を図4.6、図4.7に示す。

図4.6 HZL-7000 ザ・ミシン3)

図4.7 テンディスペシャル ZZ3-B892 4)

 上糸強制繰り出し方式の機能概略説明を図4.8に示す。図4.8中のローラーRt、Rbは常に回転し縫い糸を矢印の方向に送る。把持マグネットMbが閉じている時縫い糸は保持され、ローラー部分では滑って送られない。縫い目形成プロセス中で縫い糸の供給が必要と予期される位相で把持マグネットMbが開き、縫い糸はローラーで矢印方向に送られ、送られた糸長が予期される糸量に達すると把持マグネットMbは閉じられ糸量の移動は停止する。その間に送られた糸量は、閉じている把持マグネットMtとローラーの間に滞留する。縫い目形成プロセスが縫い糸の供給を必要とする時点で、把持マグネットMtが開かれ、縫い目形成メカニズムが必要とする糸量が供給される。

図4.8 松原式縫い目形成メカニズム概略2)

 1縫い目形成に必要な糸量は、1縫目形成プロセスで縫い目が必要とする縫い糸の消費量の総量であり、この総量は1縫い目の長さ(送り量)、布(被縫製物)の厚さ、及び、縫い目を形成する糸張力による伸びを考慮して計算される。布の厚さは、押さえの針板からの距離(高さ)を検出することにより求められる。
 上糸強制繰り出し方式の市場評価は、「縫い目の美しさ」及び「縫合部分の製品の構成品との外見的自然さ」において好評を得、注目をあびた。しかし、縫製条件が変わると調整が必要であったことと、縫合力で若干の問題があり「これでは従来の方式(経験則による奇跡のバランス)と変わりがない(なのに、高価な装置である)」との評価を受け、現在では使われていない。
 当初、問題の根源は、布厚を検出するセンサーの精度の問題だとされたが、本質は、新しい理論の確立には見られがちな縫い目形成メカニズムの解析不足(誤解、誤認識)であり、これらの問題の指摘、改善については、「4.2 縫いの理論化」で詳細に解析する。
 この新しい縫い目形成メカニズムに着目した鈴木製作所は、環縫いの小型ロックで縫い目形態に応用することを企画し、松原亨の助言も受け、同社独自の「蓄糸器」として応用開発、1997年「自動糸調子器」として実機搭載し、市場投入している。

図4.9 蓄糸器の基本構造1)

図4.10 基本原理1)

4.1.3 新しい縫い目形態

 機械縫合に使用される縫い目形態は、ミシンの発明以来、約200年に渡り、本縫いと環縫いの縫い目形態が基本的縫い目形態として利用されてきた。本縫いは2本の糸のレーシングで糸の結節を形成し、環縫いは糸のルーピングで糸の結節を形成する。

図4.11 糸捕捉の種類(図3.42 を再掲)

 1980年代から現在にかけ、ミシンの有史以来約200年を経て初めて、日本で新しい縫い目形態が2件提案され、実機として市場に投入された。

(1)疑似ハンドステッチ縫い目

 疑似ハンドステッチ縫い目は鈴木製作所で開発、実機搭載され、2009年にベビーロックより『刺し子専用ミシンBLQK-J「Sashiko」』として市場投入された。この縫い目は、布表面の縫い糸の形が手縫いと似ていることから、製造会社、販売会社共に「疑似ハンドステッチ縫い目」と呼んでいる。縫目形態を図4.12に示す。

図4.12 疑似ハンドステッチ縫い目5)

 ミシンの歴史有史以来、一本の糸で手縫いと同じ機能を追求し、実現できずあきらめていた縫い目が実現した。決して“疑似”ではないのである。
 図4.12 の(1)が疑似ハンドステッチ縫い目形態である。通常の縫い目形態は、1針で1縫い目を形成するが、疑似ハンドステッチ縫い目の1縫い目形態は2針で形成される。(2)は結節点の状態を解り易くするため結節点を布の下面に移動し、拡大している。(1)、(2)から解るように結節はレーシングで、縫い目は1本の糸で構成されている。この様に「本縫い」とも「環縫い」とも言えない「新しい縫い目形態」である。
 疑似ハンドステッチ縫い目は、図4.13に示す様に「手縫いの縫い目の美しさを機械(ミシン)で実現できないか」という市場要望には十分応えているが、縫合性能では今後の市場評価を待たなければならない。

図4.13 疑似ハンドステッチ縫い目の作品例1)

 図4.14に「疑似ハンドステッチ縫い目形成過程」を示す。1縫目は2針で形成され、従って、1縫目で、釜は4回転、糸さばき片は4往復、送りは2回行われる。

図4.14 疑似ハンドステッチ縫い目形成過程

 ①かぎ針 ②かぎ溝 ③開閉器 ④かぎ針の運動方向 ⑤糸さばき片 ⑥糸さばき片の運動方向 ⑦釜 ⑧釜剣先 ⑨釜の回転方向 ⑩ボビンケース ⑪ボビン⑫針板 ⑬縫い糸 ⑭布(被縫製物)⑮縫い糸ループ。かぎ針①にはかぎ溝②の開口部を開閉する開閉器③が付属している。
 (1)でかぎ針①は縫い糸ループ⑮を捕捉していない状態で下降し④、布⑭の貫通へ向かう。(2)でかぎ針①は布⑭を貫通し縫い糸⑬を捕捉する。開閉器③はかぎ溝②を開口し、糸さばき片⑤は縫い糸⑬を緊張しかぎ溝②へ導く。(3)でかぎ針①は最下点に達し、運動方向を反転④し上昇を開始する。この位相でのかぎ溝②の開口部は開閉器③により閉じられており、縫い糸⑬がかぎ溝②から外れることを防いでいる。また、この位相は釜剣先⑧が糸を捕捉するタイミング間近の位相で、糸さばき片⑤は縫い糸⑬を釜剣先⑧の軌道上から外す作用も行なう。(4)でかぎ針①が布⑭を抜けて行く。(5)、(6)、(7)、(8)で、かぎ針①が布⑭を抜けた後、布⑭が送られるが、1針の間に釜⑦は2回転、糸さばき片⑤は2往復する。(8)の状態の後、かぎ針①は最上点で運動方向を反転、下降を開始し、布⑭を貫通し、最下点で再び反転し上昇を開始し、釜剣先⑧が縫い糸ループ⑮を捕捉する位相となる。(9)で、既に開閉器③は移動してかぎ溝②の開口部は開口し、縫い糸⑬は、釜剣先⑧に縫い糸ループ⑮が捕捉されかぎ針①から外れていく。縫い糸⑬が外れたかぎ溝②は開閉器③の移動により再び開口部が閉じられる。その後、釜剣先⑧に捕捉された縫い糸ループ⑮を釜⑦、すなわちボビン⑪に格納された縫い糸⑬が潜り抜ける。(10)で縫い糸⑬が縫い糸ループ⑮を潜り抜け、釜⑧が潜り抜けて大きくなった縫い糸ループ⑮は、糸さばき片⑤の移動で縫い糸⑬が引き締められ、小さくなっていく。その後、縫い糸⑬の引き締めは、布⑭の移動による効果も助勢し、図4.12に示す縫い目形態が形成される。(図4.14の機構は筆者が説明用に作成したもので、実機は半回転釜が2針に1回往復運動をし、糸さばき片の動きも異なっている。)

(2)疑似オーバーロック縫い目

 疑似オーバーロック縫い目の縫い目形態を図4.15及び図4.16に示す。

図 4.15 疑似オーバーロック縫い目形態(図34.1本6 糸仕様)

図4.16 疑似オーバーロック縫い目形態(4 本糸仕様)

 図4.15、図4.16とも、上糸①と下糸②がレーシングで結節を行い本縫いの縫い目を形成する。③は図4.15でルーパー糸、図4.16で上ルーパー糸、④は下ルーパー糸である。縫い目は、図4.15では上糸①とルーパー糸③が1針で2度ルーピングを行い、図4.16では上糸①と上ルーパー糸③、上ルーパー糸③と下ルーパー糸④、下ルーパー糸④と上糸①のルーピングを行う。

図4.17 JIS L0120 502 6)

図4.18 JIS L0120 504 6)

 図4.15はJIS L0120表示記号502(図4.17)と、図4.16は504(図4.18)と極めて似た縫い目形態をしている。
 図4.15、図4.16とJIS表示記号502、504との違いは、図4.15で布の裏側で下糸②とルーパー糸③が、図4.16では下糸②と下ルーパー糸④が結節しており、下糸ループがルーパー糸ループを貫通、保持することである。このルーピング(結節)の形態は、縫い目形成時は上糸ループがルーパー糸ループを貫通するが、縫い目形態完成時、上糸①の引き締めで、上糸ループがルーパー糸ループの中を通過し、下糸②を引き上げた結果形成される。3本の糸又は4本の糸は縫い目を形成する基本的な構成要素となり、その結節はレーシングとルーピングの混在した縫い目で「本縫い」、「環縫い」の分類に当てはまらず「新しい縫い目形式」と言える。
 この「新しい縫い目形式」は1982年東洋精器工業から特許「ミシンに取り付けて使用するロック縫い器」として出願され、本縫いミシンのアタッチメントとして一般市場に投入された。しかし、特許にも縫い目形態の表記はなく、東洋精器工業は、「新しい縫い目形式」と気づかず「オーバーロックの縫い目ができた」と思い込み、オーバーロックのできるアタッチメントとして市場投入した。この「オーバーロックのできるアタッチメント」は布の下にルーパー及びルーパー糸を導く為の「針板」があり、ミシン本体の「針板」と2枚の針板の間にルーパー糸が導かれ糸の繰り出し引き締めが行われ、縫い糸の張力バランス(糸調子)が一定せず、縫い目品質が乱れる。更に、本縫い縫い目形成部分が、オーバーロック縫いの「布の風合いを損ねない」という特長を妨げている。このことから、当時の市場評価は良くなかったため、「にせ(疑似)オーバーロック」と呼ばれ、市場から忘れ去られる結果となった。
 この新しい縫い目は、1990年代に鈴木製作所が独自開発、2000年代に「疑似オーバーロック縫い搭載本縫いミシン」として市場投入した。鈴木製作所は小型ロックの製造会社で、オーバーロック縫いとの縫い目形成の違いを認識しており縫い上り品質は良好だが、「にせ(疑似)オーバーロック縫い」とされ良好な市場評価が得られず、忘れ去られようとしている。
 市場評価が低い原因は、「一般家庭用ミシンでオーバーロックができる」という2社の市場投入主旨、及び開発主旨にある。「にせ(疑似)オーバーロック」という表現が示す様に、供給側、需給側共に、本縫い縫い目形成部分をデメリットとして評価していることにある。しかし、本縫い縫い目形成部分を特長(メリット)とした使用用途を設定すると、この「新しい縫い目形式」は、将来的に有望な縫い目形態となる。「新しい縫い目形式」は、「縁かがり縫い」の機能としてオーバーロック縫いに比べ“布の風合い”保持で劣るが、差が現れない一般布帛(織布)では、布の地糸をしっかり保持し、布端からの地糸の滑落が起こり難い。更に、現在、工業用として使用されている「インターロック」に置き換わる縫い目として使用されたなら、縫製品の仕上がり品質は格段に向上する。
 インターロックは3.3.4で記述したが、市場投入時の期待に反し、現在は限定された一般布帛用に使われるだけである。新しい縫い目形態をインターロックに代えて使うと、理想的機能が得られ、縫合力は格段に向上、縫い糸が切れても縫い目がほつれない。更に、縫い代も狭められる。インターロックに期待された地縫いと縁かがりを同時に行う合理性と縫い性能を十分に満たし、使用用途は幅広く拡大すると予測される。
 環縫いルーパーは、正面で針糸ループを捕捉し、裏面でルーパー糸ループを針又は他のルーパーに捕捉され形状は限定される。また、相手部品の捕捉に必要な大きさの糸ループを形成するには、布の十分な送り量を必要とする。しかし、新しい縫い目形式のルーパーは、針糸ループを捕捉しない。ルーパー糸ループを捕捉されるだけで、その形状は制限されることがない。その結果、送り量(縫い目長さ)も小さくすることができる。原理的には返し縫いも可能となる。
 新しい縫い目の特徴と、ルーパー形状の工夫で、縫い目長さを小さくし、ルーパー糸に太くて撚りの少ない糸を使用することで、製品の縁を綺麗に飾ることができ、新しい使用用途が生まれる可能性もある。
 以上の様に、「新しい縫い目形式」は、将来、有望な新しい縫い目形態であるが、分類上、現行の分類にあてはまらない。本報告を機会に「新しい縫い目形式」を「縁飾り縫い」と呼び、新しい分野を提案したい。


日本のミシン発明王 佐久間孝一

 山形にある(株)鈴木製作所に「ミシン業界随一の天才発明家(少なくとも筆者はそう思っている)佐久間孝一」という人物がいる。佐久間は、ミシンの知識がないまま小型ロックを“発明”し、鈴木製作所をミシン産業に本格参入させるきっかけを作った人物である。その後も、「疑似ハンドステッチ縫い目」を、更に、前例があるのを知らずに「疑似オーバーロック縫い目」を発明し、また、「上糸強制繰り出し方式」では、すでに旧知の間柄となっていた松原亨の「上糸強制繰り出し方式」に着目し、小型ロックに「蓄糸器」を開発し「自動糸調子装置」として市場投入をした。まさに、日本におけるミシン技術に変革をもたらした人物である。「ベビーロック誕生秘話」1)を基に佐久間孝一の紹介をする。
 「昭和20年代初め、中学を卒業した佐久間少年は鈴木製作所に入社し鍛冶屋の見習いから始めた」。佐久間が若い頃、得意先の洋服店で「見習いの少女が一年中ズボンの裾かがりばかりやらされている姿を見て同情し、何か楽にできる道具を作れないかと思い」工業用ミシンにオーバーロックがあるのも知らずに、独力で「縁かがり機」を作った。後に、大手取引先に見せた時、「これはオーバーロックだ」と告げられ、工業用オーバーロックが世に存在することを知ったという。佐久間発明の機械の存在を知った(株)ジューキ(現ベビーロック)が申し出て「ベビーロック」の商標で一手販売をすることとなった。販売を行うと、販売対象の洋装店ばかりか一般家庭での需要も掘り起こし有望な潜在マーケットが判明、既存ミシンメーカーからも独自の商標「○○○」の名前で市場投入された。しかし、工業用オーバーロックには運針速度3,000針/分クラスの小さめの機種が存在するが、ベビーロックのような低速(最高速度約1,300針/分)でかつ簡便で、一般家庭の主婦が気軽に使える分野がないことから、当初は、各メーカーとも『ベビーロックの「○○○」』と呼んでいた。しかし、ミシン業界は『(今は“ベビーロック”の名称普及のため)ジューキは何も言わないが、ベビーロックの名称使用は明らかに商標権侵害にあたる』として、「小型ロック」という新分野を定義し、分類は「職業用ミシン」となった経緯がある。
 佐久間は、冒頭記述したように、小型ロックの発明後も数々の独創的ミシンを発明し、世に送り出した。
 筆者は、佐久間に直接会いたく、つてをたどり山形の鈴木製作所へ出向き一度だけ会ったことがある。その時の会談で「既存他社製品や特許等の文献は一切見ません。既存のものに影響されては画期的な物は作れません」という言葉が印象に残っている。筆者は「この方は、生粋の発明家気質の方だ」と感じたのだが、帰り際に佐久間をサポートする技術者に感想を聞くと「そうなのですよ、佐久間の考案は参考になるものがない。あとはわかって頂けるでしょ、図面化して商品にするのがものすごく大変なのです。」とのこと。なんとなく微笑ましくなる感覚となるとともに、考案している佐久間の姿を想像し「自分にはできないな」と感じながら帰途に就いたのを思い出す。(ただ、初めて会ったのに筆者の名前を知っていたことから、多分、多少は他人の特許に目を通すことをしていたのだとは思う。)
 佐久間はすでに引退して隠居しているようである。

参考文献
1)及川正幸 ベビーロック誕生秘話 第83回縫製研究会資料


4.2 縫いの理論化

 鎌田佳伸の著作類に、度々、以下の記述が登場する。
 『昔から、繊維の分野では、よく「摩擦の研究は泥沼である」ということが言われてきた。これは、摩擦に関する研究は理論的な扱いが難しく、実験的データもバラツキが大きく、再現性に乏しく、従って、なかなか現象が明確にならずにどんどん深みにはまってしまうので、泥沼であると言われてきたのである。』7)
 更に、『ある人から、「ミシンは完成された機械ではないのですか?」という質問を受けたことがある。この人は、「もうミシンは研究対象にならないのではないか」ということを言外に匂わせていた。確かに、ミシンは“ある意味”では完成された機械と見なしてよいかも知れない。この“ある意味”と言うのは、“機械としては”という意味である。ミシンは精密機械の一つで、現在の機械工学の粋を集めて作られている。その一端は、その高速性にみることができる。…(略)…確かにミシンは、一見、“機械としては完成されている(勿論万能ではないが)”と言ってもよいように思える。しかし、布帛や縫糸が絡んでくるとそうは行かない。ミシンは布帛を縫い合わせる機械であるから、縫糸、布帛などの縫製素材との適合性を抜きにしては機械的性能を語ることができないわけである。したがって、ミシンで縫われた布帛は単に縫糸によって接合されているだけでは商品的価値はなく、縫目の力学的強度や仕立て映えと言われる外観の美しさなどの消費性能を十分に満たさなければならないと言うことになる。その消費性能を満たして、初めて、ミシンは意味を持ち、“ミシンは完成された機械である”と言うことができる。言い換えれば、なかなかその消費性能を常に満たすことができないから未だ“ミシンは完成された機械とは言えない”のである。』8)と述べている。
以上のような観点から、本項では、特に本縫いに関しての「縫いの理論化」について言及する。

4.2.1 本縫いのモーションダイヤグラム

 縫製品の縫い目品質は、安定した適度の縫合力、及び、縫製品に適合した1縫い目形態の安定した繰り返しが大きな評価要素となる。
 しかし、現行の一般的な「縫い目形成及び縫合力発生のメカニズム及びプロセス」は、縫製品の縫い品質が、縫い糸と布、縫い糸と縫い糸、縫い糸とミシン部品との間の摩擦力のバランスを「奇跡」に近いほど上手に使った経験則により成り立っており、この摩擦力のコントロールは難しく、縫製品の良好な縫い目品質、すなわち、安定した適度の縫合力、及び、縫製品に適合した1縫い目形態の安定した繰り返しを得るための調節、制御が難しいのが現状である。端的に言うと、布や糸の様な可撓物を扱うため、摩擦力が代表する不確定要素が多く、なかなか理論通りの結果が出ない。その結果、ミシンでは、今なお、「経験則」による開発が主流であり、ミシンの性能を安定・維持するのは「技術」というよりは「匠」の領域にあると言える。
 このような中で、唯一、ミシンの動きとその仕事の結果を論理的に示したのが「本縫いのモーションダイヤグラム」である。図4.19に職業用ミシンの一般的モーションダイヤグラムを示す。

図4.19 本縫いミシンのモーションダイヤグラム

 ミシンのモーションダイヤグラムとは、針棒上死点を0°として上軸(主軸)が1回転すなわち360°回転する間に、縫いを形成する各機構がどのタイミングでどのように動作し、同時に縫い糸がどのような挙動を示すかを1枚のグラフ上に示したものである。
 モーションダイヤグラムによるミシンの性能解析手法は、戦後、ドイツから伝わり、日本でのミシンの規格化、made in Japanとして国が一括輸出する時代の各ミシン製造会社で製造するミシンの品質均一化に使われ、その威力を発揮した。また、昭和20年代から30年代にかけ、官民共同で行なった海外ミシンの分析にも使われた。すなわち、ミシンの設計仕様として使われたのである。しかし、近年は日本製ミシンの品質は安定し、かつ、ミシン開発が相変わらず「経験則」に基づく設計であり、工場で製造されたミシンの基準ミシンとの同一性の検査手法として使われるのみである。モーションダイヤグラムから、ミシンの機械要素がどのタイミングで、どのように動く事で縫い糸の挙動がどのように発生し、その縫い糸の挙動がどのような縫い目形成をするかを論理的に研究することをしなくなったと言える。「ミシンでの縫いは、なかなか理論通りの結果が出てくれない」ことがトラウマとなり、ミシン開発が相変わらず「経験則」でされているのである。
 象徴的な事例は、筆者が初めて社内セミナーの講師をする際、上司や先輩から「そんな難しいことを教えても理解できないだろう。おおよそ、モーションダイヤグラムを知ったからと言って何の役にも立たない。むしろ混乱させるだけだ。」と言われたことがある。しかし、松原式上糸強制繰り出し方式が代表する「縫い品質の改善」を模索する時、モーションダイヤグラムによる解析は避けて通れない手法である。
 モーションダイヤグラムの解析は、機構の動きの1サイクル(360°)中での各構成要素の動きとその結果を解析することを基本とするが、本縫いミシンの縫い目形成1サイクルは約400°である。この、「ミシンの縫い目形成の1サイクルは約400°」という事実は、モーションダイヤグラムの利用が、設計された機構部品の整合性および検査が目的であったことから重要視されず、無視、誤認されてきた。
 「機構の1サイクルは360°であるから、当然、縫い目形成の1サイクルも360°」という「当たり前の論理」に、多くのミシン技術者がとらわれ、戦後、3/4世紀に渡り日本のミシン技術者は「当たり前の論理」に惑わされ、その解釈から抜け出せなかったのである。実際は、本縫いの「1縫目形成サイクル」は約400°で、1縫目形成サイクルの前後約40°が、前後の縫い目形成サイクルと重複していると解釈すると、「機構の1サイクル360°」との整合性が取れ、モーションダイヤグラムも簡単に理解することができる。
更に、本縫いミシンでのモーションダイヤグラムを理解するには、予備知識として「本縫いの縫い目形成メカニズム」、「重要な縫い目形成プロセス」及び「オイラーのベルト理論」の知識が必要である。

(1)本縫いの縫い目形成メカニズム

 本縫いの縫い目は、上下2本の縫い糸をS撚りに撚り、(図4.20(1))、撚りと撚りの間に布を挟み込み(図4.20(2))、布(被縫合物)の接合を行う縫い目である。

(1)       (2)
図4.20 本縫いの縫い目

 従って、撚りの反作用で縫い目になる前の糸にZ撚りがかかる。従って、縫い糸がS撚りだと解撚され糸がバラバラになる為、ミシン糸はZ撚りに作られる。しかし、この当たり前の縫い目形成メカニズムは、ミシン技術者も含めあまり知られていない。この縫い目形成メカニズムに無関心と言ってよい。それは、「ミシン糸はZ撚りでなければならない」というミシン縫いの「欠点」を知られたくない為である。右利きの人が「こより」を撚ると解るが、基本、糸はS撚りが標準である。従って、布の地糸はS撚りだが、縫合に使う糸がZ撚りではそれ自体で縫製品に違和感が生じる。この「欠点」を隠すため『ミシンの縫い目はミシンの「ミの字」』又は、「縫い糸は釜を潜るとZ撚りがかかる」等、曖昧な表現で「ごまかしている」のである。
 本縫いは縫い目の強度を安定保持する為、上下糸の交差を布の厚み方向のほぼ中間に潜り込ませる。これは、布と糸、糸と糸の摩擦力、及び縫い糸の曲げ抵抗力を縫い目強度に利用すると共に、上下糸の長さをほぼ等しくし、縫い方向の引張力に対し効率よく支える為である。この上下糸の交差点を「結節点」といい、布の厚みの上糸側から何%の位置にあるかを「縫い目交差率」という。縫い目交差率60%が縫い目強度に影響を与えず、上糸側から美しく見えると言われている。

(2)重要な縫い目形成プロセス

 縫目形態を安定的に形成する為に、重要な縫い目形成プロセスがある。1針の縫い目形成過程で、一度上糸が下糸を布の上まで引き上げ、その後、下糸が結節点を布の中に引き込み、縫い目を完結させることである。

図4.21 最も重要な縫い目形成プロセス

 単一縫目形成サイクルの上糸の挙動を見ると、上糸ループを釜(ボビン)が潜る為、縫い目構成に必要な上糸量に比べ多量の上糸量が供給され、その糸を1縫目サイクル中に回収するので上糸が長い距離を往復する。その結果、上糸は布以外にも数々の部材と摩擦している。更に、上糸は単一縫目形成サイクルの間に張力を大きく変化する。従って、上糸に比べこれらの要素で格段に条件の良い下糸に最終的な結節点位置及び縫い目強度の管理を託すことが縫目形態を安定保持するのに効果的になる。この重要な縫い目形成プロセスは古くから知られているが、「機構の1サイクルは360°であるから縫い目形成サイクルも1サイクルは360°」という「“鉄板”論理」にとらわれるとモーションダイヤグラム上で理解できず、「重要視されなかった」又は「意識的に無視されて」きた。まさに、松原式上糸強制繰り出し方式がその代表である。
 また、縫いを構成する上下糸を比較すると、上糸はダイナミックな動きをし、かつ、ミシンの機構の大半は上糸の挙動を制御する為に動いている。更に、縫い品質の評価の大半は「上糸の綺麗さ」に目を奪われる。このことから、縫い目の品質、安定は上糸の挙動が主役と判断され、従来、それを制御する為に色々と研究、検討がされてきたが、モーションダイヤグラムを細かく解析すると、『実は縫い目の品質、安定は「下糸の挙動」が主役だった』という結論が導き出される。松原式上糸強制繰り出し方式でも上糸の挙動が主役と判断され、「1サイクル間の下糸の布締め作用、糸繰り出し作用において、上糸の積極的な運動作用に対して、下糸が受動的役割をなしている実態を解明しようとしたものである。」と言う記述がある。
 しかし、図4.21上図の縫い目形態は重要で、この形態を示した位相で上糸が引き締められ縫合力が確保される。また、この位相から天秤上死点位相の間で、1縫目に消費された糸量が糸調子器から引き出される。

(3)オイラーのベルト理論

 オイラーのベルト理論とは、「図4.22の様な円筒に巻き付いたロープの一端に張力T0がかかると、ロープを反対側に巻き上げるには非常に大きな張力T1を必要とする」というものである。その大きさはT1>T0μθとなる。計算は難しいので、モーションダイヤグラムを理解するには定性のみ理解していればよい。ちなみに、図4.22のようにロープが半周巻き付いていて摩擦係数μ=0.1とするとT1/T0>1.37となる。
 ミシンでは、天秤による上糸引き締め時、また、最終縫目引き締め時(モーションダイヤグラム上の呼称では「下糸繰り出し」時)、更には、各糸道でこの理論の特性を使って上手に摩擦力を利用している。

図4.22 オイラーのベルト理論

(4)モーションダイヤグラムの基本解説1

 図4.23は一般的な機種「職業用ミシン」のモーションダイヤグラムである。
 針棒上死点を0°として上軸が1回転、360°回転する間に縫いを形成する各機構がどのタイミングでどのように動作し、同時に縫い糸がどのような挙動をするかを1枚のグラフ上に示したものである。
 針棒上死点を起点0°としているが、縫い目形成プロセス上も、機構の動きが作り出す「仕事上のアウトプット」でも特別な意味を持たない。針棒上死点を起点0°とするのは、縫い目形成の起点を特定及び測定するのが難しく、他の機構部品に比べ針棒上死点位相が精度よく正確に測定でき、単に、モーションダイヤグラムの位相精度を維持するだけの理由である。

図4.23 職業用ミシンのモーションダイヤグラム

 1縫目形成の起点は天秤が上糸の供給を始める位相、天秤上死点近辺(約60°~70°近辺)にあり、完結位相は「釜下糸繰出量」が縫い目の最終引き締めを終える位相近辺(約470°近辺)にある。その結果、1縫目形成サイクルは約400°となり、縫い目の起点位相から約40°終点位相前約40°は、前の縫い目形成サイクル、次の縫い目形成サイクルと重複している。従って、グラフは0°~約500°の表示を行う。機構上の1サイクルの起点(針棒上死点)と1縫目形成サイクルの起点(天秤上死点近辺)のモーションダイヤグラム上の位相が異なること、機構上の1サイクルが上軸1回転360°に対し1縫目形成サイクルが約400°であることがモーションダイヤグラムの理解を複雑にしている。特に、「機構の1サイクルは360°であるから、縫い目形成サイクルも1サイクルは360°」という「“鉄板”論理」(誤解)にとらわれたことが、モーションダイヤグラムをますます難解なものとした。その痕跡は、1縫目サイクル中最も重要な縫い目形成プロセスの「(下糸)最終縫目引締量」をモーションダイヤグラム上で「釜下糸繰出量」と表現していることである。本来、この曲線の効果は470°近辺の挙動に注目しなければならないが、「1縫目サイクルは360°」と解釈すると、110°近辺の挙動曲線に注目することとなり、この位相で対象縫目の「最終縫目引き締め」などされるはずがなく、その位相でボビンから下糸が引き出されている現象から「釜下糸繰出量」と呼ばれた。

1)釜上糸必要量、及び天秤上糸供給量の測定

 1縫目形成サイクル中の上糸の挙動を示す「釜上糸必要量の測定方法」と「天秤上糸供給量の測定方法」を記述する。

≪釜上糸必要量の測定≫

 釜上糸必要量は、機構上の1サイクル360°に渡り、各位相でミシンの機構が必要とする上糸量をグラフ化したものである。
 測定方法は図4.24の様に、針板の針穴付近に測定糸の一端を固定し、針の糸穴を通した他端の動きを測定する。送り量による上糸の消費量は無視している。釜上糸必要量は針の動きでも変化し、針の糸穴が針板の針穴を通過した時から変化を始める。この変化量は針棒最下点で極値を持ち、針の上昇と共に減少するが釜の剣先が上糸ループを捕捉したのち再び増加し、中釜が上糸ループを潜り抜けると一気に減少する。

≪天秤上糸供給量の測定≫

図4.24 釜上糸必要量の測定

 天秤上糸供給量は、機構上の1サイクル360°に渡り、前の縫い目から天秤の糸穴を経由し上糸調子器に至る糸道経路長さの変化量をグラフ化したものである。
 測定方法は、図4.25の様に、針板の針穴付近に測定糸の一端を固定し、送り量による上糸の消費量を無視し、かつ、針の糸穴、及び糸取りばねを経由させない。
 天秤上糸供給量は天秤上下量と位相が同じ変化を行い、その量は約2倍の数値となる。
「釜上糸必要量」及び「天秤上糸供給量」共に、測定条件で、上糸と下糸との交差、布の厚さ、及び布の送りによる糸消費量を無視しており、その挙動は1サイクルが360°で繰り返される。

図4.25 天秤上糸供給量の測定

(5)モーションダイヤグラムの基本解説2

 縫い目品質を左右するのは、1縫目を形成する縫い目形成過程における縫い糸(上糸、下糸)の挙動である。
 そこで、1縫目サイクル中の上糸の挙動を作り出す釜上糸必要量と天秤上糸供給量に着目する。他の機構の運動曲線は、この2種の曲線を作り出す為の動きである。位相毎の天秤上糸供給量と釜上糸必要量との差が上糸のたるみとなり、このたるみを吸収しているのが糸取りばねである。針の軌跡が針棒下死点を過ぎると、釜上糸必要量は減少し、天秤上糸供給量は増加し続け、その差は大きくなり、糸取りばねのストロークを超え上糸がたるむ。このたるみが、釜剣先が上糸をとらえるループとなる。このループを安定した適度の大きさに維持し、釜剣先が安定的に上糸ループを捕捉することが縫い目品質を安定させる重要な要素となる。

図4.26 本縫いミシンのモーションダイヤグラム

 その為の対策として、①針の糸供給側(上糸ループができる反対側)に糸溝を作ること、②捕捉ループを釜剣先の捕捉側にだけ作ること、③交差3条件を厳しく管理すること、④糸取りばねストロークを厳しく管理すること、が必要となる。この対策の①、②、③について説明する。なお、「④糸取りばねストロークを厳しく管理する」対策については後述する。

1)釜剣先の上糸ループ捕捉時のループ安定対策  

①「針の糸供給側(上糸ループができる反対側)に糸溝を作る」

 糸取りばねの機能に支障が出ない様に上糸と布との接触抵抗を少なくし、上糸の通り道を限定、確保する目的で、針の糸供給側に上糸を案内する糸溝を設けている。(図4.27左図)

図4.27 針の溝と前針受け

②「捕捉ループを釜剣先の捕捉側にだけ作る」

 針糸ループの大きさと位置を安定させるため、釜等に前針受けを設けている。前針受けがないとループは図4.27左図のように形成されるので、前針受けは右図のようにループを釜剣先捕捉側に押しやり、釜剣先側にのみループができるようにしている。

③「交差3条件を厳しく管理する」

縫い目形成プロセス1縫目サイクル中で最大のイベントは、釜の剣先が針糸ループをとらえる瞬間である。従って、この位相での「針糸ループの大きさ」、「釜剣先がそのループのどの位置を通過するのか」、「釜剣先が針のどの部分を通過するのか」が、縫い品質の良し悪しに大きく関与してくる。このことから、「③交差3条件を厳しく管理すること」が重要となる。

図4.28 交差3 条件と交差3 条件の測定、調整管理

≪交差3条件≫

 交差3条件とは「針棒変位量」、「針深さ(針高さ)」、「針釜すきま」であり、図4.28で解説する。
・針棒変位量 ;針の最下点から釜剣先が針中心線に来た時までの針の上昇量。
・針深さ(針高さ);釜剣先が針中心線に来た時の針の糸穴上面から釜剣先までの距離。
・針釜すきま;針のえぐり部と釜剣先との距離。

≪交差3条件の測定及び調整管理≫

 釜剣先の位置が針の陰になり交差条件の測定、調整が困難で、組立、保守では以下の測定、管理を行う。
・測定針棒変位量;針の最下点から釜剣先が針の端面に一致した時までの針の上昇量。
・測定針深さ;釜剣先が針の端面に一致した時の針の位置から針の糸穴上面が釜剣先軌跡上に来た時までの針の上昇量。
・測定針釜すきま;針の幹太さと同じ太さのマスター針を使い、剣先とマスター針間のすきまを調整、管理。

(6)モーションダイヤグラムの基本解説3

図4.29 職業用ミシンのモーションダイヤグラム

 釜剣先に捕捉された上糸ループは拡大され(約210°~約320°)、下糸格納部(ボビン、ボビンケース、内釜)が潜り抜けると(約320°近辺)、上糸は釜剣先の捕捉から解放され、天秤で一気に回収される。(約320°~約420°)この間、天秤は早戻り機構で天秤上死点(天秤上糸供給量が0となる)に向かうが(約310°~約420°)、当該縫い目開始時(天秤上死点)の最大糸道経路での糸長と比べ送りピッチ等1縫目に費やされた糸長が不足する。この不足糸長分は天秤上死点へ向かう過程で上糸調子器から引き出され(約400°~約420°)、この時、縫い目糸張力を発生させる。天秤の糸穴近辺の糸張力は「オイラーのベルト理論」の定性から、糸調子器側がT0、縫い目側がT1となり、糸調子器で与えられる張力よりはるかに大きな張力が縫い目側に働いている。その結果、上糸は下糸を布の上まで引き上げ縫い目を引き締める。(図4.30上図)続いて、下糸が結節点を布の中に引き込む(図4.30の下図)。これは「釜下糸繰出量」(「最終縫目引締量」)が行なう(約470°近辺)。この位相では天秤上死点を過ぎているので上糸の張力がなくなり、上糸がたるんでおり(実際は布の送りで消費されるのと糸取りばねが働き軽く張っている)、一定の下糸張力で比較的容易に縫い目を布の中に引きこむことができる。

図4.30 最も重要な縫い目形成プロセス(図4.21 再掲)

 上糸の引き締めから下糸の引き締めまでの間、送り歯(上下送り量)は針板上面に出ていて、既に縫われた縫い目と布が引き戻されない様に保持している。
 このように1サイクル約400°で完結する1縫目形成サイクルを、順次追うと、「釜下糸繰出量」は「最終縫目引締量」という表現が適切である事がわかる。
 以上が本縫いミシンのモーションダイヤグラムの基本的解析である。この解析では、天秤上糸供給量曲線と釜上糸必要量曲線が、布の厚み、送り量(移動量)及び縫い糸の伸縮を考慮していない。従って、モーションダイヤグラムの実用にあたっては、布の厚み、送り量、及び縫い糸の伸びを考慮した補正が必要である。この補正は、布の厚み等3条件の量により変わってくる。この補正されたモーションダイヤグラムを許容しているのが、基本となるモーションダイヤグラムにおける天秤上糸供給量曲線と釜上糸必要量曲線との量の差(上糸のたるみ量)及び、そのたるみ量を適時吸収、放出し、たるみ量の姿勢を制御している糸取りばねである。しかし、このような対応がその限界を超えると、基本となる天秤上糸供給量曲線、すなわち、天秤機構あるいは天秤機構構成部品を変えなければならない。下糸引き締め量(釜下糸繰出量)に関しては、下糸の引き締め機構が、下糸の引き締め量を大きめに作成され、オイラーのベルト理論を含めた摩擦力による「奇跡のバランス」により適正引き締め量が供給され、下糸引き締め機構が必要とする糸量の不足分の糸量は下糸格納部(ボビン及びボビンケース)から供給される。しかし、この対応も、限界を超えると、下糸引き締め機構あるいは下糸機構部品の変更が必要となる。このため、ミシンに使用される釜は、「厚物用」、「中厚物用」及び「薄物用」と3機種に機種分類されている。このように、以上の機種の設計は、モーションダイヤグラムの解析により理論的に設計、製作ができるのだが、ミシンのアウトプットが摩擦力に頼っているため、なかなか理論通りにはいかず、今なお経験則により設計、製作がなされている。そこで、補正モーションダイヤグラムの一例を基に縫い糸の挙動を記述する。

(7)補正モーションダイヤグラムの解説

1)実天秤上糸供給量

 天秤上糸供給量の開始点、天秤上死点位相では前の縫い目が完結していない。従って、天秤上糸供給量のうち、前の縫い目の下糸引き締めで消費された糸量、及び、天秤上死点位相から後の布送り量で消費された糸量が、前の縫い目の完成で消費されるので、新しい縫い目の「実天秤上糸供給量」は図4.31の点線で示した曲線となる。

図4.31 補正モーションダイヤグラム

 実天秤上糸供給量曲線は縫製条件で量、形態が異なる。これらの異なる曲線の全てを許容できる余裕を持たせた曲線、すなわち「可縫範囲」を決定する曲線として「天秤上糸供給量曲線」が設計仕様となる。また、グラフ中の「糸取りばねストローク」は釜剣先が上糸ループを補足する位相の実天秤上糸供給量(破線)から換算され、かつ、正確には「糸取りばねストロークが生み出す糸長の吸収量」である。
 「モーションダイヤグラムの基本解説2」で記述したように「④糸取りばねストロークを厳しく管理すること」が縫い目品質を安定させる重要な要素となる事も含め、「糸取りばね」は安定した縫い品質を確保するための「要」となることから、糸取りばねの役割について記述する。

2)糸取りばね周辺の構造

 図4.32は、糸取りばね周辺の構造をモデル化した説明図である。モーションダイヤグラム中の「糸取りばねストローク」の数値は、a+b−c〔(破線の長さ)−(実線の長さ)〕であり、「(実)糸取りばねストローク」はF,G間の距離となる。部材Dは糸取りばねストローク量を決定するストッパーであり、部材Eは糸取りばねの固定端である。糸取りばねの「ストローク量」や「ばね強さ」は安定した縫い品質を確保する重要な役目を担っており、部材D、Eは調整のため移動できる。
 糸道Aは一般的に上糸調子器の軸心として共用されるが、機種によっては上糸調子器と分離されA,B間の最短距離cを決定する役目だけの糸道となっている。糸道BはA,B間の最短距離cを決定する役目をする糸道であるが、その位置によっては、天秤の上下に伴う上糸経路長さを変化させ、天秤上糸供給量にも影響を与える。
 また、機種により、糸道Bを「大糸掛け」と呼び「押さえ棒」と一体とし、厚い布や布の段部が押さえの下に来た時に押さえと共に上方に移動してa+b−cすなわちモーションダイヤグラム中の「糸取りばねストローク」を小さくし、布の厚みにより増加した消費上糸長さ分が実天秤上糸供給量に与えた影響を吸収し、釜剣先が捕捉する上糸ループの大きさを一定に保つ効果を持たせたミシンもある。
 また、図4.32のように糸道A,Bが上糸の糸道の方向を大きく変えると「オイラーのベルト理論」から、特定の縫製条件では上糸調子器から天秤までの各部分の糸張力が、「可縫範囲」上無視できないほど変わってしまう。このような状況を解決するために、糸道A,Bに「滑車」効果のあるローラーを用いて上糸調子器から天秤までの糸張力を均一に保ち、「可縫範囲」を広げる効果を実装している機種もある。

図4.32 糸取りばね周辺の構造をモデル化した図

3)最終縫目引締量

 グラフ中「釜下糸繰出量」と呼んでいるが、これは約110°近辺の下糸の挙動に注目したためである。しかし、下糸の挙動が実際に縫目形成1サイクル中で役目を果たすのは約470°近辺であり、その役目は、縫い目を完結する一番重要な「最終縫目引締量」である。

図4.33 最も重要な縫い目形成プロセス

 「最終縫目引締量」は、図4.33C部の下糸を引き締め「上糸と下糸の結節点」を布の中に引き込み縫い目を完成・安定させる役割を担っている。この「最終縫目引締量」は理論的に数値化されておらず、最終的な縫目引き締め量は、縫い糸と布、上糸と下糸、及び縫い糸と周辺部材との摩擦力に頼っている。すなわち、最終的な縫いの品質は、この摩擦力の「経験則に基づく奇跡のバランス」により確保されている。
 「最終縫目引締量」は釜に設けられたカム面、あるいは「繰り出しレバー」で発生させるが、市販の釜のカム面の形状や量は「厚物用」、「中厚物用」、「薄物用」と粗い精度で区分されているだけである。
 いずれもカム面の引き締め量は多めに作られ、縫い目バランスは「経験則に基づく奇跡のバランス」に頼り、釜のカム面が生み出す余分な引き締め量は、下糸調子ばねを介してボビンから引き出される。約110°近辺の下糸の挙動に注目したことと、「最終縫目引締量」の余分な引き締め量がこの位相で下糸調子ばねを介し引き出される状態から、「釜下糸繰出量」と呼ばれた。
 図4.34に示すように下糸は様々な場所でまげられ「オイラーのベルト理論」も加味されながら絶妙な「経験則に基づく奇跡のバランス」が保たれている。

図4.34 釜のカム面とその機能

4.2.2 論理的縫い目形成プロセスの提案

 「4.2.1本縫いのモーションダイヤグラム」で、縫い目形成プロセスを論理的に解析したが、縫い目形態の品質は、各所で発生する摩擦力の「経験則に基づく奇跡のバランス」に頼っている。しかし、摩擦力は定量的に安定せず、縫いの理論が確立できていない。このようなことから、摩擦力に比べ定量的に安定している「1縫い目で消費される縫い糸の長さ」を制御する手法で縫い目形態の品質を確保、均一化する試み、「縫いの理論化」への挑戦が1980年前後の時期に行われた。この挑戦は、ミシン有史以来、日本のミシン技術が最初であり、その挑戦者は、JUKIとブラザー工業である。しかし、実機搭載の結果は、予期した程の効果が得られず、他に障害が発生する起因ともなって、歴史の中に埋もれてしまった。この原因は、「縫いの理論化」が、初期のものにありがちな不完全であったためで、本報告書で完全な「縫いの理論」を提案し、日本のミシン技術が進むべき方向性を指し示す。
 「4.2.1本縫いのモーションダイヤグラム」の解析が、まさに「縫いの理論」であり、解析の違い、実証手法を、松原亨の「松原式上糸強制繰り出し方式」と比較する方法で記述する。松原亨はJUKI「上糸強制繰り出し方式」の発明者であり、JUKI引退後も、縫いの理論化を継続研究し、1984年同研究で博士号取得、特許を多数取得するなどの成果を残している。本報告では、1984年の博士論文を主に、JUKI引退後のいくつかの学会誌掲載論文に記載された内容と比較する。
 縫い目形成プロセスの理論解析手法は、松原亨により研究、実機搭載され、一定の効果を上げたが、「4.2.1本縫いのモーションダイヤグラム」の各所で示した通り、縫い目形成プロセス及びモーションダイヤグラム上、誤った解釈をしていたこと、更に、下糸の制御を従来通り摩擦力に頼っていたことから、以下に「縫目安定下糸制御方式」及び「新松原式上糸強制繰り出し方式」を提案し、「縫目安定下糸制御方式」及び「新松原式上糸強制繰り出し方式」を併用することで、上糸下糸の両方で縫い糸の消費糸長を制御することができ、縫いの理論が完成する。

(1)縫目安定下糸制御方式の原理

「補正モーションダイヤグラムの解説」で記述した様に、縫い目形成プロセスで最も重要な「最終縫目引き締めのプロセス」で「最終縫目引締量」は論理的に数値化されておらず、最終的な縫目引き締め量は、縫い糸と布、上糸と下糸、縫い糸と周辺部材の摩擦力に頼っており、最終的な縫いの品質は、この摩擦力の「経験則に基づく奇跡のバランス」により確保されている。
 すなわち、この時点までモーションダイヤグラムを使い論理的に進められてきた本縫いの「縫い目形成のメカニズム及びプロセス」、「縫合力発生のメカニズム及びプロセス」の解析だが、一番重要な最後のところが「経験則に基づく奇跡のバランス」に頼り理論化されていないことが、従来の縫製品質が不安定な要素を含む要因となっている。
 従って、「最終縫目引締量」を「経験則に基づく奇跡のバランス」に頼るのではなく、論理的に導き出し、それを制御する機構を考案することで、「縫い」のメカニズムを論理的に完結させることができ、縫製品質を向上、安定化することができる。
 「最終縫目引締量」は、図4.35 Cの部分の下糸を引き締め「上糸と下糸の結節点」を布の中に引き込み縫い目を完成・安定させる役割を担っている。

図4.35 最も重要な縫い目形成プロセス(図4.33 再掲)

図4.36 最終縫目引締量の発生原理

 この破線Cの範囲の下糸量は布(被縫製物)の厚さを読み取り計算することにより求めることができる。また、布の厚さは押さえの上昇量を差動トランスなどで計測することにより、逐次測定することができる。
 計算された最終縫目引締量は、図4.36でモデル化された方法により引き締められる。
 図4.36で、一定距離aを保ち配置された糸供給側糸道部材A①及び被縫製物側糸道部材B②を針板下面に配置し、最終縫目引締位相で縫目安定下糸制御部材③が、b+c−aを、押さえの上下量から換算された図4.35 Cの範囲の下糸量の数値となるように稼働し、縫い目を引き締め、「縫い目交差率」を一定に保つ。この時、下糸がボビンから供給されて(Cの範囲の下糸長さ)=b+c−aのバランスを崩さないように、糸保持稼働部材④が稼働し、ボビン側の下糸の移動を固定し、ボビンからの糸供給を遮断する。

1)縫目安定下糸制御方式の具体例

 図4.36で示した装置の具体例を、「職業用ミシン」を用いて図4.37に示す。

図4.37 縫目安定下糸制御方法の実用例

 図4.37において、従来外釜(1)に固定していたカム部材(2)を外釜上で移動可能とし、最終縫目引締位相で押さえの上下量から換算された図4.35 Cの範囲の下糸量の数値に図4.37 b+c−aがなる様に縫目安定下糸制御補助部材(3)が稼働(4)し、カム部材(2)を変化させ、最終縫目引締量を調整、確定するとともに、糸保持補助稼働部材(5)が稼働(6)し、下糸調子ばね(7)を押し付け、ボビンからの下糸供給を遮断する。モデル化された図4.36の糸供給側糸道部材A①に相当するのは中釜の最終糸道(8)で、被縫製物側糸道部材B②に相当するのは針板の針穴(9)で針穴は丸穴なのでaの距離が確保される。

(2)新松原式上糸強制繰り出し方式

新松原式上糸強制繰り出し方式の説明は、松原式上糸強制繰り出し方式の説明を行い、その後、松原式上糸強制繰り出し方式の不具合個所の改善部分の説明により、新松原式上糸強制繰り出し方式の説明とする。

1)松原式上糸強制繰り出し方式

 「松原式上糸強制繰り出し方式」は、「4.2.1本縫いのモーションダイヤグラム」で解析した縫い目形成及び縫合力発生のメカニズムが『最終的縫い品質が、不安定な摩擦力の「経験則に基づく奇跡のバランス」で確保されている』こと、すなわち縫目形態の不安定さを改善する目的で、1縫目で消費される上糸の量(長さ)を計算し、縫い目形成1サイクル中で、1縫い目で消費される総糸量を適時強制的に供給し、縫い目形態を安定、制御し、縫い目形成を理論化しようとするものである。「松原式上糸強制繰り出し方式」を理解するには、次に示す認識、知識を必要とする。

2)上糸供給量

 「上糸供給量」には次の2種類がある。1種類目はモーションダイヤグラム中の「天秤上糸供給量」が示す「縫い目形成1サイクル中に機構が必要としている糸量を、機構内部の機構要素(天秤)が供給する量」で、2種類目は「縫い目に消費される糸量を機構外部から供給する量」である。
 2種類目の「縫い目に消費される糸量を機構外部から供給する量」は、図4.40右図の縫い目形態になった位相から天秤上死点位相の間で上糸調子器から引き出すが、「松原式上糸強制繰り出し方式」では、これから形成される縫い目の必要糸量が計算され、縫い目が形成される起点近辺の位相から糸量不足が縫い目に影響を与える位相にかけて、順次、予め強制的に供給される。

3)縫目形態サイクル=「1縫目」の考え方

 1縫目サイクルの考え方は、視点の取り方により「縫い目“形成”サイクル」と「縫い目“形態”サイクル」がある。「縫い目“形成”サイクル」は、「4.2.1本縫いのモーションダイヤグラム」で述べた様に、「上糸の供給開始」(天秤上死点)を起点とし→「釜剣先の上糸ループ捕捉」→「上糸ループをボビン(下糸)が潜り抜ける」→「上糸の引き締め」→「下糸最終引き締め」を終点とする約400°が1サイクルである。
 「縫い目“形態”サイクル」は、図4.38に示すように特定の縫い目形態を示す位相を起点とし、再び同じ形態となるまでを1サイクルと考え、1サイクルは機構の1サイクルと同じ360°となる。

図4.38 縫い目形態サイクルの説明図

図4.39 縫目形態の起点となる位相

 図4.38は縫い目形態サイクルの説明図、図4.39は縫目形態の起点、終点の位相を表示したグラフで、図4.38 ①は「縫目結節完了」位相、「下糸最終引き締め」位相(図4.39位相Ⅰ)を起点、終点とした1サイクル、②は天秤上死点位相、「上糸供給開始位相」(図4.39位相Ⅱ)を起点、終点とした1サイクル、③は「針棒上死点」、基準位相0°(360°)を起点、終点とした1サイクルである。
 この3種類の中で起点、終点位置の位相が正確にわかるのは形態が他の場所とはっきり異なる①であり、かつ、「1縫目」の持つ意味合いから糸が布を貫通しているⒶの地点から次のⒶまで、すなわち、①の縫い目形態サイクルを「1縫目」と定義するのが自然である。
 「松原式上糸強制繰り出し方式」は、縫い目形態サイクルと縫い目形成サイクルを合致させる。縫い目形成サイクルの起点の天秤上死点位相(図4.39位相Ⅱ)を縫い目形態サイクルの起点とし、次の天秤上死点位相で1縫目を完成させ、縫い目形成1サイクルを360°とし、「重要な縫い目形成プロセス」天秤上死点位相での上糸引き締めが存在しない。この「重要な縫い目形成プロセス」が行われる天秤上死点位相での縫い目形態を図4.40右図に、松原式上糸強制繰り出し方式の天秤上死点位相での縫い目形態を左図に示す。

図4.40 天秤上死点における縫い目形態

 「4.2.1本縫いのモーションダイヤグラム」の解析は、この位相(天秤上死点位相)で、下糸を布上面に引き上げ、前の縫い目Eから「上糸調子器H」までの上糸の長さを最短にして(図4.40右図)上糸に張力(上糸引き締め=縫合力)を発生させ、かつ前の天秤上死点位相から1縫目の縫合に使用された上糸量(FからGまでの糸量)を「上糸調子器H」から引き出す。
 「松原式上糸強制繰り出し方式」は、1縫目サイクルの天秤上死点位相以降で予め供給されている1縫目の上糸供給量(BからCまでの糸量)をこの位相までに消費し、1縫目形態を完了する。(図4.40左図)
 「松原式上糸強制繰り出し方式」は、縫い目形成サイクル中に天秤上死点位相での上糸に張力を発生させるプロセスが基本的にない。「上糸が下糸を布の上まで引き上げ(天秤上死点位相=図4.39位相Ⅱ)、その後、下糸を引き締め(下糸縫目引き締め位相=図4.39位相Ⅰ)結節点を布の中間に位置、形成する」プロセスがなく、天秤上死点位相で、上糸下糸の結節点が、予め供給された1縫目の上糸供給量に従い、いきなり、布の中間に位置、形成される。
 この結果、CからDまでの上糸には、布の下部から上糸を引き上げる際の布と上糸及びミシン部品との摩擦抵抗及び下糸を布の中に引き込む際の抵抗による張力は発生するが、縫目に消費された上糸(CからBまでの上糸)には基本的に張力は発生せず、CからDまでの上糸に発生した張力の大部分も縫目に消費された上糸(CからBまでの上糸)に伝達されることはない。
 更に、布の下にあった上糸は、この位相の前の位相でC~Dの方向に引き上げられるのだが、この時、布にはC~Dの方向とC~Bの方向の上糸がともに貫通しており、両糸の摩擦により、布の下にあった上糸はC~Dの方向の引き上げによりC~Bの方向へも移動することが考えられ、C~Bの部分、すなわち縫い目には最悪の場合たるみが発生する事が考えられる。このことから、縫合力、及び、上下糸の結節点位置が不安定となる可能性がある。
 このような松原式上糸強制繰り出し方式の問題点を改善し、縫目安定下糸制御方式との縫い目形成サイクル及び縫い目形成サイクル位相を共通にする「新松原式上糸強制繰り出し方式」を考案することにより、縫目安定下糸制御方式と新松原式上糸強制繰り出し方式の併用が可能になり縫いの理論化が確立できる。

4)新松原式上糸強制繰り出し方式

 「松原式上糸強制繰り出し方式」は、縫い目形態サイクルと縫い目形成サイクルが合致し、両縫い目サイクルの起点、終点は天秤上死点位相(図4.39位相Ⅱ)であるが、「新松原式上糸強制繰り出し方式」は、両縫い目サイクルの起点、終点を下糸縫目引き締め位相(図4.39位相Ⅰ)とする。
 新松原式上糸強制繰り出し方式の、縫い目形態サイクル及び縫い目形成サイクルの起点、終点(下糸引き締め位相)での縫目形態及び上糸の状態を図4.41左図に、天秤上死点位相での縫目形態及び上糸の状態を図4.41右図に示す。
 図4.41左図に示すように、下糸引き締め位相は前の縫い目が完成した縫い目終点位相となっており、縫い目形態サイクルの起点位相ともなっている。また、この位相では上糸、下糸とも緊張状態(たるんでいない状態)となっており、この位相以降の位相で機構内部での上糸供給が開始される、すなわち、縫い目形成サイクルの起点位相ともなっている。

図4.41 新松原式上糸繰り出し方式の上糸及び縫い目の状態

 また、機構外部から新しい縫い目に供給される計算された「1縫目において消費される上糸の量(長さ)」は、縫目1サイクルの起点である下糸引き締め位相(図4.39位相Ⅰ)と天秤上死点位相(図4.39位相Ⅱ′)の間の位相で順次強制的に供給される。特に、その供給量の中から、上糸の緊張状態が天秤上死点位相から下糸引き締め位相に移行していることで生じるモーションダイヤグラム中の「天秤上糸供給量」が示す「縫い目形成1サイクル中に機構が必要としている糸量」の不足分を、下糸引き締め位相を過ぎた位相から釜剣先が上糸ループを捕捉する位相との間に供給されなければならない。
 強制的に供給された「1縫目において消費される上糸の量(長さ)」は図4.41左図の終点位相(下糸引き締め位相)になった時、E~Cの上糸長さにより消費される。
 縫目形成サイクル途中の天秤上死点位相の縫い目形態と縫い糸の状態を図4.41右図に示しているが、起点位相(図4.41左図)と天秤上死点位相(図4.41右図)とで上糸の長さ(A~天秤糸穴~Bの長さ)が異なり、この違いにより上糸の引き締め張力がD~Aの上糸にも発生、伝達される。終点位相(図4.41左図)と縫目形成サイクルの途中の天秤上死点位相(図4.41右図)との上糸長さの関係は(左図E~C~A~天秤糸穴~Bの長さ)=(右図D~A~天秤糸穴~Bの長さ)となる。
 この時、左図E~Cは起点以降の位相で強制的に供給された「1縫目において消費される上糸の量(長さ)」ℓであり、強制的に供給する糸量を(ℓ-⊿ℓ)とし⊿ℓをコントロールすることにより天秤上死点位相での上糸の引き締め張力を制御することができる。

(3)「新松原式上糸強制繰り出し方式」と「縫目安定下糸制御方式」との併用

 「新松原式上糸強制繰り出し方式」と「縫目安定下糸制御方式」との関係で、「縫い目形成サイクルの長さが一致している」こと、「縫い目形態1縫目サイクルの起点位相が同一である」こと、「縫い目形成プロセスが同一である」ことから併用が可能である。
 「新松原式上糸強制繰り出し方式」と「縫目安定下糸制御方式」とを併用した時の、縫い目形成プロセスにおける上糸及び下糸の挙動を図4.42及び図4.43を用いて解説する。

図4.42 下糸引締位相

図4.43 天秤上死点位相

 図4.42は下糸引き締め位相、すなわち、縫い目形態1サイクルの起点、終点位相であり、縫い目形成1サイクルの起点、終点位相でもある。また、図4.43 は天秤上死点位相(上糸引き締め位相)である。両図の①は「上糸」、②は「下糸」、⑤は「糸取りばね」、⑥は「上糸強制繰り出し装置」に繋がっている。④は「天秤糸穴」、⑦は両図の天秤の位置(天秤糸穴の位置)、図4.42を縫い目形成1サイクルの終点位相としてみた時の⑧は前の縫い目、⑨は完成された縫目である。⑧,⑨は図4.42を下糸引き締め位相すなわち縫い目形成1サイクルの終点位相としてみた時の説明であり、以下の説明においては、図4.42を縫い目形成1サイクルの起点位相として説明するので、完成された縫目⑨を、前の縫い目⑧と置き換えて理解して頂きたい。
 図4.42の(下糸引き締め)位相を起点とし縫い目形成1縫目サイクルが始まる。図4.42での上糸は緊張した状態にあり、位相がこの状態から進むと、すぐに、上糸は縫い目に使用される計算された糸量の強制繰り出しが始まる。その後、縫い目形成サイクルは、色々な過程を経て、図4.43の天秤上死点位相をむかえる。図4.43の位相で、前の縫い目⑧から天秤糸穴を経由して上糸強制繰り出し装置までの上糸の長さをL1とし、図4.42縫い目形成サイクルの起点位相での前の縫い目⑨から天秤糸穴を経由して上糸強制繰り出し装置までの上糸の長さをL0とし、形成中の縫い目に強制的に繰り出された上糸の長さをℓ1とするとL1=L0+ℓ1となる。すなわち、図4.43に表されているように上糸の形態は上下糸結節点で下糸をひきあげ直線上になっている。この形状により、上糸に発生する糸張力は③~⑧間全体にほぼ均一に分布される。一方、下糸は糸保持稼働部材が下糸引き締めを行なっている位相以外では作動せず、自由に引き出されるので、上糸の挙動に従い、図4.43に表されているように上糸に引き上げられた形態となっている。図4.43の位相での下糸の量(長さ)は、下糸引き締め機構が作動していない状態で、図4.42(前の)縫い目⑧から上下糸結節点(⑨)を通りボビンまでの長さをN0とし、下糸引き締め量をℓ2とし、図4.43の形態の前の縫い目⑧からボビンまでの長さをN1とするとN1=N0+ℓ2となる。
 引き続き位相は図4.43天秤上死点位相から図4.42下糸引き締め位相へ継続して進むのであるが、その間に天秤の下降により生じる上糸のたるみは、布の送り量と、下糸の引き締め開始により吸収され、ほぼ緊張状態のまま下糸の引き締めが完了する図4.42下糸引き締め位相に到達し縫い目形成1サイクルを完了し、上糸は緊張状態の図4.42に示す形態となる。すなわち、完了した縫い目は前の縫い目となり、上糸は前の縫い目から上糸強制繰り出し装置までの上糸の長さがL0となり、下糸は縫い目形成1サイクルの起点と同じに下糸引き締め機構が作動している状態での前の縫い目からボビンまでの下糸長さN2(=N1)となる。
 以上の縫い目形成メカニズムにおいて上糸強制繰り出し量ℓ1を下糸引き締め量ℓ2と関連づけて増減すると、すなわち、ℓ1の増減分⊿ℓをℓ2でも減増させると1縫目に消費される上糸と下糸の合計総量(長さ)を変えずに上下糸結節点を移動させることができる。すなわち、縫い目公差率を糸量の長さ(数値)の増減により制御できることとなる。すなわち、理論的に制御できるのである。
 また、ℓ1を⊿ℓ減少し、ℓ2に同量の⊿ℓを増加させると、1縫目に消費される上糸と下糸の合計総量(長さ)が減少し、上下糸結節点の位置を変えず縫い目に締め付け力を発生させ、縫合力を発生させることができる。すなわち、縫合力も理論的(数値的)に制御できる。
 この縫合力の発生過程を図4.42と図4.43を用いて説明する。図4.43において前の縫い目⑧から天秤糸穴を経由して上糸強制繰り出し装置までの上糸の糸道経路長さL1は、L1=L0+ℓ1であり、上糸繰り出し量ℓ1を⊿ℓ短くすると、実糸長L´1はL1に対し⊿ℓ不足する。この不足分を補うのが布の変形であり縫い糸の伸びである。この布の変形及び糸の伸びを直接発生させているのが糸張力であり、この糸張力が縫合力を生む。一方、下糸の引き締めは、図4.43に示すように、上糸に引き出された下糸量は上糸の張力ではなく上糸の位置により決められるので、上糸の張力が変動しても下糸の引き出された量は変わらない。しかし、上糸の張力により下糸が伸び上下糸結節点位置は変化する。
 下糸引き締め量に視点を移すと、所定の結節点位置を通る糸道経路N0は、N0=N1-ℓ2であり、ℓ2を⊿ℓ′増加させると実糸長N,0はN0に対し⊿ℓ′不足する。このようにして、下糸の張力と上糸の張力が均衡を保った時、すなわち、上下糸の張力の数値が一致した時、結節点の移動が停止し縫い目バランスが維持される。このことから、ℓ1及びℓ2の増減量⊿ℓ、⊿ℓ′を同一にすることで結節点を所定の位置に収めることができ、上下糸の張力を等しくして1縫目における縫合力を布の表裏均一に発生させることとなり縫い目全体の縫合力を均一、安定させる結果を生む。ここで、注意しなければならないのは、縫合される2枚の布の材質が異なると、特に変形に対する抵抗力が異なると、布の変形量は糸長に制御されているため変形量は同一だと仮定したとしても、上下糸の張力に差異が発生してしまうことである。上下糸の張力に差異が発生してしまうと、前述したように、張力が同一になる位置まで結節点の位置が変わってしまう。すると、縫い目に使用される上下糸の糸長が変化し、結局、その変化を補正するために布の変形が変化することとなる。しかし、この現象は、定量的(数値的)に解決することができる。すなわち、上糸及び下糸の⊿ℓ、⊿ℓ′をそれぞれ変更することにより解決できる。
 このように、「新松原式上糸強制繰り出し方式」と「縫目安定下糸制御方式」を併用することで「縫い」を理論化(数値化)し、それぞれの使用用途に対し縫い品質を確保、かつ安定させることができる。

引用

1)写真提供:株式会社鈴木製作所
2)鎌田佳伸,「高速本縫ミシンの可縫性に関する基礎研究」,東京工業大学学位論文,1986.
3)写真提供:JUKI株式会社
4)写真提供:ブラザー工業株式会社
5)資料提供:株式会社鈴木製作所,「鈴木製作所社内資料(プレゼンテーション資料):Tensile Properties on the new“Sashiko”sewing machine」に基づき筆者作成.
6)日本産業規格,ステッチ形式の分類と表記記号,JIS, L0120-1984.
7)鎌田佳伸,「ミシンの縫いと摩擦」,香川大学一般教育研究,香川大学一般教育部,Vol. 44, pp. 221-225, 1993.
8)鎌田佳伸,「工業用本縫いミシンの縫特性に関する研究」,神奈川県工業試験所昭和63年度縫製技術研究会講演資料,1988.

参考

・鎌田佳伸,「高速本縫ミシンの可縫性に関する基礎研究」,東京工業大学学位論文,1986.
・松原亨,「本縫ミシンにおける縫の解析と縫自動調整ミシンの試作研究」,東京大学学位論文,1986

Contentsに戻る


 5 まとめ

 技術の系統化について、「技術の進化をもたらせた技術」の価値評価がその後の技術の進化の方向性を示すマイルストーンとなる。すなわち、「技術の進化をもたらせた技術」のどの技術を一番高い価値評価とするかにより、マイルストーンの指し示す方向性が変わってくる。この異なった方向性は、どれも正しく技術の進化をもたらすが、進化した段階では軋轢を生むことがある。今まさに、ミシン技術の「縫いの理論化」においてこの「軋轢」が顕在化しているのである。
 ミシンの歴史において、ミシン発達の起点となった発明は1832年ウォルター・ハント(Walter Hunt)のミシンであることは衆目の一致するところである。そして、本報告書でも記述しているように、マイルストーンとなった技術は「“針の尖端にメド(針穴)を穿つ”という常識を覆す奇抜な着想は、機械による縫製を実現する重要な発明」であった。先端に針穴を持つ針の発明をマイルストーンとしたことが、以後のミシンの繁栄、ミシン技術の発達をもたらしたことは本報告書の技術の系統化でも示す通り事実である。
 しかし、ハントのミシンに対する筆者の技術的価値評価は若干異なる。常識を覆す奇抜で重要な発想は、「2本の糸による縫合」を発想したことである。「針の先端にメドを穿つ」事は、2本の糸による縫合では当然の帰結で常識を覆す奇抜な着想ではない。
 機械による1本の糸での縫合はハントのミシン以前約百年に渡り数々発明されたが、それが世に受け入れられなかったのは、手縫いでの縫合に比べ、縫合性能が劣っていたのが大きな要因だと考えられる。2本の糸による縫合は縫合性能において手縫いよりはるかに勝っていたにもかかわらずシンガーのミシンが世に受け入れられるまで約20年を要したのは「千年以上に渡り縫合は1本の糸によりなされてきた。1本の糸での縫合は常識である。」という概念から「2本の糸での縫合は“邪道”である」と評価されたのである。しかし、ミシンの発明家はハントのミシンの縫合性能を評価しその改善を模索していた。その結果は、シンガーのミシンが世に受け入れられると、ほぼ同じ時期に次々と世に登場したことで解る。だが、彼らの認識は、世の概念と同様「縫合性能は1本の糸(上糸)によりもたらされる」という概念であり、その概念からも針の先端に穴をあけたことが上糸の挙動を制御する画期的発想と評価し、また、その概念は以後の技術の進化にも引き継がれ、事実、上糸の挙動の検討によりミシン技術は進化してきた。その開発過程で、発想通りの結果が出ないときには、「下糸が邪魔をしている」と判断され、下糸は常に発想には組み込まれない“邪魔者”とされてきた。現在、ミシン技術は縫合品質、可縫性(可縫範囲)が要求されている。「縫いは理論通りにはいかない」のではなく結果(現象)は理論通りなのである。目的の結果を得るには、理論が不備なのであり、理論を完璧にするには、「縫合性能は上糸(一本の糸)によりもたらされる」と言う今の概念を修正する必要がある。それが、本報告書の「縫いの理論化」である。しかし、この「縫いの理論化」はハントの「2本の糸による縫合」をマイルストーンとしており、この指し示す方向性は約200年弱の間、技術的進化はしていない。従って、「縫いの理論化」の更なる検討は急速に進化しなければならない。本報告書の「縫いの理論化」が、今後のミシン技術発展の方向を示すマイルストーンとなることを望むものである。
 蛇足となるが、ハントのミシンが発明された頃までに、本報告書「4.1.3 新しい縫い目形態」で記載した「“疑似”ハンドステッチ縫い目」が開発されていたならミシン技術の進化は全く異なっていたと考えられる。

Contentsに戻る


 6 おわりに

 第二次世界大戦後の日本社会は戦後の荒廃から急成長を遂げた。その原動力となったのは工業系産業界の急速な発展であり、工業系産業界が示した結果は、国内のみならず世界に「技術立国日本」の称号を浸透させた。まさに、戦後の約25年間を「日本の第二次産業革命」と呼んでも過言ではない。
 「産業革命」、「日本の(第一次)産業革命」、「日本の第二次産業革命」の共通点は、その起点となったのがくしくも繊維産業であったことである。
 一方、縫製産業、ミシン産業は繊維産業の極々間近にあるにもかかわらず、ミシン産業は「産業革命」では「ミシンは産業革命の失敗作」と揶揄され、「日本の(第一次)産業革命」ではその影すら見つからない状況であった。
 しかし、「日本の第二次産業革命」において、戦後いち早く開発された家庭用ミシンHA-1型が示した結果は、日本のミシン産業発展の基盤となったばかりでなく、各産業界の発展に多大な影響を及ぼした。すなわち、「日本の第二次産業革命」のまぎれもない起点となったのである。国産ミシンの生産を開始して以来、三菱電機、蛇の目ミシン工業、ブラザー工業、福助足袋を中心としたミシン産業界が目指した方向性は、戦後日本社会の成長として実を結んだと言える。
 この実績と、ミシンの黎明期以来、家庭内文化の構築、女性の人権確立に深く関わり寄与してきたことは、ミシン技術者にとって大きな誇りである。
 しかし、1980年頃を境に、繊維産業、縫製産業の衰退、更には、家庭内文化の変化、女性の人権確立の浸透等の社会状況の変化により、ミシン産業はその進むべき方向を見失ってしまった。ミシン技術者は目指すべき“光”を見失い“暗闇”の中で迷走し苦悶し続けることとなった。それはまた、ミシン技術者の誇りを揺るがせ、ミシン技術者の誇りを支えとする“パイオニア精神”が影をひそめてしまったのである。
 筆者がミシン技術者としてスタートしたのは丁度その頃であり、筆者の40年近くに渡るミシン技術者人生は、まさに、“暗闇”の中で“光”を求め、迷走、苦悶する人生そのものであったと言える。
 この“暗闇”の中で、筆者はそのミシン技術者人生の晩年、おぼろげながらわずかな“光”を見つけることができた。それが、本報告書を通し視点の柱の一つとなる「縫いの理論化」である。
 これは、「縫製研究会」で知り合う機会を得た鎌田佳伸(元・実践女子大教授)、故・松原亨(元・東京重機常務(現在のJUKI))、原一正(元・綿スフ検査協会、元・蛇の目ミシン工業)に懇意にして頂き、ミシン技術そのもの、ミシンに対する考え方を議論、教えを受けたことが大きく影響している。
 このような筆者の経験を踏まえ、現在の若いミシン技術者、あるいはこれからミシン技術者を目指そうとする技術者の“卵”達への期待は、筆者の見つけた“光”や所属する会社の方向性にとらわれず、自分でしっかりとした“光”を見つけ、それに向かって進んで行って欲しい。そのような姿勢は、解決困難と思える技術的難題をも必ず克服することとなり、技術者の神髄である“パイオニア精神”を発揮することともなるのである。その意味においても、ミシンの有史以来の歴史、過去のミシン技術の再検証を自ら行うことが必要である。
 最後に、人生の大半をミシン技術者として歩んできた筆者の夢は、ミシンがこれから新しく生まれてくる文化に深くかかわって欲しい、端的に言えば、ミシンが新しい文化を創出することである。
 この夢の実現を若いミシン技術者に託し、本報告書のおわりとする。

Contentsに戻る


 7 謝辞

本調査報告書作成にあたり、日本縫製機械工業会並びに同工業会会員各社の調査協力に感謝します。特に、真壁八郎(日本縫製機械工業会前会長・蛇の目ミシン工業元社長)、湯原孝志(日本縫製機械工業会専務理事)には調査情報収集、整理また助言と、多大な協力に感謝します。また、本調査にあたり貴重な文献、助言を頂いた鎌田佳伸(元実践女子大学教授)に謝意を表します。同時に、助言、情報提供に協力して頂いた原一正(元蛇の目ミシン工業)、尾上正行(元神奈川県産業技術総合研究所)に感謝します。
(本報告書に記載した各位を含め、敬称は略させて頂きます)

Contentsに戻る

 ミシン技術の系統図


画像をクリックするとPDFが開きます。

ミシン技術の系統化調査 産業技術史資料 所在確認

名称 製造者 現存所在場所 選定理由
1 パイン500種 1923 現・ジャノメ ジャノメ 東京都八王子市狭間町1463 国産で初めて工場量産されたミシンとして重要である。
2 昭三式ミシン(麦わら帽子製造用環縫いミシン) 1828 現・ブラザー工業 ブラザー工業 ブラザーミュージアム 名古屋市瑞穂区塩入町5番15号 国産ミシンで初めて市場要求に対応し市場で販売され、ミシンを”産業”とする原型(概念)を築いた。
3 シンガー15種 類似家庭用ミシン 代表例・パインミシン100種 1929 現・ジャノメ ジャノメ 東京都八王子市狭間町1463 三菱電機(シンガー103型類似家庭用ミシン)ジャノメ、 ブラザー工業、福助足袋{(3社製共現存確認)シンガー15種 類似家庭用ミシン}の4社のミシン技術はその後のミシン技術発展の基礎となった。
シンガー103型類似家庭用ミシン 25種A型家庭用ミシン 1933 三菱電機 名菱テクニカ 尾張旭市下井町下井 2039-1
4 シンガー81-6型類似オーバーロック 81-6型 1937 ペガサスミシン製造 ペガサスミシン製造 大阪府大阪市福島区鷺洲五丁目7ー2 国産最初のオーバーロックミシンとして重要である。
5 HA-1型標準図面 昭和27年再版版 1952 現・日本縫製機械工業会 ブラザー工業 名古屋市瑞穂区苗代町15番1号 HA-1型はミシン業界が「ミシンの規格統一」を行い「HA-1型標準図面」は製造各社に配布され、HA-1型標準図面及びミシン製造方法はJIS、他産業の発展にも影響を与えた。 HA-1型標準図面原版(1947年)は現存せず、1952年発行の再版版のみンブラザー工業に現存、HA-1型ミシンは三菱電機製、ジャノメ製、福助足袋製、JUKI製、アイシン精機 製、シンガー日鋼製等が現存する。代表として三菱電機製を取り上げた。
HA-1型家庭用ミシン 代表例・(ミツビシ)HA-1 1947 三菱電機 名菱テクニカ 尾張旭市下井町下井 2039-1
6 単軸回転機構搭載DDW-Ⅱ型 1953 現・JUKI JUKI大田原工場 JUKI History Museum 栃木県大田原市北金丸1863 JUKI DDL-Ⅱ型の単軸回転天秤機構は海外ミシン技術に比べはるかに優れた技術であり、以降の日本のミシン技術が海外ミシン技術を凌駕する先鞭をつける技術開発となった。
7 オーバーロックMS-1型 1966 鈴木製作所 鈴木製作所 山形県山形市嶋南 1-12-7 1966年「オーバーロック MS-1」として発表され、翌 1967年家庭用、職業用の分野に「ベビーロックEF-205」として販売開始され、職業用ミシン分類に「小型ロック」という分野を新設し、ミシン産業に新しい市場、新しい ニーズを掘り起こし、その後、家庭用ミシン分類に移転する等、新しいミシン市場を開拓、「工業用ミシン」と「家庭用ミシン」の“定義”まで変えてしまった画期的製品である。 ベビーロックEF-205 1967 鈴木製作所 ベビーロック 東京都千代田区九段北1-11-11第2フナトビル
8 自動糸切装置搭載DDL-555-2 1969 現・JUKI JUKI大田原工場 JUKI History Museum 栃木県大田原市北金丸1863 ミシン製造各社による「完璧な性能、品質を備えた自動糸切装置」の完成は縫製の自動化の方向性を現実のものとした。その先鞭をつけたのはJUKI DDL-555-2である。
9 ジャノメ・トピア 1971 現・ジャノメ ジャノメ 東京都八王子市狭間町1463 シャトルタイプ垂直全回転釜搭載ミシン。シャトルタイプ垂直全回転釜は、縫い品質上理論的有意差があり、現在 は、コスト、操作性の面から埋もれてしまっているが、将来的に必ず必要となる技術である。
10 メモリア 1979 現・ジャノメ ジャノメ 東京都八王子市狭間町1463 コンピューター機能が本格的に利用された日本初の家庭用コンピューターミシンで水平釜を搭載。日本の各社が製造するミシンに水平釜を採用する起点となった。
ZZ3-820 オーパス8 1979 ブラザー工業 ブラザー工業 ブラザーミュージアム 名古屋市瑞穂区塩入町5番15号 コンピューター機能が本格的に利用された日本初の家庭用コンピューターミシンとして重要である。
11 Combi-Two in One 1980 現・ジャノメ ジャノメ 東京都八王子市狭間町1463 Combi-Two in One は本縫いミシンとオーバーロックとの 複合ミシンである。時代の流れで市場から忘れ去られた機種だが、将来、縫製業界の要求を的確に満たすミシンは 「職業用複合ミシン」でありCombi-Two in One はその先駆けとなる機種として重要である。
12 HZL-700 ザ・ミシン 1985 現・JUKI JUKI大田原工場 JUKI History Museum 栃木県大田原市北金丸1863 「縫い目に必要な糸長」で縫い目形成メカニズムを制御し縫い品質を理論化する試みが「松原式上糸強制繰り出し方式」である。今後ミシン技術が目指すべき方向は「縫いの理論化」であり「松原式上糸強制繰り出し方式」はその基礎となる理論である。この方式を実現した「ザ・ミシン」は、時代の流れにより市場から忘れ去られようとしているが、その先駆けとなる機種として重要である。
テンディスペシャル ZZ3-B892 1988 ブラザー工業 ブラザー工業 名古屋市瑞穂区苗代町15番1号 「テンディスペシャル」は「松原式上糸強制繰り出し方 式」を「ザ・ミシン」とは異なる手法で実現した。「テンディスペシャル」もまた、時代の流れで市場から忘れ去られようとしているが、その先駆けとなる機種として重要である。
13 SECIO 1991 現・ジャノメ ジャノメ 東京都八王子市狭間町1463 「SECIO」は家庭用コンピューターミシンと刺繍機の複合 ミシンだが「刺繍機能付きコンピューターミシン」として新分野を構築した。当時の最先端電子技術を導入した新分野のミシンは、世界の有力ミシン製造会社が市場投入し、世界市場で家庭用ミシンの「最高級機種」と認知され、市場も拡大を続けている。

Contentsに戻る